Immersion Heater Insurance Cover . insurance my immersion heater is on its last legs, i live in a flat and have buildings insurance through the. There’s a huge range of different packages available to protect your home should your boiler stop working or your pipes burst. Learn about the convenience and efficiency they offer, as well as the potential. Repairs to your home's gas. With gas central heating cover you'll be covered for: if you already have an immersion heater, this guide will help you find out how to use it most efficiently and cut costs. want to protect more than just your boiler? From boiler cover to home emergency insurance and home emergency assist. how to choose the best boiler cover or home emergency insurance.
from elanoss.com
how to choose the best boiler cover or home emergency insurance. Learn about the convenience and efficiency they offer, as well as the potential. want to protect more than just your boiler? Repairs to your home's gas. From boiler cover to home emergency insurance and home emergency assist. With gas central heating cover you'll be covered for: There’s a huge range of different packages available to protect your home should your boiler stop working or your pipes burst. insurance my immersion heater is on its last legs, i live in a flat and have buildings insurance through the. if you already have an immersion heater, this guide will help you find out how to use it most efficiently and cut costs.
Best immersion heater Selection Guide Comparing the Top 10 Options
Immersion Heater Insurance Cover From boiler cover to home emergency insurance and home emergency assist. insurance my immersion heater is on its last legs, i live in a flat and have buildings insurance through the. There’s a huge range of different packages available to protect your home should your boiler stop working or your pipes burst. how to choose the best boiler cover or home emergency insurance. want to protect more than just your boiler? Repairs to your home's gas. With gas central heating cover you'll be covered for: if you already have an immersion heater, this guide will help you find out how to use it most efficiently and cut costs. From boiler cover to home emergency insurance and home emergency assist. Learn about the convenience and efficiency they offer, as well as the potential.
From www.dhsspares.co.uk
HEATRAE COVER IMMERSION HEATER Direct Heating Spares Immersion Heater Insurance Cover how to choose the best boiler cover or home emergency insurance. Learn about the convenience and efficiency they offer, as well as the potential. From boiler cover to home emergency insurance and home emergency assist. if you already have an immersion heater, this guide will help you find out how to use it most efficiently and cut costs.. Immersion Heater Insurance Cover.
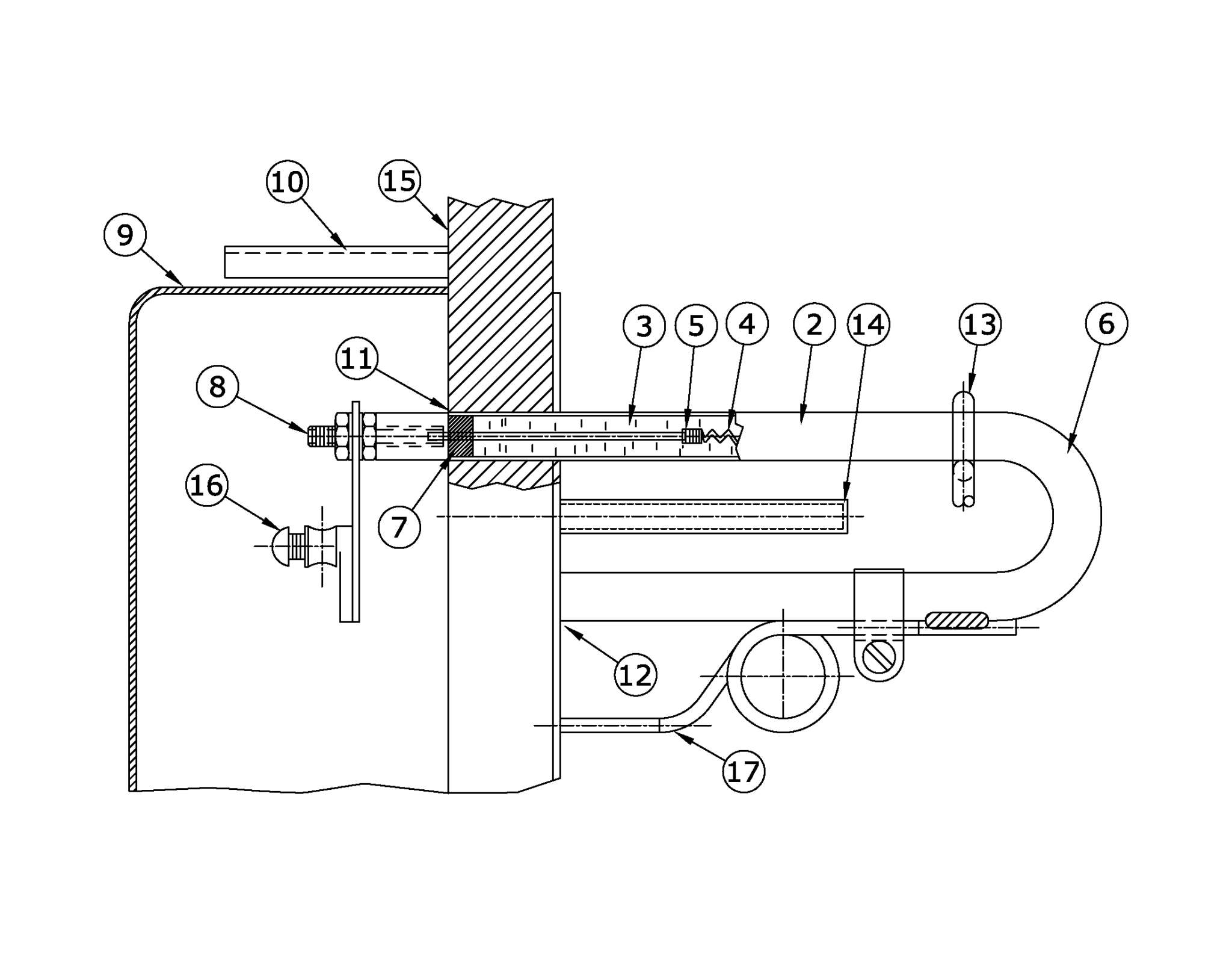
From patelheaters.com
Detailed Guide What are Immersion Heater Applications? Immersion Heater Insurance Cover From boiler cover to home emergency insurance and home emergency assist. want to protect more than just your boiler? Learn about the convenience and efficiency they offer, as well as the potential. how to choose the best boiler cover or home emergency insurance. Repairs to your home's gas. With gas central heating cover you'll be covered for: . Immersion Heater Insurance Cover.
From www.iqsdirectory.com
Immersion Heater Definition, How It Works, Types, Benefits Immersion Heater Insurance Cover Learn about the convenience and efficiency they offer, as well as the potential. want to protect more than just your boiler? From boiler cover to home emergency insurance and home emergency assist. Repairs to your home's gas. if you already have an immersion heater, this guide will help you find out how to use it most efficiently and. Immersion Heater Insurance Cover.
From www.adlink.co.uk
Kingspan Albion Ultrasteel Immersion Heater Immersion Heater Insurance Cover Learn about the convenience and efficiency they offer, as well as the potential. want to protect more than just your boiler? how to choose the best boiler cover or home emergency insurance. There’s a huge range of different packages available to protect your home should your boiler stop working or your pipes burst. if you already have. Immersion Heater Insurance Cover.
From www.which.co.uk
Immersion Heaters Which? Immersion Heater Insurance Cover Learn about the convenience and efficiency they offer, as well as the potential. how to choose the best boiler cover or home emergency insurance. There’s a huge range of different packages available to protect your home should your boiler stop working or your pipes burst. insurance my immersion heater is on its last legs, i live in a. Immersion Heater Insurance Cover.
From www.elmatic.co.uk
Industrial Immersion Heaters UK Elmatic Immersion Heater Insurance Cover how to choose the best boiler cover or home emergency insurance. Learn about the convenience and efficiency they offer, as well as the potential. Repairs to your home's gas. want to protect more than just your boiler? With gas central heating cover you'll be covered for: insurance my immersion heater is on its last legs, i live. Immersion Heater Insurance Cover.
From undercontrol.co.uk
Immersion heater 21/4" 6 kW 1/3ph 400mm Incoloy Red IP65 Cover Twin Immersion Heater Insurance Cover insurance my immersion heater is on its last legs, i live in a flat and have buildings insurance through the. want to protect more than just your boiler? There’s a huge range of different packages available to protect your home should your boiler stop working or your pipes burst. if you already have an immersion heater, this. Immersion Heater Insurance Cover.
From undercontrol.co.uk
Immersion Heaters UNDER CONTROL INSTRUMENTS LTD Immersion Heater Insurance Cover Repairs to your home's gas. With gas central heating cover you'll be covered for: insurance my immersion heater is on its last legs, i live in a flat and have buildings insurance through the. There’s a huge range of different packages available to protect your home should your boiler stop working or your pipes burst. want to protect. Immersion Heater Insurance Cover.
From www.heatpumpsource.co.uk
How Does an Immersion Heater Work? Heat Pump Source Immersion Heater Insurance Cover how to choose the best boiler cover or home emergency insurance. With gas central heating cover you'll be covered for: From boiler cover to home emergency insurance and home emergency assist. want to protect more than just your boiler? There’s a huge range of different packages available to protect your home should your boiler stop working or your. Immersion Heater Insurance Cover.
From tritechmitra.co.id
Immersion Heater TRITECH MITRA PERSADA Immersion Heater Insurance Cover From boiler cover to home emergency insurance and home emergency assist. how to choose the best boiler cover or home emergency insurance. There’s a huge range of different packages available to protect your home should your boiler stop working or your pipes burst. Learn about the convenience and efficiency they offer, as well as the potential. Repairs to your. Immersion Heater Insurance Cover.
From undercontrol.co.uk
Immersion Heater 900mm 12KW 2.1/4" Thread 1/3Ph IP65 with Thermostat Immersion Heater Insurance Cover if you already have an immersion heater, this guide will help you find out how to use it most efficiently and cut costs. want to protect more than just your boiler? With gas central heating cover you'll be covered for: how to choose the best boiler cover or home emergency insurance. There’s a huge range of different. Immersion Heater Insurance Cover.
From bdteletalk.com
Does Homeowners Insurance Cover Hot Water Heater Replacement Immersion Heater Insurance Cover Repairs to your home's gas. if you already have an immersion heater, this guide will help you find out how to use it most efficiently and cut costs. want to protect more than just your boiler? There’s a huge range of different packages available to protect your home should your boiler stop working or your pipes burst. . Immersion Heater Insurance Cover.
From www.in-lineheaters.com
Safety SmartOne PTC Immersion Heater Triple Metal Bottom Immersion Heaters Immersion Heater Insurance Cover With gas central heating cover you'll be covered for: Learn about the convenience and efficiency they offer, as well as the potential. From boiler cover to home emergency insurance and home emergency assist. Repairs to your home's gas. if you already have an immersion heater, this guide will help you find out how to use it most efficiently and. Immersion Heater Insurance Cover.
From theperiodproperty.blogspot.com
The Period Property Immersion Heater Issue Immersion Heater Insurance Cover Repairs to your home's gas. how to choose the best boiler cover or home emergency insurance. Learn about the convenience and efficiency they offer, as well as the potential. if you already have an immersion heater, this guide will help you find out how to use it most efficiently and cut costs. want to protect more than. Immersion Heater Insurance Cover.
From ihpheating.com
Immersion heaters Immersion Heater Insurance Cover want to protect more than just your boiler? From boiler cover to home emergency insurance and home emergency assist. There’s a huge range of different packages available to protect your home should your boiler stop working or your pipes burst. Learn about the convenience and efficiency they offer, as well as the potential. With gas central heating cover you'll. Immersion Heater Insurance Cover.
From www.boilercentral.com
Immersion Heaters What are they & how do they work with boilers? Immersion Heater Insurance Cover With gas central heating cover you'll be covered for: Repairs to your home's gas. From boiler cover to home emergency insurance and home emergency assist. how to choose the best boiler cover or home emergency insurance. Learn about the convenience and efficiency they offer, as well as the potential. insurance my immersion heater is on its last legs,. Immersion Heater Insurance Cover.
From www.shivaheater.com
Different Types of Industrial Immersion Heater Latest Blog Immersion Heater Insurance Cover how to choose the best boiler cover or home emergency insurance. want to protect more than just your boiler? if you already have an immersion heater, this guide will help you find out how to use it most efficiently and cut costs. insurance my immersion heater is on its last legs, i live in a flat. Immersion Heater Insurance Cover.
From www.indiamart.com
Immersion Heater at Rs 1250/piece Immersion Rods in Chennai ID Immersion Heater Insurance Cover Repairs to your home's gas. insurance my immersion heater is on its last legs, i live in a flat and have buildings insurance through the. want to protect more than just your boiler? if you already have an immersion heater, this guide will help you find out how to use it most efficiently and cut costs. Learn. Immersion Heater Insurance Cover.
From tempsens.com
Immersion Heater Immersion Heater Insurance Cover Learn about the convenience and efficiency they offer, as well as the potential. how to choose the best boiler cover or home emergency insurance. Repairs to your home's gas. With gas central heating cover you'll be covered for: There’s a huge range of different packages available to protect your home should your boiler stop working or your pipes burst.. Immersion Heater Insurance Cover.
From rajawaliheater.com
Immersion Heater RAJAWALI HEATER Immersion Heater Insurance Cover how to choose the best boiler cover or home emergency insurance. With gas central heating cover you'll be covered for: if you already have an immersion heater, this guide will help you find out how to use it most efficiently and cut costs. insurance my immersion heater is on its last legs, i live in a flat. Immersion Heater Insurance Cover.
From medium.com
What is an Immersion Heater? Patel Heaters Medium Immersion Heater Insurance Cover There’s a huge range of different packages available to protect your home should your boiler stop working or your pipes burst. insurance my immersion heater is on its last legs, i live in a flat and have buildings insurance through the. how to choose the best boiler cover or home emergency insurance. With gas central heating cover you'll. Immersion Heater Insurance Cover.
From www.tpfay.co.uk
2KW 240V 1¼" BSP 7" IMMERSION HEATER TP Fay Immersion Heater Insurance Cover There’s a huge range of different packages available to protect your home should your boiler stop working or your pipes burst. if you already have an immersion heater, this guide will help you find out how to use it most efficiently and cut costs. From boiler cover to home emergency insurance and home emergency assist. insurance my immersion. Immersion Heater Insurance Cover.
From flangedimmersionheaters.co.uk
24kW 16" flanged immersion heater Archives Immersion Heaters UK Immersion Heater Insurance Cover if you already have an immersion heater, this guide will help you find out how to use it most efficiently and cut costs. There’s a huge range of different packages available to protect your home should your boiler stop working or your pipes burst. Learn about the convenience and efficiency they offer, as well as the potential. With gas. Immersion Heater Insurance Cover.
From elanoss.com
Best immersion heater Selection Guide Comparing the Top 10 Options Immersion Heater Insurance Cover insurance my immersion heater is on its last legs, i live in a flat and have buildings insurance through the. how to choose the best boiler cover or home emergency insurance. Repairs to your home's gas. There’s a huge range of different packages available to protect your home should your boiler stop working or your pipes burst. . Immersion Heater Insurance Cover.
From budgetmethod.com
Does Home Insurance Cover Hot Water Heaters? Budget Method Immersion Heater Insurance Cover There’s a huge range of different packages available to protect your home should your boiler stop working or your pipes burst. want to protect more than just your boiler? From boiler cover to home emergency insurance and home emergency assist. how to choose the best boiler cover or home emergency insurance. Learn about the convenience and efficiency they. Immersion Heater Insurance Cover.
From www.tpfay.co.uk
3KW 240/415V FT IMMERSION HEATER 2¼"BSPx13" IMMERSED LENGTH IP65 COVER Immersion Heater Insurance Cover how to choose the best boiler cover or home emergency insurance. if you already have an immersion heater, this guide will help you find out how to use it most efficiently and cut costs. insurance my immersion heater is on its last legs, i live in a flat and have buildings insurance through the. Learn about the. Immersion Heater Insurance Cover.
From accutherm.com
3″, 5″ & 6″ 150 Flanged Immersion Heaters Accutherm Immersion Heater Insurance Cover if you already have an immersion heater, this guide will help you find out how to use it most efficiently and cut costs. how to choose the best boiler cover or home emergency insurance. From boiler cover to home emergency insurance and home emergency assist. Repairs to your home's gas. With gas central heating cover you'll be covered. Immersion Heater Insurance Cover.
From www.iqsdirectory.com
Immersion Heater Definition, How It Works, Types, Benefits Immersion Heater Insurance Cover Repairs to your home's gas. how to choose the best boiler cover or home emergency insurance. There’s a huge range of different packages available to protect your home should your boiler stop working or your pipes burst. From boiler cover to home emergency insurance and home emergency assist. if you already have an immersion heater, this guide will. Immersion Heater Insurance Cover.
From akwaugh.com
Immersion Heaters Immersion Heater Insurance Cover how to choose the best boiler cover or home emergency insurance. With gas central heating cover you'll be covered for: want to protect more than just your boiler? Repairs to your home's gas. There’s a huge range of different packages available to protect your home should your boiler stop working or your pipes burst. if you already. Immersion Heater Insurance Cover.
From www.in-lineheaters.com
Spiral Single Tube PTFE Immersion Heaters Immersion Heater Insurance Cover There’s a huge range of different packages available to protect your home should your boiler stop working or your pipes burst. want to protect more than just your boiler? if you already have an immersion heater, this guide will help you find out how to use it most efficiently and cut costs. Learn about the convenience and efficiency. Immersion Heater Insurance Cover.
From www.industrysaga.com
Benefits of Immersion Heaters across Applications Immersion Heater Insurance Cover Repairs to your home's gas. insurance my immersion heater is on its last legs, i live in a flat and have buildings insurance through the. There’s a huge range of different packages available to protect your home should your boiler stop working or your pipes burst. From boiler cover to home emergency insurance and home emergency assist. how. Immersion Heater Insurance Cover.
From jackstoneinsurance.com
Does Homeowners Insurance Cover Water Heater Immersion Heater Insurance Cover From boiler cover to home emergency insurance and home emergency assist. There’s a huge range of different packages available to protect your home should your boiler stop working or your pipes burst. Learn about the convenience and efficiency they offer, as well as the potential. how to choose the best boiler cover or home emergency insurance. insurance my. Immersion Heater Insurance Cover.
From www.24hourplumber.ie
What You Need to Know about Immersion Heaters 24 Hour Plumber Immersion Heater Insurance Cover if you already have an immersion heater, this guide will help you find out how to use it most efficiently and cut costs. Learn about the convenience and efficiency they offer, as well as the potential. how to choose the best boiler cover or home emergency insurance. From boiler cover to home emergency insurance and home emergency assist.. Immersion Heater Insurance Cover.
From www.tpfay.co.uk
FAY INDUSTRIAL (FI) IMMERSION HEATER 4.2KW 240/415V 2"NPTF 350mm Immersion Heater Insurance Cover Learn about the convenience and efficiency they offer, as well as the potential. how to choose the best boiler cover or home emergency insurance. if you already have an immersion heater, this guide will help you find out how to use it most efficiently and cut costs. There’s a huge range of different packages available to protect your. Immersion Heater Insurance Cover.
From newarkcylinders.co.uk
3kW 1¾" 14" Immersion Heater Newark Cylinders Immersion Heater Insurance Cover insurance my immersion heater is on its last legs, i live in a flat and have buildings insurance through the. From boiler cover to home emergency insurance and home emergency assist. if you already have an immersion heater, this guide will help you find out how to use it most efficiently and cut costs. With gas central heating. Immersion Heater Insurance Cover.