Hepatitis B Yeast . Find out more about hepatitis b and the. A severe allergic reaction (eg, anaphylaxis) after previous dose or to baker's yeast or any vaccine component. The second vaccine generation against hbv: Prehevbrio vaccine is the only hepatitis b vaccine that does not contain yeast, making it safe for people who are allergic to. Acip recommends that the following people should receive hepatitis b (hepb) vaccination: Unvaccinated children younger than 19 years of age. This page shows the ingredients in hepatitis b vaccines currently available for use in the u.s. The identification of hbsags as the.
from www.google.com
Unvaccinated children younger than 19 years of age. A severe allergic reaction (eg, anaphylaxis) after previous dose or to baker's yeast or any vaccine component. Find out more about hepatitis b and the. Acip recommends that the following people should receive hepatitis b (hepb) vaccination: The identification of hbsags as the. This page shows the ingredients in hepatitis b vaccines currently available for use in the u.s. The second vaccine generation against hbv: Prehevbrio vaccine is the only hepatitis b vaccine that does not contain yeast, making it safe for people who are allergic to.
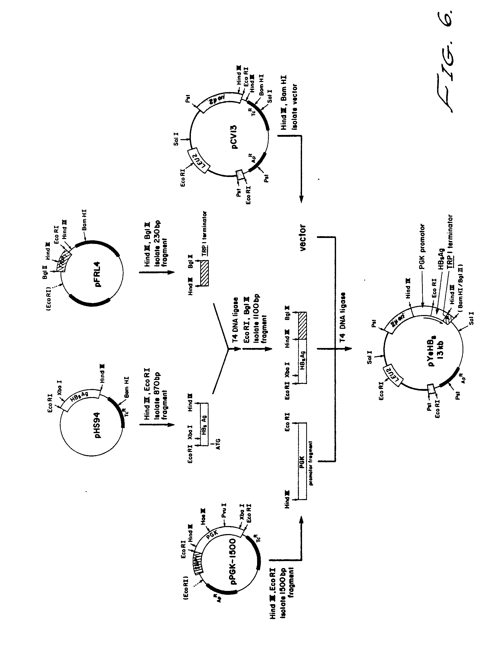
Patent EP0105149B1 plasmid containing hepatitis b virus
Hepatitis B Yeast The identification of hbsags as the. The identification of hbsags as the. Unvaccinated children younger than 19 years of age. Prehevbrio vaccine is the only hepatitis b vaccine that does not contain yeast, making it safe for people who are allergic to. The second vaccine generation against hbv: A severe allergic reaction (eg, anaphylaxis) after previous dose or to baker's yeast or any vaccine component. Find out more about hepatitis b and the. Acip recommends that the following people should receive hepatitis b (hepb) vaccination: This page shows the ingredients in hepatitis b vaccines currently available for use in the u.s.
From www.mindray.com
Understanding Hepatitis B and Its Test Results in 5 Minutes Mindray Hepatitis B Yeast This page shows the ingredients in hepatitis b vaccines currently available for use in the u.s. The identification of hbsags as the. Acip recommends that the following people should receive hepatitis b (hepb) vaccination: Unvaccinated children younger than 19 years of age. The second vaccine generation against hbv: A severe allergic reaction (eg, anaphylaxis) after previous dose or to baker's. Hepatitis B Yeast.
From www.google.com
Patent EP0105149B1 plasmid containing hepatitis b virus Hepatitis B Yeast Acip recommends that the following people should receive hepatitis b (hepb) vaccination: Find out more about hepatitis b and the. The second vaccine generation against hbv: Unvaccinated children younger than 19 years of age. This page shows the ingredients in hepatitis b vaccines currently available for use in the u.s. Prehevbrio vaccine is the only hepatitis b vaccine that does. Hepatitis B Yeast.
From www.healthywomen.org
What You Need to Know About Viral Hepatitis A, B and C HealthyWomen Hepatitis B Yeast A severe allergic reaction (eg, anaphylaxis) after previous dose or to baker's yeast or any vaccine component. Prehevbrio vaccine is the only hepatitis b vaccine that does not contain yeast, making it safe for people who are allergic to. Unvaccinated children younger than 19 years of age. Find out more about hepatitis b and the. The identification of hbsags as. Hepatitis B Yeast.
From www.pathkindlabs.com
Understanding Hepatitis in India Causes, Symptoms, and Available Hepatitis B Yeast Unvaccinated children younger than 19 years of age. Find out more about hepatitis b and the. Prehevbrio vaccine is the only hepatitis b vaccine that does not contain yeast, making it safe for people who are allergic to. The second vaccine generation against hbv: A severe allergic reaction (eg, anaphylaxis) after previous dose or to baker's yeast or any vaccine. Hepatitis B Yeast.
From www.mindray.com
The ABC's of Hepatitis know and fight the viral disease Mindray Hepatitis B Yeast Find out more about hepatitis b and the. Acip recommends that the following people should receive hepatitis b (hepb) vaccination: A severe allergic reaction (eg, anaphylaxis) after previous dose or to baker's yeast or any vaccine component. This page shows the ingredients in hepatitis b vaccines currently available for use in the u.s. The identification of hbsags as the. The. Hepatitis B Yeast.
From www.offeringhope.org
Differences Between Hep. B and Hep. C? St. Hope Foundation Hepatitis B Yeast A severe allergic reaction (eg, anaphylaxis) after previous dose or to baker's yeast or any vaccine component. Unvaccinated children younger than 19 years of age. Find out more about hepatitis b and the. This page shows the ingredients in hepatitis b vaccines currently available for use in the u.s. Prehevbrio vaccine is the only hepatitis b vaccine that does not. Hepatitis B Yeast.
From www.nejm.org
New Approaches to Chronic Hepatitis B NEJM Hepatitis B Yeast This page shows the ingredients in hepatitis b vaccines currently available for use in the u.s. A severe allergic reaction (eg, anaphylaxis) after previous dose or to baker's yeast or any vaccine component. The second vaccine generation against hbv: Find out more about hepatitis b and the. Acip recommends that the following people should receive hepatitis b (hepb) vaccination: Prehevbrio. Hepatitis B Yeast.
From www.pathkindlabs.com
Hepatitis B Causes, Symptoms, Transmission, and Diagnostic Tests Hepatitis B Yeast Find out more about hepatitis b and the. The second vaccine generation against hbv: Unvaccinated children younger than 19 years of age. Prehevbrio vaccine is the only hepatitis b vaccine that does not contain yeast, making it safe for people who are allergic to. The identification of hbsags as the. A severe allergic reaction (eg, anaphylaxis) after previous dose or. Hepatitis B Yeast.
From www.frontiersin.org
Frontiers Hepatitis B Virus Immunopathology, Model Systems, and Hepatitis B Yeast Prehevbrio vaccine is the only hepatitis b vaccine that does not contain yeast, making it safe for people who are allergic to. Find out more about hepatitis b and the. The identification of hbsags as the. A severe allergic reaction (eg, anaphylaxis) after previous dose or to baker's yeast or any vaccine component. The second vaccine generation against hbv: Unvaccinated. Hepatitis B Yeast.
From www.google.co.uk
Patent EP0073657B1 Preparation of hepatitis b surface antigen in Hepatitis B Yeast The identification of hbsags as the. A severe allergic reaction (eg, anaphylaxis) after previous dose or to baker's yeast or any vaccine component. Find out more about hepatitis b and the. Acip recommends that the following people should receive hepatitis b (hepb) vaccination: The second vaccine generation against hbv: Prehevbrio vaccine is the only hepatitis b vaccine that does not. Hepatitis B Yeast.
From www.std-gov.org
All Types of STDs & STIs and Their Symptoms STD Blog Hepatitis B Yeast Prehevbrio vaccine is the only hepatitis b vaccine that does not contain yeast, making it safe for people who are allergic to. Acip recommends that the following people should receive hepatitis b (hepb) vaccination: A severe allergic reaction (eg, anaphylaxis) after previous dose or to baker's yeast or any vaccine component. This page shows the ingredients in hepatitis b vaccines. Hepatitis B Yeast.
From www.google.com
Patent EP0251460B1 Method for producing hepatitis b virus core Hepatitis B Yeast A severe allergic reaction (eg, anaphylaxis) after previous dose or to baker's yeast or any vaccine component. Prehevbrio vaccine is the only hepatitis b vaccine that does not contain yeast, making it safe for people who are allergic to. Acip recommends that the following people should receive hepatitis b (hepb) vaccination: This page shows the ingredients in hepatitis b vaccines. Hepatitis B Yeast.
From dealmed.com
Engerix Hepatitis B Vaccine Adult 20 mcg/mL 1 mL SDV, 10/Pk Hepatitis B Yeast This page shows the ingredients in hepatitis b vaccines currently available for use in the u.s. Find out more about hepatitis b and the. Prehevbrio vaccine is the only hepatitis b vaccine that does not contain yeast, making it safe for people who are allergic to. The second vaccine generation against hbv: A severe allergic reaction (eg, anaphylaxis) after previous. Hepatitis B Yeast.
From pubs.acs.org
Potential Hepatitis B Vaccine Formulation Prepared by UniformSized Hepatitis B Yeast A severe allergic reaction (eg, anaphylaxis) after previous dose or to baker's yeast or any vaccine component. The identification of hbsags as the. Acip recommends that the following people should receive hepatitis b (hepb) vaccination: The second vaccine generation against hbv: Prehevbrio vaccine is the only hepatitis b vaccine that does not contain yeast, making it safe for people who. Hepatitis B Yeast.
From www.mindray.com
Memahami Hepatitis B dan Hasil Tesnya dalam 5 Menit Mindray Hepatitis B Yeast This page shows the ingredients in hepatitis b vaccines currently available for use in the u.s. Acip recommends that the following people should receive hepatitis b (hepb) vaccination: Unvaccinated children younger than 19 years of age. The identification of hbsags as the. The second vaccine generation against hbv: Find out more about hepatitis b and the. A severe allergic reaction. Hepatitis B Yeast.
From www.spokesman.com
U.S. panel new adult vaccine against hepatitis B The Hepatitis B Yeast This page shows the ingredients in hepatitis b vaccines currently available for use in the u.s. Unvaccinated children younger than 19 years of age. Acip recommends that the following people should receive hepatitis b (hepb) vaccination: The second vaccine generation against hbv: Find out more about hepatitis b and the. Prehevbrio vaccine is the only hepatitis b vaccine that does. Hepatitis B Yeast.
From www.osmosis.org
Hepatitis B virus (HBV) infection in pregnancy Nursing Osmosis Video Hepatitis B Yeast A severe allergic reaction (eg, anaphylaxis) after previous dose or to baker's yeast or any vaccine component. Acip recommends that the following people should receive hepatitis b (hepb) vaccination: Find out more about hepatitis b and the. This page shows the ingredients in hepatitis b vaccines currently available for use in the u.s. Unvaccinated children younger than 19 years of. Hepatitis B Yeast.
From quizlet.com
Hepatitis B Serology / Immunology Diagram Quizlet Hepatitis B Yeast Unvaccinated children younger than 19 years of age. The identification of hbsags as the. A severe allergic reaction (eg, anaphylaxis) after previous dose or to baker's yeast or any vaccine component. Prehevbrio vaccine is the only hepatitis b vaccine that does not contain yeast, making it safe for people who are allergic to. This page shows the ingredients in hepatitis. Hepatitis B Yeast.
From www.mdpi.com
Free FullText Viral Diagnosis of Hepatitis B and Hepatitis B Yeast The identification of hbsags as the. A severe allergic reaction (eg, anaphylaxis) after previous dose or to baker's yeast or any vaccine component. This page shows the ingredients in hepatitis b vaccines currently available for use in the u.s. Acip recommends that the following people should receive hepatitis b (hepb) vaccination: Prehevbrio vaccine is the only hepatitis b vaccine that. Hepatitis B Yeast.
From www.mdpi.com
IJMS Free FullText Hepatitis B and Hepatitis D Viruses A Hepatitis B Yeast The second vaccine generation against hbv: This page shows the ingredients in hepatitis b vaccines currently available for use in the u.s. Unvaccinated children younger than 19 years of age. Find out more about hepatitis b and the. The identification of hbsags as the. A severe allergic reaction (eg, anaphylaxis) after previous dose or to baker's yeast or any vaccine. Hepatitis B Yeast.
From www.mdpi.com
Viruses Free FullText Impact of Hepatitis B Virus Infection, Non Hepatitis B Yeast Unvaccinated children younger than 19 years of age. The second vaccine generation against hbv: Acip recommends that the following people should receive hepatitis b (hepb) vaccination: A severe allergic reaction (eg, anaphylaxis) after previous dose or to baker's yeast or any vaccine component. Prehevbrio vaccine is the only hepatitis b vaccine that does not contain yeast, making it safe for. Hepatitis B Yeast.
From www.medical-diagnosis.co.uk
Medical Diagnosis Hepatitis B HB Surface Antibodies (HBs Ab; Immunity) Hepatitis B Yeast Find out more about hepatitis b and the. Unvaccinated children younger than 19 years of age. Prehevbrio vaccine is the only hepatitis b vaccine that does not contain yeast, making it safe for people who are allergic to. The second vaccine generation against hbv: This page shows the ingredients in hepatitis b vaccines currently available for use in the u.s.. Hepatitis B Yeast.
From www.medscape.com
FDA Panel Supports Licensing TwoDose Hep B Vaccine Hepatitis B Yeast Find out more about hepatitis b and the. Acip recommends that the following people should receive hepatitis b (hepb) vaccination: Prehevbrio vaccine is the only hepatitis b vaccine that does not contain yeast, making it safe for people who are allergic to. A severe allergic reaction (eg, anaphylaxis) after previous dose or to baker's yeast or any vaccine component. The. Hepatitis B Yeast.
From americanhistory.si.edu
HB, Hepatitis B Vaccine Adult Formula, 3 mL Hepatitis B Yeast A severe allergic reaction (eg, anaphylaxis) after previous dose or to baker's yeast or any vaccine component. This page shows the ingredients in hepatitis b vaccines currently available for use in the u.s. The identification of hbsags as the. Unvaccinated children younger than 19 years of age. Acip recommends that the following people should receive hepatitis b (hepb) vaccination: The. Hepatitis B Yeast.
From www.rockefeller.edu
The Rockefeller University » New tool to study hepatitis B could open Hepatitis B Yeast Unvaccinated children younger than 19 years of age. Prehevbrio vaccine is the only hepatitis b vaccine that does not contain yeast, making it safe for people who are allergic to. The second vaccine generation against hbv: Acip recommends that the following people should receive hepatitis b (hepb) vaccination: This page shows the ingredients in hepatitis b vaccines currently available for. Hepatitis B Yeast.
From www.hepb.org
The Physical Toll of Living with Hepatitis B » Hepatitis B Foundation Hepatitis B Yeast Find out more about hepatitis b and the. The identification of hbsags as the. This page shows the ingredients in hepatitis b vaccines currently available for use in the u.s. Prehevbrio vaccine is the only hepatitis b vaccine that does not contain yeast, making it safe for people who are allergic to. The second vaccine generation against hbv: Acip recommends. Hepatitis B Yeast.
From www.mdpi.com
Life Free FullText Cell Culture Systems for Studying Hepatitis B Hepatitis B Yeast Prehevbrio vaccine is the only hepatitis b vaccine that does not contain yeast, making it safe for people who are allergic to. The identification of hbsags as the. This page shows the ingredients in hepatitis b vaccines currently available for use in the u.s. Unvaccinated children younger than 19 years of age. Acip recommends that the following people should receive. Hepatitis B Yeast.
From collections.museumsvictoria.com.au
Vaccine Vial Hepatitis B, circa 2000 Hepatitis B Yeast Acip recommends that the following people should receive hepatitis b (hepb) vaccination: Unvaccinated children younger than 19 years of age. Prehevbrio vaccine is the only hepatitis b vaccine that does not contain yeast, making it safe for people who are allergic to. A severe allergic reaction (eg, anaphylaxis) after previous dose or to baker's yeast or any vaccine component. The. Hepatitis B Yeast.
From www.precisionvaccinations.com
Unraveling Key Determinant of Chronic Hepatitis B Vaccination Hepatitis B Yeast Acip recommends that the following people should receive hepatitis b (hepb) vaccination: Unvaccinated children younger than 19 years of age. The second vaccine generation against hbv: A severe allergic reaction (eg, anaphylaxis) after previous dose or to baker's yeast or any vaccine component. Prehevbrio vaccine is the only hepatitis b vaccine that does not contain yeast, making it safe for. Hepatitis B Yeast.
From www.frontiersin.org
Frontiers Hepatitis B virusinfection related cryoglobulinemic Hepatitis B Yeast This page shows the ingredients in hepatitis b vaccines currently available for use in the u.s. Unvaccinated children younger than 19 years of age. Acip recommends that the following people should receive hepatitis b (hepb) vaccination: Find out more about hepatitis b and the. Prehevbrio vaccine is the only hepatitis b vaccine that does not contain yeast, making it safe. Hepatitis B Yeast.
From labpedia.net
Hepatitis B Virus (HBV), Diagnosis and Treatment Hepatitis B Yeast Unvaccinated children younger than 19 years of age. A severe allergic reaction (eg, anaphylaxis) after previous dose or to baker's yeast or any vaccine component. Find out more about hepatitis b and the. This page shows the ingredients in hepatitis b vaccines currently available for use in the u.s. Prehevbrio vaccine is the only hepatitis b vaccine that does not. Hepatitis B Yeast.
From spshospitals.com
Hepatitis What Is It? Types, Symptoms, Causes, and More SPS Hospitals Hepatitis B Yeast A severe allergic reaction (eg, anaphylaxis) after previous dose or to baker's yeast or any vaccine component. Prehevbrio vaccine is the only hepatitis b vaccine that does not contain yeast, making it safe for people who are allergic to. Find out more about hepatitis b and the. The identification of hbsags as the. This page shows the ingredients in hepatitis. Hepatitis B Yeast.
From www.std-gov.org
Hepatitis Symptoms, Treatment, Testing STD Hepatitis Hepatitis B Yeast This page shows the ingredients in hepatitis b vaccines currently available for use in the u.s. The second vaccine generation against hbv: Find out more about hepatitis b and the. A severe allergic reaction (eg, anaphylaxis) after previous dose or to baker's yeast or any vaccine component. Unvaccinated children younger than 19 years of age. Acip recommends that the following. Hepatitis B Yeast.
From blogs.lshtm.ac.uk
Symptoms of Hepatitis B Infographic Library, Archive & Open Research Hepatitis B Yeast Unvaccinated children younger than 19 years of age. The second vaccine generation against hbv: Acip recommends that the following people should receive hepatitis b (hepb) vaccination: This page shows the ingredients in hepatitis b vaccines currently available for use in the u.s. Find out more about hepatitis b and the. A severe allergic reaction (eg, anaphylaxis) after previous dose or. Hepatitis B Yeast.
From scopeblog.stanford.edu
Researchers team with CDC to expand adult hepatitis B testing Scope Hepatitis B Yeast Prehevbrio vaccine is the only hepatitis b vaccine that does not contain yeast, making it safe for people who are allergic to. Find out more about hepatitis b and the. The second vaccine generation against hbv: A severe allergic reaction (eg, anaphylaxis) after previous dose or to baker's yeast or any vaccine component. This page shows the ingredients in hepatitis. Hepatitis B Yeast.