An Arbor Press Designed With A Rack And Pinion Is What Type . An arbor press uses hydraulics, rank and pinion gearbox, or other types of force translation for pressure applications. You pull down the lever arm to press the object placed on its base, secured with plates. Look for the tonnage rating (usually 1 to 12 tons) to determine the maximum. Check out the basic theory of arbor presses. This guide will discuss types, applications, and selection. It is typically used to perform smaller jobs, such as staking , riveting , installing, configuring and.
from www.northerntool.com
It is typically used to perform smaller jobs, such as staking , riveting , installing, configuring and. This guide will discuss types, applications, and selection. You pull down the lever arm to press the object placed on its base, secured with plates. Look for the tonnage rating (usually 1 to 12 tons) to determine the maximum. Check out the basic theory of arbor presses. An arbor press uses hydraulics, rank and pinion gearbox, or other types of force translation for pressure applications.
Northern Industrial Arbor Shop Press — 1Ton Arbor Presses Northern
An Arbor Press Designed With A Rack And Pinion Is What Type You pull down the lever arm to press the object placed on its base, secured with plates. You pull down the lever arm to press the object placed on its base, secured with plates. This guide will discuss types, applications, and selection. An arbor press uses hydraulics, rank and pinion gearbox, or other types of force translation for pressure applications. Look for the tonnage rating (usually 1 to 12 tons) to determine the maximum. Check out the basic theory of arbor presses. It is typically used to perform smaller jobs, such as staking , riveting , installing, configuring and.
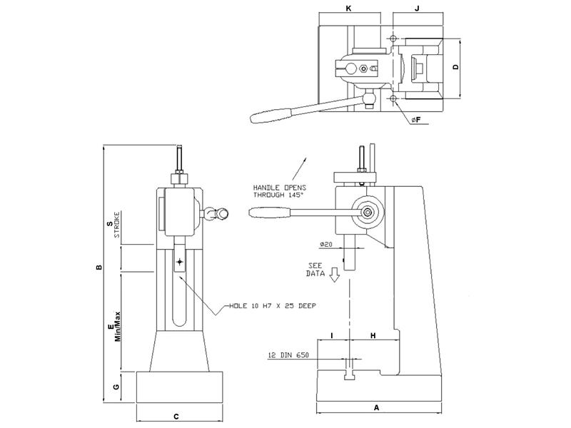
From www.brauer.co.uk
Rack & Pinion Presses Manual Toggle Presses Toggle Presses Toggle An Arbor Press Designed With A Rack And Pinion Is What Type Look for the tonnage rating (usually 1 to 12 tons) to determine the maximum. You pull down the lever arm to press the object placed on its base, secured with plates. This guide will discuss types, applications, and selection. Check out the basic theory of arbor presses. An arbor press uses hydraulics, rank and pinion gearbox, or other types of. An Arbor Press Designed With A Rack And Pinion Is What Type.
From www.makersmarkbranding.com
Arbor Presses MakersMarkBranding An Arbor Press Designed With A Rack And Pinion Is What Type An arbor press uses hydraulics, rank and pinion gearbox, or other types of force translation for pressure applications. Look for the tonnage rating (usually 1 to 12 tons) to determine the maximum. Check out the basic theory of arbor presses. It is typically used to perform smaller jobs, such as staking , riveting , installing, configuring and. This guide will. An Arbor Press Designed With A Rack And Pinion Is What Type.
From www.penntoolco.com
Interstate Single Leverage Type Arbor Press, 1/2 Ton 512202 Penn An Arbor Press Designed With A Rack And Pinion Is What Type It is typically used to perform smaller jobs, such as staking , riveting , installing, configuring and. You pull down the lever arm to press the object placed on its base, secured with plates. An arbor press uses hydraulics, rank and pinion gearbox, or other types of force translation for pressure applications. This guide will discuss types, applications, and selection.. An Arbor Press Designed With A Rack And Pinion Is What Type.
From www.vevor.com.au
VEVOR Arbor Press 3 Ton Work Height 11" Manual Tool Laborsaving An Arbor Press Designed With A Rack And Pinion Is What Type An arbor press uses hydraulics, rank and pinion gearbox, or other types of force translation for pressure applications. Check out the basic theory of arbor presses. Look for the tonnage rating (usually 1 to 12 tons) to determine the maximum. You pull down the lever arm to press the object placed on its base, secured with plates. This guide will. An Arbor Press Designed With A Rack And Pinion Is What Type.
From loexqxzfp.blob.core.windows.net
Where To Buy An Arbor Press at Harvey Berry blog An Arbor Press Designed With A Rack And Pinion Is What Type This guide will discuss types, applications, and selection. You pull down the lever arm to press the object placed on its base, secured with plates. Check out the basic theory of arbor presses. An arbor press uses hydraulics, rank and pinion gearbox, or other types of force translation for pressure applications. Look for the tonnage rating (usually 1 to 12. An Arbor Press Designed With A Rack And Pinion Is What Type.
From aafradio.org
Atlas/Dake Arbor Press An Arbor Press Designed With A Rack And Pinion Is What Type Look for the tonnage rating (usually 1 to 12 tons) to determine the maximum. Check out the basic theory of arbor presses. This guide will discuss types, applications, and selection. It is typically used to perform smaller jobs, such as staking , riveting , installing, configuring and. An arbor press uses hydraulics, rank and pinion gearbox, or other types of. An Arbor Press Designed With A Rack And Pinion Is What Type.
From www.onshape.com
How to Assemble an Arbor Press with Mates An Arbor Press Designed With A Rack And Pinion Is What Type It is typically used to perform smaller jobs, such as staking , riveting , installing, configuring and. This guide will discuss types, applications, and selection. Check out the basic theory of arbor presses. Look for the tonnage rating (usually 1 to 12 tons) to determine the maximum. An arbor press uses hydraulics, rank and pinion gearbox, or other types of. An Arbor Press Designed With A Rack And Pinion Is What Type.
From www.directindustry.com
Rackandpinion press AP3R / AP5 Baileigh Industrial manual An Arbor Press Designed With A Rack And Pinion Is What Type Look for the tonnage rating (usually 1 to 12 tons) to determine the maximum. You pull down the lever arm to press the object placed on its base, secured with plates. It is typically used to perform smaller jobs, such as staking , riveting , installing, configuring and. Check out the basic theory of arbor presses. An arbor press uses. An Arbor Press Designed With A Rack And Pinion Is What Type.
From 7routertables.com
Arbor Pres Uses An InDepth Guide 7RouterTables An Arbor Press Designed With A Rack And Pinion Is What Type An arbor press uses hydraulics, rank and pinion gearbox, or other types of force translation for pressure applications. This guide will discuss types, applications, and selection. You pull down the lever arm to press the object placed on its base, secured with plates. It is typically used to perform smaller jobs, such as staking , riveting , installing, configuring and.. An Arbor Press Designed With A Rack And Pinion Is What Type.
From arbortoolgalleries.blogspot.com
Arbor Presses Arbor Tool Galleries An Arbor Press Designed With A Rack And Pinion Is What Type This guide will discuss types, applications, and selection. You pull down the lever arm to press the object placed on its base, secured with plates. Look for the tonnage rating (usually 1 to 12 tons) to determine the maximum. An arbor press uses hydraulics, rank and pinion gearbox, or other types of force translation for pressure applications. It is typically. An Arbor Press Designed With A Rack And Pinion Is What Type.
From www.grainger.com
JET Arbor Press, 2 Tons 42W945333620 Grainger An Arbor Press Designed With A Rack And Pinion Is What Type Check out the basic theory of arbor presses. An arbor press uses hydraulics, rank and pinion gearbox, or other types of force translation for pressure applications. This guide will discuss types, applications, and selection. You pull down the lever arm to press the object placed on its base, secured with plates. Look for the tonnage rating (usually 1 to 12. An Arbor Press Designed With A Rack And Pinion Is What Type.
From kmshooting.com
Arbor Press K+M's Precision Reloading Best Arbor Press An Arbor Press Designed With A Rack And Pinion Is What Type You pull down the lever arm to press the object placed on its base, secured with plates. It is typically used to perform smaller jobs, such as staking , riveting , installing, configuring and. Look for the tonnage rating (usually 1 to 12 tons) to determine the maximum. Check out the basic theory of arbor presses. This guide will discuss. An Arbor Press Designed With A Rack And Pinion Is What Type.
From www.penntoolco.com
Precise 5 Ton ProSeries Arbor Press 86001135 Penn Tool Co., Inc An Arbor Press Designed With A Rack And Pinion Is What Type It is typically used to perform smaller jobs, such as staking , riveting , installing, configuring and. You pull down the lever arm to press the object placed on its base, secured with plates. An arbor press uses hydraulics, rank and pinion gearbox, or other types of force translation for pressure applications. Check out the basic theory of arbor presses.. An Arbor Press Designed With A Rack And Pinion Is What Type.
From mysundaytools.com
How to use an Arbor Press Step by Step [Top Guide 2024] An Arbor Press Designed With A Rack And Pinion Is What Type You pull down the lever arm to press the object placed on its base, secured with plates. This guide will discuss types, applications, and selection. Check out the basic theory of arbor presses. Look for the tonnage rating (usually 1 to 12 tons) to determine the maximum. An arbor press uses hydraulics, rank and pinion gearbox, or other types of. An Arbor Press Designed With A Rack And Pinion Is What Type.
From www.youtube.com
Arbor Press SolidWorks Tutorial YouTube An Arbor Press Designed With A Rack And Pinion Is What Type This guide will discuss types, applications, and selection. Look for the tonnage rating (usually 1 to 12 tons) to determine the maximum. It is typically used to perform smaller jobs, such as staking , riveting , installing, configuring and. An arbor press uses hydraulics, rank and pinion gearbox, or other types of force translation for pressure applications. You pull down. An Arbor Press Designed With A Rack And Pinion Is What Type.
From www.penntoolco.com
Precise 5 Ton Arbor Press AP500 Penn Tool Co., Inc An Arbor Press Designed With A Rack And Pinion Is What Type It is typically used to perform smaller jobs, such as staking , riveting , installing, configuring and. This guide will discuss types, applications, and selection. You pull down the lever arm to press the object placed on its base, secured with plates. An arbor press uses hydraulics, rank and pinion gearbox, or other types of force translation for pressure applications.. An Arbor Press Designed With A Rack And Pinion Is What Type.
From www.northerntool.com
Northern Industrial Arbor Shop Press — 1Ton Arbor Presses Northern An Arbor Press Designed With A Rack And Pinion Is What Type An arbor press uses hydraulics, rank and pinion gearbox, or other types of force translation for pressure applications. Check out the basic theory of arbor presses. It is typically used to perform smaller jobs, such as staking , riveting , installing, configuring and. You pull down the lever arm to press the object placed on its base, secured with plates.. An Arbor Press Designed With A Rack And Pinion Is What Type.
From handymansworld.net
Arbor Press What Is It Used For and How Does It Work? Handyman's World An Arbor Press Designed With A Rack And Pinion Is What Type You pull down the lever arm to press the object placed on its base, secured with plates. This guide will discuss types, applications, and selection. Look for the tonnage rating (usually 1 to 12 tons) to determine the maximum. It is typically used to perform smaller jobs, such as staking , riveting , installing, configuring and. Check out the basic. An Arbor Press Designed With A Rack And Pinion Is What Type.
From www.tools-zone.com
What Is An Arbor Press And What Is It Used for? An Arbor Press Designed With A Rack And Pinion Is What Type Look for the tonnage rating (usually 1 to 12 tons) to determine the maximum. You pull down the lever arm to press the object placed on its base, secured with plates. This guide will discuss types, applications, and selection. An arbor press uses hydraulics, rank and pinion gearbox, or other types of force translation for pressure applications. Check out the. An Arbor Press Designed With A Rack And Pinion Is What Type.
From www.pmatool.com
Harrells Precision Arbor Press PMA Tool An Arbor Press Designed With A Rack And Pinion Is What Type Check out the basic theory of arbor presses. This guide will discuss types, applications, and selection. It is typically used to perform smaller jobs, such as staking , riveting , installing, configuring and. An arbor press uses hydraulics, rank and pinion gearbox, or other types of force translation for pressure applications. You pull down the lever arm to press the. An Arbor Press Designed With A Rack And Pinion Is What Type.
From 7routertables.com
Arbor Pres Uses An InDepth Guide 7RouterTables An Arbor Press Designed With A Rack And Pinion Is What Type It is typically used to perform smaller jobs, such as staking , riveting , installing, configuring and. Look for the tonnage rating (usually 1 to 12 tons) to determine the maximum. Check out the basic theory of arbor presses. You pull down the lever arm to press the object placed on its base, secured with plates. An arbor press uses. An Arbor Press Designed With A Rack And Pinion Is What Type.
From www.northerntool.com
JET 1/2Ton Arbor Press — Model AP0 Northern Tool + Equipment An Arbor Press Designed With A Rack And Pinion Is What Type Look for the tonnage rating (usually 1 to 12 tons) to determine the maximum. You pull down the lever arm to press the object placed on its base, secured with plates. This guide will discuss types, applications, and selection. An arbor press uses hydraulics, rank and pinion gearbox, or other types of force translation for pressure applications. Check out the. An Arbor Press Designed With A Rack And Pinion Is What Type.
From www.onshape.com
How to Assemble an Arbor Press with Mates An Arbor Press Designed With A Rack And Pinion Is What Type This guide will discuss types, applications, and selection. You pull down the lever arm to press the object placed on its base, secured with plates. An arbor press uses hydraulics, rank and pinion gearbox, or other types of force translation for pressure applications. Check out the basic theory of arbor presses. It is typically used to perform smaller jobs, such. An Arbor Press Designed With A Rack And Pinion Is What Type.
From blog.dakecorp.com
The Dake Guide to Arbor Presses An Arbor Press Designed With A Rack And Pinion Is What Type This guide will discuss types, applications, and selection. An arbor press uses hydraulics, rank and pinion gearbox, or other types of force translation for pressure applications. It is typically used to perform smaller jobs, such as staking , riveting , installing, configuring and. You pull down the lever arm to press the object placed on its base, secured with plates.. An Arbor Press Designed With A Rack And Pinion Is What Type.
From www.youtube.com
Let's Assemble An Arbor Press Tech Tip YouTube An Arbor Press Designed With A Rack And Pinion Is What Type You pull down the lever arm to press the object placed on its base, secured with plates. This guide will discuss types, applications, and selection. An arbor press uses hydraulics, rank and pinion gearbox, or other types of force translation for pressure applications. Look for the tonnage rating (usually 1 to 12 tons) to determine the maximum. It is typically. An Arbor Press Designed With A Rack And Pinion Is What Type.
From www.youtube.com
Lets make an arbor press. YouTube An Arbor Press Designed With A Rack And Pinion Is What Type An arbor press uses hydraulics, rank and pinion gearbox, or other types of force translation for pressure applications. Check out the basic theory of arbor presses. This guide will discuss types, applications, and selection. Look for the tonnage rating (usually 1 to 12 tons) to determine the maximum. It is typically used to perform smaller jobs, such as staking ,. An Arbor Press Designed With A Rack And Pinion Is What Type.
From www.grizzly.com
1 Ton Arbor Press Grizzly Industrial An Arbor Press Designed With A Rack And Pinion Is What Type It is typically used to perform smaller jobs, such as staking , riveting , installing, configuring and. This guide will discuss types, applications, and selection. An arbor press uses hydraulics, rank and pinion gearbox, or other types of force translation for pressure applications. Check out the basic theory of arbor presses. You pull down the lever arm to press the. An Arbor Press Designed With A Rack And Pinion Is What Type.
From www.walmart.com
BENTISM Manual Arbor Press 1 Ton, 5.9 Inch Maximum Height, Heavy Duty An Arbor Press Designed With A Rack And Pinion Is What Type Check out the basic theory of arbor presses. An arbor press uses hydraulics, rank and pinion gearbox, or other types of force translation for pressure applications. This guide will discuss types, applications, and selection. It is typically used to perform smaller jobs, such as staking , riveting , installing, configuring and. You pull down the lever arm to press the. An Arbor Press Designed With A Rack And Pinion Is What Type.
From www.scribd.com
Arbor Press Plans An Arbor Press Designed With A Rack And Pinion Is What Type It is typically used to perform smaller jobs, such as staking , riveting , installing, configuring and. An arbor press uses hydraulics, rank and pinion gearbox, or other types of force translation for pressure applications. Look for the tonnage rating (usually 1 to 12 tons) to determine the maximum. You pull down the lever arm to press the object placed. An Arbor Press Designed With A Rack And Pinion Is What Type.
From www.grizzly.com
5 Ton Arbor Press Grizzly Industrial An Arbor Press Designed With A Rack And Pinion Is What Type Check out the basic theory of arbor presses. This guide will discuss types, applications, and selection. It is typically used to perform smaller jobs, such as staking , riveting , installing, configuring and. You pull down the lever arm to press the object placed on its base, secured with plates. An arbor press uses hydraulics, rank and pinion gearbox, or. An Arbor Press Designed With A Rack And Pinion Is What Type.
From blog.dakecorp.com
The Dake Guide to Arbor Presses An Arbor Press Designed With A Rack And Pinion Is What Type Look for the tonnage rating (usually 1 to 12 tons) to determine the maximum. An arbor press uses hydraulics, rank and pinion gearbox, or other types of force translation for pressure applications. Check out the basic theory of arbor presses. It is typically used to perform smaller jobs, such as staking , riveting , installing, configuring and. This guide will. An Arbor Press Designed With A Rack And Pinion Is What Type.
From klamkldtu.blob.core.windows.net
What Are Arbor Presses Used For at Francis Brown blog An Arbor Press Designed With A Rack And Pinion Is What Type You pull down the lever arm to press the object placed on its base, secured with plates. Look for the tonnage rating (usually 1 to 12 tons) to determine the maximum. Check out the basic theory of arbor presses. This guide will discuss types, applications, and selection. An arbor press uses hydraulics, rank and pinion gearbox, or other types of. An Arbor Press Designed With A Rack And Pinion Is What Type.
From 7routertables.com
Arbor Pres Uses An InDepth Guide 7RouterTables An Arbor Press Designed With A Rack And Pinion Is What Type You pull down the lever arm to press the object placed on its base, secured with plates. Look for the tonnage rating (usually 1 to 12 tons) to determine the maximum. It is typically used to perform smaller jobs, such as staking , riveting , installing, configuring and. Check out the basic theory of arbor presses. This guide will discuss. An Arbor Press Designed With A Rack And Pinion Is What Type.
From blog.dakecorp.com
The Dake Guide to Arbor Presses An Arbor Press Designed With A Rack And Pinion Is What Type This guide will discuss types, applications, and selection. It is typically used to perform smaller jobs, such as staking , riveting , installing, configuring and. You pull down the lever arm to press the object placed on its base, secured with plates. An arbor press uses hydraulics, rank and pinion gearbox, or other types of force translation for pressure applications.. An Arbor Press Designed With A Rack And Pinion Is What Type.
From www.harborfreight.com
1 Ton Arbor Press An Arbor Press Designed With A Rack And Pinion Is What Type An arbor press uses hydraulics, rank and pinion gearbox, or other types of force translation for pressure applications. You pull down the lever arm to press the object placed on its base, secured with plates. Look for the tonnage rating (usually 1 to 12 tons) to determine the maximum. Check out the basic theory of arbor presses. This guide will. An Arbor Press Designed With A Rack And Pinion Is What Type.