Jeep Steering Linkage . loss of control and tire damage is quite common when jeep wrangler jk steering linkage and ball joints are past their prime. rusty's jl/jt steering system starts with a massive 1.75 x 5/16 wall dom tubing for both the tie rod and the drag link. we offer high steer kits, heavy duty replacements, and factory components from top brands like omix, crowns and teraflex. larger wheel and tire combinations, in addition to suspension modifications can really take a toll on the stock steering linkage in your. Includes tie rod assembly, drag link assembly and a steering. It includes the tie rod (dom steel) which is also the. Replace your jeep wrangler jk’s ball joints and.
from somarmotor.com
It includes the tie rod (dom steel) which is also the. rusty's jl/jt steering system starts with a massive 1.75 x 5/16 wall dom tubing for both the tie rod and the drag link. larger wheel and tire combinations, in addition to suspension modifications can really take a toll on the stock steering linkage in your. Replace your jeep wrangler jk’s ball joints and. we offer high steer kits, heavy duty replacements, and factory components from top brands like omix, crowns and teraflex. loss of control and tire damage is quite common when jeep wrangler jk steering linkage and ball joints are past their prime. Includes tie rod assembly, drag link assembly and a steering.
Steering Linkage Adjuster for 0718 Jeep Wrangler JK with RHD Somar
Jeep Steering Linkage we offer high steer kits, heavy duty replacements, and factory components from top brands like omix, crowns and teraflex. larger wheel and tire combinations, in addition to suspension modifications can really take a toll on the stock steering linkage in your. rusty's jl/jt steering system starts with a massive 1.75 x 5/16 wall dom tubing for both the tie rod and the drag link. Includes tie rod assembly, drag link assembly and a steering. It includes the tie rod (dom steel) which is also the. loss of control and tire damage is quite common when jeep wrangler jk steering linkage and ball joints are past their prime. Replace your jeep wrangler jk’s ball joints and. we offer high steer kits, heavy duty replacements, and factory components from top brands like omix, crowns and teraflex.
From www.moparpartsinc.com
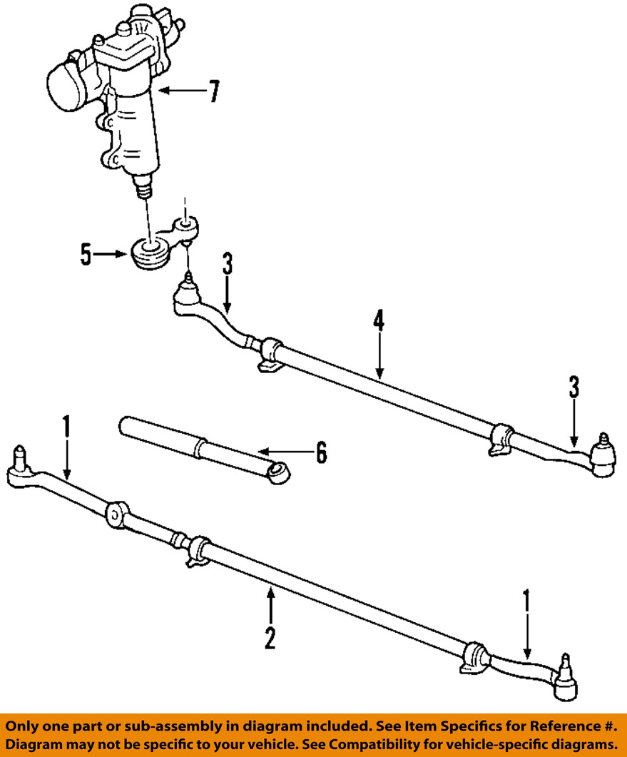
Jeep Wrangler Adjuster assy. Steering link. Linkage 52126122AC Jeep Steering Linkage Includes tie rod assembly, drag link assembly and a steering. It includes the tie rod (dom steel) which is also the. rusty's jl/jt steering system starts with a massive 1.75 x 5/16 wall dom tubing for both the tie rod and the drag link. Replace your jeep wrangler jk’s ball joints and. loss of control and tire damage. Jeep Steering Linkage.
From www.moparpartsinc.com
Jeep Wrangler Socket. Drag link inner. Right hand drive. Steering Jeep Steering Linkage we offer high steer kits, heavy duty replacements, and factory components from top brands like omix, crowns and teraflex. larger wheel and tire combinations, in addition to suspension modifications can really take a toll on the stock steering linkage in your. rusty's jl/jt steering system starts with a massive 1.75 x 5/16 wall dom tubing for both. Jeep Steering Linkage.
From www.autozone.com
Repair Guides Steering Tie Rod End Jeep Steering Linkage loss of control and tire damage is quite common when jeep wrangler jk steering linkage and ball joints are past their prime. rusty's jl/jt steering system starts with a massive 1.75 x 5/16 wall dom tubing for both the tie rod and the drag link. larger wheel and tire combinations, in addition to suspension modifications can really. Jeep Steering Linkage.
From www.cseoffroad.com
Right Hand Drive Steering Linkage Kit Heavy Duty for Jeep Wrangler Jeep Steering Linkage loss of control and tire damage is quite common when jeep wrangler jk steering linkage and ball joints are past their prime. Replace your jeep wrangler jk’s ball joints and. we offer high steer kits, heavy duty replacements, and factory components from top brands like omix, crowns and teraflex. It includes the tie rod (dom steel) which is. Jeep Steering Linkage.
From www.slideserve.com
PPT 2011 JEEP WRANGLER MOOG Steering Linkage Assembly DS800982A Jeep Steering Linkage loss of control and tire damage is quite common when jeep wrangler jk steering linkage and ball joints are past their prime. Includes tie rod assembly, drag link assembly and a steering. larger wheel and tire combinations, in addition to suspension modifications can really take a toll on the stock steering linkage in your. rusty's jl/jt steering. Jeep Steering Linkage.
From www.shopjeepparts.com
Jeep TJ Wrangler Southwest Blue Crossover Steering Kit J0048528 Jeep Steering Linkage we offer high steer kits, heavy duty replacements, and factory components from top brands like omix, crowns and teraflex. rusty's jl/jt steering system starts with a massive 1.75 x 5/16 wall dom tubing for both the tie rod and the drag link. It includes the tie rod (dom steel) which is also the. larger wheel and tire. Jeep Steering Linkage.
From www.quadratec.com
Crown Automotive SK1RHD Steering Linkage Kit for 0718 Jeep Wrangler JK Jeep Steering Linkage It includes the tie rod (dom steel) which is also the. larger wheel and tire combinations, in addition to suspension modifications can really take a toll on the stock steering linkage in your. we offer high steer kits, heavy duty replacements, and factory components from top brands like omix, crowns and teraflex. Replace your jeep wrangler jk’s ball. Jeep Steering Linkage.
From somarmotor.com
Steering Linkage Adjuster for 0718 Jeep Wrangler JK with RHD Somar Jeep Steering Linkage larger wheel and tire combinations, in addition to suspension modifications can really take a toll on the stock steering linkage in your. rusty's jl/jt steering system starts with a massive 1.75 x 5/16 wall dom tubing for both the tie rod and the drag link. It includes the tie rod (dom steel) which is also the. we. Jeep Steering Linkage.
From www.wranglerforum.com
steering linkage Jeep Wrangler Forum Jeep Steering Linkage Replace your jeep wrangler jk’s ball joints and. loss of control and tire damage is quite common when jeep wrangler jk steering linkage and ball joints are past their prime. we offer high steer kits, heavy duty replacements, and factory components from top brands like omix, crowns and teraflex. It includes the tie rod (dom steel) which is. Jeep Steering Linkage.
From www.ocabj.net
Metalcloak HD Steering System for Jeep Wrangler JK Jeep Steering Linkage rusty's jl/jt steering system starts with a massive 1.75 x 5/16 wall dom tubing for both the tie rod and the drag link. Includes tie rod assembly, drag link assembly and a steering. Replace your jeep wrangler jk’s ball joints and. It includes the tie rod (dom steel) which is also the. larger wheel and tire combinations, in. Jeep Steering Linkage.
From www.moparpartsgiant.com
2008 Jeep Wrangler Steering Linkage Mopar Parts Giant Jeep Steering Linkage loss of control and tire damage is quite common when jeep wrangler jk steering linkage and ball joints are past their prime. larger wheel and tire combinations, in addition to suspension modifications can really take a toll on the stock steering linkage in your. we offer high steer kits, heavy duty replacements, and factory components from top. Jeep Steering Linkage.
From somarmotor.com
Diagram Steering Linkage and Steering Shock for JL and JT Gladiator Jeep Steering Linkage we offer high steer kits, heavy duty replacements, and factory components from top brands like omix, crowns and teraflex. Replace your jeep wrangler jk’s ball joints and. Includes tie rod assembly, drag link assembly and a steering. loss of control and tire damage is quite common when jeep wrangler jk steering linkage and ball joints are past their. Jeep Steering Linkage.
From www.mymoparpart.com
Jeep Wrangler Damper. Steering linkage. Ckd, antilock 68053860AA Jeep Steering Linkage It includes the tie rod (dom steel) which is also the. loss of control and tire damage is quite common when jeep wrangler jk steering linkage and ball joints are past their prime. Includes tie rod assembly, drag link assembly and a steering. Replace your jeep wrangler jk’s ball joints and. we offer high steer kits, heavy duty. Jeep Steering Linkage.
From www.jeeppartsinc.com
Jeep Wrangler Damper. Steering. Right hand drive 68508679AB Jeep Jeep Steering Linkage Replace your jeep wrangler jk’s ball joints and. It includes the tie rod (dom steel) which is also the. we offer high steer kits, heavy duty replacements, and factory components from top brands like omix, crowns and teraflex. rusty's jl/jt steering system starts with a massive 1.75 x 5/16 wall dom tubing for both the tie rod and. Jeep Steering Linkage.
From www.jeeppartsoverstock.com
52088251AC Jeep Damper. Steering. Linkage, drive, argentina Jeep Jeep Steering Linkage Replace your jeep wrangler jk’s ball joints and. loss of control and tire damage is quite common when jeep wrangler jk steering linkage and ball joints are past their prime. we offer high steer kits, heavy duty replacements, and factory components from top brands like omix, crowns and teraflex. rusty's jl/jt steering system starts with a massive. Jeep Steering Linkage.
From imageresizertool.com
Jeep Steering Linkage Diagram. Jeep. Auto Parts Catalog And Diagram Jeep Steering Linkage larger wheel and tire combinations, in addition to suspension modifications can really take a toll on the stock steering linkage in your. Includes tie rod assembly, drag link assembly and a steering. rusty's jl/jt steering system starts with a massive 1.75 x 5/16 wall dom tubing for both the tie rod and the drag link. Replace your jeep. Jeep Steering Linkage.
From www.extremeterrain.com
Rugged Ridge Jeep Wrangler Heavy Duty Monster Complete Steering Linkage Jeep Steering Linkage rusty's jl/jt steering system starts with a massive 1.75 x 5/16 wall dom tubing for both the tie rod and the drag link. Replace your jeep wrangler jk’s ball joints and. larger wheel and tire combinations, in addition to suspension modifications can really take a toll on the stock steering linkage in your. loss of control and. Jeep Steering Linkage.
From www.quadratec.com
Jeep Wrangler JL Steering Linkage Parts Quadratec Jeep Steering Linkage larger wheel and tire combinations, in addition to suspension modifications can really take a toll on the stock steering linkage in your. we offer high steer kits, heavy duty replacements, and factory components from top brands like omix, crowns and teraflex. Includes tie rod assembly, drag link assembly and a steering. Replace your jeep wrangler jk’s ball joints. Jeep Steering Linkage.
From jeep-cj.com
Steering Linkage Jeep Steering Linkage Replace your jeep wrangler jk’s ball joints and. loss of control and tire damage is quite common when jeep wrangler jk steering linkage and ball joints are past their prime. larger wheel and tire combinations, in addition to suspension modifications can really take a toll on the stock steering linkage in your. we offer high steer kits,. Jeep Steering Linkage.
From www.shopjeepparts.com
Jeep TJ XJ ZJ Heavy Duty Steering Linkage Rugged Ridge 18050.82 Jeep Steering Linkage loss of control and tire damage is quite common when jeep wrangler jk steering linkage and ball joints are past their prime. larger wheel and tire combinations, in addition to suspension modifications can really take a toll on the stock steering linkage in your. we offer high steer kits, heavy duty replacements, and factory components from top. Jeep Steering Linkage.
From www.autozone.com
Repair Guides Steering Center Link/connecting Rod/drag Link Jeep Steering Linkage Includes tie rod assembly, drag link assembly and a steering. we offer high steer kits, heavy duty replacements, and factory components from top brands like omix, crowns and teraflex. Replace your jeep wrangler jk’s ball joints and. It includes the tie rod (dom steel) which is also the. rusty's jl/jt steering system starts with a massive 1.75 x. Jeep Steering Linkage.
From www.motortrend.com
Jeep Steering Linkage Kit 4Wheel & Off Road Magazine Jeep Steering Linkage loss of control and tire damage is quite common when jeep wrangler jk steering linkage and ball joints are past their prime. Includes tie rod assembly, drag link assembly and a steering. larger wheel and tire combinations, in addition to suspension modifications can really take a toll on the stock steering linkage in your. rusty's jl/jt steering. Jeep Steering Linkage.
From repairfixcurbside.z21.web.core.windows.net
Jeep Jk Steering Parts Jeep Steering Linkage larger wheel and tire combinations, in addition to suspension modifications can really take a toll on the stock steering linkage in your. rusty's jl/jt steering system starts with a massive 1.75 x 5/16 wall dom tubing for both the tie rod and the drag link. Replace your jeep wrangler jk’s ball joints and. Includes tie rod assembly, drag. Jeep Steering Linkage.
From steersmarts.com
YETI XD™ JK Bottom Mount Steering Linkage Kit Steer Smarts Jeep Steering Linkage loss of control and tire damage is quite common when jeep wrangler jk steering linkage and ball joints are past their prime. we offer high steer kits, heavy duty replacements, and factory components from top brands like omix, crowns and teraflex. larger wheel and tire combinations, in addition to suspension modifications can really take a toll on. Jeep Steering Linkage.
From www.jeeppartsoverstock.com
52060058AF Jeep Damper. Steering. Chassis, complete, linkage Jeep Jeep Steering Linkage Replace your jeep wrangler jk’s ball joints and. loss of control and tire damage is quite common when jeep wrangler jk steering linkage and ball joints are past their prime. Includes tie rod assembly, drag link assembly and a steering. It includes the tie rod (dom steel) which is also the. larger wheel and tire combinations, in addition. Jeep Steering Linkage.
From www.pinterest.com.mx
Updated Front End Steering and Suspension map for the Jeep WJ Steering Jeep Steering Linkage loss of control and tire damage is quite common when jeep wrangler jk steering linkage and ball joints are past their prime. Includes tie rod assembly, drag link assembly and a steering. larger wheel and tire combinations, in addition to suspension modifications can really take a toll on the stock steering linkage in your. we offer high. Jeep Steering Linkage.
From www.motortrend.com
New Jeep JK Wrangler Steering Upgrade For Budget Builders Jeep Steering Linkage loss of control and tire damage is quite common when jeep wrangler jk steering linkage and ball joints are past their prime. we offer high steer kits, heavy duty replacements, and factory components from top brands like omix, crowns and teraflex. rusty's jl/jt steering system starts with a massive 1.75 x 5/16 wall dom tubing for both. Jeep Steering Linkage.
From enginewirth55.z19.web.core.windows.net
Jeep Jk Steering Linkage Upgrade Jeep Steering Linkage Replace your jeep wrangler jk’s ball joints and. we offer high steer kits, heavy duty replacements, and factory components from top brands like omix, crowns and teraflex. loss of control and tire damage is quite common when jeep wrangler jk steering linkage and ball joints are past their prime. rusty's jl/jt steering system starts with a massive. Jeep Steering Linkage.
From www.moparpartsgiant.com
2004 Jeep Grand Cherokee Steering Linkage Mopar Parts Giant Jeep Steering Linkage larger wheel and tire combinations, in addition to suspension modifications can really take a toll on the stock steering linkage in your. loss of control and tire damage is quite common when jeep wrangler jk steering linkage and ball joints are past their prime. we offer high steer kits, heavy duty replacements, and factory components from top. Jeep Steering Linkage.
From resolutionsforyou.com
Jeep xj steering diagram Jeep Steering Linkage Replace your jeep wrangler jk’s ball joints and. rusty's jl/jt steering system starts with a massive 1.75 x 5/16 wall dom tubing for both the tie rod and the drag link. we offer high steer kits, heavy duty replacements, and factory components from top brands like omix, crowns and teraflex. Includes tie rod assembly, drag link assembly and. Jeep Steering Linkage.
From www.shopjeepparts.com
Jeep TJ XJ ZJ Heavy Duty Steering Linkage Kit 18050.82 Jeep Steering Linkage we offer high steer kits, heavy duty replacements, and factory components from top brands like omix, crowns and teraflex. Replace your jeep wrangler jk’s ball joints and. loss of control and tire damage is quite common when jeep wrangler jk steering linkage and ball joints are past their prime. rusty's jl/jt steering system starts with a massive. Jeep Steering Linkage.
From www.quadratec.com
Jeep Wrangler JK Steering Linkage Parts Quadratec Jeep Steering Linkage Includes tie rod assembly, drag link assembly and a steering. rusty's jl/jt steering system starts with a massive 1.75 x 5/16 wall dom tubing for both the tie rod and the drag link. larger wheel and tire combinations, in addition to suspension modifications can really take a toll on the stock steering linkage in your. Replace your jeep. Jeep Steering Linkage.
From www.mymoparpart.com
Jeep Grand Cherokee Arm. Pitman. Steering, linkage, left 52088242 Jeep Steering Linkage It includes the tie rod (dom steel) which is also the. we offer high steer kits, heavy duty replacements, and factory components from top brands like omix, crowns and teraflex. Includes tie rod assembly, drag link assembly and a steering. larger wheel and tire combinations, in addition to suspension modifications can really take a toll on the stock. Jeep Steering Linkage.
From www.autozone.com
Repair Guides Steering Steering Linkage Jeep Steering Linkage Replace your jeep wrangler jk’s ball joints and. loss of control and tire damage is quite common when jeep wrangler jk steering linkage and ball joints are past their prime. we offer high steer kits, heavy duty replacements, and factory components from top brands like omix, crowns and teraflex. rusty's jl/jt steering system starts with a massive. Jeep Steering Linkage.
From www.megazip.net
Steering linkage for 1989 1994 Mitsubishi JEEP J53 Japan sales Jeep Steering Linkage we offer high steer kits, heavy duty replacements, and factory components from top brands like omix, crowns and teraflex. Includes tie rod assembly, drag link assembly and a steering. Replace your jeep wrangler jk’s ball joints and. It includes the tie rod (dom steel) which is also the. rusty's jl/jt steering system starts with a massive 1.75 x. Jeep Steering Linkage.