Radio Receiver Circuit Description . the basic performance characteristics of a radio receiver are sensitivity, selectivity, and stability. This radio receiver consists of very few parts, an antenna, a ground, a tank circuit, a diode, a filter, and a speaker or a set of headphones. in this simple am radio receiver, the variable capacitor and coil together are making the tuned circuit or. Then we will build three different am radio receivers in order of increasing complexity. for a basic understanding of radio and television operations, we will first look at a simple radio receiver. an am (amplitude modulation) receiver circuit is used to receive and decode amplitude modulated signals from radio. an fm radio works by receiving fm radio waves from a broadcasting station and converting them into audible sound. an antenna ground system, tank circuit, peak detector, and headphones are the main components of a crystal radio seen in. cxa1019 is a bipolar silicon monolithic fm/am radio receiver ic from sony. circuit description the heart of this circuit is jfet q3, which operates as a regenerative detector (see fig 17.76). in the superhet, the preselector only needs to select one of two signals that are separated by 910 khz — a relatively simple task —. The radio circuit is based around a single integrated circuit (ic), silicon labs si4825, and not much else. this paper introduces the basics of designing a digital radio receiver. in this tutorial, we are demonstrating a project of an fm radio receiver using tda7000. The schematic diagram of an fm radio shows the different stages of the circuit, such as the antenna, tuner, mixer, intermediate frequency amplifier, and audio amplifier.
from www.circuit-diagram.org
We can use an fm receiver to. an am (amplitude modulation) receiver circuit is used to receive and decode amplitude modulated signals from radio. this article describes how to build a simple stereo fm radio receiver circuit without tuning components such as. in the superhet, the preselector only needs to select one of two signals that are separated by 910 khz — a relatively simple task —. an antenna ground system, tank circuit, peak detector, and headphones are the main components of a crystal radio seen in. the basic operating principles of the major circuitry and active and passive components used in radio are described in the article. This radio receiver consists of very few parts, an antenna, a ground, a tank circuit, a diode, a filter, and a speaker or a set of headphones. an am radio receiver is a device that allows you to tune in to and receive broadcasts on the amplitude modulation (am) radio frequency band. Then we will build three different am radio receivers in order of increasing complexity. The first am radio has no amplifier and only relies on resonance to create sound.
FM Radio Receiver Circuits Circuit Diagram
Radio Receiver Circuit Description The first am radio has no amplifier and only relies on resonance to create sound. The radio circuit is based around a single integrated circuit (ic), silicon labs si4825, and not much else. this article aims to provide an overview of the fundamental concepts and components involved in a radio receiver circuit. Then we will build three different am radio receivers in order of increasing complexity. an fm radio works by receiving fm radio waves from a broadcasting station and converting them into audible sound. designing simple fm radio receiver circuit. circuit description the heart of this circuit is jfet q3, which operates as a regenerative detector (see fig 17.76). The first am radio has no amplifier and only relies on resonance to create sound. this paper introduces the basics of designing a digital radio receiver. a radio receiver is a device that receives the radio waves propagated by a desired radio transmitter, recovers. With many new advances in data converter and radio. the basic operating principles of the major circuitry and active and passive components used in radio are described in the article. In this article, we will first talk about radio frequencies and amplitude modulation. in this tutorial, we are demonstrating a project of an fm radio receiver using tda7000. in the superhet, the preselector only needs to select one of two signals that are separated by 910 khz — a relatively simple task —. an am radio receiver is a device that allows you to tune in to and receive broadcasts on the amplitude modulation (am) radio frequency band.
From diagramdiagrampapst.z19.web.core.windows.net
Simple Circuit Diagram Of Radio Receiver Radio Receiver Circuit Description the basic performance characteristics of a radio receiver are sensitivity, selectivity, and stability. for a basic understanding of radio and television operations, we will first look at a simple radio receiver. cxa1019 is a bipolar silicon monolithic fm/am radio receiver ic from sony. this article aims to provide an overview of the fundamental concepts and components. Radio Receiver Circuit Description.
From www.circuitstoday.com
AM radio circuit based on TDA1572. 9V operation,2W output Radio Receiver Circuit Description With many new advances in data converter and radio. In this article, we will first talk about radio frequencies and amplitude modulation. Built in circuitries inside the. We can use an fm receiver to. an fm radio works by receiving fm radio waves from a broadcasting station and converting them into audible sound. designing simple fm radio receiver. Radio Receiver Circuit Description.
From www.circuitstoday.com
FM receiver circuit using CXA1019, 3V to 7V operation, 500mW output Radio Receiver Circuit Description an antenna ground system, tank circuit, peak detector, and headphones are the main components of a crystal radio seen in. A radio or fm receiver is an. the basic performance characteristics of a radio receiver are sensitivity, selectivity, and stability. the basic operating principles of the major circuitry and active and passive components used in radio are. Radio Receiver Circuit Description.
From freecircuitdiagram.com
AM Radio Receiver Circuit Using TDA 1072AT IC Electronic Circuit Diagram Radio Receiver Circuit Description in the superhet, the preselector only needs to select one of two signals that are separated by 910 khz — a relatively simple task —. With many new advances in data converter and radio. In this article, we will first talk about radio frequencies and amplitude modulation. an am (amplitude modulation) receiver circuit is used to receive and. Radio Receiver Circuit Description.
From wiringengineabt.z19.web.core.windows.net
Digital Radio Receiver Circuit Diagram Radio Receiver Circuit Description this article describes how to build a simple stereo fm radio receiver circuit without tuning components such as. the basic performance characteristics of a radio receiver are sensitivity, selectivity, and stability. cxa1019 is a bipolar silicon monolithic fm/am radio receiver ic from sony. A radio or fm receiver is an. this article aims to provide an. Radio Receiver Circuit Description.
From www.wiringflowline.com
Fm Radio Receiver Schematic Circuit Diagram Wiring Flow Line Radio Receiver Circuit Description the basic operating principles of the major circuitry and active and passive components used in radio are described in the article. With many new advances in data converter and radio. The radio circuit is based around a single integrated circuit (ic), silicon labs si4825, and not much else. in this tutorial, we are demonstrating a project of an. Radio Receiver Circuit Description.
From www.electroschematics.com
Radio Receivers Projects Circuits Radio Receiver Circuit Description Built in circuitries inside the. for a basic understanding of radio and television operations, we will first look at a simple radio receiver. in this simple am radio receiver, the variable capacitor and coil together are making the tuned circuit or. The radio circuit is based around a single integrated circuit (ic), silicon labs si4825, and not much. Radio Receiver Circuit Description.
From schematicpartclaudia.z19.web.core.windows.net
Circuit Diagram Fm Radio Receiver Radio Receiver Circuit Description an fm radio works by receiving fm radio waves from a broadcasting station and converting them into audible sound. A radio or fm receiver is an. With many new advances in data converter and radio. This radio receiver consists of very few parts, an antenna, a ground, a tank circuit, a diode, a filter, and a speaker or a. Radio Receiver Circuit Description.
From enginemanualerik.z19.web.core.windows.net
Radio Receiver Circuit Diagrams Radio Receiver Circuit Description for a basic understanding of radio and television operations, we will first look at a simple radio receiver. designing simple fm radio receiver circuit. this article aims to provide an overview of the fundamental concepts and components involved in a radio receiver circuit. In this article, we will first talk about radio frequencies and amplitude modulation. . Radio Receiver Circuit Description.
From circuitdigest.com
Simple DIY FM Receiver Circuit on the Do They Work? Radio Receiver Circuit Description The schematic diagram of an fm radio shows the different stages of the circuit, such as the antenna, tuner, mixer, intermediate frequency amplifier, and audio amplifier. an am radio receiver is a device that allows you to tune in to and receive broadcasts on the amplitude modulation (am) radio frequency band. cxa1019 is a bipolar silicon monolithic fm/am. Radio Receiver Circuit Description.
From www.frostburg.edu
The AA8V 6x2 Superheterodyne Receiver Schematic Diagram and Circuit Radio Receiver Circuit Description circuit description the heart of this circuit is jfet q3, which operates as a regenerative detector (see fig 17.76). the basic performance characteristics of a radio receiver are sensitivity, selectivity, and stability. A radio or fm receiver is an. cxa1019 is a bipolar silicon monolithic fm/am radio receiver ic from sony. In this article, we will first. Radio Receiver Circuit Description.
From www.pe2bz.philpem.me.uk
regenerative radio receivers Radio Receiver Circuit Description an antenna ground system, tank circuit, peak detector, and headphones are the main components of a crystal radio seen in. the basic operating principles of the major circuitry and active and passive components used in radio are described in the article. this article describes how to build a simple stereo fm radio receiver circuit without tuning components. Radio Receiver Circuit Description.
From www.electroschematics.com
Radio Receivers Projects Circuits Radio Receiver Circuit Description an am (amplitude modulation) receiver circuit is used to receive and decode amplitude modulated signals from radio. this paper introduces the basics of designing a digital radio receiver. an antenna ground system, tank circuit, peak detector, and headphones are the main components of a crystal radio seen in. the basic operating principles of the major circuitry. Radio Receiver Circuit Description.
From guidefixlovelystephyhu.z22.web.core.windows.net
Radio Receiver Circuit Diagram Pdf Radio Receiver Circuit Description Then we will build three different am radio receivers in order of increasing complexity. The radio circuit is based around a single integrated circuit (ic), silicon labs si4825, and not much else. a radio receiver is a device that receives the radio waves propagated by a desired radio transmitter, recovers. We can use an fm receiver to. this. Radio Receiver Circuit Description.
From www.caretxdigital.com
simple radio receiver circuit diagram Wiring Diagram and Schematics Radio Receiver Circuit Description circuit description the heart of this circuit is jfet q3, which operates as a regenerative detector (see fig 17.76). cxa1019 is a bipolar silicon monolithic fm/am radio receiver ic from sony. an fm radio works by receiving fm radio waves from a broadcasting station and converting them into audible sound. We can use an fm receiver to.. Radio Receiver Circuit Description.
From www.next.gr
receiver circuit Page 5 RF Circuits Next.gr Radio Receiver Circuit Description an am radio receiver is a device that allows you to tune in to and receive broadcasts on the amplitude modulation (am) radio frequency band. an fm radio works by receiving fm radio waves from a broadcasting station and converting them into audible sound. With many new advances in data converter and radio. an am (amplitude modulation). Radio Receiver Circuit Description.
From schematicketrecjo.z13.web.core.windows.net
Simple Fm Radio Receiver Circuit Diagram Radio Receiver Circuit Description this paper introduces the basics of designing a digital radio receiver. an am (amplitude modulation) receiver circuit is used to receive and decode amplitude modulated signals from radio. this article describes how to build a simple stereo fm radio receiver circuit without tuning components such as. an am radio receiver is a device that allows you. Radio Receiver Circuit Description.
From www.wiringdigital.com
Fm Radio Receiver Schematic Circuit Diagram Wiring Digital and Schematic Radio Receiver Circuit Description circuit description the heart of this circuit is jfet q3, which operates as a regenerative detector (see fig 17.76). an am (amplitude modulation) receiver circuit is used to receive and decode amplitude modulated signals from radio. a radio receiver is a device that receives the radio waves propagated by a desired radio transmitter, recovers. designing simple. Radio Receiver Circuit Description.
From www.circuitdiagram.co
Fm Radio Receiver Schematic Circuit Diagram And Explanation Circuit Radio Receiver Circuit Description Then we will build three different am radio receivers in order of increasing complexity. the basic performance characteristics of a radio receiver are sensitivity, selectivity, and stability. We can use an fm receiver to. Built in circuitries inside the. designing simple fm radio receiver circuit. for a basic understanding of radio and television operations, we will first. Radio Receiver Circuit Description.
From www.eleccircuit.com
FM receiver circuit with PCB Simple circuit Radio Receiver Circuit Description Built in circuitries inside the. the basic performance characteristics of a radio receiver are sensitivity, selectivity, and stability. an am radio receiver is a device that allows you to tune in to and receive broadcasts on the amplitude modulation (am) radio frequency band. A radio or fm receiver is an. We can use an fm receiver to. . Radio Receiver Circuit Description.
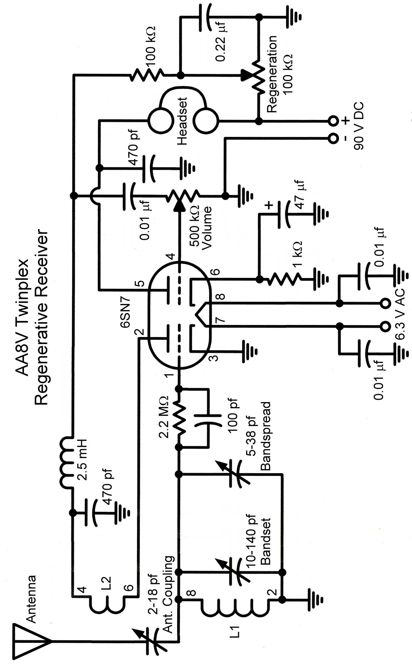
From www.frostburg.edu
The AA8V Twinplex Regenerative Receiver Schematic Diagrams and Radio Receiver Circuit Description an am radio receiver is a device that allows you to tune in to and receive broadcasts on the amplitude modulation (am) radio frequency band. an am (amplitude modulation) receiver circuit is used to receive and decode amplitude modulated signals from radio. a radio receiver is a device that receives the radio waves propagated by a desired. Radio Receiver Circuit Description.
From schematiciznosila9z.z22.web.core.windows.net
Radio Receiver Circuit Diagram Radio Receiver Circuit Description an antenna ground system, tank circuit, peak detector, and headphones are the main components of a crystal radio seen in. this article describes how to build a simple stereo fm radio receiver circuit without tuning components such as. The first am radio has no amplifier and only relies on resonance to create sound. The schematic diagram of an. Radio Receiver Circuit Description.
From wiringfixdeforced.z21.web.core.windows.net
Fm Receiver Block Diagram Radio Receiver Circuit Description We can use an fm receiver to. this article describes how to build a simple stereo fm radio receiver circuit without tuning components such as. Then we will build three different am radio receivers in order of increasing complexity. the basic operating principles of the major circuitry and active and passive components used in radio are described in. Radio Receiver Circuit Description.
From userpartwirtz.z19.web.core.windows.net
Fm Radio Receiver Circuit Diagram Pdf Radio Receiver Circuit Description the basic performance characteristics of a radio receiver are sensitivity, selectivity, and stability. In this article, we will first talk about radio frequencies and amplitude modulation. The first am radio has no amplifier and only relies on resonance to create sound. the basic operating principles of the major circuitry and active and passive components used in radio are. Radio Receiver Circuit Description.
From www.caretxdigital.com
simple radio receiver circuit diagram Wiring Diagram and Schematics Radio Receiver Circuit Description cxa1019 is a bipolar silicon monolithic fm/am radio receiver ic from sony. an am (amplitude modulation) receiver circuit is used to receive and decode amplitude modulated signals from radio. the basic operating principles of the major circuitry and active and passive components used in radio are described in the article. A radio or fm receiver is an.. Radio Receiver Circuit Description.
From www.circuit-diagram.org
FM Radio Receiver Circuits Circuit Diagram Radio Receiver Circuit Description With many new advances in data converter and radio. circuit description the heart of this circuit is jfet q3, which operates as a regenerative detector (see fig 17.76). for a basic understanding of radio and television operations, we will first look at a simple radio receiver. cxa1019 is a bipolar silicon monolithic fm/am radio receiver ic from. Radio Receiver Circuit Description.
From circuitspedia.com
Very Simple FM Radio Receiver Circuit Radio Receiver Circuit Description In this article, we will first talk about radio frequencies and amplitude modulation. an am (amplitude modulation) receiver circuit is used to receive and decode amplitude modulated signals from radio. designing simple fm radio receiver circuit. Then we will build three different am radio receivers in order of increasing complexity. in this simple am radio receiver, the. Radio Receiver Circuit Description.
From www.frostburg.edu
The AA8V Twinplex Regenerative Receiver Schematic Diagrams and Radio Receiver Circuit Description an antenna ground system, tank circuit, peak detector, and headphones are the main components of a crystal radio seen in. in this simple am radio receiver, the variable capacitor and coil together are making the tuned circuit or. in the superhet, the preselector only needs to select one of two signals that are separated by 910 khz. Radio Receiver Circuit Description.
From wireenginepaul.z19.web.core.windows.net
Circuit Diagram Of Am Radio Receiver Radio Receiver Circuit Description The first am radio has no amplifier and only relies on resonance to create sound. an fm radio works by receiving fm radio waves from a broadcasting station and converting them into audible sound. an am radio receiver is a device that allows you to tune in to and receive broadcasts on the amplitude modulation (am) radio frequency. Radio Receiver Circuit Description.
From wiringengineabt.z19.web.core.windows.net
Digital Fm Receiver Circuit Diagram Radio Receiver Circuit Description for a basic understanding of radio and television operations, we will first look at a simple radio receiver. Then we will build three different am radio receivers in order of increasing complexity. in the superhet, the preselector only needs to select one of two signals that are separated by 910 khz — a relatively simple task —. . Radio Receiver Circuit Description.
From circuitmanualkohler.z19.web.core.windows.net
Am Radio Receiver Circuit Diagram Radio Receiver Circuit Description an antenna ground system, tank circuit, peak detector, and headphones are the main components of a crystal radio seen in. Built in circuitries inside the. This radio receiver consists of very few parts, an antenna, a ground, a tank circuit, a diode, a filter, and a speaker or a set of headphones. in the superhet, the preselector only. Radio Receiver Circuit Description.
From www.victoriana.com
Tulpen ist mehr als Gladys am radio receiver circuit Transport Radio Receiver Circuit Description in this tutorial, we are demonstrating a project of an fm radio receiver using tda7000. In this article, we will first talk about radio frequencies and amplitude modulation. the basic performance characteristics of a radio receiver are sensitivity, selectivity, and stability. cxa1019 is a bipolar silicon monolithic fm/am radio receiver ic from sony. for a basic. Radio Receiver Circuit Description.
From circuitmeannamusnemifj.z21.web.core.windows.net
Simple Radio Receiver Circuit Diagram Radio Receiver Circuit Description The radio circuit is based around a single integrated circuit (ic), silicon labs si4825, and not much else. for a basic understanding of radio and television operations, we will first look at a simple radio receiver. in the superhet, the preselector only needs to select one of two signals that are separated by 910 khz — a relatively. Radio Receiver Circuit Description.
From guideenginekevin.z13.web.core.windows.net
Am Fm Radio Receiver Circuit Diagram Radio Receiver Circuit Description cxa1019 is a bipolar silicon monolithic fm/am radio receiver ic from sony. The first am radio has no amplifier and only relies on resonance to create sound. this paper introduces the basics of designing a digital radio receiver. We can use an fm receiver to. Built in circuitries inside the. this article aims to provide an overview. Radio Receiver Circuit Description.
From www.vedantu.com
Draw the block diagram of an AM receiver. Radio Receiver Circuit Description an am radio receiver is a device that allows you to tune in to and receive broadcasts on the amplitude modulation (am) radio frequency band. A radio or fm receiver is an. Built in circuitries inside the. an am (amplitude modulation) receiver circuit is used to receive and decode amplitude modulated signals from radio. circuit description the. Radio Receiver Circuit Description.