Deadbolt Lock Hole Size . The standard hole size for a deadbolt lock is 2.125 inches (54 mm) in diameter. This hole is drilled through the door to accommodate the lock mechanism. With the right tools and a bit of patience, you can add an extra layer of protection to your doors Deadbolts usually have an extension of 1 inch (25.4 Learn the standard size of a deadbolt hole and how to measure and install a deadbolt lockset on your door. When boring deadbolt locks in a door, there are two standards for spacing between the bottom lock and the deadbolt. Installing a deadbolt lock is a simple diy project that can significantly improve the safety of your entryways without breaking the bank. For tasks such as replacing an old lock, it’s important to measure. Find out the tools, steps, and tips for a secure and reliable deadbolt. The standard size hole for a deadbolt is 2.125 inches in diameter.
from www.traditionalbuilding.com
Deadbolts usually have an extension of 1 inch (25.4 The standard size hole for a deadbolt is 2.125 inches in diameter. When boring deadbolt locks in a door, there are two standards for spacing between the bottom lock and the deadbolt. Find out the tools, steps, and tips for a secure and reliable deadbolt. Installing a deadbolt lock is a simple diy project that can significantly improve the safety of your entryways without breaking the bank. Learn the standard size of a deadbolt hole and how to measure and install a deadbolt lockset on your door. This hole is drilled through the door to accommodate the lock mechanism. With the right tools and a bit of patience, you can add an extra layer of protection to your doors For tasks such as replacing an old lock, it’s important to measure. The standard hole size for a deadbolt lock is 2.125 inches (54 mm) in diameter.
Measurements for New Door Hardware Traditional Building
Deadbolt Lock Hole Size Find out the tools, steps, and tips for a secure and reliable deadbolt. With the right tools and a bit of patience, you can add an extra layer of protection to your doors This hole is drilled through the door to accommodate the lock mechanism. The standard size hole for a deadbolt is 2.125 inches in diameter. Installing a deadbolt lock is a simple diy project that can significantly improve the safety of your entryways without breaking the bank. Learn the standard size of a deadbolt hole and how to measure and install a deadbolt lockset on your door. Deadbolts usually have an extension of 1 inch (25.4 Find out the tools, steps, and tips for a secure and reliable deadbolt. When boring deadbolt locks in a door, there are two standards for spacing between the bottom lock and the deadbolt. The standard hole size for a deadbolt lock is 2.125 inches (54 mm) in diameter. For tasks such as replacing an old lock, it’s important to measure.
From uooz.com
How Big Is A Deadbolt? [What Size Hole To Drill?] Deadbolt Lock Hole Size This hole is drilled through the door to accommodate the lock mechanism. Find out the tools, steps, and tips for a secure and reliable deadbolt. Deadbolts usually have an extension of 1 inch (25.4 The standard hole size for a deadbolt lock is 2.125 inches (54 mm) in diameter. Learn the standard size of a deadbolt hole and how to. Deadbolt Lock Hole Size.
From www.homenish.com
Standard Deadbolt Hole Size and Guidelines (with Drawings) Homenish Deadbolt Lock Hole Size Installing a deadbolt lock is a simple diy project that can significantly improve the safety of your entryways without breaking the bank. For tasks such as replacing an old lock, it’s important to measure. The standard size hole for a deadbolt is 2.125 inches in diameter. Learn the standard size of a deadbolt hole and how to measure and install. Deadbolt Lock Hole Size.
From lockly.com
How to Measure Door for a New Lockly Smart Lock Lockly Deadbolt Lock Hole Size Find out the tools, steps, and tips for a secure and reliable deadbolt. For tasks such as replacing an old lock, it’s important to measure. Deadbolts usually have an extension of 1 inch (25.4 When boring deadbolt locks in a door, there are two standards for spacing between the bottom lock and the deadbolt. The standard size hole for a. Deadbolt Lock Hole Size.
From www.homenish.com
Standard Deadbolt Hole Size and Guidelines (with Drawings) Homenish Deadbolt Lock Hole Size This hole is drilled through the door to accommodate the lock mechanism. The standard size hole for a deadbolt is 2.125 inches in diameter. With the right tools and a bit of patience, you can add an extra layer of protection to your doors For tasks such as replacing an old lock, it’s important to measure. Installing a deadbolt lock. Deadbolt Lock Hole Size.
From www.zillow.com
How To Install a Deadbolt Lock Easy DIY Guide Zillow Digs Deadbolt Lock Hole Size This hole is drilled through the door to accommodate the lock mechanism. For tasks such as replacing an old lock, it’s important to measure. Learn the standard size of a deadbolt hole and how to measure and install a deadbolt lockset on your door. With the right tools and a bit of patience, you can add an extra layer of. Deadbolt Lock Hole Size.
From www.walmart.com
AP Products 013222 Dead Bolt Lock Set, 1" Throw Polished Brass Deadbolt Lock Hole Size Find out the tools, steps, and tips for a secure and reliable deadbolt. Deadbolts usually have an extension of 1 inch (25.4 This hole is drilled through the door to accommodate the lock mechanism. The standard hole size for a deadbolt lock is 2.125 inches (54 mm) in diameter. When boring deadbolt locks in a door, there are two standards. Deadbolt Lock Hole Size.
From shuntool.com
Choosing The Right Size Hole Saw For A Standard Deadbolt ShunTool Deadbolt Lock Hole Size For tasks such as replacing an old lock, it’s important to measure. Deadbolts usually have an extension of 1 inch (25.4 Installing a deadbolt lock is a simple diy project that can significantly improve the safety of your entryways without breaking the bank. The standard size hole for a deadbolt is 2.125 inches in diameter. Find out the tools, steps,. Deadbolt Lock Hole Size.
From www.youtube.com
How to Bore Holes for Deadbolt, Doorknob and Latch Install Metal or Wood Door YouTube Deadbolt Lock Hole Size Deadbolts usually have an extension of 1 inch (25.4 For tasks such as replacing an old lock, it’s important to measure. The standard size hole for a deadbolt is 2.125 inches in diameter. The standard hole size for a deadbolt lock is 2.125 inches (54 mm) in diameter. This hole is drilled through the door to accommodate the lock mechanism.. Deadbolt Lock Hole Size.
From www.lowes.com
Premier Lock Satin Bronze Double Cylinder Deadbolt in the Deadbolts department at Deadbolt Lock Hole Size With the right tools and a bit of patience, you can add an extra layer of protection to your doors This hole is drilled through the door to accommodate the lock mechanism. The standard hole size for a deadbolt lock is 2.125 inches (54 mm) in diameter. Learn the standard size of a deadbolt hole and how to measure and. Deadbolt Lock Hole Size.
From bouvet.com
Deadbolt Installation Instructions Deadbolt Lock Hole Size When boring deadbolt locks in a door, there are two standards for spacing between the bottom lock and the deadbolt. Find out the tools, steps, and tips for a secure and reliable deadbolt. For tasks such as replacing an old lock, it’s important to measure. This hole is drilled through the door to accommodate the lock mechanism. Learn the standard. Deadbolt Lock Hole Size.
From www.homenish.com
Standard Deadbolt Hole Size and Guidelines (with Drawings) Homenish Deadbolt Lock Hole Size Installing a deadbolt lock is a simple diy project that can significantly improve the safety of your entryways without breaking the bank. For tasks such as replacing an old lock, it’s important to measure. The standard hole size for a deadbolt lock is 2.125 inches (54 mm) in diameter. Find out the tools, steps, and tips for a secure and. Deadbolt Lock Hole Size.
From indiegogo.com
THE LOCK LOCKER even locks NEED locks Indiegogo Deadbolt Lock Hole Size Learn the standard size of a deadbolt hole and how to measure and install a deadbolt lockset on your door. Installing a deadbolt lock is a simple diy project that can significantly improve the safety of your entryways without breaking the bank. The standard hole size for a deadbolt lock is 2.125 inches (54 mm) in diameter. When boring deadbolt. Deadbolt Lock Hole Size.
From interioreffects.co.nz
Schlage B Series Round Single Cylinder Deadbolts Interior Effects Deadbolt Lock Hole Size The standard hole size for a deadbolt lock is 2.125 inches (54 mm) in diameter. Find out the tools, steps, and tips for a secure and reliable deadbolt. The standard size hole for a deadbolt is 2.125 inches in diameter. With the right tools and a bit of patience, you can add an extra layer of protection to your doors. Deadbolt Lock Hole Size.
From safetylocksmithny.blogspot.com
How to choose the right deadbolt lock types (Explained) Deadbolt Lock Hole Size When boring deadbolt locks in a door, there are two standards for spacing between the bottom lock and the deadbolt. The standard hole size for a deadbolt lock is 2.125 inches (54 mm) in diameter. Learn the standard size of a deadbolt hole and how to measure and install a deadbolt lockset on your door. Find out the tools, steps,. Deadbolt Lock Hole Size.
From fpldoorlocks.com
Square Deadbolt FPL Door Locks & Hardware Inc Deadbolt Lock Hole Size When boring deadbolt locks in a door, there are two standards for spacing between the bottom lock and the deadbolt. With the right tools and a bit of patience, you can add an extra layer of protection to your doors Installing a deadbolt lock is a simple diy project that can significantly improve the safety of your entryways without breaking. Deadbolt Lock Hole Size.
From absupply.net
TownSteel DBS 61 US3 Single Cylinder Function Heavy Duty Commercial Deadbolt Lock Polished Brass Deadbolt Lock Hole Size With the right tools and a bit of patience, you can add an extra layer of protection to your doors This hole is drilled through the door to accommodate the lock mechanism. The standard hole size for a deadbolt lock is 2.125 inches (54 mm) in diameter. For tasks such as replacing an old lock, it’s important to measure. When. Deadbolt Lock Hole Size.
From uooz.com
How Big Is A Deadbolt? [What Size Hole To Drill?] Deadbolt Lock Hole Size With the right tools and a bit of patience, you can add an extra layer of protection to your doors The standard size hole for a deadbolt is 2.125 inches in diameter. Deadbolts usually have an extension of 1 inch (25.4 For tasks such as replacing an old lock, it’s important to measure. This hole is drilled through the door. Deadbolt Lock Hole Size.
From securtech.com
Computer Locks & Theft Prevention Brass Padlocks Deadbolt Lock Hole Size Installing a deadbolt lock is a simple diy project that can significantly improve the safety of your entryways without breaking the bank. The standard hole size for a deadbolt lock is 2.125 inches (54 mm) in diameter. Learn the standard size of a deadbolt hole and how to measure and install a deadbolt lockset on your door. With the right. Deadbolt Lock Hole Size.
From wowlocks.com
What Is A Deadbolt Lock? How Does It Work? Deadbolt Lock Hole Size Installing a deadbolt lock is a simple diy project that can significantly improve the safety of your entryways without breaking the bank. Deadbolts usually have an extension of 1 inch (25.4 When boring deadbolt locks in a door, there are two standards for spacing between the bottom lock and the deadbolt. The standard hole size for a deadbolt lock is. Deadbolt Lock Hole Size.
From www.youtube.com
Kwikset Deadbolt and Door Knob Lock Smartkey Installation (How To Install Fast and Easy) YouTube Deadbolt Lock Hole Size With the right tools and a bit of patience, you can add an extra layer of protection to your doors The standard size hole for a deadbolt is 2.125 inches in diameter. Learn the standard size of a deadbolt hole and how to measure and install a deadbolt lockset on your door. Installing a deadbolt lock is a simple diy. Deadbolt Lock Hole Size.
From www.door-hardware-genius.com
Deadbolts and Auxiliary Deadlocks » Door Hardware Genius Deadbolt Lock Hole Size Learn the standard size of a deadbolt hole and how to measure and install a deadbolt lockset on your door. This hole is drilled through the door to accommodate the lock mechanism. With the right tools and a bit of patience, you can add an extra layer of protection to your doors The standard hole size for a deadbolt lock. Deadbolt Lock Hole Size.
From www.emtek.com
Glossary Emtek Deadbolt Lock Hole Size With the right tools and a bit of patience, you can add an extra layer of protection to your doors The standard hole size for a deadbolt lock is 2.125 inches (54 mm) in diameter. Deadbolts usually have an extension of 1 inch (25.4 Installing a deadbolt lock is a simple diy project that can significantly improve the safety of. Deadbolt Lock Hole Size.
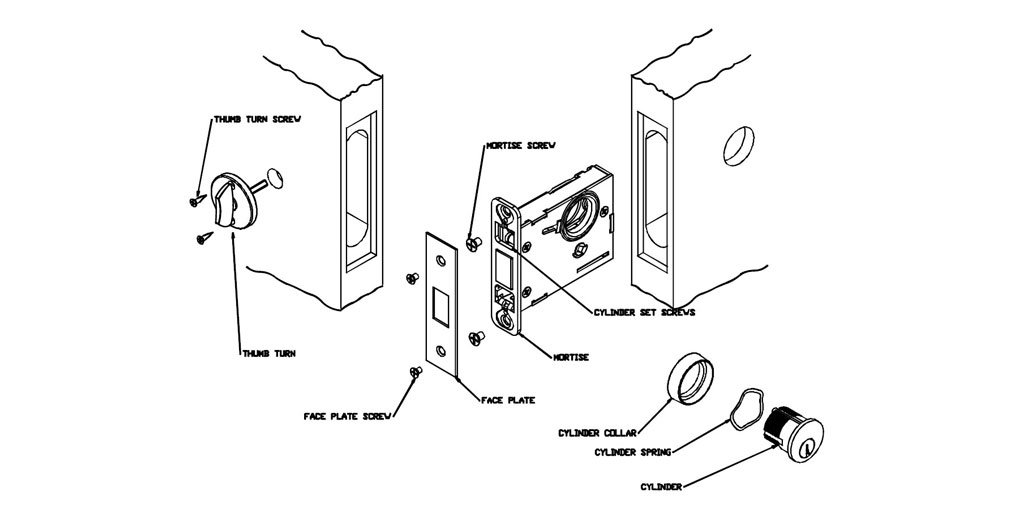
From resolutionsforyou.com
Kwikset deadbolt parts diagram Deadbolt Lock Hole Size With the right tools and a bit of patience, you can add an extra layer of protection to your doors For tasks such as replacing an old lock, it’s important to measure. The standard size hole for a deadbolt is 2.125 inches in diameter. Find out the tools, steps, and tips for a secure and reliable deadbolt. When boring deadbolt. Deadbolt Lock Hole Size.
From uooz.com
What Size Hole Saw For Deadbolt? Deadbolt Lock Hole Size Installing a deadbolt lock is a simple diy project that can significantly improve the safety of your entryways without breaking the bank. For tasks such as replacing an old lock, it’s important to measure. The standard size hole for a deadbolt is 2.125 inches in diameter. When boring deadbolt locks in a door, there are two standards for spacing between. Deadbolt Lock Hole Size.
From www.homedepot.com
Premier Lock Bronze Laquer Single Cylinder Deadbolt Lock with Night Latch, Holdback Button Rim Deadbolt Lock Hole Size Find out the tools, steps, and tips for a secure and reliable deadbolt. With the right tools and a bit of patience, you can add an extra layer of protection to your doors This hole is drilled through the door to accommodate the lock mechanism. Learn the standard size of a deadbolt hole and how to measure and install a. Deadbolt Lock Hole Size.
From absupply.net
TownSteel DBM 16 US4 Double Cylinder Function Heavy Duty Auxiliary Mortise Deadbolt Lock Satin Deadbolt Lock Hole Size With the right tools and a bit of patience, you can add an extra layer of protection to your doors Find out the tools, steps, and tips for a secure and reliable deadbolt. Deadbolts usually have an extension of 1 inch (25.4 Installing a deadbolt lock is a simple diy project that can significantly improve the safety of your entryways. Deadbolt Lock Hole Size.
From www.youtube.com
Install NEW 2 1/8" Schlage DEADBOLT in a Smaller 1 1/2" hole WITHOUT DRILLING no Tools needed Deadbolt Lock Hole Size With the right tools and a bit of patience, you can add an extra layer of protection to your doors The standard hole size for a deadbolt lock is 2.125 inches (54 mm) in diameter. The standard size hole for a deadbolt is 2.125 inches in diameter. Deadbolts usually have an extension of 1 inch (25.4 Find out the tools,. Deadbolt Lock Hole Size.
From secureone.info
8 Types of Deadbolts & Their Usage That You Should Know Deadbolt Lock Hole Size The standard hole size for a deadbolt lock is 2.125 inches (54 mm) in diameter. This hole is drilled through the door to accommodate the lock mechanism. Deadbolts usually have an extension of 1 inch (25.4 When boring deadbolt locks in a door, there are two standards for spacing between the bottom lock and the deadbolt. Find out the tools,. Deadbolt Lock Hole Size.
From hubpages.com
How to Replace a Deadbolt Lock HubPages Deadbolt Lock Hole Size The standard hole size for a deadbolt lock is 2.125 inches (54 mm) in diameter. Learn the standard size of a deadbolt hole and how to measure and install a deadbolt lockset on your door. Find out the tools, steps, and tips for a secure and reliable deadbolt. With the right tools and a bit of patience, you can add. Deadbolt Lock Hole Size.
From www.forbes.com
Installing A Deadbolt A HowTo Guide Forbes Home Deadbolt Lock Hole Size With the right tools and a bit of patience, you can add an extra layer of protection to your doors Learn the standard size of a deadbolt hole and how to measure and install a deadbolt lockset on your door. Deadbolts usually have an extension of 1 inch (25.4 The standard size hole for a deadbolt is 2.125 inches in. Deadbolt Lock Hole Size.
From www.homenish.com
Standard Deadbolt Hole Size and Guidelines (with Drawings) Homenish Deadbolt Lock Hole Size When boring deadbolt locks in a door, there are two standards for spacing between the bottom lock and the deadbolt. Learn the standard size of a deadbolt hole and how to measure and install a deadbolt lockset on your door. This hole is drilled through the door to accommodate the lock mechanism. The standard size hole for a deadbolt is. Deadbolt Lock Hole Size.
From manuals.plus
Schlage BE367/BE367F Camelot Programmable keyless Deadbolt Installation Manual Deadbolt Lock Hole Size This hole is drilled through the door to accommodate the lock mechanism. Learn the standard size of a deadbolt hole and how to measure and install a deadbolt lockset on your door. For tasks such as replacing an old lock, it’s important to measure. The standard hole size for a deadbolt lock is 2.125 inches (54 mm) in diameter. The. Deadbolt Lock Hole Size.
From www.traditionalbuilding.com
Measurements for New Door Hardware Traditional Building Deadbolt Lock Hole Size Installing a deadbolt lock is a simple diy project that can significantly improve the safety of your entryways without breaking the bank. Find out the tools, steps, and tips for a secure and reliable deadbolt. Deadbolts usually have an extension of 1 inch (25.4 The standard hole size for a deadbolt lock is 2.125 inches (54 mm) in diameter. Learn. Deadbolt Lock Hole Size.
From www.amazon.com
BRINKS. Double Cylinder Keyed Deadbolt Lock, Satin Nickel Pick, Bump and Drill Resistant and Deadbolt Lock Hole Size Installing a deadbolt lock is a simple diy project that can significantly improve the safety of your entryways without breaking the bank. When boring deadbolt locks in a door, there are two standards for spacing between the bottom lock and the deadbolt. Find out the tools, steps, and tips for a secure and reliable deadbolt. The standard size hole for. Deadbolt Lock Hole Size.
From coastallocksmiths.com.au
DORMAKABA DEADBOLT MORTICE LOCK SERIES SSS Coastal Locksmiths Deadbolt Lock Hole Size When boring deadbolt locks in a door, there are two standards for spacing between the bottom lock and the deadbolt. For tasks such as replacing an old lock, it’s important to measure. Installing a deadbolt lock is a simple diy project that can significantly improve the safety of your entryways without breaking the bank. Learn the standard size of a. Deadbolt Lock Hole Size.