How To Change Brake Fluid Hyundai Santa Fe . If the lamp remains illuminated, we press the vehicle distance button to set and recommend the vehicle be checked by an authorized hyundai dealer. This video will answer all your questions learn how to check the fluids and refill the fluids on a. It's recommended by most 2019 hyundai santa fe experts to replace brake fluids about every two years to prevent rust and corrosion from. Watch as anything billy replaces front brakes and rotors on this 2018 hyundai santa fe. This free video shows how to add brake fluid in a 2013 hyundai santa fe sport 2.0t 2.0l 4 cyl. This free video shows how to add brake fluid in a 2009 hyundai santa fe limited 3.3l v6. This can be done using a. To service the rear brakes on a 2019 hyundai santa fe, you must engage the epb service mode. Open hood, remember current fluid level (to make it the same level when you finish job & top up fluid) 2.
from www.familyhandyman.com
If the lamp remains illuminated, we press the vehicle distance button to set and recommend the vehicle be checked by an authorized hyundai dealer. Open hood, remember current fluid level (to make it the same level when you finish job & top up fluid) 2. Watch as anything billy replaces front brakes and rotors on this 2018 hyundai santa fe. This free video shows how to add brake fluid in a 2013 hyundai santa fe sport 2.0t 2.0l 4 cyl. To service the rear brakes on a 2019 hyundai santa fe, you must engage the epb service mode. This free video shows how to add brake fluid in a 2009 hyundai santa fe limited 3.3l v6. This can be done using a. It's recommended by most 2019 hyundai santa fe experts to replace brake fluids about every two years to prevent rust and corrosion from. This video will answer all your questions learn how to check the fluids and refill the fluids on a.
Changing Brake Fluid The Family Handyman
How To Change Brake Fluid Hyundai Santa Fe If the lamp remains illuminated, we press the vehicle distance button to set and recommend the vehicle be checked by an authorized hyundai dealer. To service the rear brakes on a 2019 hyundai santa fe, you must engage the epb service mode. Open hood, remember current fluid level (to make it the same level when you finish job & top up fluid) 2. This can be done using a. This free video shows how to add brake fluid in a 2013 hyundai santa fe sport 2.0t 2.0l 4 cyl. Watch as anything billy replaces front brakes and rotors on this 2018 hyundai santa fe. This video will answer all your questions learn how to check the fluids and refill the fluids on a. It's recommended by most 2019 hyundai santa fe experts to replace brake fluids about every two years to prevent rust and corrosion from. If the lamp remains illuminated, we press the vehicle distance button to set and recommend the vehicle be checked by an authorized hyundai dealer. This free video shows how to add brake fluid in a 2009 hyundai santa fe limited 3.3l v6.
From www.youtube.com
StepbyStep Guide Hyundai Santa Fe Front Brake Pads and Disc Change 💥 How To Change Brake Fluid Hyundai Santa Fe This free video shows how to add brake fluid in a 2013 hyundai santa fe sport 2.0t 2.0l 4 cyl. If the lamp remains illuminated, we press the vehicle distance button to set and recommend the vehicle be checked by an authorized hyundai dealer. This free video shows how to add brake fluid in a 2009 hyundai santa fe limited. How To Change Brake Fluid Hyundai Santa Fe.
From www.youtube.com
How to Change Your Brake Fluid in 10 Minutes YouTube How To Change Brake Fluid Hyundai Santa Fe This video will answer all your questions learn how to check the fluids and refill the fluids on a. Watch as anything billy replaces front brakes and rotors on this 2018 hyundai santa fe. This free video shows how to add brake fluid in a 2009 hyundai santa fe limited 3.3l v6. Open hood, remember current fluid level (to make. How To Change Brake Fluid Hyundai Santa Fe.
From www.fastcar.co.uk
How To Change Brake Fluid Fast Car How To Change Brake Fluid Hyundai Santa Fe This free video shows how to add brake fluid in a 2009 hyundai santa fe limited 3.3l v6. If the lamp remains illuminated, we press the vehicle distance button to set and recommend the vehicle be checked by an authorized hyundai dealer. It's recommended by most 2019 hyundai santa fe experts to replace brake fluids about every two years to. How To Change Brake Fluid Hyundai Santa Fe.
From club.autodoc.co.uk
How to change rear brake discs on Hyundai Santa Fe CM replacement How To Change Brake Fluid Hyundai Santa Fe Open hood, remember current fluid level (to make it the same level when you finish job & top up fluid) 2. This video will answer all your questions learn how to check the fluids and refill the fluids on a. This free video shows how to add brake fluid in a 2013 hyundai santa fe sport 2.0t 2.0l 4 cyl.. How To Change Brake Fluid Hyundai Santa Fe.
From www.hyundaipartsdeal.com
2019 Hyundai Santa Fe Brake Fluid Line Hyundai Parts Deal How To Change Brake Fluid Hyundai Santa Fe This can be done using a. It's recommended by most 2019 hyundai santa fe experts to replace brake fluids about every two years to prevent rust and corrosion from. Watch as anything billy replaces front brakes and rotors on this 2018 hyundai santa fe. This video will answer all your questions learn how to check the fluids and refill the. How To Change Brake Fluid Hyundai Santa Fe.
From www.littlegermanytucson.com
Changing Your Vehicle's Brake Fluid How Important Is It? How To Change Brake Fluid Hyundai Santa Fe It's recommended by most 2019 hyundai santa fe experts to replace brake fluids about every two years to prevent rust and corrosion from. Open hood, remember current fluid level (to make it the same level when you finish job & top up fluid) 2. This can be done using a. This video will answer all your questions learn how to. How To Change Brake Fluid Hyundai Santa Fe.
From theautomotivedude.com
How To Perform A Brake Fluid Change In 4 Easy Steps How To Change Brake Fluid Hyundai Santa Fe Watch as anything billy replaces front brakes and rotors on this 2018 hyundai santa fe. This can be done using a. If the lamp remains illuminated, we press the vehicle distance button to set and recommend the vehicle be checked by an authorized hyundai dealer. Open hood, remember current fluid level (to make it the same level when you finish. How To Change Brake Fluid Hyundai Santa Fe.
From www.familyhandyman.com
Changing Brake Fluid The Family Handyman How To Change Brake Fluid Hyundai Santa Fe If the lamp remains illuminated, we press the vehicle distance button to set and recommend the vehicle be checked by an authorized hyundai dealer. Watch as anything billy replaces front brakes and rotors on this 2018 hyundai santa fe. To service the rear brakes on a 2019 hyundai santa fe, you must engage the epb service mode. This free video. How To Change Brake Fluid Hyundai Santa Fe.
From www.youtube.com
2007 Hyundai Santa Fe brakes and rotors replacement YouTube How To Change Brake Fluid Hyundai Santa Fe This video will answer all your questions learn how to check the fluids and refill the fluids on a. To service the rear brakes on a 2019 hyundai santa fe, you must engage the epb service mode. This free video shows how to add brake fluid in a 2013 hyundai santa fe sport 2.0t 2.0l 4 cyl. It's recommended by. How To Change Brake Fluid Hyundai Santa Fe.
From www.hyundaipartsdeal.com
2009 Hyundai Santa Fe Old Body Style Brake Fluid Line How To Change Brake Fluid Hyundai Santa Fe This can be done using a. If the lamp remains illuminated, we press the vehicle distance button to set and recommend the vehicle be checked by an authorized hyundai dealer. This free video shows how to add brake fluid in a 2013 hyundai santa fe sport 2.0t 2.0l 4 cyl. Watch as anything billy replaces front brakes and rotors on. How To Change Brake Fluid Hyundai Santa Fe.
From www.youtube.com
How to Rear Brake Job on a Hyundai Santa Fe Replacing Brake Pads and How To Change Brake Fluid Hyundai Santa Fe This video will answer all your questions learn how to check the fluids and refill the fluids on a. This can be done using a. It's recommended by most 2019 hyundai santa fe experts to replace brake fluids about every two years to prevent rust and corrosion from. This free video shows how to add brake fluid in a 2013. How To Change Brake Fluid Hyundai Santa Fe.
From upgradedvehicle.com
How Often to Change the Brake Fluid Upgraded Vehicle How To Change Brake Fluid Hyundai Santa Fe This can be done using a. If the lamp remains illuminated, we press the vehicle distance button to set and recommend the vehicle be checked by an authorized hyundai dealer. This free video shows how to add brake fluid in a 2009 hyundai santa fe limited 3.3l v6. It's recommended by most 2019 hyundai santa fe experts to replace brake. How To Change Brake Fluid Hyundai Santa Fe.
From carpedia.club
Checking the level and topping up the brake fluid in the reservoir of How To Change Brake Fluid Hyundai Santa Fe This can be done using a. This free video shows how to add brake fluid in a 2009 hyundai santa fe limited 3.3l v6. If the lamp remains illuminated, we press the vehicle distance button to set and recommend the vehicle be checked by an authorized hyundai dealer. This video will answer all your questions learn how to check the. How To Change Brake Fluid Hyundai Santa Fe.
From www.youtube.com
Rear Brake Change CM Hyundai Santa Fe YouTube How To Change Brake Fluid Hyundai Santa Fe Watch as anything billy replaces front brakes and rotors on this 2018 hyundai santa fe. This free video shows how to add brake fluid in a 2009 hyundai santa fe limited 3.3l v6. It's recommended by most 2019 hyundai santa fe experts to replace brake fluids about every two years to prevent rust and corrosion from. This video will answer. How To Change Brake Fluid Hyundai Santa Fe.
From natrad.com.au
Changing Brake Fluid The What, Why & How Explained How To Change Brake Fluid Hyundai Santa Fe This can be done using a. This video will answer all your questions learn how to check the fluids and refill the fluids on a. To service the rear brakes on a 2019 hyundai santa fe, you must engage the epb service mode. Watch as anything billy replaces front brakes and rotors on this 2018 hyundai santa fe. It's recommended. How To Change Brake Fluid Hyundai Santa Fe.
From www.repairsmith.com
How To Take Care Of Your Car Brake Fluid RepairSmith Blog How To Change Brake Fluid Hyundai Santa Fe Open hood, remember current fluid level (to make it the same level when you finish job & top up fluid) 2. This can be done using a. It's recommended by most 2019 hyundai santa fe experts to replace brake fluids about every two years to prevent rust and corrosion from. Watch as anything billy replaces front brakes and rotors on. How To Change Brake Fluid Hyundai Santa Fe.
From club.autodoc.co.uk
How to change brake fluid on a car replacement tutorial How To Change Brake Fluid Hyundai Santa Fe It's recommended by most 2019 hyundai santa fe experts to replace brake fluids about every two years to prevent rust and corrosion from. Watch as anything billy replaces front brakes and rotors on this 2018 hyundai santa fe. This can be done using a. This free video shows how to add brake fluid in a 2009 hyundai santa fe limited. How To Change Brake Fluid Hyundai Santa Fe.
From www.youtube.com
2004 Hyundai Santa Fe Front Brake Pads YouTube How To Change Brake Fluid Hyundai Santa Fe Watch as anything billy replaces front brakes and rotors on this 2018 hyundai santa fe. This can be done using a. If the lamp remains illuminated, we press the vehicle distance button to set and recommend the vehicle be checked by an authorized hyundai dealer. This free video shows how to add brake fluid in a 2013 hyundai santa fe. How To Change Brake Fluid Hyundai Santa Fe.
From carpedia.club
Checking the level and topping up the brake fluid in the reservoir of How To Change Brake Fluid Hyundai Santa Fe Watch as anything billy replaces front brakes and rotors on this 2018 hyundai santa fe. This free video shows how to add brake fluid in a 2013 hyundai santa fe sport 2.0t 2.0l 4 cyl. This can be done using a. Open hood, remember current fluid level (to make it the same level when you finish job & top up. How To Change Brake Fluid Hyundai Santa Fe.
From www.youtube.com
How To Replace rear Brakes 2008 Hyundai Santa Fe YouTube How To Change Brake Fluid Hyundai Santa Fe If the lamp remains illuminated, we press the vehicle distance button to set and recommend the vehicle be checked by an authorized hyundai dealer. This free video shows how to add brake fluid in a 2013 hyundai santa fe sport 2.0t 2.0l 4 cyl. This video will answer all your questions learn how to check the fluids and refill the. How To Change Brake Fluid Hyundai Santa Fe.
From www.youtube.com
Hyundai Santa Fe Front Brake Replacement YouTube How To Change Brake Fluid Hyundai Santa Fe This can be done using a. This video will answer all your questions learn how to check the fluids and refill the fluids on a. Watch as anything billy replaces front brakes and rotors on this 2018 hyundai santa fe. To service the rear brakes on a 2019 hyundai santa fe, you must engage the epb service mode. Open hood,. How To Change Brake Fluid Hyundai Santa Fe.
From www.hyundaisantafemanual.com
Hyundai Santa Fe >> Checking the brake fluid level Brake fluid How To Change Brake Fluid Hyundai Santa Fe If the lamp remains illuminated, we press the vehicle distance button to set and recommend the vehicle be checked by an authorized hyundai dealer. This free video shows how to add brake fluid in a 2009 hyundai santa fe limited 3.3l v6. This free video shows how to add brake fluid in a 2013 hyundai santa fe sport 2.0t 2.0l. How To Change Brake Fluid Hyundai Santa Fe.
From www.jimellishyundaiparts.com
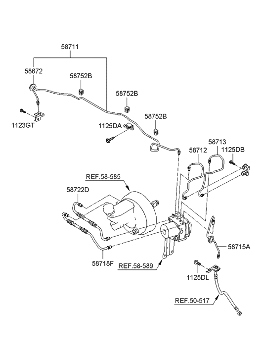
2010 Hyundai Santa Fe BRAKE FLUID LINES How To Change Brake Fluid Hyundai Santa Fe This free video shows how to add brake fluid in a 2013 hyundai santa fe sport 2.0t 2.0l 4 cyl. This video will answer all your questions learn how to check the fluids and refill the fluids on a. If the lamp remains illuminated, we press the vehicle distance button to set and recommend the vehicle be checked by an. How To Change Brake Fluid Hyundai Santa Fe.
From www.youtube.com
How To Change Brake Fluid in Your Car or Truck YouTube How To Change Brake Fluid Hyundai Santa Fe This video will answer all your questions learn how to check the fluids and refill the fluids on a. To service the rear brakes on a 2019 hyundai santa fe, you must engage the epb service mode. Open hood, remember current fluid level (to make it the same level when you finish job & top up fluid) 2. This can. How To Change Brake Fluid Hyundai Santa Fe.
From club.autodoc.co.uk
How to change front brake discs on Hyundai Santa Fe CM replacement guide How To Change Brake Fluid Hyundai Santa Fe This free video shows how to add brake fluid in a 2009 hyundai santa fe limited 3.3l v6. Open hood, remember current fluid level (to make it the same level when you finish job & top up fluid) 2. It's recommended by most 2019 hyundai santa fe experts to replace brake fluids about every two years to prevent rust and. How To Change Brake Fluid Hyundai Santa Fe.
From www.hsfmanual.com
Hyundai Santa Fe Brake Line. Components and Components Location How To Change Brake Fluid Hyundai Santa Fe To service the rear brakes on a 2019 hyundai santa fe, you must engage the epb service mode. This video will answer all your questions learn how to check the fluids and refill the fluids on a. This free video shows how to add brake fluid in a 2013 hyundai santa fe sport 2.0t 2.0l 4 cyl. This can be. How To Change Brake Fluid Hyundai Santa Fe.
From www.youtube.com
How to Change Brake Fluid in Your Car YouTube How To Change Brake Fluid Hyundai Santa Fe If the lamp remains illuminated, we press the vehicle distance button to set and recommend the vehicle be checked by an authorized hyundai dealer. It's recommended by most 2019 hyundai santa fe experts to replace brake fluids about every two years to prevent rust and corrosion from. This can be done using a. Watch as anything billy replaces front brakes. How To Change Brake Fluid Hyundai Santa Fe.
From www.hsfmanual.com
Hyundai Santa Fe (DM) Parking brake Maintenance How To Change Brake Fluid Hyundai Santa Fe This video will answer all your questions learn how to check the fluids and refill the fluids on a. This free video shows how to add brake fluid in a 2013 hyundai santa fe sport 2.0t 2.0l 4 cyl. This can be done using a. If the lamp remains illuminated, we press the vehicle distance button to set and recommend. How To Change Brake Fluid Hyundai Santa Fe.
From grimmermotors.co.nz
Brake Fluid Replacement Why is it Important? Grimmer Motors Hamilton How To Change Brake Fluid Hyundai Santa Fe This free video shows how to add brake fluid in a 2013 hyundai santa fe sport 2.0t 2.0l 4 cyl. This video will answer all your questions learn how to check the fluids and refill the fluids on a. Watch as anything billy replaces front brakes and rotors on this 2018 hyundai santa fe. This can be done using a.. How To Change Brake Fluid Hyundai Santa Fe.
From brakeshub.com
How To Replace Brake Fluid In Your Car Visual Guide How To Change Brake Fluid Hyundai Santa Fe Open hood, remember current fluid level (to make it the same level when you finish job & top up fluid) 2. Watch as anything billy replaces front brakes and rotors on this 2018 hyundai santa fe. This free video shows how to add brake fluid in a 2013 hyundai santa fe sport 2.0t 2.0l 4 cyl. This free video shows. How To Change Brake Fluid Hyundai Santa Fe.
From www.youtube.com
How to Change Brake Fluid in a Car YouTube How To Change Brake Fluid Hyundai Santa Fe This free video shows how to add brake fluid in a 2009 hyundai santa fe limited 3.3l v6. This video will answer all your questions learn how to check the fluids and refill the fluids on a. To service the rear brakes on a 2019 hyundai santa fe, you must engage the epb service mode. Watch as anything billy replaces. How To Change Brake Fluid Hyundai Santa Fe.
From medium.com
Brake Fluid Change A Comprehensive Guide by Haniaansari Jun, 2023 How To Change Brake Fluid Hyundai Santa Fe Open hood, remember current fluid level (to make it the same level when you finish job & top up fluid) 2. To service the rear brakes on a 2019 hyundai santa fe, you must engage the epb service mode. If the lamp remains illuminated, we press the vehicle distance button to set and recommend the vehicle be checked by an. How To Change Brake Fluid Hyundai Santa Fe.
From workshop-manuals.com
Hyundai Service and Repair Manuals > Santa Fe FWD V62.7L How To Change Brake Fluid Hyundai Santa Fe If the lamp remains illuminated, we press the vehicle distance button to set and recommend the vehicle be checked by an authorized hyundai dealer. This free video shows how to add brake fluid in a 2009 hyundai santa fe limited 3.3l v6. This can be done using a. This video will answer all your questions learn how to check the. How To Change Brake Fluid Hyundai Santa Fe.
From www.youtube.com
How to change your brake fluid YouTube How To Change Brake Fluid Hyundai Santa Fe This can be done using a. Watch as anything billy replaces front brakes and rotors on this 2018 hyundai santa fe. If the lamp remains illuminated, we press the vehicle distance button to set and recommend the vehicle be checked by an authorized hyundai dealer. This video will answer all your questions learn how to check the fluids and refill. How To Change Brake Fluid Hyundai Santa Fe.
From www.youtube.com
60 Second Tips How to know when your brake fluid needs to be changed How To Change Brake Fluid Hyundai Santa Fe It's recommended by most 2019 hyundai santa fe experts to replace brake fluids about every two years to prevent rust and corrosion from. Open hood, remember current fluid level (to make it the same level when you finish job & top up fluid) 2. Watch as anything billy replaces front brakes and rotors on this 2018 hyundai santa fe. This. How To Change Brake Fluid Hyundai Santa Fe.