Structural Nut Dimensions . There are numerous grades and the heavy pattern is typically used for large diameter and high strength bolts. Heavy hex nut size table chart per. See our nut compatibility chart to determine the compatible heavy hex nut (s) for a specific grade of bolt. 44 rows the following tables provide hex nut and jam nut dimensions per asme / ansi b18.2.2. All dimensions are in inches. Selected by those who depend on quality products installed in there project to meet the requirements of. 37 rows width across metric nut flats. Heavy hex nut width across flats the width across flats of nut shall be the. Allfasteners as1252 structural bolts are a complete assembly of bolt, nut and washer. Earnest machine products offers heavy hex nuts that are hot dip galvanized (zinc) coated and lubricated with a wax. These nuts are available in grade 2h (per astm a194) in sizes from 1/2”. The width across flats of nut shall be the distance measured, perpendicular to the axis of nut, overall between. 25 rows heavy hex nut dimensions per asme b18.2.2 1987 (1999). Heavy hex nuts are slightly larger and thicker than standard (finished) hex nuts.
from www.damencnc.com
Earnest machine products offers heavy hex nuts that are hot dip galvanized (zinc) coated and lubricated with a wax. All dimensions are in inches. 37 rows width across metric nut flats. Heavy hex nut width across flats the width across flats of nut shall be the. 44 rows the following tables provide hex nut and jam nut dimensions per asme / ansi b18.2.2. The width across flats of nut shall be the distance measured, perpendicular to the axis of nut, overall between. There are numerous grades and the heavy pattern is typically used for large diameter and high strength bolts. Heavy hex nuts are slightly larger and thicker than standard (finished) hex nuts. Allfasteners as1252 structural bolts are a complete assembly of bolt, nut and washer. See our nut compatibility chart to determine the compatible heavy hex nut (s) for a specific grade of bolt.
M16 nut DIN934 DamenCNC B.V.
Structural Nut Dimensions Heavy hex nut width across flats the width across flats of nut shall be the. 44 rows the following tables provide hex nut and jam nut dimensions per asme / ansi b18.2.2. Heavy hex nuts are slightly larger and thicker than standard (finished) hex nuts. The width across flats of nut shall be the distance measured, perpendicular to the axis of nut, overall between. These nuts are available in grade 2h (per astm a194) in sizes from 1/2”. Allfasteners as1252 structural bolts are a complete assembly of bolt, nut and washer. Earnest machine products offers heavy hex nuts that are hot dip galvanized (zinc) coated and lubricated with a wax. See our nut compatibility chart to determine the compatible heavy hex nut (s) for a specific grade of bolt. Heavy hex nut size table chart per. There are numerous grades and the heavy pattern is typically used for large diameter and high strength bolts. 37 rows width across metric nut flats. Selected by those who depend on quality products installed in there project to meet the requirements of. Heavy hex nut width across flats the width across flats of nut shall be the. All dimensions are in inches. 25 rows heavy hex nut dimensions per asme b18.2.2 1987 (1999).
From fastenal.com
Structural Bolts Fastenal Structural Nut Dimensions The width across flats of nut shall be the distance measured, perpendicular to the axis of nut, overall between. Earnest machine products offers heavy hex nuts that are hot dip galvanized (zinc) coated and lubricated with a wax. All dimensions are in inches. Heavy hex nut width across flats the width across flats of nut shall be the. These nuts. Structural Nut Dimensions.
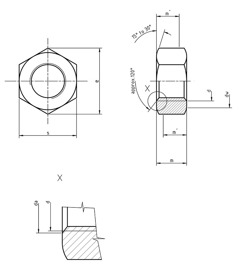
From www.worldfastener.com
BS 43951 Metric High Strength Nuts Fasteners, Bolt, Nut, Screw Structural Nut Dimensions 25 rows heavy hex nut dimensions per asme b18.2.2 1987 (1999). 44 rows the following tables provide hex nut and jam nut dimensions per asme / ansi b18.2.2. Heavy hex nut size table chart per. Allfasteners as1252 structural bolts are a complete assembly of bolt, nut and washer. The width across flats of nut shall be the distance measured, perpendicular. Structural Nut Dimensions.
From lightningboltandsupply.com
Grade 8 Stainless Nuts & Grade 8 Hardened Nuts Structural Nut Dimensions Earnest machine products offers heavy hex nuts that are hot dip galvanized (zinc) coated and lubricated with a wax. These nuts are available in grade 2h (per astm a194) in sizes from 1/2”. Heavy hex nut size table chart per. All dimensions are in inches. Heavy hex nuts are slightly larger and thicker than standard (finished) hex nuts. 44 rows. Structural Nut Dimensions.
From www.dtnut.com
JIS B 1186 Structural Nuts For Sale, Structural Nuts Manufacturer DT Structural Nut Dimensions Heavy hex nut size table chart per. 44 rows the following tables provide hex nut and jam nut dimensions per asme / ansi b18.2.2. Heavy hex nuts are slightly larger and thicker than standard (finished) hex nuts. See our nut compatibility chart to determine the compatible heavy hex nut (s) for a specific grade of bolt. Heavy hex nut width. Structural Nut Dimensions.
From www.cannondigi.com
Split Beam Nut Dimensions The Best Picture Of Beam Structural Nut Dimensions The width across flats of nut shall be the distance measured, perpendicular to the axis of nut, overall between. All dimensions are in inches. Heavy hex nut size table chart per. 44 rows the following tables provide hex nut and jam nut dimensions per asme / ansi b18.2.2. Selected by those who depend on quality products installed in there project. Structural Nut Dimensions.
From mavink.com
Heavy Hex Nut Dimensions Chart Structural Nut Dimensions Earnest machine products offers heavy hex nuts that are hot dip galvanized (zinc) coated and lubricated with a wax. There are numerous grades and the heavy pattern is typically used for large diameter and high strength bolts. These nuts are available in grade 2h (per astm a194) in sizes from 1/2”. Heavy hex nut width across flats the width across. Structural Nut Dimensions.
From exozskfyf.blob.core.windows.net
M10X1.5 Nut Dimensions at John McGhee blog Structural Nut Dimensions There are numerous grades and the heavy pattern is typically used for large diameter and high strength bolts. Allfasteners as1252 structural bolts are a complete assembly of bolt, nut and washer. Heavy hex nut width across flats the width across flats of nut shall be the. All dimensions are in inches. 44 rows the following tables provide hex nut and. Structural Nut Dimensions.
From mungfali.com
Hexagon Nut Dimensions Structural Nut Dimensions These nuts are available in grade 2h (per astm a194) in sizes from 1/2”. Heavy hex nut width across flats the width across flats of nut shall be the. Earnest machine products offers heavy hex nuts that are hot dip galvanized (zinc) coated and lubricated with a wax. 44 rows the following tables provide hex nut and jam nut dimensions. Structural Nut Dimensions.
From loeabrrmj.blob.core.windows.net
Threaded Nut Dimensions at Donald Rhodes blog Structural Nut Dimensions 37 rows width across metric nut flats. All dimensions are in inches. The width across flats of nut shall be the distance measured, perpendicular to the axis of nut, overall between. Selected by those who depend on quality products installed in there project to meet the requirements of. See our nut compatibility chart to determine the compatible heavy hex nut. Structural Nut Dimensions.
From www.components-direct.com
Hexagonal Nuts Components Direct Structural Nut Dimensions Heavy hex nut width across flats the width across flats of nut shall be the. 37 rows width across metric nut flats. These nuts are available in grade 2h (per astm a194) in sizes from 1/2”. See our nut compatibility chart to determine the compatible heavy hex nut (s) for a specific grade of bolt. There are numerous grades and. Structural Nut Dimensions.
From www.theboltholder.co.nz
M20 HEAVY HEX STRUCTURAL NUT GALV Structural Nut Dimensions 37 rows width across metric nut flats. Heavy hex nut width across flats the width across flats of nut shall be the. Allfasteners as1252 structural bolts are a complete assembly of bolt, nut and washer. See our nut compatibility chart to determine the compatible heavy hex nut (s) for a specific grade of bolt. The width across flats of nut. Structural Nut Dimensions.
From loegilrlb.blob.core.windows.net
Industrial Bolts And Nuts Lagos at Richard Singleton blog Structural Nut Dimensions Heavy hex nut width across flats the width across flats of nut shall be the. 44 rows the following tables provide hex nut and jam nut dimensions per asme / ansi b18.2.2. The width across flats of nut shall be the distance measured, perpendicular to the axis of nut, overall between. Earnest machine products offers heavy hex nuts that are. Structural Nut Dimensions.
From dxoclhbwj.blob.core.windows.net
Hexagonal Nut Dimensions at Alfred Wells blog Structural Nut Dimensions Selected by those who depend on quality products installed in there project to meet the requirements of. Earnest machine products offers heavy hex nuts that are hot dip galvanized (zinc) coated and lubricated with a wax. See our nut compatibility chart to determine the compatible heavy hex nut (s) for a specific grade of bolt. 37 rows width across metric. Structural Nut Dimensions.
From www.china-bolts.com
Dimension of DIN6915 Structural Hex Nuts Structural Nut Dimensions 37 rows width across metric nut flats. Heavy hex nut size table chart per. Earnest machine products offers heavy hex nuts that are hot dip galvanized (zinc) coated and lubricated with a wax. The width across flats of nut shall be the distance measured, perpendicular to the axis of nut, overall between. All dimensions are in inches. Selected by those. Structural Nut Dimensions.
From www.beaconcorporation.co.uk
DIN 6923 HEXAGON NUT WITH FLANGE Beacon Corporation Structural Nut Dimensions 37 rows width across metric nut flats. 25 rows heavy hex nut dimensions per asme b18.2.2 1987 (1999). The width across flats of nut shall be the distance measured, perpendicular to the axis of nut, overall between. Heavy hex nuts are slightly larger and thicker than standard (finished) hex nuts. 44 rows the following tables provide hex nut and jam. Structural Nut Dimensions.
From www.damencnc.com
M12 nut DIN934 DamenCNC B.V. Structural Nut Dimensions 44 rows the following tables provide hex nut and jam nut dimensions per asme / ansi b18.2.2. There are numerous grades and the heavy pattern is typically used for large diameter and high strength bolts. Heavy hex nut size table chart per. 25 rows heavy hex nut dimensions per asme b18.2.2 1987 (1999). Allfasteners as1252 structural bolts are a complete. Structural Nut Dimensions.
From www.mudgefasteners.com
Know Your Nuts Structural Nuts Structural Nut Dimensions There are numerous grades and the heavy pattern is typically used for large diameter and high strength bolts. Heavy hex nuts are slightly larger and thicker than standard (finished) hex nuts. 44 rows the following tables provide hex nut and jam nut dimensions per asme / ansi b18.2.2. The width across flats of nut shall be the distance measured, perpendicular. Structural Nut Dimensions.
From www.damencnc.com
M16 nut DIN934 DamenCNC B.V. Structural Nut Dimensions These nuts are available in grade 2h (per astm a194) in sizes from 1/2”. 44 rows the following tables provide hex nut and jam nut dimensions per asme / ansi b18.2.2. Selected by those who depend on quality products installed in there project to meet the requirements of. Allfasteners as1252 structural bolts are a complete assembly of bolt, nut and. Structural Nut Dimensions.
From savree.com
Flange Nuts and Bolts Explained (Fasteners) saVRee Structural Nut Dimensions Heavy hex nut size table chart per. These nuts are available in grade 2h (per astm a194) in sizes from 1/2”. 44 rows the following tables provide hex nut and jam nut dimensions per asme / ansi b18.2.2. All dimensions are in inches. Earnest machine products offers heavy hex nuts that are hot dip galvanized (zinc) coated and lubricated with. Structural Nut Dimensions.
From woodwardfasteners.com
A325 Structural Bolts The Woodward Co. Structural Nut Dimensions 37 rows width across metric nut flats. Earnest machine products offers heavy hex nuts that are hot dip galvanized (zinc) coated and lubricated with a wax. 25 rows heavy hex nut dimensions per asme b18.2.2 1987 (1999). See our nut compatibility chart to determine the compatible heavy hex nut (s) for a specific grade of bolt. There are numerous grades. Structural Nut Dimensions.
From www.ebay.co.uk
SOLID BRASS FULL NUTS , HALF, DOME NUTS, FLAT FORM A & B WASHERS, CUP Structural Nut Dimensions 44 rows the following tables provide hex nut and jam nut dimensions per asme / ansi b18.2.2. The width across flats of nut shall be the distance measured, perpendicular to the axis of nut, overall between. These nuts are available in grade 2h (per astm a194) in sizes from 1/2”. Selected by those who depend on quality products installed in. Structural Nut Dimensions.
From www.slideshare.net
Dimensions of metric hex nuts Structural Nut Dimensions 37 rows width across metric nut flats. These nuts are available in grade 2h (per astm a194) in sizes from 1/2”. 25 rows heavy hex nut dimensions per asme b18.2.2 1987 (1999). Earnest machine products offers heavy hex nuts that are hot dip galvanized (zinc) coated and lubricated with a wax. See our nut compatibility chart to determine the compatible. Structural Nut Dimensions.
From www.scribd.com
HEAVYHEXNUTSDIMENSIONS,WEIGHTIMPERIALMETRICSIZES.pdf Structural Nut Dimensions There are numerous grades and the heavy pattern is typically used for large diameter and high strength bolts. Heavy hex nut size table chart per. 37 rows width across metric nut flats. The width across flats of nut shall be the distance measured, perpendicular to the axis of nut, overall between. All dimensions are in inches. Heavy hex nut width. Structural Nut Dimensions.
From www.pipingmaterial.ae
ASTM A325 bolts dimensions, tensile strength, sizes & specifications Structural Nut Dimensions Heavy hex nut size table chart per. See our nut compatibility chart to determine the compatible heavy hex nut (s) for a specific grade of bolt. These nuts are available in grade 2h (per astm a194) in sizes from 1/2”. 44 rows the following tables provide hex nut and jam nut dimensions per asme / ansi b18.2.2. 37 rows width. Structural Nut Dimensions.
From studylib.net
Metric, Heavy Hex Nuts, ASTM A194M 2H, Plain Structural Nut Dimensions 44 rows the following tables provide hex nut and jam nut dimensions per asme / ansi b18.2.2. The width across flats of nut shall be the distance measured, perpendicular to the axis of nut, overall between. There are numerous grades and the heavy pattern is typically used for large diameter and high strength bolts. Allfasteners as1252 structural bolts are a. Structural Nut Dimensions.
From www.scribd.com
MetricNutSizeChart.pdf Structural Nut Dimensions 37 rows width across metric nut flats. These nuts are available in grade 2h (per astm a194) in sizes from 1/2”. 44 rows the following tables provide hex nut and jam nut dimensions per asme / ansi b18.2.2. Allfasteners as1252 structural bolts are a complete assembly of bolt, nut and washer. There are numerous grades and the heavy pattern is. Structural Nut Dimensions.
From mavink.com
A194 2h Nut Dimensions Structural Nut Dimensions 44 rows the following tables provide hex nut and jam nut dimensions per asme / ansi b18.2.2. All dimensions are in inches. 25 rows heavy hex nut dimensions per asme b18.2.2 1987 (1999). Heavy hex nuts are slightly larger and thicker than standard (finished) hex nuts. 37 rows width across metric nut flats. Selected by those who depend on quality. Structural Nut Dimensions.
From www.oceanproperty.co.th
M12 X Nut Dimensions Oficial Online www.oceanproperty.co.th Structural Nut Dimensions 37 rows width across metric nut flats. There are numerous grades and the heavy pattern is typically used for large diameter and high strength bolts. Heavy hex nut width across flats the width across flats of nut shall be the. Heavy hex nut size table chart per. Heavy hex nuts are slightly larger and thicker than standard (finished) hex nuts.. Structural Nut Dimensions.
From www.boltnuts.net
High Tensile 10.9 Hex Bolts Weight and Size Bolt Nut by Windo Metal Structural Nut Dimensions All dimensions are in inches. These nuts are available in grade 2h (per astm a194) in sizes from 1/2”. The width across flats of nut shall be the distance measured, perpendicular to the axis of nut, overall between. Selected by those who depend on quality products installed in there project to meet the requirements of. Heavy hex nut width across. Structural Nut Dimensions.
From www.badensteel.com
Nut Dimensions — Baden Steelbar & Bolt Corp. Structural Nut Dimensions All dimensions are in inches. Earnest machine products offers heavy hex nuts that are hot dip galvanized (zinc) coated and lubricated with a wax. See our nut compatibility chart to determine the compatible heavy hex nut (s) for a specific grade of bolt. Heavy hex nuts are slightly larger and thicker than standard (finished) hex nuts. Allfasteners as1252 structural bolts. Structural Nut Dimensions.
From elchoroukhost.net
Bolt Nut Dimensions Table Elcho Table Structural Nut Dimensions All dimensions are in inches. Heavy hex nuts are slightly larger and thicker than standard (finished) hex nuts. Earnest machine products offers heavy hex nuts that are hot dip galvanized (zinc) coated and lubricated with a wax. 25 rows heavy hex nut dimensions per asme b18.2.2 1987 (1999). There are numerous grades and the heavy pattern is typically used for. Structural Nut Dimensions.
From hardhatengineer.com
Heavy Hex Nut Dimensions in mm Structural Nut Dimensions These nuts are available in grade 2h (per astm a194) in sizes from 1/2”. See our nut compatibility chart to determine the compatible heavy hex nut (s) for a specific grade of bolt. Heavy hex nut size table chart per. Earnest machine products offers heavy hex nuts that are hot dip galvanized (zinc) coated and lubricated with a wax. All. Structural Nut Dimensions.
From us.misumi-ec.com
Hex Nuts Steel, Overtapped Type 1, HNTO1 Sunco MISUMI Structural Nut Dimensions 25 rows heavy hex nut dimensions per asme b18.2.2 1987 (1999). 37 rows width across metric nut flats. All dimensions are in inches. Allfasteners as1252 structural bolts are a complete assembly of bolt, nut and washer. Heavy hex nuts are slightly larger and thicker than standard (finished) hex nuts. Selected by those who depend on quality products installed in there. Structural Nut Dimensions.
From lowcostwire.com.au
Hex Nut RHT G316 Stainless Steel ALL SIZES Structural Nut Dimensions The width across flats of nut shall be the distance measured, perpendicular to the axis of nut, overall between. All dimensions are in inches. 25 rows heavy hex nut dimensions per asme b18.2.2 1987 (1999). There are numerous grades and the heavy pattern is typically used for large diameter and high strength bolts. See our nut compatibility chart to determine. Structural Nut Dimensions.
From www.aliexpress.com
M1.4 M1.6 M2 M2.5 M3 M4 M5 M6 M8 M10 M12 M14 M16 M18 M20 M22 M24 DIN934 Structural Nut Dimensions All dimensions are in inches. Heavy hex nut size table chart per. Heavy hex nut width across flats the width across flats of nut shall be the. 44 rows the following tables provide hex nut and jam nut dimensions per asme / ansi b18.2.2. Selected by those who depend on quality products installed in there project to meet the requirements. Structural Nut Dimensions.