How To Wire Quicktronic Ballast . This looks like an on/off ballast between two. T8 linear ballast bypass led installation overview. Looking at the old ballast, you are going to have to separate the two tubes on the left side, bringing 4 wires to the ballast instead of. You can use either terminal. The quicktronic ballast wiring diagram is a comprehensive visual representation of how the wires need to be connected. A wiring diagram for your ballast should include a schematic that shows the power supply, the incoming voltage, and the current.
from wiringdiagramall.blogspot.com
T8 linear ballast bypass led installation overview. This looks like an on/off ballast between two. A wiring diagram for your ballast should include a schematic that shows the power supply, the incoming voltage, and the current. The quicktronic ballast wiring diagram is a comprehensive visual representation of how the wires need to be connected. Looking at the old ballast, you are going to have to separate the two tubes on the left side, bringing 4 wires to the ballast instead of. You can use either terminal.
Osram Quicktronic Ballast Wiring Diagram
How To Wire Quicktronic Ballast You can use either terminal. You can use either terminal. The quicktronic ballast wiring diagram is a comprehensive visual representation of how the wires need to be connected. A wiring diagram for your ballast should include a schematic that shows the power supply, the incoming voltage, and the current. Looking at the old ballast, you are going to have to separate the two tubes on the left side, bringing 4 wires to the ballast instead of. T8 linear ballast bypass led installation overview. This looks like an on/off ballast between two.
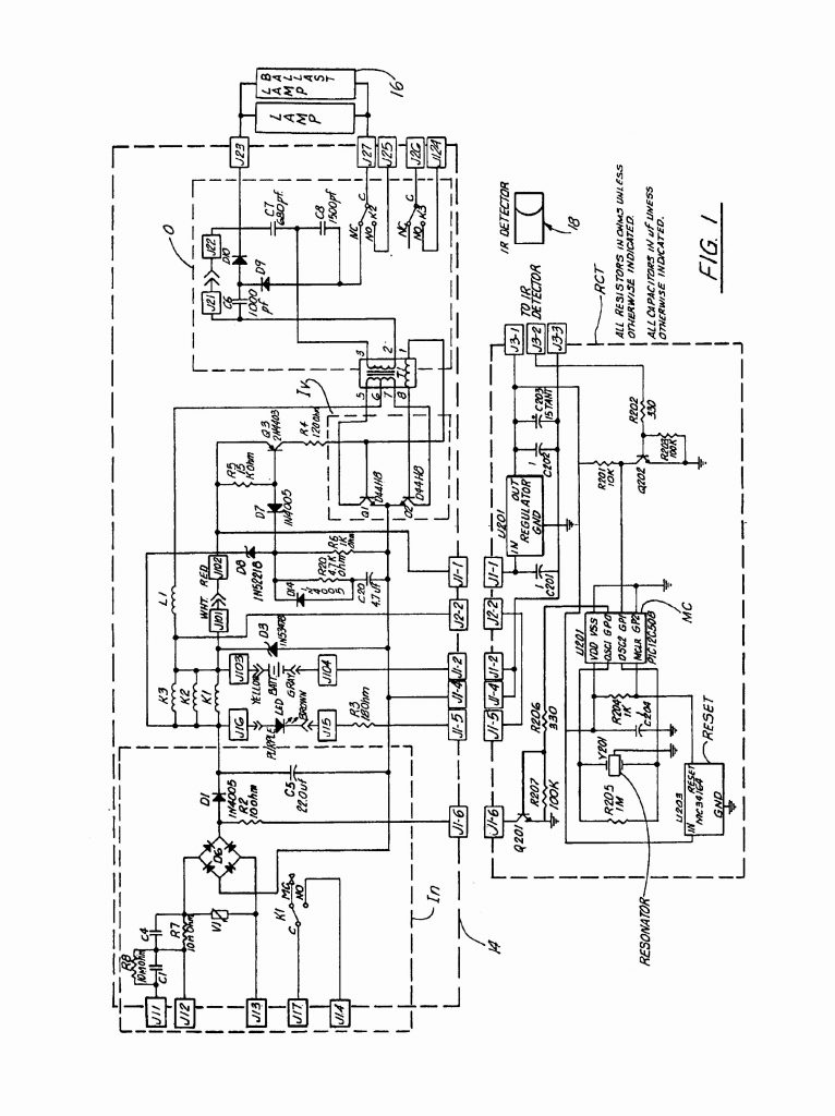
From elecschem.com
The Ultimate Guide to Understanding Osram Quicktronic Ballast Wiring How To Wire Quicktronic Ballast You can use either terminal. The quicktronic ballast wiring diagram is a comprehensive visual representation of how the wires need to be connected. T8 linear ballast bypass led installation overview. Looking at the old ballast, you are going to have to separate the two tubes on the left side, bringing 4 wires to the ballast instead of. A wiring diagram. How To Wire Quicktronic Ballast.
From ballastshop.com
QHE4x32T8/UNVDIMTCL Sylvania 50738 QUICKTRONIC Dimming Ballasts How To Wire Quicktronic Ballast A wiring diagram for your ballast should include a schematic that shows the power supply, the incoming voltage, and the current. Looking at the old ballast, you are going to have to separate the two tubes on the left side, bringing 4 wires to the ballast instead of. You can use either terminal. The quicktronic ballast wiring diagram is a. How To Wire Quicktronic Ballast.
From www.wiringdigital.com
Wiring Diagram For Osram Quicktronic Ballast » Wiring Digital And Schematic How To Wire Quicktronic Ballast T8 linear ballast bypass led installation overview. The quicktronic ballast wiring diagram is a comprehensive visual representation of how the wires need to be connected. You can use either terminal. Looking at the old ballast, you are going to have to separate the two tubes on the left side, bringing 4 wires to the ballast instead of. A wiring diagram. How To Wire Quicktronic Ballast.
From mainetreasurechest.com
Sylvania Quicktronic Ballast Wiring Diagram Best Of Wiring Diagram Image How To Wire Quicktronic Ballast This looks like an on/off ballast between two. The quicktronic ballast wiring diagram is a comprehensive visual representation of how the wires need to be connected. Looking at the old ballast, you are going to have to separate the two tubes on the left side, bringing 4 wires to the ballast instead of. You can use either terminal. A wiring. How To Wire Quicktronic Ballast.
From wiringdiagramall.blogspot.com
Osram Quicktronic Ballast Wiring Diagram How To Wire Quicktronic Ballast The quicktronic ballast wiring diagram is a comprehensive visual representation of how the wires need to be connected. Looking at the old ballast, you are going to have to separate the two tubes on the left side, bringing 4 wires to the ballast instead of. T8 linear ballast bypass led installation overview. You can use either terminal. A wiring diagram. How To Wire Quicktronic Ballast.
From www.wiringdigital.com
Wiring Diagram For Osram Quicktronic Ballast Wiring Digital and Schematic How To Wire Quicktronic Ballast A wiring diagram for your ballast should include a schematic that shows the power supply, the incoming voltage, and the current. T8 linear ballast bypass led installation overview. Looking at the old ballast, you are going to have to separate the two tubes on the left side, bringing 4 wires to the ballast instead of. You can use either terminal.. How To Wire Quicktronic Ballast.
From www.wiringdigital.com
Wiring Diagram For Osram Quicktronic Ballast » Wiring Digital And Schematic How To Wire Quicktronic Ballast T8 linear ballast bypass led installation overview. Looking at the old ballast, you are going to have to separate the two tubes on the left side, bringing 4 wires to the ballast instead of. A wiring diagram for your ballast should include a schematic that shows the power supply, the incoming voltage, and the current. This looks like an on/off. How To Wire Quicktronic Ballast.
From schematron.org
Osram Quicktronic Ballast Wiring Diagram Wiring Diagram Pictures How To Wire Quicktronic Ballast You can use either terminal. This looks like an on/off ballast between two. T8 linear ballast bypass led installation overview. A wiring diagram for your ballast should include a schematic that shows the power supply, the incoming voltage, and the current. Looking at the old ballast, you are going to have to separate the two tubes on the left side,. How To Wire Quicktronic Ballast.
From herbalium58.blogspot.com
Quicktronic Ballast Wiring Diagram Herbalium How To Wire Quicktronic Ballast T8 linear ballast bypass led installation overview. Looking at the old ballast, you are going to have to separate the two tubes on the left side, bringing 4 wires to the ballast instead of. This looks like an on/off ballast between two. A wiring diagram for your ballast should include a schematic that shows the power supply, the incoming voltage,. How To Wire Quicktronic Ballast.
From www.got2bwireless.com
Sylvania Quicktronic Ballast Wiring Diagram Database How To Wire Quicktronic Ballast This looks like an on/off ballast between two. T8 linear ballast bypass led installation overview. You can use either terminal. A wiring diagram for your ballast should include a schematic that shows the power supply, the incoming voltage, and the current. Looking at the old ballast, you are going to have to separate the two tubes on the left side,. How To Wire Quicktronic Ballast.
From www.wiringdigital.com
Wiring Diagram For Osram Quicktronic Ballast » Wiring Digital And Schematic How To Wire Quicktronic Ballast T8 linear ballast bypass led installation overview. You can use either terminal. This looks like an on/off ballast between two. A wiring diagram for your ballast should include a schematic that shows the power supply, the incoming voltage, and the current. Looking at the old ballast, you are going to have to separate the two tubes on the left side,. How To Wire Quicktronic Ballast.
From wiringdiagramall.blogspot.com
Osram Quicktronic Ballast Wiring Diagram How To Wire Quicktronic Ballast T8 linear ballast bypass led installation overview. A wiring diagram for your ballast should include a schematic that shows the power supply, the incoming voltage, and the current. The quicktronic ballast wiring diagram is a comprehensive visual representation of how the wires need to be connected. This looks like an on/off ballast between two. Looking at the old ballast, you. How To Wire Quicktronic Ballast.
From schematicmaxeydinners.z21.web.core.windows.net
Osram Quicktronic Ballast Wiring Diagram How To Wire Quicktronic Ballast You can use either terminal. The quicktronic ballast wiring diagram is a comprehensive visual representation of how the wires need to be connected. Looking at the old ballast, you are going to have to separate the two tubes on the left side, bringing 4 wires to the ballast instead of. This looks like an on/off ballast between two. T8 linear. How To Wire Quicktronic Ballast.
From www.got2bwireless.com
Sylvania Quicktronic Ballast Wiring Diagram Database How To Wire Quicktronic Ballast You can use either terminal. Looking at the old ballast, you are going to have to separate the two tubes on the left side, bringing 4 wires to the ballast instead of. The quicktronic ballast wiring diagram is a comprehensive visual representation of how the wires need to be connected. A wiring diagram for your ballast should include a schematic. How To Wire Quicktronic Ballast.
From schematron.org
Osram Quicktronic Ballast Wiring Diagram Wiring Diagram Pictures How To Wire Quicktronic Ballast The quicktronic ballast wiring diagram is a comprehensive visual representation of how the wires need to be connected. This looks like an on/off ballast between two. You can use either terminal. T8 linear ballast bypass led installation overview. A wiring diagram for your ballast should include a schematic that shows the power supply, the incoming voltage, and the current. Looking. How To Wire Quicktronic Ballast.
From elecschem.com
The Ultimate Guide to Understanding Osram Quicktronic Ballast Wiring How To Wire Quicktronic Ballast The quicktronic ballast wiring diagram is a comprehensive visual representation of how the wires need to be connected. This looks like an on/off ballast between two. You can use either terminal. A wiring diagram for your ballast should include a schematic that shows the power supply, the incoming voltage, and the current. Looking at the old ballast, you are going. How To Wire Quicktronic Ballast.
From wiringdatabaseinfo.blogspot.com
Sylvania Quicktronic Ballast Wiring Diagram Wiring Site Resource How To Wire Quicktronic Ballast You can use either terminal. T8 linear ballast bypass led installation overview. This looks like an on/off ballast between two. A wiring diagram for your ballast should include a schematic that shows the power supply, the incoming voltage, and the current. The quicktronic ballast wiring diagram is a comprehensive visual representation of how the wires need to be connected. Looking. How To Wire Quicktronic Ballast.
From diagramweb.net
Sylvania Quicktronic Ballast Wiring Diagram How To Wire Quicktronic Ballast T8 linear ballast bypass led installation overview. This looks like an on/off ballast between two. You can use either terminal. A wiring diagram for your ballast should include a schematic that shows the power supply, the incoming voltage, and the current. Looking at the old ballast, you are going to have to separate the two tubes on the left side,. How To Wire Quicktronic Ballast.
From www.got2bwireless.com
Sylvania Quicktronic Ballast Wiring Diagram Database How To Wire Quicktronic Ballast This looks like an on/off ballast between two. The quicktronic ballast wiring diagram is a comprehensive visual representation of how the wires need to be connected. Looking at the old ballast, you are going to have to separate the two tubes on the left side, bringing 4 wires to the ballast instead of. You can use either terminal. A wiring. How To Wire Quicktronic Ballast.
From wiringall.com
Osram Quicktronic Ballast Wiring Diagram How To Wire Quicktronic Ballast A wiring diagram for your ballast should include a schematic that shows the power supply, the incoming voltage, and the current. The quicktronic ballast wiring diagram is a comprehensive visual representation of how the wires need to be connected. T8 linear ballast bypass led installation overview. Looking at the old ballast, you are going to have to separate the two. How To Wire Quicktronic Ballast.
From wiringdiagramall.blogspot.com
Osram Quicktronic Ballast Wiring Diagram How To Wire Quicktronic Ballast A wiring diagram for your ballast should include a schematic that shows the power supply, the incoming voltage, and the current. Looking at the old ballast, you are going to have to separate the two tubes on the left side, bringing 4 wires to the ballast instead of. T8 linear ballast bypass led installation overview. The quicktronic ballast wiring diagram. How To Wire Quicktronic Ballast.
From earthful.blogspot.com
Quicktronic Ballast Wiring Diagram Earthful How To Wire Quicktronic Ballast Looking at the old ballast, you are going to have to separate the two tubes on the left side, bringing 4 wires to the ballast instead of. T8 linear ballast bypass led installation overview. A wiring diagram for your ballast should include a schematic that shows the power supply, the incoming voltage, and the current. This looks like an on/off. How To Wire Quicktronic Ballast.
From view.ceros.com
QUICKTRONIC How To Wire Quicktronic Ballast A wiring diagram for your ballast should include a schematic that shows the power supply, the incoming voltage, and the current. Looking at the old ballast, you are going to have to separate the two tubes on the left side, bringing 4 wires to the ballast instead of. This looks like an on/off ballast between two. T8 linear ballast bypass. How To Wire Quicktronic Ballast.
From wiredatanapunjatiia.z4.web.core.windows.net
Sylvania Quicktronic Ballast Wiring Diagram How To Wire Quicktronic Ballast The quicktronic ballast wiring diagram is a comprehensive visual representation of how the wires need to be connected. Looking at the old ballast, you are going to have to separate the two tubes on the left side, bringing 4 wires to the ballast instead of. T8 linear ballast bypass led installation overview. You can use either terminal. This looks like. How To Wire Quicktronic Ballast.
From gmbar.co
️Quicktronic Ballast Wiring Diagram Free Download Gmbar.co How To Wire Quicktronic Ballast T8 linear ballast bypass led installation overview. A wiring diagram for your ballast should include a schematic that shows the power supply, the incoming voltage, and the current. This looks like an on/off ballast between two. The quicktronic ballast wiring diagram is a comprehensive visual representation of how the wires need to be connected. You can use either terminal. Looking. How To Wire Quicktronic Ballast.
From schematron.org
Sylvania Quicktronic Ballast Wiring Diagram Wiring Diagram Pictures How To Wire Quicktronic Ballast You can use either terminal. This looks like an on/off ballast between two. T8 linear ballast bypass led installation overview. The quicktronic ballast wiring diagram is a comprehensive visual representation of how the wires need to be connected. Looking at the old ballast, you are going to have to separate the two tubes on the left side, bringing 4 wires. How To Wire Quicktronic Ballast.
From www.wiringdigital.com
Wiring Diagram For Osram Quicktronic Ballast » Wiring Digital And Schematic How To Wire Quicktronic Ballast This looks like an on/off ballast between two. You can use either terminal. T8 linear ballast bypass led installation overview. The quicktronic ballast wiring diagram is a comprehensive visual representation of how the wires need to be connected. Looking at the old ballast, you are going to have to separate the two tubes on the left side, bringing 4 wires. How To Wire Quicktronic Ballast.
From annawiringdiagram.com
Sylvania Quicktronic Ballast Wiring Diagram Fresh T8 Electronic How To Wire Quicktronic Ballast You can use either terminal. This looks like an on/off ballast between two. Looking at the old ballast, you are going to have to separate the two tubes on the left side, bringing 4 wires to the ballast instead of. The quicktronic ballast wiring diagram is a comprehensive visual representation of how the wires need to be connected. T8 linear. How To Wire Quicktronic Ballast.
From schematron.org
Sylvania Quicktronic Ballast Wiring Diagram Wiring Diagram Pictures How To Wire Quicktronic Ballast You can use either terminal. The quicktronic ballast wiring diagram is a comprehensive visual representation of how the wires need to be connected. A wiring diagram for your ballast should include a schematic that shows the power supply, the incoming voltage, and the current. T8 linear ballast bypass led installation overview. Looking at the old ballast, you are going to. How To Wire Quicktronic Ballast.
From www.got2bwireless.com
Sylvania Quicktronic Ballast Wiring Diagram Database How To Wire Quicktronic Ballast This looks like an on/off ballast between two. T8 linear ballast bypass led installation overview. Looking at the old ballast, you are going to have to separate the two tubes on the left side, bringing 4 wires to the ballast instead of. The quicktronic ballast wiring diagram is a comprehensive visual representation of how the wires need to be connected.. How To Wire Quicktronic Ballast.
From diagramweb.net
Sylvania Quicktronic Ballast Wiring Diagram How To Wire Quicktronic Ballast You can use either terminal. A wiring diagram for your ballast should include a schematic that shows the power supply, the incoming voltage, and the current. T8 linear ballast bypass led installation overview. The quicktronic ballast wiring diagram is a comprehensive visual representation of how the wires need to be connected. Looking at the old ballast, you are going to. How To Wire Quicktronic Ballast.
From elecschem.com
The Ultimate Guide to Understanding Osram Quicktronic Ballast Wiring How To Wire Quicktronic Ballast T8 linear ballast bypass led installation overview. The quicktronic ballast wiring diagram is a comprehensive visual representation of how the wires need to be connected. A wiring diagram for your ballast should include a schematic that shows the power supply, the incoming voltage, and the current. This looks like an on/off ballast between two. You can use either terminal. Looking. How To Wire Quicktronic Ballast.
From wiringall.com
Osram Quicktronic Ballast Wiring Diagram How To Wire Quicktronic Ballast Looking at the old ballast, you are going to have to separate the two tubes on the left side, bringing 4 wires to the ballast instead of. A wiring diagram for your ballast should include a schematic that shows the power supply, the incoming voltage, and the current. T8 linear ballast bypass led installation overview. The quicktronic ballast wiring diagram. How To Wire Quicktronic Ballast.
From wiringdiagramall.blogspot.com
Osram Quicktronic Ballast Wiring Diagram How To Wire Quicktronic Ballast Looking at the old ballast, you are going to have to separate the two tubes on the left side, bringing 4 wires to the ballast instead of. This looks like an on/off ballast between two. The quicktronic ballast wiring diagram is a comprehensive visual representation of how the wires need to be connected. You can use either terminal. A wiring. How To Wire Quicktronic Ballast.
From annawiringdiagram.com
Sylvania Quicktronic Ballast Wiring Diagram Fresh T8 Electronic How To Wire Quicktronic Ballast A wiring diagram for your ballast should include a schematic that shows the power supply, the incoming voltage, and the current. This looks like an on/off ballast between two. You can use either terminal. The quicktronic ballast wiring diagram is a comprehensive visual representation of how the wires need to be connected. Looking at the old ballast, you are going. How To Wire Quicktronic Ballast.