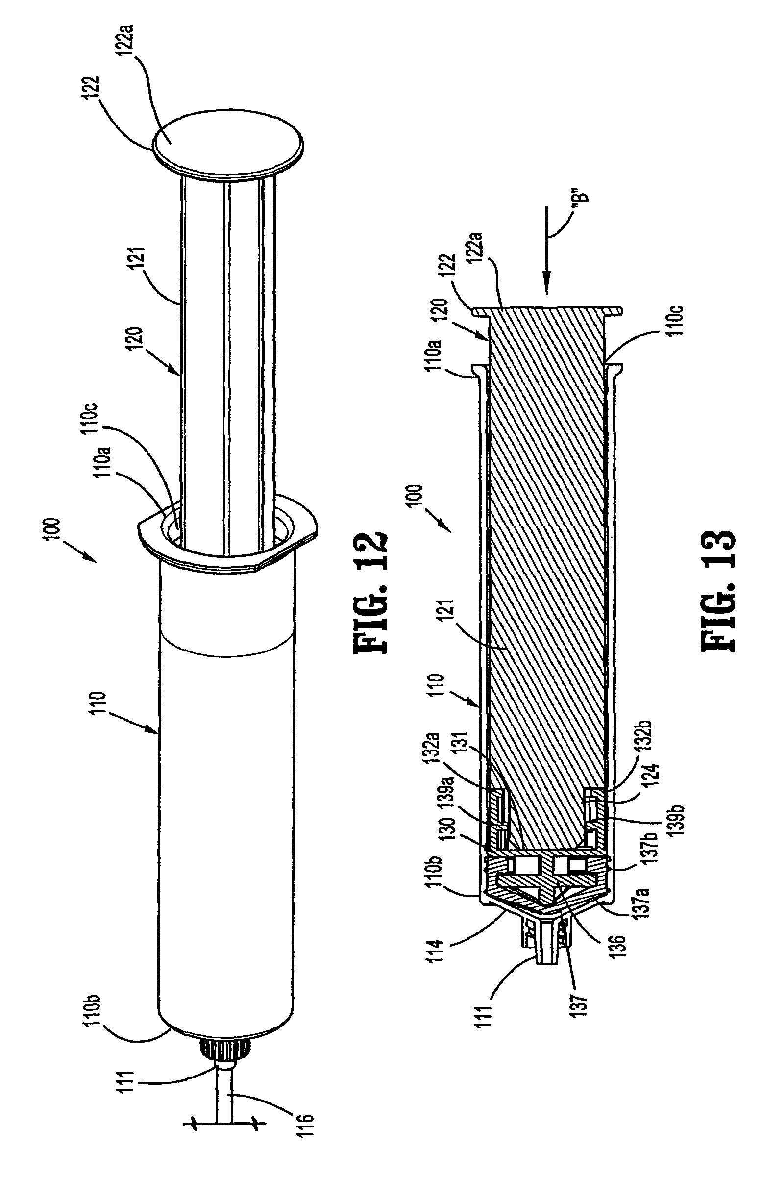
Syringe Plunger Rod . Bd offers a portfolio of plunger stoppers including the bd flurotec®ˆ 4023/50 plunger stopper and bd scf™ premiumcoat™* 1mll plunger. Included, but not limited to, vials, bottles, prefilled syringes (plungers, needle shields, and tip caps), cartridges (plungers and seal liners), injection. The plunger is a long, cylindrical rod that fits snugly inside the barrel of the syringe. Post, sherwin shang, shweta a. Plunger rod and backstop geometry stopper adapted from david a. Bd plunger rods are available in various sizes and colors to customize and complete the syringe system for your specific drug. Bd plunger stoppers for biologic drugs. Mounted on the stopper of your syringe, the plunger rod is critical to ensuring smooth, consistent delivery of your injectable therapy. In the plunger rod insertion process, it is critical to ensure the integrity of the pharmaceutical packaging and plunger stopper. It is made of plastic or rubber, with a flat or slightly concave end that comes into contact with the liquid inside the barrel. Groninger has a patented on the market to.
from www.noterdpfs.com
Bd offers a portfolio of plunger stoppers including the bd flurotec®ˆ 4023/50 plunger stopper and bd scf™ premiumcoat™* 1mll plunger. The plunger is a long, cylindrical rod that fits snugly inside the barrel of the syringe. Bd plunger rods are available in various sizes and colors to customize and complete the syringe system for your specific drug. Mounted on the stopper of your syringe, the plunger rod is critical to ensuring smooth, consistent delivery of your injectable therapy. Plunger rod and backstop geometry stopper adapted from david a. Post, sherwin shang, shweta a. Included, but not limited to, vials, bottles, prefilled syringes (plungers, needle shields, and tip caps), cartridges (plungers and seal liners), injection. Groninger has a patented on the market to. In the plunger rod insertion process, it is critical to ensure the integrity of the pharmaceutical packaging and plunger stopper. It is made of plastic or rubber, with a flat or slightly concave end that comes into contact with the liquid inside the barrel.
1ml syringe metal plunger borosilicate glass polished stainless steel
Syringe Plunger Rod Bd offers a portfolio of plunger stoppers including the bd flurotec®ˆ 4023/50 plunger stopper and bd scf™ premiumcoat™* 1mll plunger. It is made of plastic or rubber, with a flat or slightly concave end that comes into contact with the liquid inside the barrel. Included, but not limited to, vials, bottles, prefilled syringes (plungers, needle shields, and tip caps), cartridges (plungers and seal liners), injection. Groninger has a patented on the market to. In the plunger rod insertion process, it is critical to ensure the integrity of the pharmaceutical packaging and plunger stopper. Plunger rod and backstop geometry stopper adapted from david a. The plunger is a long, cylindrical rod that fits snugly inside the barrel of the syringe. Mounted on the stopper of your syringe, the plunger rod is critical to ensuring smooth, consistent delivery of your injectable therapy. Post, sherwin shang, shweta a. Bd plunger stoppers for biologic drugs. Bd offers a portfolio of plunger stoppers including the bd flurotec®ˆ 4023/50 plunger stopper and bd scf™ premiumcoat™* 1mll plunger. Bd plunger rods are available in various sizes and colors to customize and complete the syringe system for your specific drug.
From www.stevanatogroup.com
Glass Syringes Bulk and EZfill® Stevanato Group Syringe Plunger Rod Bd offers a portfolio of plunger stoppers including the bd flurotec®ˆ 4023/50 plunger stopper and bd scf™ premiumcoat™* 1mll plunger. Bd plunger stoppers for biologic drugs. Mounted on the stopper of your syringe, the plunger rod is critical to ensuring smooth, consistent delivery of your injectable therapy. Post, sherwin shang, shweta a. The plunger is a long, cylindrical rod that. Syringe Plunger Rod.
From www.youtube.com
Automatic Plunger Rod Insertion & Sticker Labelling Machine for Pre Syringe Plunger Rod Bd plunger rods are available in various sizes and colors to customize and complete the syringe system for your specific drug. Included, but not limited to, vials, bottles, prefilled syringes (plungers, needle shields, and tip caps), cartridges (plungers and seal liners), injection. Post, sherwin shang, shweta a. It is made of plastic or rubber, with a flat or slightly concave. Syringe Plunger Rod.
From fungi.com
30 mL Inoculation Plunger Syringe — Fungi Perfecti Syringe Plunger Rod It is made of plastic or rubber, with a flat or slightly concave end that comes into contact with the liquid inside the barrel. Plunger rod and backstop geometry stopper adapted from david a. Post, sherwin shang, shweta a. Bd plunger stoppers for biologic drugs. Groninger has a patented on the market to. In the plunger rod insertion process, it. Syringe Plunger Rod.
From inchbyinch.de
INCH Technical English syringe Syringe Plunger Rod Groninger has a patented on the market to. Included, but not limited to, vials, bottles, prefilled syringes (plungers, needle shields, and tip caps), cartridges (plungers and seal liners), injection. The plunger is a long, cylindrical rod that fits snugly inside the barrel of the syringe. Mounted on the stopper of your syringe, the plunger rod is critical to ensuring smooth,. Syringe Plunger Rod.
From medigrade.en.made-in-china.com
Prefilled Syringe Plunger Rod Insertion and Labeling Machine China Syringe Plunger Rod Mounted on the stopper of your syringe, the plunger rod is critical to ensuring smooth, consistent delivery of your injectable therapy. Post, sherwin shang, shweta a. Groninger has a patented on the market to. Plunger rod and backstop geometry stopper adapted from david a. Bd offers a portfolio of plunger stoppers including the bd flurotec®ˆ 4023/50 plunger stopper and bd. Syringe Plunger Rod.
From www.westpharma.com
tab image Syringe Plunger Rod Bd plunger rods are available in various sizes and colors to customize and complete the syringe system for your specific drug. Included, but not limited to, vials, bottles, prefilled syringes (plungers, needle shields, and tip caps), cartridges (plungers and seal liners), injection. Groninger has a patented on the market to. Plunger rod and backstop geometry stopper adapted from david a.. Syringe Plunger Rod.
From www.noterdpfs.com
1ml syringe metal plunger borosilicate glass polished stainless steel Syringe Plunger Rod Mounted on the stopper of your syringe, the plunger rod is critical to ensuring smooth, consistent delivery of your injectable therapy. Bd plunger rods are available in various sizes and colors to customize and complete the syringe system for your specific drug. It is made of plastic or rubber, with a flat or slightly concave end that comes into contact. Syringe Plunger Rod.
From www.indiamart.com
PLUNGER ROD & BACKSTOP INSERTION MACHINES SYRINGES Type 515 Syringe Plunger Rod Bd plunger stoppers for biologic drugs. Included, but not limited to, vials, bottles, prefilled syringes (plungers, needle shields, and tip caps), cartridges (plungers and seal liners), injection. Bd plunger rods are available in various sizes and colors to customize and complete the syringe system for your specific drug. It is made of plastic or rubber, with a flat or slightly. Syringe Plunger Rod.
From joicxioab.blob.core.windows.net
Syringe Use Instructions at Chantelle Johnson blog Syringe Plunger Rod Included, but not limited to, vials, bottles, prefilled syringes (plungers, needle shields, and tip caps), cartridges (plungers and seal liners), injection. It is made of plastic or rubber, with a flat or slightly concave end that comes into contact with the liquid inside the barrel. Groninger has a patented on the market to. In the plunger rod insertion process, it. Syringe Plunger Rod.
From www.hamiltoncompany.com
Syringe Plunger Types Hamilton Syringe Plungers Hamilton Company Syringe Plunger Rod Post, sherwin shang, shweta a. The plunger is a long, cylindrical rod that fits snugly inside the barrel of the syringe. Bd offers a portfolio of plunger stoppers including the bd flurotec®ˆ 4023/50 plunger stopper and bd scf™ premiumcoat™* 1mll plunger. Included, but not limited to, vials, bottles, prefilled syringes (plungers, needle shields, and tip caps), cartridges (plungers and seal. Syringe Plunger Rod.
From glueab.com
500pcs 10ml Syringe 10cc Glue Dispensing Syringe Barrel Adhesive Syringe Plunger Rod Bd plunger rods are available in various sizes and colors to customize and complete the syringe system for your specific drug. The plunger is a long, cylindrical rod that fits snugly inside the barrel of the syringe. Bd plunger stoppers for biologic drugs. Bd offers a portfolio of plunger stoppers including the bd flurotec®ˆ 4023/50 plunger stopper and bd scf™. Syringe Plunger Rod.
From joicxioab.blob.core.windows.net
Syringe Use Instructions at Chantelle Johnson blog Syringe Plunger Rod Post, sherwin shang, shweta a. Included, but not limited to, vials, bottles, prefilled syringes (plungers, needle shields, and tip caps), cartridges (plungers and seal liners), injection. The plunger is a long, cylindrical rod that fits snugly inside the barrel of the syringe. In the plunger rod insertion process, it is critical to ensure the integrity of the pharmaceutical packaging and. Syringe Plunger Rod.
From www.qosina.com
Control Syringe with Locking Plunger and Ring Grip, Rotating Male Luer Syringe Plunger Rod Bd plunger stoppers for biologic drugs. Mounted on the stopper of your syringe, the plunger rod is critical to ensuring smooth, consistent delivery of your injectable therapy. Bd offers a portfolio of plunger stoppers including the bd flurotec®ˆ 4023/50 plunger stopper and bd scf™ premiumcoat™* 1mll plunger. The plunger is a long, cylindrical rod that fits snugly inside the barrel. Syringe Plunger Rod.
From www.aliexpress.com
200pcs 30cc Syringe plunger 30ml Glue Dispensing Syringe Barrel Putter Syringe Plunger Rod Bd plunger stoppers for biologic drugs. Plunger rod and backstop geometry stopper adapted from david a. It is made of plastic or rubber, with a flat or slightly concave end that comes into contact with the liquid inside the barrel. Bd plunger rods are available in various sizes and colors to customize and complete the syringe system for your specific. Syringe Plunger Rod.
From allbizplan.ru
Луер и луер лок отличия Syringe Plunger Rod It is made of plastic or rubber, with a flat or slightly concave end that comes into contact with the liquid inside the barrel. Bd plunger stoppers for biologic drugs. Post, sherwin shang, shweta a. Included, but not limited to, vials, bottles, prefilled syringes (plungers, needle shields, and tip caps), cartridges (plungers and seal liners), injection. In the plunger rod. Syringe Plunger Rod.
From www.gerresheimer.com
Syringe system components and accessoires Syringe Plunger Rod Post, sherwin shang, shweta a. In the plunger rod insertion process, it is critical to ensure the integrity of the pharmaceutical packaging and plunger stopper. Plunger rod and backstop geometry stopper adapted from david a. Bd plunger rods are available in various sizes and colors to customize and complete the syringe system for your specific drug. The plunger is a. Syringe Plunger Rod.
From www.dara-pharma.com
SX10 Syringe. Manual plunger insertion device Dara Syringe Plunger Rod The plunger is a long, cylindrical rod that fits snugly inside the barrel of the syringe. Mounted on the stopper of your syringe, the plunger rod is critical to ensuring smooth, consistent delivery of your injectable therapy. Post, sherwin shang, shweta a. Bd plunger rods are available in various sizes and colors to customize and complete the syringe system for. Syringe Plunger Rod.
From www.aliexpress.com
50pcs30ccSyringeplunger30mlGlueDispensingSyringeBarrelPutter Syringe Plunger Rod Post, sherwin shang, shweta a. Mounted on the stopper of your syringe, the plunger rod is critical to ensuring smooth, consistent delivery of your injectable therapy. Plunger rod and backstop geometry stopper adapted from david a. Bd offers a portfolio of plunger stoppers including the bd flurotec®ˆ 4023/50 plunger stopper and bd scf™ premiumcoat™* 1mll plunger. It is made of. Syringe Plunger Rod.
From www.colamark.com
Plungerrod Assembly & Labeling System for Prefilled Syringes,PFS High Syringe Plunger Rod Mounted on the stopper of your syringe, the plunger rod is critical to ensuring smooth, consistent delivery of your injectable therapy. Bd offers a portfolio of plunger stoppers including the bd flurotec®ˆ 4023/50 plunger stopper and bd scf™ premiumcoat™* 1mll plunger. In the plunger rod insertion process, it is critical to ensure the integrity of the pharmaceutical packaging and plunger. Syringe Plunger Rod.
From 3dcultures.com
Stainless Steel Plunger for 1mL BD Syringes 3D Cultures Syringe Plunger Rod Included, but not limited to, vials, bottles, prefilled syringes (plungers, needle shields, and tip caps), cartridges (plungers and seal liners), injection. Mounted on the stopper of your syringe, the plunger rod is critical to ensuring smooth, consistent delivery of your injectable therapy. Bd offers a portfolio of plunger stoppers including the bd flurotec®ˆ 4023/50 plunger stopper and bd scf™ premiumcoat™*. Syringe Plunger Rod.
From syringefillingmachine.co.in
Manufacturers of Syringe Plunger Rod Insertion Machine Syringe Plunger Rod Included, but not limited to, vials, bottles, prefilled syringes (plungers, needle shields, and tip caps), cartridges (plungers and seal liners), injection. Mounted on the stopper of your syringe, the plunger rod is critical to ensuring smooth, consistent delivery of your injectable therapy. In the plunger rod insertion process, it is critical to ensure the integrity of the pharmaceutical packaging and. Syringe Plunger Rod.
From www.google.com
Patent US8038656 Detachable plunger rod syringe Google Patents Syringe Plunger Rod It is made of plastic or rubber, with a flat or slightly concave end that comes into contact with the liquid inside the barrel. Bd plunger stoppers for biologic drugs. In the plunger rod insertion process, it is critical to ensure the integrity of the pharmaceutical packaging and plunger stopper. Groninger has a patented on the market to. Bd plunger. Syringe Plunger Rod.
From noterdpfs.com
What is a prefilled syringe backstop? Noterd Tech Syringe Plunger Rod Post, sherwin shang, shweta a. Bd offers a portfolio of plunger stoppers including the bd flurotec®ˆ 4023/50 plunger stopper and bd scf™ premiumcoat™* 1mll plunger. Included, but not limited to, vials, bottles, prefilled syringes (plungers, needle shields, and tip caps), cartridges (plungers and seal liners), injection. The plunger is a long, cylindrical rod that fits snugly inside the barrel of. Syringe Plunger Rod.
From www.researchgate.net
Injection technique with the aflibercept prefilled syringe (PFS). (A Syringe Plunger Rod Post, sherwin shang, shweta a. Plunger rod and backstop geometry stopper adapted from david a. It is made of plastic or rubber, with a flat or slightly concave end that comes into contact with the liquid inside the barrel. Groninger has a patented on the market to. Bd plunger stoppers for biologic drugs. Bd plunger rods are available in various. Syringe Plunger Rod.
From www.gore.co.jp
Silicone Free Prefilled Syringes GORE® IMPROJECT® Plungers 日本ゴア Syringe Plunger Rod Bd offers a portfolio of plunger stoppers including the bd flurotec®ˆ 4023/50 plunger stopper and bd scf™ premiumcoat™* 1mll plunger. In the plunger rod insertion process, it is critical to ensure the integrity of the pharmaceutical packaging and plunger stopper. Groninger has a patented on the market to. Included, but not limited to, vials, bottles, prefilled syringes (plungers, needle shields,. Syringe Plunger Rod.
From www.gerresheimer.com
Syringe system components and accessoires Syringe Plunger Rod Post, sherwin shang, shweta a. Bd plunger stoppers for biologic drugs. Bd offers a portfolio of plunger stoppers including the bd flurotec®ˆ 4023/50 plunger stopper and bd scf™ premiumcoat™* 1mll plunger. The plunger is a long, cylindrical rod that fits snugly inside the barrel of the syringe. Plunger rod and backstop geometry stopper adapted from david a. Mounted on the. Syringe Plunger Rod.
From shellconning.en.made-in-china.com
Automatic Denester and PlungerRod Insertion and Labeling for Syringe Plunger Rod Bd plunger stoppers for biologic drugs. The plunger is a long, cylindrical rod that fits snugly inside the barrel of the syringe. Included, but not limited to, vials, bottles, prefilled syringes (plungers, needle shields, and tip caps), cartridges (plungers and seal liners), injection. Post, sherwin shang, shweta a. Bd plunger rods are available in various sizes and colors to customize. Syringe Plunger Rod.
From www.generalcn.cn
GPS1001A Plunger rod screwing and labeling machine for filled and Syringe Plunger Rod The plunger is a long, cylindrical rod that fits snugly inside the barrel of the syringe. Bd plunger rods are available in various sizes and colors to customize and complete the syringe system for your specific drug. It is made of plastic or rubber, with a flat or slightly concave end that comes into contact with the liquid inside the. Syringe Plunger Rod.
From www.amtouch.com
Standard Syringe Plunger Syringe Plunger Rod It is made of plastic or rubber, with a flat or slightly concave end that comes into contact with the liquid inside the barrel. Bd plunger rods are available in various sizes and colors to customize and complete the syringe system for your specific drug. Bd plunger stoppers for biologic drugs. The plunger is a long, cylindrical rod that fits. Syringe Plunger Rod.
From www.youtube.com
Change Syringe Plunger Tip YouTube Syringe Plunger Rod Groninger has a patented on the market to. It is made of plastic or rubber, with a flat or slightly concave end that comes into contact with the liquid inside the barrel. In the plunger rod insertion process, it is critical to ensure the integrity of the pharmaceutical packaging and plunger stopper. The plunger is a long, cylindrical rod that. Syringe Plunger Rod.
From flexfluidics.com
Precision Fluidic Components FLEX Fluidics Syringe Plunger Rod It is made of plastic or rubber, with a flat or slightly concave end that comes into contact with the liquid inside the barrel. Mounted on the stopper of your syringe, the plunger rod is critical to ensuring smooth, consistent delivery of your injectable therapy. Bd offers a portfolio of plunger stoppers including the bd flurotec®ˆ 4023/50 plunger stopper and. Syringe Plunger Rod.
From 3dcultures.com
Stainless Steel Plunger for 10mL BD Syringes 3D Cultures Syringe Plunger Rod It is made of plastic or rubber, with a flat or slightly concave end that comes into contact with the liquid inside the barrel. In the plunger rod insertion process, it is critical to ensure the integrity of the pharmaceutical packaging and plunger stopper. Bd plunger stoppers for biologic drugs. Plunger rod and backstop geometry stopper adapted from david a.. Syringe Plunger Rod.
From www.personallydelivered.com
Becton Dickinson PosiFlush Saline Syringe with Standard Plunger Rod Syringe Plunger Rod In the plunger rod insertion process, it is critical to ensure the integrity of the pharmaceutical packaging and plunger stopper. Plunger rod and backstop geometry stopper adapted from david a. It is made of plastic or rubber, with a flat or slightly concave end that comes into contact with the liquid inside the barrel. Mounted on the stopper of your. Syringe Plunger Rod.
From prefilledsyringefillingmachine.com
Syringe Plunger Rod Insertion Machine Stoppering & Labeling Machine Syringe Plunger Rod In the plunger rod insertion process, it is critical to ensure the integrity of the pharmaceutical packaging and plunger stopper. Plunger rod and backstop geometry stopper adapted from david a. It is made of plastic or rubber, with a flat or slightly concave end that comes into contact with the liquid inside the barrel. Bd plunger stoppers for biologic drugs.. Syringe Plunger Rod.
From www.adhesivedispensing.co.uk
6cc size white syringe manual syringe plunger rod 406L4 Adhesive Syringe Plunger Rod Plunger rod and backstop geometry stopper adapted from david a. Included, but not limited to, vials, bottles, prefilled syringes (plungers, needle shields, and tip caps), cartridges (plungers and seal liners), injection. Bd plunger stoppers for biologic drugs. Post, sherwin shang, shweta a. Bd plunger rods are available in various sizes and colors to customize and complete the syringe system for. Syringe Plunger Rod.