What Is The Word Cantilever Mean . The meaning of cantilever is a projecting beam or member supported at only one end. How to use cantilever in a sentence. One end is fastened to something and the other end is used to support. A long bar that is fixed at only one end to a vertical support and is used to hold a structure…. A cantilever is a girder or beam that supports a bridge or another large structure. Cantilevers are attached only at one end, like a rigid diving board. Any rigid structural member projecting from a vertical support, especially one in which the projection is great in relation to the. A cantilever is a long piece of metal or wood used in a structure such as a bridge. A long bar that is fixed at only one end to a vertical support and is used to hold a structure…. Cantilever (plural cantilevers) (architecture) a beam anchored at one end and projecting into space, such as a long bracket.
from www.youtube.com
The meaning of cantilever is a projecting beam or member supported at only one end. Cantilevers are attached only at one end, like a rigid diving board. A cantilever is a girder or beam that supports a bridge or another large structure. A long bar that is fixed at only one end to a vertical support and is used to hold a structure…. One end is fastened to something and the other end is used to support. How to use cantilever in a sentence. A long bar that is fixed at only one end to a vertical support and is used to hold a structure…. Cantilever (plural cantilevers) (architecture) a beam anchored at one end and projecting into space, such as a long bracket. A cantilever is a long piece of metal or wood used in a structure such as a bridge. Any rigid structural member projecting from a vertical support, especially one in which the projection is great in relation to the.
Cantilever Meaning Definition of Cantilever YouTube
What Is The Word Cantilever Mean How to use cantilever in a sentence. How to use cantilever in a sentence. Cantilever (plural cantilevers) (architecture) a beam anchored at one end and projecting into space, such as a long bracket. A long bar that is fixed at only one end to a vertical support and is used to hold a structure…. Cantilevers are attached only at one end, like a rigid diving board. One end is fastened to something and the other end is used to support. A long bar that is fixed at only one end to a vertical support and is used to hold a structure…. Any rigid structural member projecting from a vertical support, especially one in which the projection is great in relation to the. A cantilever is a girder or beam that supports a bridge or another large structure. A cantilever is a long piece of metal or wood used in a structure such as a bridge. The meaning of cantilever is a projecting beam or member supported at only one end.
From www.youtube.com
Cantilever • what is CANTILEVER meaning YouTube What Is The Word Cantilever Mean A long bar that is fixed at only one end to a vertical support and is used to hold a structure…. The meaning of cantilever is a projecting beam or member supported at only one end. A cantilever is a girder or beam that supports a bridge or another large structure. A cantilever is a long piece of metal or. What Is The Word Cantilever Mean.
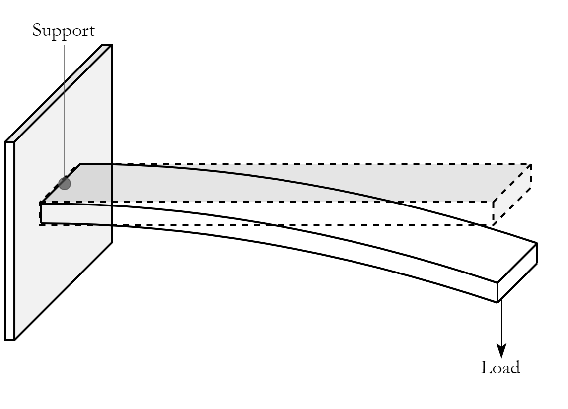
From engineeringdiscoveries.com
What Is The Cantilever Beam? Advantages And Disadvantages Engineering Discoveries What Is The Word Cantilever Mean The meaning of cantilever is a projecting beam or member supported at only one end. A cantilever is a girder or beam that supports a bridge or another large structure. Cantilever (plural cantilevers) (architecture) a beam anchored at one end and projecting into space, such as a long bracket. Any rigid structural member projecting from a vertical support, especially one. What Is The Word Cantilever Mean.
From www.translateen.com
Use "Cantilever" In A Sentence What Is The Word Cantilever Mean Cantilevers are attached only at one end, like a rigid diving board. How to use cantilever in a sentence. A long bar that is fixed at only one end to a vertical support and is used to hold a structure…. A cantilever is a girder or beam that supports a bridge or another large structure. One end is fastened to. What Is The Word Cantilever Mean.
From minimalistarchitecturehomes.blogspot.com
Inspiration 32+ Examples Of Cantilever What Is The Word Cantilever Mean The meaning of cantilever is a projecting beam or member supported at only one end. One end is fastened to something and the other end is used to support. How to use cantilever in a sentence. A long bar that is fixed at only one end to a vertical support and is used to hold a structure…. Cantilever (plural cantilevers). What Is The Word Cantilever Mean.
From engineeringdiscoveries.com
RCC Retaining Wall (Cantilever Type) Excel Sheet Engineering Discoveries What Is The Word Cantilever Mean How to use cantilever in a sentence. A long bar that is fixed at only one end to a vertical support and is used to hold a structure…. One end is fastened to something and the other end is used to support. Any rigid structural member projecting from a vertical support, especially one in which the projection is great in. What Is The Word Cantilever Mean.
From pub.towardsai.net
The Cantilever v/s ChatGPT. Exploring ChatGPT’s natural language… by Anupsa Swain Towards AI What Is The Word Cantilever Mean A long bar that is fixed at only one end to a vertical support and is used to hold a structure…. The meaning of cantilever is a projecting beam or member supported at only one end. A cantilever is a long piece of metal or wood used in a structure such as a bridge. A cantilever is a girder or. What Is The Word Cantilever Mean.
From www.youtube.com
Cantilever Meaning Pronunciation Word Wor(l)d Audio Video Dictionary YouTube What Is The Word Cantilever Mean A cantilever is a long piece of metal or wood used in a structure such as a bridge. Any rigid structural member projecting from a vertical support, especially one in which the projection is great in relation to the. Cantilever (plural cantilevers) (architecture) a beam anchored at one end and projecting into space, such as a long bracket. A cantilever. What Is The Word Cantilever Mean.
From www.lceted.com
All You Want Know About Cantilever Beams Civil Engineering LCETED lceted LCETED INSTITUTE What Is The Word Cantilever Mean How to use cantilever in a sentence. Any rigid structural member projecting from a vertical support, especially one in which the projection is great in relation to the. Cantilevers are attached only at one end, like a rigid diving board. A long bar that is fixed at only one end to a vertical support and is used to hold a. What Is The Word Cantilever Mean.
From civilmint.com
What is Cantilever Beam? Its Advantages and Disadvantages Civilmint What Is The Word Cantilever Mean A cantilever is a girder or beam that supports a bridge or another large structure. Any rigid structural member projecting from a vertical support, especially one in which the projection is great in relation to the. One end is fastened to something and the other end is used to support. A cantilever is a long piece of metal or wood. What Is The Word Cantilever Mean.
From housing.com
Cantilever bridge Fact guide What Is The Word Cantilever Mean A long bar that is fixed at only one end to a vertical support and is used to hold a structure…. Any rigid structural member projecting from a vertical support, especially one in which the projection is great in relation to the. The meaning of cantilever is a projecting beam or member supported at only one end. Cantilever (plural cantilevers). What Is The Word Cantilever Mean.
From engineeringdiscoveries.com
What Is The Cantilever Beam? Advantages And Disadvantages Engineering Discoveries What Is The Word Cantilever Mean How to use cantilever in a sentence. A long bar that is fixed at only one end to a vertical support and is used to hold a structure…. The meaning of cantilever is a projecting beam or member supported at only one end. A long bar that is fixed at only one end to a vertical support and is used. What Is The Word Cantilever Mean.
From www.aiophotoz.com
What Is A Cantilever And Cantilever Beam Example Of Cantilever Beam Images and Photos finder What Is The Word Cantilever Mean A cantilever is a girder or beam that supports a bridge or another large structure. One end is fastened to something and the other end is used to support. A cantilever is a long piece of metal or wood used in a structure such as a bridge. The meaning of cantilever is a projecting beam or member supported at only. What Is The Word Cantilever Mean.
From www.youtube.com
Cantilever Meaning Definition of Cantilever YouTube What Is The Word Cantilever Mean The meaning of cantilever is a projecting beam or member supported at only one end. How to use cantilever in a sentence. A cantilever is a girder or beam that supports a bridge or another large structure. Cantilever (plural cantilevers) (architecture) a beam anchored at one end and projecting into space, such as a long bracket. A long bar that. What Is The Word Cantilever Mean.
From www.howtopronounce.com
How to pronounce cantilever bridge What Is The Word Cantilever Mean A long bar that is fixed at only one end to a vertical support and is used to hold a structure…. Any rigid structural member projecting from a vertical support, especially one in which the projection is great in relation to the. One end is fastened to something and the other end is used to support. A cantilever is a. What Is The Word Cantilever Mean.
From engineering.stackexchange.com
civil engineering What does distributedmass cantilever beam mean in this book? Engineering What Is The Word Cantilever Mean A cantilever is a long piece of metal or wood used in a structure such as a bridge. Any rigid structural member projecting from a vertical support, especially one in which the projection is great in relation to the. A cantilever is a girder or beam that supports a bridge or another large structure. Cantilevers are attached only at one. What Is The Word Cantilever Mean.
From www.youtube.com
What does cantilever mean? YouTube What Is The Word Cantilever Mean Any rigid structural member projecting from a vertical support, especially one in which the projection is great in relation to the. One end is fastened to something and the other end is used to support. A long bar that is fixed at only one end to a vertical support and is used to hold a structure…. A cantilever is a. What Is The Word Cantilever Mean.
From thecontentauthority.com
How To Use "Cantilever" In A Sentence Masterful Usage Tips What Is The Word Cantilever Mean Any rigid structural member projecting from a vertical support, especially one in which the projection is great in relation to the. A cantilever is a long piece of metal or wood used in a structure such as a bridge. A long bar that is fixed at only one end to a vertical support and is used to hold a structure….. What Is The Word Cantilever Mean.
From ar.inspiredpencil.com
Cantilever Bridge Diagram What Is The Word Cantilever Mean One end is fastened to something and the other end is used to support. Cantilever (plural cantilevers) (architecture) a beam anchored at one end and projecting into space, such as a long bracket. Any rigid structural member projecting from a vertical support, especially one in which the projection is great in relation to the. How to use cantilever in a. What Is The Word Cantilever Mean.
From www.youtube.com
How To Say Cantilever YouTube What Is The Word Cantilever Mean A long bar that is fixed at only one end to a vertical support and is used to hold a structure…. Cantilevers are attached only at one end, like a rigid diving board. A cantilever is a long piece of metal or wood used in a structure such as a bridge. A long bar that is fixed at only one. What Is The Word Cantilever Mean.
From activerain.com
Wednesday Word...Cantilever What Is The Word Cantilever Mean Cantilever (plural cantilevers) (architecture) a beam anchored at one end and projecting into space, such as a long bracket. A cantilever is a girder or beam that supports a bridge or another large structure. Any rigid structural member projecting from a vertical support, especially one in which the projection is great in relation to the. A long bar that is. What Is The Word Cantilever Mean.
From www.lalanguefrancaise.com
Définition de cantilever Dictionnaire français What Is The Word Cantilever Mean A cantilever is a long piece of metal or wood used in a structure such as a bridge. A long bar that is fixed at only one end to a vertical support and is used to hold a structure…. Cantilevers are attached only at one end, like a rigid diving board. Cantilever (plural cantilevers) (architecture) a beam anchored at one. What Is The Word Cantilever Mean.
From www.youtube.com
Difference between cantilever and propped cantilever YouTube What Is The Word Cantilever Mean The meaning of cantilever is a projecting beam or member supported at only one end. A long bar that is fixed at only one end to a vertical support and is used to hold a structure…. Cantilevers are attached only at one end, like a rigid diving board. A cantilever is a long piece of metal or wood used in. What Is The Word Cantilever Mean.
From www.youtube.com
Cantilever Slab Reinforcement Details Design of Cantilever Slab YouTube What Is The Word Cantilever Mean A cantilever is a girder or beam that supports a bridge or another large structure. One end is fastened to something and the other end is used to support. Any rigid structural member projecting from a vertical support, especially one in which the projection is great in relation to the. The meaning of cantilever is a projecting beam or member. What Is The Word Cantilever Mean.
From www.youtube.com
Difference between Cantilever & Propped Cantilever Beam YouTube What Is The Word Cantilever Mean One end is fastened to something and the other end is used to support. Cantilever (plural cantilevers) (architecture) a beam anchored at one end and projecting into space, such as a long bracket. How to use cantilever in a sentence. A cantilever is a girder or beam that supports a bridge or another large structure. The meaning of cantilever is. What Is The Word Cantilever Mean.
From civilscoops.com
What Is Cantilever What Is Cantilever Footing Design of the Cantilever Footing Civil Scoops What Is The Word Cantilever Mean Any rigid structural member projecting from a vertical support, especially one in which the projection is great in relation to the. How to use cantilever in a sentence. The meaning of cantilever is a projecting beam or member supported at only one end. A cantilever is a girder or beam that supports a bridge or another large structure. Cantilevers are. What Is The Word Cantilever Mean.
From definecivil.com
Cantilever footing Strap Footing Uses Design Difference Definecivil What Is The Word Cantilever Mean A long bar that is fixed at only one end to a vertical support and is used to hold a structure…. How to use cantilever in a sentence. Any rigid structural member projecting from a vertical support, especially one in which the projection is great in relation to the. The meaning of cantilever is a projecting beam or member supported. What Is The Word Cantilever Mean.
From www.concrete-info.com
What is Cantilever? How Does A Cantilever Work? Concrete Information What Is The Word Cantilever Mean Any rigid structural member projecting from a vertical support, especially one in which the projection is great in relation to the. A long bar that is fixed at only one end to a vertical support and is used to hold a structure…. Cantilevers are attached only at one end, like a rigid diving board. The meaning of cantilever is a. What Is The Word Cantilever Mean.
From civiljungle.com
Cantilever Bridge Cantilever Bridge Advantages and Disadvantages Cantilever Bridge Facts What Is The Word Cantilever Mean A long bar that is fixed at only one end to a vertical support and is used to hold a structure…. One end is fastened to something and the other end is used to support. Cantilevers are attached only at one end, like a rigid diving board. Any rigid structural member projecting from a vertical support, especially one in which. What Is The Word Cantilever Mean.
From www.youtube.com
Cantilever meaning of Cantilever YouTube What Is The Word Cantilever Mean A cantilever is a girder or beam that supports a bridge or another large structure. A long bar that is fixed at only one end to a vertical support and is used to hold a structure…. Cantilevers are attached only at one end, like a rigid diving board. Any rigid structural member projecting from a vertical support, especially one in. What Is The Word Cantilever Mean.
From theopendictionary.com
Cantilever Meaning of Cantilever Definition of Cantilever Example of Cantilever What Is The Word Cantilever Mean A long bar that is fixed at only one end to a vertical support and is used to hold a structure…. A long bar that is fixed at only one end to a vertical support and is used to hold a structure…. A cantilever is a long piece of metal or wood used in a structure such as a bridge.. What Is The Word Cantilever Mean.
From www.powerthesaurus.org
Cantilever synonyms 263 Words and Phrases for Cantilever What Is The Word Cantilever Mean Cantilevers are attached only at one end, like a rigid diving board. A cantilever is a girder or beam that supports a bridge or another large structure. Any rigid structural member projecting from a vertical support, especially one in which the projection is great in relation to the. One end is fastened to something and the other end is used. What Is The Word Cantilever Mean.
From www.youtube.com
Cantilever Meaning YouTube What Is The Word Cantilever Mean A cantilever is a girder or beam that supports a bridge or another large structure. Cantilevers are attached only at one end, like a rigid diving board. The meaning of cantilever is a projecting beam or member supported at only one end. How to use cantilever in a sentence. A long bar that is fixed at only one end to. What Is The Word Cantilever Mean.
From www.slideserve.com
PPT Introduction to Beam Theory PowerPoint Presentation, free download ID209977 What Is The Word Cantilever Mean A long bar that is fixed at only one end to a vertical support and is used to hold a structure…. Any rigid structural member projecting from a vertical support, especially one in which the projection is great in relation to the. A cantilever is a long piece of metal or wood used in a structure such as a bridge.. What Is The Word Cantilever Mean.
From klabzufrl.blob.core.windows.net
What Is The Cantilever Group at Craig Maldonado blog What Is The Word Cantilever Mean A long bar that is fixed at only one end to a vertical support and is used to hold a structure…. How to use cantilever in a sentence. A cantilever is a long piece of metal or wood used in a structure such as a bridge. A cantilever is a girder or beam that supports a bridge or another large. What Is The Word Cantilever Mean.
From thecontentauthority.com
Cantalever vs Cantilever Decoding Common Word MixUps What Is The Word Cantilever Mean One end is fastened to something and the other end is used to support. A cantilever is a girder or beam that supports a bridge or another large structure. A long bar that is fixed at only one end to a vertical support and is used to hold a structure…. The meaning of cantilever is a projecting beam or member. What Is The Word Cantilever Mean.