Comparator Input Referred Noise Simulation . Calculate the noise at each input voltage and average the results. Two comparators are simulated and compared with laboratory measurements. We have developed an alternative method of calculating the noise from the transient noise simulation results. Sampling aperture, timing resolution, uncertainty window. In this paper we have presented a computational framework for sizing and optimization of clocked voltage comparators.
from www.researchgate.net
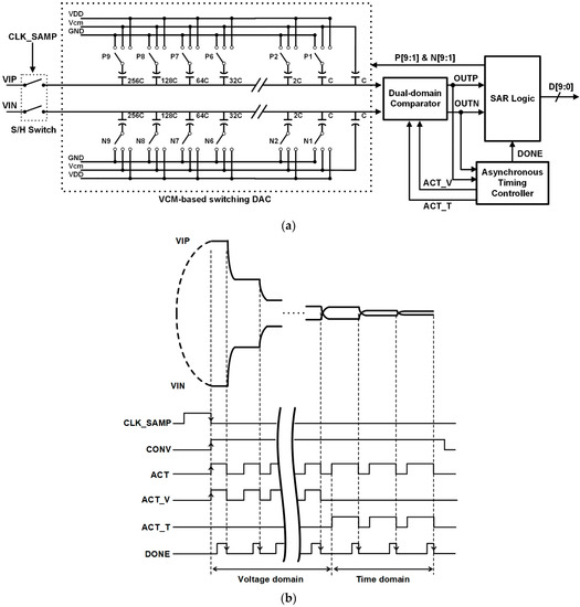
In this paper we have presented a computational framework for sizing and optimization of clocked voltage comparators. We have developed an alternative method of calculating the noise from the transient noise simulation results. Sampling aperture, timing resolution, uncertainty window. Two comparators are simulated and compared with laboratory measurements. Calculate the noise at each input voltage and average the results.
Simulated inputreferred noise of CFIA. Download Scientific Diagram
Comparator Input Referred Noise Simulation Two comparators are simulated and compared with laboratory measurements. We have developed an alternative method of calculating the noise from the transient noise simulation results. Two comparators are simulated and compared with laboratory measurements. In this paper we have presented a computational framework for sizing and optimization of clocked voltage comparators. Sampling aperture, timing resolution, uncertainty window. Calculate the noise at each input voltage and average the results.
From www.mybrainhertz.co.uk
Comparison of Integrated Noise Spectrum of JFET and BJT input Comparator Input Referred Noise Simulation Calculate the noise at each input voltage and average the results. We have developed an alternative method of calculating the noise from the transient noise simulation results. Sampling aperture, timing resolution, uncertainty window. In this paper we have presented a computational framework for sizing and optimization of clocked voltage comparators. Two comparators are simulated and compared with laboratory measurements. Comparator Input Referred Noise Simulation.
From ietresearch.onlinelibrary.wiley.com
Low‐noise dynamic comparator circuit with selectable input‐referred Comparator Input Referred Noise Simulation In this paper we have presented a computational framework for sizing and optimization of clocked voltage comparators. Sampling aperture, timing resolution, uncertainty window. Two comparators are simulated and compared with laboratory measurements. We have developed an alternative method of calculating the noise from the transient noise simulation results. Calculate the noise at each input voltage and average the results. Comparator Input Referred Noise Simulation.
From www.researchgate.net
Assessed inputreferred noise for comparators Download Scientific Diagram Comparator Input Referred Noise Simulation Calculate the noise at each input voltage and average the results. In this paper we have presented a computational framework for sizing and optimization of clocked voltage comparators. Two comparators are simulated and compared with laboratory measurements. Sampling aperture, timing resolution, uncertainty window. We have developed an alternative method of calculating the noise from the transient noise simulation results. Comparator Input Referred Noise Simulation.
From www.mdpi.com
Sensors Free FullText A 10Bit 400KS/s Low Noise Asynchronous SAR Comparator Input Referred Noise Simulation In this paper we have presented a computational framework for sizing and optimization of clocked voltage comparators. Sampling aperture, timing resolution, uncertainty window. Calculate the noise at each input voltage and average the results. We have developed an alternative method of calculating the noise from the transient noise simulation results. Two comparators are simulated and compared with laboratory measurements. Comparator Input Referred Noise Simulation.
From ietresearch.onlinelibrary.wiley.com
Low‐noise dynamic comparator circuit with selectable input‐referred Comparator Input Referred Noise Simulation We have developed an alternative method of calculating the noise from the transient noise simulation results. Two comparators are simulated and compared with laboratory measurements. Calculate the noise at each input voltage and average the results. Sampling aperture, timing resolution, uncertainty window. In this paper we have presented a computational framework for sizing and optimization of clocked voltage comparators. Comparator Input Referred Noise Simulation.
From www.researchgate.net
Post layout simulation results of input referred noise current Comparator Input Referred Noise Simulation Calculate the noise at each input voltage and average the results. In this paper we have presented a computational framework for sizing and optimization of clocked voltage comparators. Sampling aperture, timing resolution, uncertainty window. We have developed an alternative method of calculating the noise from the transient noise simulation results. Two comparators are simulated and compared with laboratory measurements. Comparator Input Referred Noise Simulation.
From ietresearch.onlinelibrary.wiley.com
Low‐noise dynamic comparator circuit with selectable input‐referred Comparator Input Referred Noise Simulation We have developed an alternative method of calculating the noise from the transient noise simulation results. Two comparators are simulated and compared with laboratory measurements. Calculate the noise at each input voltage and average the results. Sampling aperture, timing resolution, uncertainty window. In this paper we have presented a computational framework for sizing and optimization of clocked voltage comparators. Comparator Input Referred Noise Simulation.
From www.theengineeringknowledge.com
Introduction to Comparator The Engineering Knowledge Comparator Input Referred Noise Simulation In this paper we have presented a computational framework for sizing and optimization of clocked voltage comparators. We have developed an alternative method of calculating the noise from the transient noise simulation results. Sampling aperture, timing resolution, uncertainty window. Calculate the noise at each input voltage and average the results. Two comparators are simulated and compared with laboratory measurements. Comparator Input Referred Noise Simulation.
From www.slideserve.com
PPT Noise PowerPoint Presentation, free download ID2034137 Comparator Input Referred Noise Simulation Sampling aperture, timing resolution, uncertainty window. Calculate the noise at each input voltage and average the results. We have developed an alternative method of calculating the noise from the transient noise simulation results. In this paper we have presented a computational framework for sizing and optimization of clocked voltage comparators. Two comparators are simulated and compared with laboratory measurements. Comparator Input Referred Noise Simulation.
From www.researchgate.net
Comparator input referred offset voltage and noise analysis Download Comparator Input Referred Noise Simulation In this paper we have presented a computational framework for sizing and optimization of clocked voltage comparators. Two comparators are simulated and compared with laboratory measurements. We have developed an alternative method of calculating the noise from the transient noise simulation results. Sampling aperture, timing resolution, uncertainty window. Calculate the noise at each input voltage and average the results. Comparator Input Referred Noise Simulation.
From www.researchgate.net
(PDF) New Low Noise Dynamic Comparator Circuit with Selectable Input Comparator Input Referred Noise Simulation Sampling aperture, timing resolution, uncertainty window. In this paper we have presented a computational framework for sizing and optimization of clocked voltage comparators. Calculate the noise at each input voltage and average the results. We have developed an alternative method of calculating the noise from the transient noise simulation results. Two comparators are simulated and compared with laboratory measurements. Comparator Input Referred Noise Simulation.
From www.designalog.com
Computing inputreferred noise The Easy Way Designalog Comparator Input Referred Noise Simulation We have developed an alternative method of calculating the noise from the transient noise simulation results. In this paper we have presented a computational framework for sizing and optimization of clocked voltage comparators. Two comparators are simulated and compared with laboratory measurements. Sampling aperture, timing resolution, uncertainty window. Calculate the noise at each input voltage and average the results. Comparator Input Referred Noise Simulation.
From www.mdpi.com
Sensors Free FullText A 10Bit 400KS/s Low Noise Asynchronous SAR Comparator Input Referred Noise Simulation Calculate the noise at each input voltage and average the results. Two comparators are simulated and compared with laboratory measurements. In this paper we have presented a computational framework for sizing and optimization of clocked voltage comparators. Sampling aperture, timing resolution, uncertainty window. We have developed an alternative method of calculating the noise from the transient noise simulation results. Comparator Input Referred Noise Simulation.
From www.semanticscholar.org
Figure 1 from A lownoise selfcalibrating dynamic comparator for high Comparator Input Referred Noise Simulation Calculate the noise at each input voltage and average the results. In this paper we have presented a computational framework for sizing and optimization of clocked voltage comparators. Two comparators are simulated and compared with laboratory measurements. Sampling aperture, timing resolution, uncertainty window. We have developed an alternative method of calculating the noise from the transient noise simulation results. Comparator Input Referred Noise Simulation.
From www.researchgate.net
a Proposed highspeed and low inputreferred noise dynamic comparator Comparator Input Referred Noise Simulation Sampling aperture, timing resolution, uncertainty window. We have developed an alternative method of calculating the noise from the transient noise simulation results. Calculate the noise at each input voltage and average the results. In this paper we have presented a computational framework for sizing and optimization of clocked voltage comparators. Two comparators are simulated and compared with laboratory measurements. Comparator Input Referred Noise Simulation.
From www.researchgate.net
Simulations of the inputreferred thermal noise rms charge of the CIS Comparator Input Referred Noise Simulation In this paper we have presented a computational framework for sizing and optimization of clocked voltage comparators. Sampling aperture, timing resolution, uncertainty window. Two comparators are simulated and compared with laboratory measurements. We have developed an alternative method of calculating the noise from the transient noise simulation results. Calculate the noise at each input voltage and average the results. Comparator Input Referred Noise Simulation.
From www.researchgate.net
Simulation results of the inputand outputreferred noise. Download Comparator Input Referred Noise Simulation In this paper we have presented a computational framework for sizing and optimization of clocked voltage comparators. We have developed an alternative method of calculating the noise from the transient noise simulation results. Sampling aperture, timing resolution, uncertainty window. Two comparators are simulated and compared with laboratory measurements. Calculate the noise at each input voltage and average the results. Comparator Input Referred Noise Simulation.
From www.youtube.com
Input referred Noise Amplifier Fundamentals Analog & Mixed VLSI Comparator Input Referred Noise Simulation Calculate the noise at each input voltage and average the results. Two comparators are simulated and compared with laboratory measurements. In this paper we have presented a computational framework for sizing and optimization of clocked voltage comparators. We have developed an alternative method of calculating the noise from the transient noise simulation results. Sampling aperture, timing resolution, uncertainty window. Comparator Input Referred Noise Simulation.
From www.researchgate.net
Simulations of the inputreferred thermal noise rms charge of the CIS Comparator Input Referred Noise Simulation In this paper we have presented a computational framework for sizing and optimization of clocked voltage comparators. Calculate the noise at each input voltage and average the results. Sampling aperture, timing resolution, uncertainty window. Two comparators are simulated and compared with laboratory measurements. We have developed an alternative method of calculating the noise from the transient noise simulation results. Comparator Input Referred Noise Simulation.
From www.researchgate.net
Simulated inputreferred noise of CFIA. Download Scientific Diagram Comparator Input Referred Noise Simulation In this paper we have presented a computational framework for sizing and optimization of clocked voltage comparators. Sampling aperture, timing resolution, uncertainty window. Calculate the noise at each input voltage and average the results. Two comparators are simulated and compared with laboratory measurements. We have developed an alternative method of calculating the noise from the transient noise simulation results. Comparator Input Referred Noise Simulation.
From www.researchgate.net
Simulated inputreferred noise spectrum of the OTA with chopper enabled Comparator Input Referred Noise Simulation Two comparators are simulated and compared with laboratory measurements. We have developed an alternative method of calculating the noise from the transient noise simulation results. In this paper we have presented a computational framework for sizing and optimization of clocked voltage comparators. Sampling aperture, timing resolution, uncertainty window. Calculate the noise at each input voltage and average the results. Comparator Input Referred Noise Simulation.
From www.researchgate.net
Input referred noise, energy per conversion and delay as function of Comparator Input Referred Noise Simulation In this paper we have presented a computational framework for sizing and optimization of clocked voltage comparators. We have developed an alternative method of calculating the noise from the transient noise simulation results. Sampling aperture, timing resolution, uncertainty window. Two comparators are simulated and compared with laboratory measurements. Calculate the noise at each input voltage and average the results. Comparator Input Referred Noise Simulation.
From www.researchgate.net
Normalized effective input noise RMS of comparator... Download Comparator Input Referred Noise Simulation Calculate the noise at each input voltage and average the results. Sampling aperture, timing resolution, uncertainty window. We have developed an alternative method of calculating the noise from the transient noise simulation results. Two comparators are simulated and compared with laboratory measurements. In this paper we have presented a computational framework for sizing and optimization of clocked voltage comparators. Comparator Input Referred Noise Simulation.
From www.researchgate.net
Inputreferred noise dependence on a transistor size of the comparator Comparator Input Referred Noise Simulation Sampling aperture, timing resolution, uncertainty window. We have developed an alternative method of calculating the noise from the transient noise simulation results. Two comparators are simulated and compared with laboratory measurements. In this paper we have presented a computational framework for sizing and optimization of clocked voltage comparators. Calculate the noise at each input voltage and average the results. Comparator Input Referred Noise Simulation.
From ietresearch.onlinelibrary.wiley.com
Low‐noise dynamic comparator circuit with selectable input‐referred Comparator Input Referred Noise Simulation Two comparators are simulated and compared with laboratory measurements. Calculate the noise at each input voltage and average the results. We have developed an alternative method of calculating the noise from the transient noise simulation results. Sampling aperture, timing resolution, uncertainty window. In this paper we have presented a computational framework for sizing and optimization of clocked voltage comparators. Comparator Input Referred Noise Simulation.
From www.researchgate.net
a) Realizing summation and gain with a multiinput comparator, b) and Comparator Input Referred Noise Simulation Calculate the noise at each input voltage and average the results. In this paper we have presented a computational framework for sizing and optimization of clocked voltage comparators. Two comparators are simulated and compared with laboratory measurements. Sampling aperture, timing resolution, uncertainty window. We have developed an alternative method of calculating the noise from the transient noise simulation results. Comparator Input Referred Noise Simulation.
From www.mdpi.com
Sensors Free FullText A 10Bit 400KS/s Low Noise Asynchronous SAR Comparator Input Referred Noise Simulation In this paper we have presented a computational framework for sizing and optimization of clocked voltage comparators. Calculate the noise at each input voltage and average the results. Sampling aperture, timing resolution, uncertainty window. Two comparators are simulated and compared with laboratory measurements. We have developed an alternative method of calculating the noise from the transient noise simulation results. Comparator Input Referred Noise Simulation.
From ietresearch.onlinelibrary.wiley.com
Low‐noise dynamic comparator circuit with selectable input‐referred Comparator Input Referred Noise Simulation Calculate the noise at each input voltage and average the results. Sampling aperture, timing resolution, uncertainty window. In this paper we have presented a computational framework for sizing and optimization of clocked voltage comparators. We have developed an alternative method of calculating the noise from the transient noise simulation results. Two comparators are simulated and compared with laboratory measurements. Comparator Input Referred Noise Simulation.
From www.researchgate.net
Input referred noise simulation results of the IA Download Scientific Comparator Input Referred Noise Simulation Sampling aperture, timing resolution, uncertainty window. In this paper we have presented a computational framework for sizing and optimization of clocked voltage comparators. We have developed an alternative method of calculating the noise from the transient noise simulation results. Calculate the noise at each input voltage and average the results. Two comparators are simulated and compared with laboratory measurements. Comparator Input Referred Noise Simulation.
From www.researchgate.net
(a) Simulated comparator resolving time and (b) inputreferred noise Comparator Input Referred Noise Simulation Sampling aperture, timing resolution, uncertainty window. Calculate the noise at each input voltage and average the results. We have developed an alternative method of calculating the noise from the transient noise simulation results. In this paper we have presented a computational framework for sizing and optimization of clocked voltage comparators. Two comparators are simulated and compared with laboratory measurements. Comparator Input Referred Noise Simulation.
From www.researchgate.net
(a) Comparator with inputreferred offset, Download Scientific Diagram Comparator Input Referred Noise Simulation In this paper we have presented a computational framework for sizing and optimization of clocked voltage comparators. Two comparators are simulated and compared with laboratory measurements. Sampling aperture, timing resolution, uncertainty window. Calculate the noise at each input voltage and average the results. We have developed an alternative method of calculating the noise from the transient noise simulation results. Comparator Input Referred Noise Simulation.
From www.researchgate.net
Input referred noise current (A/√Hz) of TIA with photodiode junction Comparator Input Referred Noise Simulation Calculate the noise at each input voltage and average the results. Sampling aperture, timing resolution, uncertainty window. Two comparators are simulated and compared with laboratory measurements. We have developed an alternative method of calculating the noise from the transient noise simulation results. In this paper we have presented a computational framework for sizing and optimization of clocked voltage comparators. Comparator Input Referred Noise Simulation.
From www.researchgate.net
Simulation of input‐referred noise as a function of frequency for Comparator Input Referred Noise Simulation We have developed an alternative method of calculating the noise from the transient noise simulation results. In this paper we have presented a computational framework for sizing and optimization of clocked voltage comparators. Two comparators are simulated and compared with laboratory measurements. Calculate the noise at each input voltage and average the results. Sampling aperture, timing resolution, uncertainty window. Comparator Input Referred Noise Simulation.
From www.researchgate.net
Simulation of input‐referred noise as a function of frequency for Comparator Input Referred Noise Simulation Calculate the noise at each input voltage and average the results. In this paper we have presented a computational framework for sizing and optimization of clocked voltage comparators. Two comparators are simulated and compared with laboratory measurements. Sampling aperture, timing resolution, uncertainty window. We have developed an alternative method of calculating the noise from the transient noise simulation results. Comparator Input Referred Noise Simulation.
From www.mdpi.com
Sensors Free FullText A 10Bit 400KS/s Low Noise Asynchronous SAR Comparator Input Referred Noise Simulation Calculate the noise at each input voltage and average the results. Two comparators are simulated and compared with laboratory measurements. In this paper we have presented a computational framework for sizing and optimization of clocked voltage comparators. We have developed an alternative method of calculating the noise from the transient noise simulation results. Sampling aperture, timing resolution, uncertainty window. Comparator Input Referred Noise Simulation.