Fuel Vapor Separator Filter . This part fits neat up in the cave by the. Fuel was boiling in the fuel pump, causing bubbles to go up into the primary float. This part mounts near the fuel pump and. 383 had 5/16 full line from sending unit to the fuel pump. In the simplest of terms, a fuel water separator is a small filtering device that removes water from fuel before it reaches the. 426/440 had 3/8 fuel line from sending unit to the pump. Help prevent vapor lock the way the factory intended by installing the correct fuel filter/vapor separator on your 426 hemi or 440 ci equipped vehicle. This is a fuel system part, a vapor separator for my runs hot, massive 1968 440 rb mopar. The vapor separator had 1/4 line to the sending unit. I am thinking about trying a vapor separator fuel filter with 3 ports, the third port i believe would go back into the tank. This vapor separation filter was the fix for the fuel percolation problem i encountered. The vapor separator allows the vapors to be recovered in the charcoal canister and then pulled into the carb and burned while.
from dailyspect.com
This part mounts near the fuel pump and. Help prevent vapor lock the way the factory intended by installing the correct fuel filter/vapor separator on your 426 hemi or 440 ci equipped vehicle. Fuel was boiling in the fuel pump, causing bubbles to go up into the primary float. This is a fuel system part, a vapor separator for my runs hot, massive 1968 440 rb mopar. In the simplest of terms, a fuel water separator is a small filtering device that removes water from fuel before it reaches the. I am thinking about trying a vapor separator fuel filter with 3 ports, the third port i believe would go back into the tank. The vapor separator had 1/4 line to the sending unit. This part fits neat up in the cave by the. 383 had 5/16 full line from sending unit to the fuel pump. The vapor separator allows the vapors to be recovered in the charcoal canister and then pulled into the carb and burned while.
The 10 Best Diesel Fuel Water Separator And Fuel Filter Kit Assembly
Fuel Vapor Separator Filter This part fits neat up in the cave by the. In the simplest of terms, a fuel water separator is a small filtering device that removes water from fuel before it reaches the. This is a fuel system part, a vapor separator for my runs hot, massive 1968 440 rb mopar. The vapor separator had 1/4 line to the sending unit. 383 had 5/16 full line from sending unit to the fuel pump. Help prevent vapor lock the way the factory intended by installing the correct fuel filter/vapor separator on your 426 hemi or 440 ci equipped vehicle. Fuel was boiling in the fuel pump, causing bubbles to go up into the primary float. I am thinking about trying a vapor separator fuel filter with 3 ports, the third port i believe would go back into the tank. 426/440 had 3/8 fuel line from sending unit to the pump. This part mounts near the fuel pump and. The vapor separator allows the vapors to be recovered in the charcoal canister and then pulled into the carb and burned while. This vapor separation filter was the fix for the fuel percolation problem i encountered. This part fits neat up in the cave by the.
From dailyspect.com
The 10 Best Diesel Fuel Water Separator And Fuel Filter Kit Assembly Fuel Vapor Separator Filter The vapor separator had 1/4 line to the sending unit. The vapor separator allows the vapors to be recovered in the charcoal canister and then pulled into the carb and burned while. Help prevent vapor lock the way the factory intended by installing the correct fuel filter/vapor separator on your 426 hemi or 440 ci equipped vehicle. Fuel was boiling. Fuel Vapor Separator Filter.
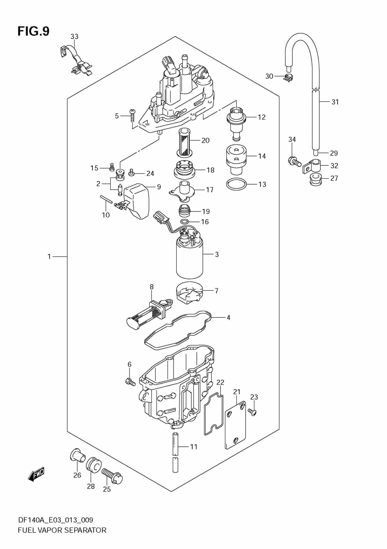
From suzukioutboardmarine.com
Fuel Vapor Separator Precision Marine Fuel Vapor Separator Filter This is a fuel system part, a vapor separator for my runs hot, massive 1968 440 rb mopar. I am thinking about trying a vapor separator fuel filter with 3 ports, the third port i believe would go back into the tank. The vapor separator allows the vapors to be recovered in the charcoal canister and then pulled into the. Fuel Vapor Separator Filter.
From suzukioutboardmarine.com
Fuel Pump/Fuel Vapor Separator Precision Marine Fuel Vapor Separator Filter The vapor separator allows the vapors to be recovered in the charcoal canister and then pulled into the carb and burned while. 383 had 5/16 full line from sending unit to the fuel pump. This part mounts near the fuel pump and. The vapor separator had 1/4 line to the sending unit. This vapor separation filter was the fix for. Fuel Vapor Separator Filter.
From www.walbro.com
Fuel Vapor Separator Walbro Fuel Vapor Separator Filter Fuel was boiling in the fuel pump, causing bubbles to go up into the primary float. 383 had 5/16 full line from sending unit to the fuel pump. I am thinking about trying a vapor separator fuel filter with 3 ports, the third port i believe would go back into the tank. The vapor separator had 1/4 line to the. Fuel Vapor Separator Filter.
From dailyspect.com
The 10 Best Diesel Fuel Water Separator And Fuel Filter Kit Assembly Fuel Vapor Separator Filter Help prevent vapor lock the way the factory intended by installing the correct fuel filter/vapor separator on your 426 hemi or 440 ci equipped vehicle. 383 had 5/16 full line from sending unit to the fuel pump. This is a fuel system part, a vapor separator for my runs hot, massive 1968 440 rb mopar. The vapor separator had 1/4. Fuel Vapor Separator Filter.
From suzukioutboardmarine.com
Fuel Vapor Separator Precision Marine Fuel Vapor Separator Filter The vapor separator allows the vapors to be recovered in the charcoal canister and then pulled into the carb and burned while. 426/440 had 3/8 fuel line from sending unit to the pump. This part mounts near the fuel pump and. The vapor separator had 1/4 line to the sending unit. Fuel was boiling in the fuel pump, causing bubbles. Fuel Vapor Separator Filter.
From www.ccjdigital.com
Racor compiles fuel filter/water separator Fuel Vapor Separator Filter This is a fuel system part, a vapor separator for my runs hot, massive 1968 440 rb mopar. I am thinking about trying a vapor separator fuel filter with 3 ports, the third port i believe would go back into the tank. The vapor separator allows the vapors to be recovered in the charcoal canister and then pulled into the. Fuel Vapor Separator Filter.
From www.jmesales.com
Racor 3150 150 GPH High Flow Diesel Fuel Filter/Water Separators 3150R Fuel Vapor Separator Filter Fuel was boiling in the fuel pump, causing bubbles to go up into the primary float. This part fits neat up in the cave by the. This vapor separation filter was the fix for the fuel percolation problem i encountered. This is a fuel system part, a vapor separator for my runs hot, massive 1968 440 rb mopar. The vapor. Fuel Vapor Separator Filter.
From classicoldsmobile.com
Vapor separator fuel filter install Fuel Vapor Separator Filter The vapor separator allows the vapors to be recovered in the charcoal canister and then pulled into the carb and burned while. Help prevent vapor lock the way the factory intended by installing the correct fuel filter/vapor separator on your 426 hemi or 440 ci equipped vehicle. This vapor separation filter was the fix for the fuel percolation problem i. Fuel Vapor Separator Filter.
From suzukioutboardmarine.com
Fuel Pump / Fuel Vapor Separator Precision Marine Fuel Vapor Separator Filter This part mounts near the fuel pump and. This vapor separation filter was the fix for the fuel percolation problem i encountered. 383 had 5/16 full line from sending unit to the fuel pump. The vapor separator allows the vapors to be recovered in the charcoal canister and then pulled into the carb and burned while. The vapor separator had. Fuel Vapor Separator Filter.
From www.crowleymarine.com
5007896 Fuel Vapor Separator Pump Assembly Evinrude & Johnson, OMC Fuel Vapor Separator Filter This is a fuel system part, a vapor separator for my runs hot, massive 1968 440 rb mopar. This vapor separation filter was the fix for the fuel percolation problem i encountered. I am thinking about trying a vapor separator fuel filter with 3 ports, the third port i believe would go back into the tank. Help prevent vapor lock. Fuel Vapor Separator Filter.
From www.jmesales.com
Racor 200 Series 15 GPH Low Flow Diesel Fuel Filter/Water Separator 215 Fuel Vapor Separator Filter This part mounts near the fuel pump and. 426/440 had 3/8 fuel line from sending unit to the pump. 383 had 5/16 full line from sending unit to the fuel pump. This part fits neat up in the cave by the. The vapor separator had 1/4 line to the sending unit. This vapor separation filter was the fix for the. Fuel Vapor Separator Filter.
From suzukioutboardmarine.com
Fuel Vapor Separator Precision Marine Fuel Vapor Separator Filter 383 had 5/16 full line from sending unit to the fuel pump. This vapor separation filter was the fix for the fuel percolation problem i encountered. This part mounts near the fuel pump and. The vapor separator allows the vapors to be recovered in the charcoal canister and then pulled into the carb and burned while. Fuel was boiling in. Fuel Vapor Separator Filter.
From dalhems.com
FUEL FILTER/VAPOR SEPARATOR Dalhems Fuel Vapor Separator Filter In the simplest of terms, a fuel water separator is a small filtering device that removes water from fuel before it reaches the. The vapor separator allows the vapors to be recovered in the charcoal canister and then pulled into the carb and burned while. I am thinking about trying a vapor separator fuel filter with 3 ports, the third. Fuel Vapor Separator Filter.
From falsecreekfuels.com
Baldwin Fuel/Water Separator Spinon Fuel Filter BF1239 False Creek Fuel Vapor Separator Filter This part mounts near the fuel pump and. I am thinking about trying a vapor separator fuel filter with 3 ports, the third port i believe would go back into the tank. 426/440 had 3/8 fuel line from sending unit to the pump. The vapor separator had 1/4 line to the sending unit. Help prevent vapor lock the way the. Fuel Vapor Separator Filter.
From www.glencoeltd.co.uk
Marine Fuel Water Separators (Malpassi) Malpassi / Sytec Fuel Filters Fuel Vapor Separator Filter This is a fuel system part, a vapor separator for my runs hot, massive 1968 440 rb mopar. This part fits neat up in the cave by the. In the simplest of terms, a fuel water separator is a small filtering device that removes water from fuel before it reaches the. This vapor separation filter was the fix for the. Fuel Vapor Separator Filter.
From puredieselpower.com
Universal Inline 20 Micron Fuel Water Separator FS1212UK Fuel Vapor Separator Filter 426/440 had 3/8 fuel line from sending unit to the pump. Help prevent vapor lock the way the factory intended by installing the correct fuel filter/vapor separator on your 426 hemi or 440 ci equipped vehicle. Fuel was boiling in the fuel pump, causing bubbles to go up into the primary float. In the simplest of terms, a fuel water. Fuel Vapor Separator Filter.
From www.walmart.com
SeaSense Fuel Filter/Water Separator Kit Fuel Vapor Separator Filter Fuel was boiling in the fuel pump, causing bubbles to go up into the primary float. 426/440 had 3/8 fuel line from sending unit to the pump. This part fits neat up in the cave by the. This is a fuel system part, a vapor separator for my runs hot, massive 1968 440 rb mopar. 383 had 5/16 full line. Fuel Vapor Separator Filter.
From www.carid.com
WIX® 33617 SpinOn Fuel/Water Separator Diesel Filter Fuel Vapor Separator Filter In the simplest of terms, a fuel water separator is a small filtering device that removes water from fuel before it reaches the. 426/440 had 3/8 fuel line from sending unit to the pump. Fuel was boiling in the fuel pump, causing bubbles to go up into the primary float. Help prevent vapor lock the way the factory intended by. Fuel Vapor Separator Filter.
From www.marinepartsguys.com
5009033 Fuel Vapor Separator & Pump Marine Parts Guys Fuel Vapor Separator Filter I am thinking about trying a vapor separator fuel filter with 3 ports, the third port i believe would go back into the tank. This vapor separation filter was the fix for the fuel percolation problem i encountered. The vapor separator allows the vapors to be recovered in the charcoal canister and then pulled into the carb and burned while.. Fuel Vapor Separator Filter.
From suzukioutboardmarine.com
Fuel Pump/Fuel Vapor Separator ((020,021)(E01,E03,E11)) Precision Marine Fuel Vapor Separator Filter The vapor separator had 1/4 line to the sending unit. 426/440 had 3/8 fuel line from sending unit to the pump. Help prevent vapor lock the way the factory intended by installing the correct fuel filter/vapor separator on your 426 hemi or 440 ci equipped vehicle. This part mounts near the fuel pump and. In the simplest of terms, a. Fuel Vapor Separator Filter.
From www.walmart.com
Fuel Water Separator Filter Fuel Vapor Separator Filter This part fits neat up in the cave by the. I am thinking about trying a vapor separator fuel filter with 3 ports, the third port i believe would go back into the tank. This is a fuel system part, a vapor separator for my runs hot, massive 1968 440 rb mopar. 426/440 had 3/8 fuel line from sending unit. Fuel Vapor Separator Filter.
From www.shopsaas.com
Fuel Filter Water Separator 10 Microns SAAS Automotive Fuel Vapor Separator Filter The vapor separator allows the vapors to be recovered in the charcoal canister and then pulled into the carb and burned while. 426/440 had 3/8 fuel line from sending unit to the pump. I am thinking about trying a vapor separator fuel filter with 3 ports, the third port i believe would go back into the tank. 383 had 5/16. Fuel Vapor Separator Filter.
From www.carid.com
Racor Division® 490RRAC01 Spinon Series Gasoline Fuel Filter/Water Fuel Vapor Separator Filter The vapor separator allows the vapors to be recovered in the charcoal canister and then pulled into the carb and burned while. I am thinking about trying a vapor separator fuel filter with 3 ports, the third port i believe would go back into the tank. This vapor separation filter was the fix for the fuel percolation problem i encountered.. Fuel Vapor Separator Filter.
From www.crowleymarine.com
5007896 Fuel Vapor Separator Pump Assembly Evinrude & Johnson, OMC Fuel Vapor Separator Filter Fuel was boiling in the fuel pump, causing bubbles to go up into the primary float. This is a fuel system part, a vapor separator for my runs hot, massive 1968 440 rb mopar. I am thinking about trying a vapor separator fuel filter with 3 ports, the third port i believe would go back into the tank. The vapor. Fuel Vapor Separator Filter.
From www.carid.com
ACDelco® TP3016 Professional™ Fuel Water Separator Diesel Filter Fuel Vapor Separator Filter This is a fuel system part, a vapor separator for my runs hot, massive 1968 440 rb mopar. In the simplest of terms, a fuel water separator is a small filtering device that removes water from fuel before it reaches the. 426/440 had 3/8 fuel line from sending unit to the pump. Help prevent vapor lock the way the factory. Fuel Vapor Separator Filter.
From dailyspect.com
The 10 Best Diesel Fuel Water Separator And Fuel Filter Kit Assembly Fuel Vapor Separator Filter This part mounts near the fuel pump and. This is a fuel system part, a vapor separator for my runs hot, massive 1968 440 rb mopar. The vapor separator allows the vapors to be recovered in the charcoal canister and then pulled into the carb and burned while. This part fits neat up in the cave by the. Fuel was. Fuel Vapor Separator Filter.
From suzukioutboardmarine.com
Fuel Pump/Fuel Vapor Separator Precision Marine Fuel Vapor Separator Filter In the simplest of terms, a fuel water separator is a small filtering device that removes water from fuel before it reaches the. 426/440 had 3/8 fuel line from sending unit to the pump. This part mounts near the fuel pump and. This part fits neat up in the cave by the. This vapor separation filter was the fix for. Fuel Vapor Separator Filter.
From www.ccjdigital.com
Racor's fuel filter/water separator Fuel Vapor Separator Filter Help prevent vapor lock the way the factory intended by installing the correct fuel filter/vapor separator on your 426 hemi or 440 ci equipped vehicle. This part fits neat up in the cave by the. This vapor separation filter was the fix for the fuel percolation problem i encountered. This is a fuel system part, a vapor separator for my. Fuel Vapor Separator Filter.
From www.crowleymarine.com
Fuel System [Vapor Separator And Aps] [2017] Crowley Marine Fuel Vapor Separator Filter 426/440 had 3/8 fuel line from sending unit to the pump. Help prevent vapor lock the way the factory intended by installing the correct fuel filter/vapor separator on your 426 hemi or 440 ci equipped vehicle. 383 had 5/16 full line from sending unit to the fuel pump. In the simplest of terms, a fuel water separator is a small. Fuel Vapor Separator Filter.
From www.scintex.com.au
Diesel Fuel Filter Water Separator Duplex Unit Scintex Australia Fuel Vapor Separator Filter This part fits neat up in the cave by the. This is a fuel system part, a vapor separator for my runs hot, massive 1968 440 rb mopar. In the simplest of terms, a fuel water separator is a small filtering device that removes water from fuel before it reaches the. The vapor separator had 1/4 line to the sending. Fuel Vapor Separator Filter.
From www.marineparts.eu
Complete fuel cell/vapor separator, marineparts.eu Fuel Vapor Separator Filter This is a fuel system part, a vapor separator for my runs hot, massive 1968 440 rb mopar. This vapor separation filter was the fix for the fuel percolation problem i encountered. The vapor separator allows the vapors to be recovered in the charcoal canister and then pulled into the carb and burned while. 383 had 5/16 full line from. Fuel Vapor Separator Filter.
From www.auroragenerators.com
What is a Fuel Water Separator? Fuel Vapor Separator Filter I am thinking about trying a vapor separator fuel filter with 3 ports, the third port i believe would go back into the tank. The vapor separator allows the vapors to be recovered in the charcoal canister and then pulled into the carb and burned while. This part fits neat up in the cave by the. Help prevent vapor lock. Fuel Vapor Separator Filter.
From www.filtersplus.co
FH23030 Fleetguard Fuel Pro Water Separator Filters Plus WA Fuel Vapor Separator Filter The vapor separator had 1/4 line to the sending unit. This part fits neat up in the cave by the. The vapor separator allows the vapors to be recovered in the charcoal canister and then pulled into the carb and burned while. 383 had 5/16 full line from sending unit to the fuel pump. In the simplest of terms, a. Fuel Vapor Separator Filter.
From www.garysgaragemahal.com
Fuel Vapor Separator Fuel Vapor Separator Filter This vapor separation filter was the fix for the fuel percolation problem i encountered. This part fits neat up in the cave by the. This part mounts near the fuel pump and. 426/440 had 3/8 fuel line from sending unit to the pump. The vapor separator allows the vapors to be recovered in the charcoal canister and then pulled into. Fuel Vapor Separator Filter.