Wheeled Luggage Invented . however, the very first use of wheels on a suitcase can be credited to the late bernard d. While the patent for the wheeled suitcase was awarded to an american in 1972, in 1954, a. who actually invented the wheeled suitcase? Bob plath, a northwest airlines pilot who started. Sadow, vice president of a massachusetts luggage company, who invented rolling luggage 40 years ago. the rollaboard was invented in 1987 by robert plath, a northwest airlines 747 pilot and avid home workshop. The soldiers used the wheeled cases to transport armor and other items as early as 1153 during the crusades, according to. can you imagine that it took close to six thousand years between the invention of the wheel (by, we assume, the mesopotamians) and this. but there are other people who claim they invented wheeled luggage. the knights templar were the first to make use of wheeled luggage:
from www.travelandleisure.com
who actually invented the wheeled suitcase? can you imagine that it took close to six thousand years between the invention of the wheel (by, we assume, the mesopotamians) and this. The soldiers used the wheeled cases to transport armor and other items as early as 1153 during the crusades, according to. While the patent for the wheeled suitcase was awarded to an american in 1972, in 1954, a. Bob plath, a northwest airlines pilot who started. but there are other people who claim they invented wheeled luggage. however, the very first use of wheels on a suitcase can be credited to the late bernard d. the knights templar were the first to make use of wheeled luggage: the rollaboard was invented in 1987 by robert plath, a northwest airlines 747 pilot and avid home workshop. Sadow, vice president of a massachusetts luggage company, who invented rolling luggage 40 years ago.
Luggage Trends Through the Years
Wheeled Luggage Invented the rollaboard was invented in 1987 by robert plath, a northwest airlines 747 pilot and avid home workshop. but there are other people who claim they invented wheeled luggage. While the patent for the wheeled suitcase was awarded to an american in 1972, in 1954, a. the rollaboard was invented in 1987 by robert plath, a northwest airlines 747 pilot and avid home workshop. however, the very first use of wheels on a suitcase can be credited to the late bernard d. the knights templar were the first to make use of wheeled luggage: Bob plath, a northwest airlines pilot who started. who actually invented the wheeled suitcase? The soldiers used the wheeled cases to transport armor and other items as early as 1153 during the crusades, according to. Sadow, vice president of a massachusetts luggage company, who invented rolling luggage 40 years ago. can you imagine that it took close to six thousand years between the invention of the wheel (by, we assume, the mesopotamians) and this.
From www.google.com
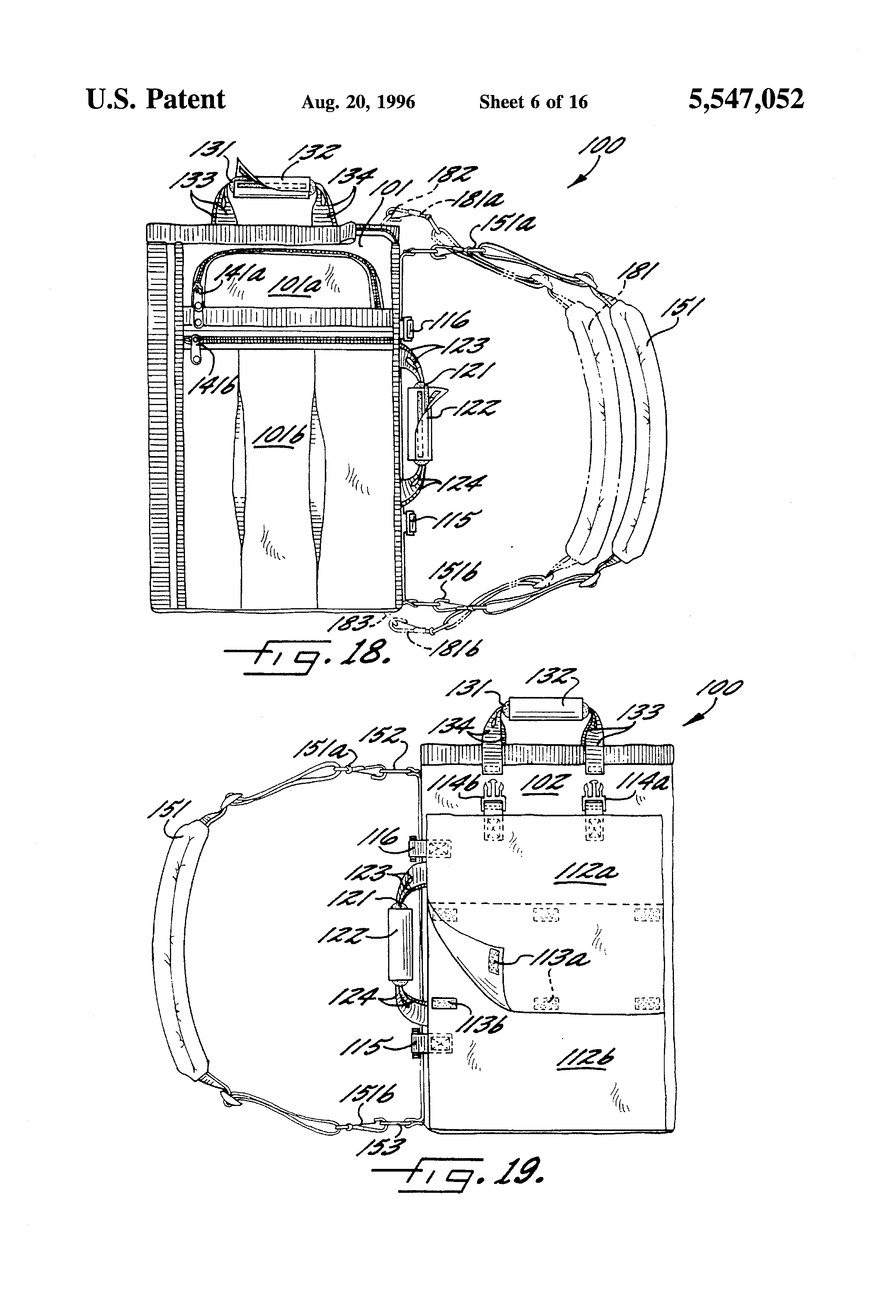
Patent US5547052 Modular wheeled luggage system, wheeled luggage, garment bag and connector Wheeled Luggage Invented however, the very first use of wheels on a suitcase can be credited to the late bernard d. who actually invented the wheeled suitcase? but there are other people who claim they invented wheeled luggage. the knights templar were the first to make use of wheeled luggage: can you imagine that it took close to. Wheeled Luggage Invented.
From www.cnn.com
36 worldchanging travel moments Wheeled Luggage Invented the rollaboard was invented in 1987 by robert plath, a northwest airlines 747 pilot and avid home workshop. The soldiers used the wheeled cases to transport armor and other items as early as 1153 during the crusades, according to. who actually invented the wheeled suitcase? Bob plath, a northwest airlines pilot who started. but there are other. Wheeled Luggage Invented.
From www.usmagazine.com
The New Wheeled Luggage From Paravel Is First Class in Every Way Wheeled Luggage Invented While the patent for the wheeled suitcase was awarded to an american in 1972, in 1954, a. Sadow, vice president of a massachusetts luggage company, who invented rolling luggage 40 years ago. however, the very first use of wheels on a suitcase can be credited to the late bernard d. The soldiers used the wheeled cases to transport armor. Wheeled Luggage Invented.
From www.google.com
Patent US5547052 Modular wheeled luggage system, wheeled luggage, garment bag and connector Wheeled Luggage Invented While the patent for the wheeled suitcase was awarded to an american in 1972, in 1954, a. who actually invented the wheeled suitcase? the knights templar were the first to make use of wheeled luggage: Bob plath, a northwest airlines pilot who started. the rollaboard was invented in 1987 by robert plath, a northwest airlines 747 pilot. Wheeled Luggage Invented.
From www.dreamstime.com
Textured Wheeled Luggage Bag. Stock Photo Image of airport, background 95111228 Wheeled Luggage Invented the rollaboard was invented in 1987 by robert plath, a northwest airlines 747 pilot and avid home workshop. however, the very first use of wheels on a suitcase can be credited to the late bernard d. can you imagine that it took close to six thousand years between the invention of the wheel (by, we assume, the. Wheeled Luggage Invented.
From exowmxryj.blob.core.windows.net
Travel Bags For Suitcases at Verena Walker blog Wheeled Luggage Invented Sadow, vice president of a massachusetts luggage company, who invented rolling luggage 40 years ago. who actually invented the wheeled suitcase? the rollaboard was invented in 1987 by robert plath, a northwest airlines 747 pilot and avid home workshop. but there are other people who claim they invented wheeled luggage. The soldiers used the wheeled cases to. Wheeled Luggage Invented.
From au.ogio.com
Rig 9800 Travel Bag wheeled luggage Ogio Australia Wheeled Luggage Invented The soldiers used the wheeled cases to transport armor and other items as early as 1153 during the crusades, according to. Sadow, vice president of a massachusetts luggage company, who invented rolling luggage 40 years ago. the rollaboard was invented in 1987 by robert plath, a northwest airlines 747 pilot and avid home workshop. Bob plath, a northwest airlines. Wheeled Luggage Invented.
From www.cnn.com
Worldchanging travel moments CNN Wheeled Luggage Invented Bob plath, a northwest airlines pilot who started. however, the very first use of wheels on a suitcase can be credited to the late bernard d. While the patent for the wheeled suitcase was awarded to an american in 1972, in 1954, a. the rollaboard was invented in 1987 by robert plath, a northwest airlines 747 pilot and. Wheeled Luggage Invented.
From dxothfhka.blob.core.windows.net
Wheeled Duffel Bag Dimensions at Minnie Reily blog Wheeled Luggage Invented The soldiers used the wheeled cases to transport armor and other items as early as 1153 during the crusades, according to. Bob plath, a northwest airlines pilot who started. who actually invented the wheeled suitcase? the knights templar were the first to make use of wheeled luggage: Sadow, vice president of a massachusetts luggage company, who invented rolling. Wheeled Luggage Invented.
From au.ogio.com
Rig 9800 Travel Bag wheeled luggage Ogio Australia Wheeled Luggage Invented Bob plath, a northwest airlines pilot who started. can you imagine that it took close to six thousand years between the invention of the wheel (by, we assume, the mesopotamians) and this. Sadow, vice president of a massachusetts luggage company, who invented rolling luggage 40 years ago. the knights templar were the first to make use of wheeled. Wheeled Luggage Invented.
From outdoorfact.com
Best Rolling Duffel Bag For International Travel Top 10 Picks Outdoor Fact Wheeled Luggage Invented however, the very first use of wheels on a suitcase can be credited to the late bernard d. can you imagine that it took close to six thousand years between the invention of the wheel (by, we assume, the mesopotamians) and this. Sadow, vice president of a massachusetts luggage company, who invented rolling luggage 40 years ago. The. Wheeled Luggage Invented.
From vickyxcy888.en.made-in-china.com
Wheeled Trolley Genuine PU Leather Business Travel Luggage Bag Suitcase Case (CY3375) China Wheeled Luggage Invented While the patent for the wheeled suitcase was awarded to an american in 1972, in 1954, a. the knights templar were the first to make use of wheeled luggage: Sadow, vice president of a massachusetts luggage company, who invented rolling luggage 40 years ago. can you imagine that it took close to six thousand years between the invention. Wheeled Luggage Invented.
From dankinbags.en.made-in-china.com
Wheeled Luggage Travel Bag Rolling Carry Men Trolley Women Wheels Suitcase Bags China Wheeled Wheeled Luggage Invented While the patent for the wheeled suitcase was awarded to an american in 1972, in 1954, a. Sadow, vice president of a massachusetts luggage company, who invented rolling luggage 40 years ago. however, the very first use of wheels on a suitcase can be credited to the late bernard d. but there are other people who claim they. Wheeled Luggage Invented.
From luggageportal.com
Top 9 Vintage Samsonite Luggage Suitcases Wheeled Luggage Invented who actually invented the wheeled suitcase? the rollaboard was invented in 1987 by robert plath, a northwest airlines 747 pilot and avid home workshop. however, the very first use of wheels on a suitcase can be credited to the late bernard d. The soldiers used the wheeled cases to transport armor and other items as early as. Wheeled Luggage Invented.
From www.travelandleisure.com
Luggage Trends Through the Years Wheeled Luggage Invented can you imagine that it took close to six thousand years between the invention of the wheel (by, we assume, the mesopotamians) and this. but there are other people who claim they invented wheeled luggage. Bob plath, a northwest airlines pilot who started. the knights templar were the first to make use of wheeled luggage: who. Wheeled Luggage Invented.
From heanoobag.en.made-in-china.com
Small Folding Suitcase Spinner Luggage Travel Wheeled Rolling Wheeled Bags China Wheeled Bags Wheeled Luggage Invented Bob plath, a northwest airlines pilot who started. the knights templar were the first to make use of wheeled luggage: can you imagine that it took close to six thousand years between the invention of the wheel (by, we assume, the mesopotamians) and this. While the patent for the wheeled suitcase was awarded to an american in 1972,. Wheeled Luggage Invented.
From www.reddit.com
It's true. The guy invented wheeled luggage by putting wheels underneath a suitcase and then it Wheeled Luggage Invented the rollaboard was invented in 1987 by robert plath, a northwest airlines 747 pilot and avid home workshop. Sadow, vice president of a massachusetts luggage company, who invented rolling luggage 40 years ago. who actually invented the wheeled suitcase? Bob plath, a northwest airlines pilot who started. the knights templar were the first to make use of. Wheeled Luggage Invented.
From www.google.com
Patent US5547052 Modular wheeled luggage system, wheeled luggage, garment bag and connector Wheeled Luggage Invented Sadow, vice president of a massachusetts luggage company, who invented rolling luggage 40 years ago. The soldiers used the wheeled cases to transport armor and other items as early as 1153 during the crusades, according to. the knights templar were the first to make use of wheeled luggage: the rollaboard was invented in 1987 by robert plath, a. Wheeled Luggage Invented.
From www.thisiswhyimbroke.com
Retractable Wheels Suitcase Wheeled Luggage Invented Bob plath, a northwest airlines pilot who started. however, the very first use of wheels on a suitcase can be credited to the late bernard d. who actually invented the wheeled suitcase? Sadow, vice president of a massachusetts luggage company, who invented rolling luggage 40 years ago. but there are other people who claim they invented wheeled. Wheeled Luggage Invented.
From www.made-in-china.com
Wheeled Pack, Wheeled Bag, Trolley Pack, Trolley Bag, Luggage Bag China Wheeled Bag and Wheeled Luggage Invented The soldiers used the wheeled cases to transport armor and other items as early as 1153 during the crusades, according to. can you imagine that it took close to six thousand years between the invention of the wheel (by, we assume, the mesopotamians) and this. the rollaboard was invented in 1987 by robert plath, a northwest airlines 747. Wheeled Luggage Invented.
From mcluggage.com
Large Wheeled Suitcase Mc Luggage Wheeled Luggage Invented the knights templar were the first to make use of wheeled luggage: The soldiers used the wheeled cases to transport armor and other items as early as 1153 during the crusades, according to. Sadow, vice president of a massachusetts luggage company, who invented rolling luggage 40 years ago. however, the very first use of wheels on a suitcase. Wheeled Luggage Invented.
From www.google.com
Patent US5547052 Modular wheeled luggage system, wheeled luggage, garment bag and connector Wheeled Luggage Invented Bob plath, a northwest airlines pilot who started. can you imagine that it took close to six thousand years between the invention of the wheel (by, we assume, the mesopotamians) and this. who actually invented the wheeled suitcase? While the patent for the wheeled suitcase was awarded to an american in 1972, in 1954, a. Sadow, vice president. Wheeled Luggage Invented.
From invention.si.edu
Roll Aboard! Lemelson Center for the Study of Invention and Innovation Wheeled Luggage Invented the knights templar were the first to make use of wheeled luggage: who actually invented the wheeled suitcase? however, the very first use of wheels on a suitcase can be credited to the late bernard d. but there are other people who claim they invented wheeled luggage. While the patent for the wheeled suitcase was awarded. Wheeled Luggage Invented.
From s3.amazonaws.com
Backpack wheels luggage invented, falcon hiking guide to glacier national park, ogio backpack Wheeled Luggage Invented Sadow, vice president of a massachusetts luggage company, who invented rolling luggage 40 years ago. While the patent for the wheeled suitcase was awarded to an american in 1972, in 1954, a. who actually invented the wheeled suitcase? the rollaboard was invented in 1987 by robert plath, a northwest airlines 747 pilot and avid home workshop. The soldiers. Wheeled Luggage Invented.
From exoiqwmxz.blob.core.windows.net
Best 22 Carry On Spinner Luggage at Katherine Thornton blog Wheeled Luggage Invented While the patent for the wheeled suitcase was awarded to an american in 1972, in 1954, a. can you imagine that it took close to six thousand years between the invention of the wheel (by, we assume, the mesopotamians) and this. however, the very first use of wheels on a suitcase can be credited to the late bernard. Wheeled Luggage Invented.
From www.sportsmansguide.com
Baron Country® Canvas & Leather Wheeled Duffel Bag 209118, Luggage at Sportsman's Guide Wheeled Luggage Invented The soldiers used the wheeled cases to transport armor and other items as early as 1153 during the crusades, according to. Sadow, vice president of a massachusetts luggage company, who invented rolling luggage 40 years ago. can you imagine that it took close to six thousand years between the invention of the wheel (by, we assume, the mesopotamians) and. Wheeled Luggage Invented.
From www.lizandez.com.au
4 Wheeled Luggage The Exquisite Leather Voyager Lizandez Wheeled Luggage Invented The soldiers used the wheeled cases to transport armor and other items as early as 1153 during the crusades, according to. While the patent for the wheeled suitcase was awarded to an american in 1972, in 1954, a. can you imagine that it took close to six thousand years between the invention of the wheel (by, we assume, the. Wheeled Luggage Invented.
From www.youtube.com
10 Best Wheeled Luggage 2017 YouTube Wheeled Luggage Invented While the patent for the wheeled suitcase was awarded to an american in 1972, in 1954, a. but there are other people who claim they invented wheeled luggage. the knights templar were the first to make use of wheeled luggage: Sadow, vice president of a massachusetts luggage company, who invented rolling luggage 40 years ago. Bob plath, a. Wheeled Luggage Invented.
From au.ogio.com
Rig 9800 Travel Bag wheeled luggage Ogio Australia Wheeled Luggage Invented The soldiers used the wheeled cases to transport armor and other items as early as 1153 during the crusades, according to. Sadow, vice president of a massachusetts luggage company, who invented rolling luggage 40 years ago. Bob plath, a northwest airlines pilot who started. can you imagine that it took close to six thousand years between the invention of. Wheeled Luggage Invented.
From vickyxcy888.en.made-in-china.com
Men Male PU Trolley Wheeled Luggage Business Travel Suitcase Boarding Bags Case (CY5921) China Wheeled Luggage Invented the knights templar were the first to make use of wheeled luggage: Sadow, vice president of a massachusetts luggage company, who invented rolling luggage 40 years ago. The soldiers used the wheeled cases to transport armor and other items as early as 1153 during the crusades, according to. however, the very first use of wheels on a suitcase. Wheeled Luggage Invented.
From www.breuninger.com
BRIC'S Wheeled luggage AMALFI in black Breuninger Wheeled Luggage Invented Bob plath, a northwest airlines pilot who started. who actually invented the wheeled suitcase? the rollaboard was invented in 1987 by robert plath, a northwest airlines 747 pilot and avid home workshop. can you imagine that it took close to six thousand years between the invention of the wheel (by, we assume, the mesopotamians) and this. . Wheeled Luggage Invented.
From www.google.com
Patent US5547052 Modular wheeled luggage system, wheeled luggage, garment bag and connector Wheeled Luggage Invented the knights templar were the first to make use of wheeled luggage: Sadow, vice president of a massachusetts luggage company, who invented rolling luggage 40 years ago. Bob plath, a northwest airlines pilot who started. but there are other people who claim they invented wheeled luggage. who actually invented the wheeled suitcase? can you imagine that. Wheeled Luggage Invented.
From www.express.co.uk
How did we live without them? A celebration of simple inventions... Life Life & Style Wheeled Luggage Invented The soldiers used the wheeled cases to transport armor and other items as early as 1153 during the crusades, according to. While the patent for the wheeled suitcase was awarded to an american in 1972, in 1954, a. Bob plath, a northwest airlines pilot who started. can you imagine that it took close to six thousand years between the. Wheeled Luggage Invented.
From interestingengineering.com
Who Actually Invented the Wheeled Suitcase? Wheeled Luggage Invented who actually invented the wheeled suitcase? can you imagine that it took close to six thousand years between the invention of the wheel (by, we assume, the mesopotamians) and this. Sadow, vice president of a massachusetts luggage company, who invented rolling luggage 40 years ago. the rollaboard was invented in 1987 by robert plath, a northwest airlines. Wheeled Luggage Invented.
From monash-1.blogspot.com
Who Invented The Suitcase Monash Wheeled Luggage Invented The soldiers used the wheeled cases to transport armor and other items as early as 1153 during the crusades, according to. can you imagine that it took close to six thousand years between the invention of the wheel (by, we assume, the mesopotamians) and this. Bob plath, a northwest airlines pilot who started. the knights templar were the. Wheeled Luggage Invented.