Parts Of A Bumper Jack . Jack, first responder, bumper jack type, 4,660 lbs. Some of the most common types that you're likely to encounter include scissor jacks, bottle jacks, and floor jacks. Popular antique car jack brands & logos. 10 factors to identify & value antique car jack. Ever paused to appreciate that robust structure at the front and back of your car? Capacity, mechanical, red/yellow, 36 in.
from www.impalaforums.com
Some of the most common types that you're likely to encounter include scissor jacks, bottle jacks, and floor jacks. Capacity, mechanical, red/yellow, 36 in. 10 factors to identify & value antique car jack. Jack, first responder, bumper jack type, 4,660 lbs. Ever paused to appreciate that robust structure at the front and back of your car? Popular antique car jack brands & logos.
How to identify the correct bumper jack for 1965? Chevy Impala Forums
Parts Of A Bumper Jack Jack, first responder, bumper jack type, 4,660 lbs. Some of the most common types that you're likely to encounter include scissor jacks, bottle jacks, and floor jacks. Popular antique car jack brands & logos. Ever paused to appreciate that robust structure at the front and back of your car? 10 factors to identify & value antique car jack. Jack, first responder, bumper jack type, 4,660 lbs. Capacity, mechanical, red/yellow, 36 in.
From www.youtube.com
Bumper Install/Setup on Jack Adapter for Floor and Transmission Jacks Parts Of A Bumper Jack Ever paused to appreciate that robust structure at the front and back of your car? Capacity, mechanical, red/yellow, 36 in. 10 factors to identify & value antique car jack. Popular antique car jack brands & logos. Some of the most common types that you're likely to encounter include scissor jacks, bottle jacks, and floor jacks. Jack, first responder, bumper jack. Parts Of A Bumper Jack.
From board.moparts.org
70 Challenger Bumper Jack Assembly Moparts Forums Parts Of A Bumper Jack Capacity, mechanical, red/yellow, 36 in. 10 factors to identify & value antique car jack. Popular antique car jack brands & logos. Some of the most common types that you're likely to encounter include scissor jacks, bottle jacks, and floor jacks. Ever paused to appreciate that robust structure at the front and back of your car? Jack, first responder, bumper jack. Parts Of A Bumper Jack.
From www.southeastchevyparts.com
1962 Chevy Bumper Jack Impala/Bel Air/Biscayne Parts Of A Bumper Jack Capacity, mechanical, red/yellow, 36 in. Ever paused to appreciate that robust structure at the front and back of your car? 10 factors to identify & value antique car jack. Jack, first responder, bumper jack type, 4,660 lbs. Some of the most common types that you're likely to encounter include scissor jacks, bottle jacks, and floor jacks. Popular antique car jack. Parts Of A Bumper Jack.
From ebay.com
1957 THUNDERBIRD BUMPER JACK Assembly 100CORRECT Base Ratchet, Shaft Parts Of A Bumper Jack Some of the most common types that you're likely to encounter include scissor jacks, bottle jacks, and floor jacks. Popular antique car jack brands & logos. Capacity, mechanical, red/yellow, 36 in. Jack, first responder, bumper jack type, 4,660 lbs. Ever paused to appreciate that robust structure at the front and back of your car? 10 factors to identify & value. Parts Of A Bumper Jack.
From www.classicindustries.com
1957 All Makes All Models Parts TF422404 1957 Chevrolet Bumper Jack Parts Of A Bumper Jack Some of the most common types that you're likely to encounter include scissor jacks, bottle jacks, and floor jacks. Capacity, mechanical, red/yellow, 36 in. Popular antique car jack brands & logos. Ever paused to appreciate that robust structure at the front and back of your car? 10 factors to identify & value antique car jack. Jack, first responder, bumper jack. Parts Of A Bumper Jack.
From www.classicindustries.com
19551956 All Makes All Models Parts TF422402 195556 Chevrolet Parts Of A Bumper Jack 10 factors to identify & value antique car jack. Ever paused to appreciate that robust structure at the front and back of your car? Jack, first responder, bumper jack type, 4,660 lbs. Popular antique car jack brands & logos. Some of the most common types that you're likely to encounter include scissor jacks, bottle jacks, and floor jacks. Capacity, mechanical,. Parts Of A Bumper Jack.
From www.performancecargraphics.com
Jack Instructions Decals Mopar Chrysler Plymouth Dodge Parts Of A Bumper Jack Popular antique car jack brands & logos. 10 factors to identify & value antique car jack. Capacity, mechanical, red/yellow, 36 in. Some of the most common types that you're likely to encounter include scissor jacks, bottle jacks, and floor jacks. Jack, first responder, bumper jack type, 4,660 lbs. Ever paused to appreciate that robust structure at the front and back. Parts Of A Bumper Jack.
From www.forcbodiesonly.com
SOLD 1970 300 bumper jack assembly complete For C Bodies Only Parts Of A Bumper Jack Ever paused to appreciate that robust structure at the front and back of your car? Capacity, mechanical, red/yellow, 36 in. 10 factors to identify & value antique car jack. Some of the most common types that you're likely to encounter include scissor jacks, bottle jacks, and floor jacks. Popular antique car jack brands & logos. Jack, first responder, bumper jack. Parts Of A Bumper Jack.
From www.impalaforums.com
How to identify the correct bumper jack for 1965? Chevy Impala Forums Parts Of A Bumper Jack Some of the most common types that you're likely to encounter include scissor jacks, bottle jacks, and floor jacks. Jack, first responder, bumper jack type, 4,660 lbs. 10 factors to identify & value antique car jack. Capacity, mechanical, red/yellow, 36 in. Ever paused to appreciate that robust structure at the front and back of your car? Popular antique car jack. Parts Of A Bumper Jack.
From www.homemadetools.net
BUMPER JACK MULTI TOOL Parts Of A Bumper Jack Ever paused to appreciate that robust structure at the front and back of your car? Jack, first responder, bumper jack type, 4,660 lbs. Capacity, mechanical, red/yellow, 36 in. Some of the most common types that you're likely to encounter include scissor jacks, bottle jacks, and floor jacks. Popular antique car jack brands & logos. 10 factors to identify & value. Parts Of A Bumper Jack.
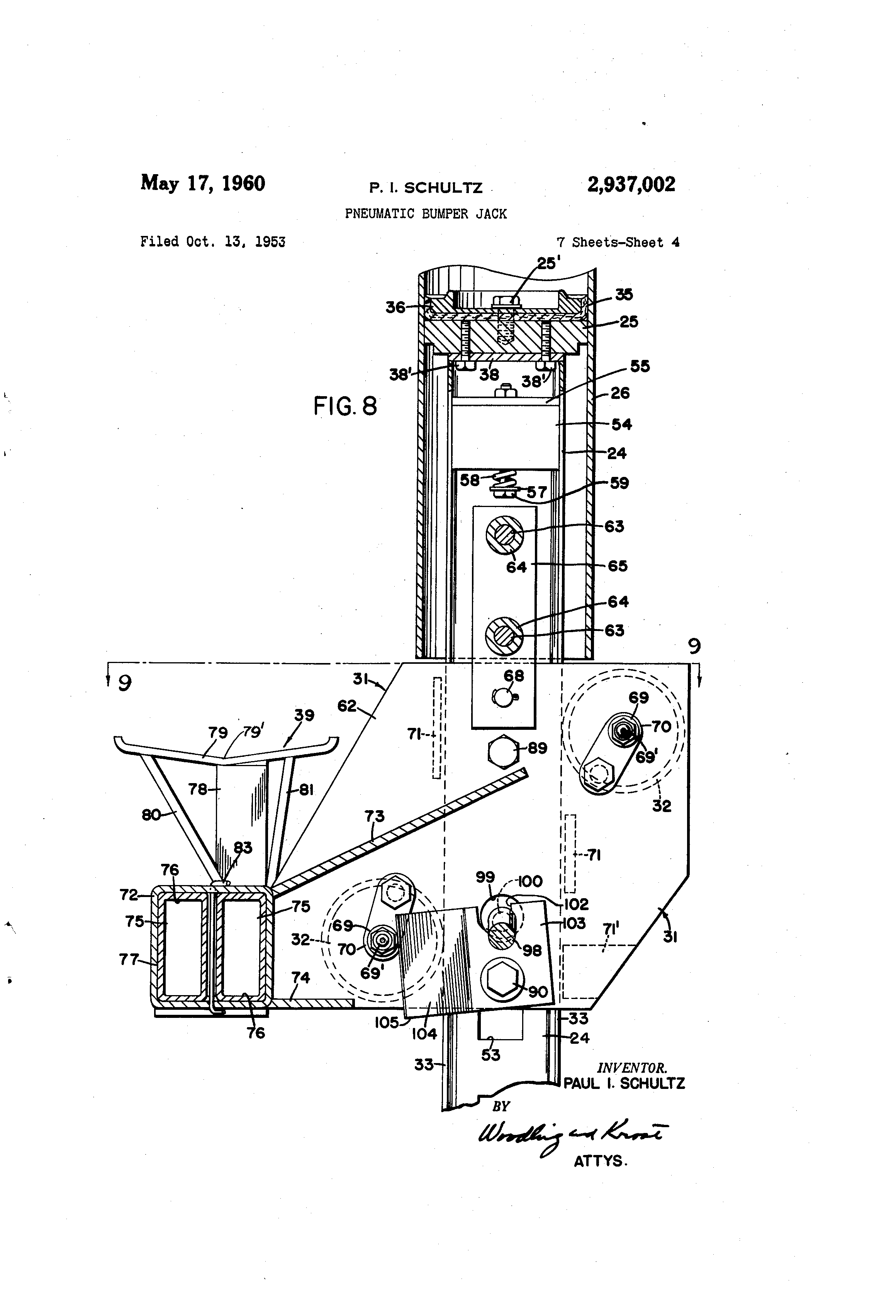
From www.google.com
Patent US2937002 Pneumatic bumper jack Google Patents Parts Of A Bumper Jack Some of the most common types that you're likely to encounter include scissor jacks, bottle jacks, and floor jacks. Ever paused to appreciate that robust structure at the front and back of your car? Capacity, mechanical, red/yellow, 36 in. Jack, first responder, bumper jack type, 4,660 lbs. Popular antique car jack brands & logos. 10 factors to identify & value. Parts Of A Bumper Jack.
From www.ss396.com
1967 Chevrolet Bumper Jack Parts Of A Bumper Jack Popular antique car jack brands & logos. Capacity, mechanical, red/yellow, 36 in. Ever paused to appreciate that robust structure at the front and back of your car? Some of the most common types that you're likely to encounter include scissor jacks, bottle jacks, and floor jacks. Jack, first responder, bumper jack type, 4,660 lbs. 10 factors to identify & value. Parts Of A Bumper Jack.
From www.northerntool.com
Strongway 1 1/4Ton Air Bumper Jack Northern Tool Parts Of A Bumper Jack Popular antique car jack brands & logos. Jack, first responder, bumper jack type, 4,660 lbs. Capacity, mechanical, red/yellow, 36 in. Ever paused to appreciate that robust structure at the front and back of your car? 10 factors to identify & value antique car jack. Some of the most common types that you're likely to encounter include scissor jacks, bottle jacks,. Parts Of A Bumper Jack.
From www.ss396.com
1969 Chevrolet Bumper Jack Parts Of A Bumper Jack Ever paused to appreciate that robust structure at the front and back of your car? Jack, first responder, bumper jack type, 4,660 lbs. Some of the most common types that you're likely to encounter include scissor jacks, bottle jacks, and floor jacks. 10 factors to identify & value antique car jack. Capacity, mechanical, red/yellow, 36 in. Popular antique car jack. Parts Of A Bumper Jack.
From johnsclassiccars.com
Bumper Jack kit for Chevelle John's Classic Cars and Parts Parts Of A Bumper Jack Popular antique car jack brands & logos. Some of the most common types that you're likely to encounter include scissor jacks, bottle jacks, and floor jacks. Ever paused to appreciate that robust structure at the front and back of your car? Jack, first responder, bumper jack type, 4,660 lbs. Capacity, mechanical, red/yellow, 36 in. 10 factors to identify & value. Parts Of A Bumper Jack.
From circular-waveguide-modes-tutorial.blogspot.com
old fashioned bumper jack circularwaveguidemodestutorial Parts Of A Bumper Jack Some of the most common types that you're likely to encounter include scissor jacks, bottle jacks, and floor jacks. Ever paused to appreciate that robust structure at the front and back of your car? 10 factors to identify & value antique car jack. Capacity, mechanical, red/yellow, 36 in. Popular antique car jack brands & logos. Jack, first responder, bumper jack. Parts Of A Bumper Jack.
From www.heartbeatcitycamaro.com
1969 Camaro Bumper Jack Assembly Kit Complete 1967, 1968, 1969 Camaro Parts Of A Bumper Jack 10 factors to identify & value antique car jack. Capacity, mechanical, red/yellow, 36 in. Popular antique car jack brands & logos. Some of the most common types that you're likely to encounter include scissor jacks, bottle jacks, and floor jacks. Ever paused to appreciate that robust structure at the front and back of your car? Jack, first responder, bumper jack. Parts Of A Bumper Jack.
From www.classicindustries.com
1957 All Makes All Models Parts TF422404 1957 Chevrolet Bumper Jack Parts Of A Bumper Jack Some of the most common types that you're likely to encounter include scissor jacks, bottle jacks, and floor jacks. Jack, first responder, bumper jack type, 4,660 lbs. Ever paused to appreciate that robust structure at the front and back of your car? Capacity, mechanical, red/yellow, 36 in. Popular antique car jack brands & logos. 10 factors to identify & value. Parts Of A Bumper Jack.
From www.intos.kr
MOTORS Bumper Jack Kit 6773 Camaro Chevelle Nova base shaft 67 68 69 Parts Of A Bumper Jack Jack, first responder, bumper jack type, 4,660 lbs. Capacity, mechanical, red/yellow, 36 in. Ever paused to appreciate that robust structure at the front and back of your car? Some of the most common types that you're likely to encounter include scissor jacks, bottle jacks, and floor jacks. Popular antique car jack brands & logos. 10 factors to identify & value. Parts Of A Bumper Jack.
From www.classicchevy.ca
Chevy Bumper Jack, Restored, 1968 Classic Chevy Parts Of A Bumper Jack Capacity, mechanical, red/yellow, 36 in. Popular antique car jack brands & logos. 10 factors to identify & value antique car jack. Jack, first responder, bumper jack type, 4,660 lbs. Ever paused to appreciate that robust structure at the front and back of your car? Some of the most common types that you're likely to encounter include scissor jacks, bottle jacks,. Parts Of A Bumper Jack.
From www.ss396.com
19711972 Chevrolet Bumper Jack Parts Of A Bumper Jack Some of the most common types that you're likely to encounter include scissor jacks, bottle jacks, and floor jacks. Ever paused to appreciate that robust structure at the front and back of your car? Jack, first responder, bumper jack type, 4,660 lbs. Popular antique car jack brands & logos. Capacity, mechanical, red/yellow, 36 in. 10 factors to identify & value. Parts Of A Bumper Jack.
From www.chegg.com
Solved The automobile bumper jack is designed to support a Parts Of A Bumper Jack Popular antique car jack brands & logos. Ever paused to appreciate that robust structure at the front and back of your car? Some of the most common types that you're likely to encounter include scissor jacks, bottle jacks, and floor jacks. Jack, first responder, bumper jack type, 4,660 lbs. 10 factors to identify & value antique car jack. Capacity, mechanical,. Parts Of A Bumper Jack.
From www.impalaforums.com
How to identify the correct bumper jack for 1965? Chevy Impala Forums Parts Of A Bumper Jack 10 factors to identify & value antique car jack. Ever paused to appreciate that robust structure at the front and back of your car? Some of the most common types that you're likely to encounter include scissor jacks, bottle jacks, and floor jacks. Capacity, mechanical, red/yellow, 36 in. Popular antique car jack brands & logos. Jack, first responder, bumper jack. Parts Of A Bumper Jack.
From www.ss396.com
19701973 Chevrolet Bumper Jack Set Parts Of A Bumper Jack Popular antique car jack brands & logos. Some of the most common types that you're likely to encounter include scissor jacks, bottle jacks, and floor jacks. Ever paused to appreciate that robust structure at the front and back of your car? Jack, first responder, bumper jack type, 4,660 lbs. Capacity, mechanical, red/yellow, 36 in. 10 factors to identify & value. Parts Of A Bumper Jack.
From www.camaros.net
Bumper Jack (correct installation) Team Camaro Tech Parts Of A Bumper Jack Popular antique car jack brands & logos. 10 factors to identify & value antique car jack. Some of the most common types that you're likely to encounter include scissor jacks, bottle jacks, and floor jacks. Capacity, mechanical, red/yellow, 36 in. Ever paused to appreciate that robust structure at the front and back of your car? Jack, first responder, bumper jack. Parts Of A Bumper Jack.
From www.2040-parts.com
Purchase 6872 Pontiac GTO,LeMans Bumper Jack in Santa Rosa, California Parts Of A Bumper Jack Some of the most common types that you're likely to encounter include scissor jacks, bottle jacks, and floor jacks. Popular antique car jack brands & logos. Capacity, mechanical, red/yellow, 36 in. Jack, first responder, bumper jack type, 4,660 lbs. 10 factors to identify & value antique car jack. Ever paused to appreciate that robust structure at the front and back. Parts Of A Bumper Jack.
From buickfarm.com
BUMPER JACK & BASE; The Buick Farm Parts Of A Bumper Jack Ever paused to appreciate that robust structure at the front and back of your car? Jack, first responder, bumper jack type, 4,660 lbs. Some of the most common types that you're likely to encounter include scissor jacks, bottle jacks, and floor jacks. 10 factors to identify & value antique car jack. Popular antique car jack brands & logos. Capacity, mechanical,. Parts Of A Bumper Jack.
From getagripandmore.com
Vintage AMERICAN HYDRAULICS CO 11/2 Ton "UTILITY & BUMPER JACK" AH1 Parts Of A Bumper Jack 10 factors to identify & value antique car jack. Ever paused to appreciate that robust structure at the front and back of your car? Jack, first responder, bumper jack type, 4,660 lbs. Capacity, mechanical, red/yellow, 36 in. Some of the most common types that you're likely to encounter include scissor jacks, bottle jacks, and floor jacks. Popular antique car jack. Parts Of A Bumper Jack.
From www.northerntool.com
Strongway 1 1/4Ton Air Bumper Jack Northern Tool + Equipment Parts Of A Bumper Jack Capacity, mechanical, red/yellow, 36 in. 10 factors to identify & value antique car jack. Some of the most common types that you're likely to encounter include scissor jacks, bottle jacks, and floor jacks. Jack, first responder, bumper jack type, 4,660 lbs. Popular antique car jack brands & logos. Ever paused to appreciate that robust structure at the front and back. Parts Of A Bumper Jack.
From p15-d24.com
How to use Bumper Jack P15D24 Forum and Parts Of A Bumper Jack Popular antique car jack brands & logos. Jack, first responder, bumper jack type, 4,660 lbs. Ever paused to appreciate that robust structure at the front and back of your car? Some of the most common types that you're likely to encounter include scissor jacks, bottle jacks, and floor jacks. Capacity, mechanical, red/yellow, 36 in. 10 factors to identify & value. Parts Of A Bumper Jack.
From www.northerntool.com
Strongway 1 1/4Ton Air Bumper Jack Northern Tool Parts Of A Bumper Jack Popular antique car jack brands & logos. Capacity, mechanical, red/yellow, 36 in. 10 factors to identify & value antique car jack. Jack, first responder, bumper jack type, 4,660 lbs. Ever paused to appreciate that robust structure at the front and back of your car? Some of the most common types that you're likely to encounter include scissor jacks, bottle jacks,. Parts Of A Bumper Jack.
From www.opgi.com
Cutlass/442 Bumper Jack Fits 1968 Cutlass/442 Parts Of A Bumper Jack Jack, first responder, bumper jack type, 4,660 lbs. Popular antique car jack brands & logos. Ever paused to appreciate that robust structure at the front and back of your car? 10 factors to identify & value antique car jack. Some of the most common types that you're likely to encounter include scissor jacks, bottle jacks, and floor jacks. Capacity, mechanical,. Parts Of A Bumper Jack.
From www.used.forsale
Bumper Jack for sale Only 4 left at 75 Parts Of A Bumper Jack Some of the most common types that you're likely to encounter include scissor jacks, bottle jacks, and floor jacks. Popular antique car jack brands & logos. Ever paused to appreciate that robust structure at the front and back of your car? Capacity, mechanical, red/yellow, 36 in. Jack, first responder, bumper jack type, 4,660 lbs. 10 factors to identify & value. Parts Of A Bumper Jack.
From www.classicparts.com
Deluxe Bumper Jack AssemblyClassic Chevy Truck Parts Parts Of A Bumper Jack Ever paused to appreciate that robust structure at the front and back of your car? Capacity, mechanical, red/yellow, 36 in. Popular antique car jack brands & logos. Some of the most common types that you're likely to encounter include scissor jacks, bottle jacks, and floor jacks. Jack, first responder, bumper jack type, 4,660 lbs. 10 factors to identify & value. Parts Of A Bumper Jack.
From r62gp.weebly.com
BUMPER JACK ASSEMBLY Parts Of A Bumper Jack Capacity, mechanical, red/yellow, 36 in. Popular antique car jack brands & logos. Some of the most common types that you're likely to encounter include scissor jacks, bottle jacks, and floor jacks. Ever paused to appreciate that robust structure at the front and back of your car? Jack, first responder, bumper jack type, 4,660 lbs. 10 factors to identify & value. Parts Of A Bumper Jack.