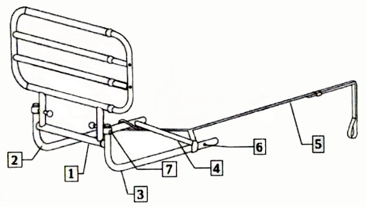
Extendable Bedside Rail . Allows for easy transfer in and out of bed; Extendable legs provides added stability when standing. Extendable legs provides added stability when standing; Allows for easy transfer in and out of bed. As the only extendable bed rail in the world, the stander ez adjust bed rail offers unmatched versatility. Pocket organizer provides storage space for handy items; The ez adjust bed rail transforms from a bedside handle to a fall prevention bed rail by extending in length from 26 to 34 to 42 inches by locking the push pin in place. For a handle to help. Pocket organizer provides storage space for handy items. Its adjustable length , ranging from. Simple push a button and extend it to 30″ for fall prevention.
from www.alibaba.com
Pocket organizer provides storage space for handy items; Extendable legs provides added stability when standing. Allows for easy transfer in and out of bed. For a handle to help. Extendable legs provides added stability when standing; The ez adjust bed rail transforms from a bedside handle to a fall prevention bed rail by extending in length from 26 to 34 to 42 inches by locking the push pin in place. Pocket organizer provides storage space for handy items. As the only extendable bed rail in the world, the stander ez adjust bed rail offers unmatched versatility. Allows for easy transfer in and out of bed; Its adjustable length , ranging from.
Extendable Bedside Rail Flip Down Bed Safety Rail For Senior Buy
Extendable Bedside Rail Allows for easy transfer in and out of bed. The ez adjust bed rail transforms from a bedside handle to a fall prevention bed rail by extending in length from 26 to 34 to 42 inches by locking the push pin in place. Pocket organizer provides storage space for handy items; For a handle to help. Simple push a button and extend it to 30″ for fall prevention. Allows for easy transfer in and out of bed; As the only extendable bed rail in the world, the stander ez adjust bed rail offers unmatched versatility. Pocket organizer provides storage space for handy items. Its adjustable length , ranging from. Allows for easy transfer in and out of bed. Extendable legs provides added stability when standing; Extendable legs provides added stability when standing.
From www.ebay.com
Able Life Bedside ExtendARail Adjustable Adult Home Safety Bed Rail Extendable Bedside Rail Allows for easy transfer in and out of bed; The ez adjust bed rail transforms from a bedside handle to a fall prevention bed rail by extending in length from 26 to 34 to 42 inches by locking the push pin in place. Simple push a button and extend it to 30″ for fall prevention. As the only extendable bed. Extendable Bedside Rail.
From www.desertcart.co.za
Buy bed rails Online in South Africa at Low Prices at desertcart Extendable Bedside Rail Pocket organizer provides storage space for handy items. Its adjustable length , ranging from. The ez adjust bed rail transforms from a bedside handle to a fall prevention bed rail by extending in length from 26 to 34 to 42 inches by locking the push pin in place. Extendable legs provides added stability when standing; For a handle to help.. Extendable Bedside Rail.
From www.disabilityshop.com.au
Bedroom Bed Rails Page 1 Disability Shop Extendable Bedside Rail Its adjustable length , ranging from. Extendable legs provides added stability when standing. For a handle to help. Simple push a button and extend it to 30″ for fall prevention. Extendable legs provides added stability when standing; The ez adjust bed rail transforms from a bedside handle to a fall prevention bed rail by extending in length from 26 to. Extendable Bedside Rail.
From mobilityzone.com.au
Stander Bedside ExtendARail Mobility Zone Extendable Bedside Rail Simple push a button and extend it to 30″ for fall prevention. Pocket organizer provides storage space for handy items. Pocket organizer provides storage space for handy items; Its adjustable length , ranging from. Allows for easy transfer in and out of bed. Extendable legs provides added stability when standing; As the only extendable bed rail in the world, the. Extendable Bedside Rail.
From www.lowes.com
Stander Stable Bed Rail in the Bed Rails department at Extendable Bedside Rail As the only extendable bed rail in the world, the stander ez adjust bed rail offers unmatched versatility. Pocket organizer provides storage space for handy items; The ez adjust bed rail transforms from a bedside handle to a fall prevention bed rail by extending in length from 26 to 34 to 42 inches by locking the push pin in place.. Extendable Bedside Rail.
From www.alibaba.com
Extendable Bedside Rail Flip Down Bed Safety Rail For Senior Buy Extendable Bedside Rail Allows for easy transfer in and out of bed; Extendable legs provides added stability when standing; As the only extendable bed rail in the world, the stander ez adjust bed rail offers unmatched versatility. Simple push a button and extend it to 30″ for fall prevention. Pocket organizer provides storage space for handy items. The ez adjust bed rail transforms. Extendable Bedside Rail.
From www.ebay.com
Able Life Bedside ExtendARail Adjustable Adult Home Safety Bed Rail Extendable Bedside Rail The ez adjust bed rail transforms from a bedside handle to a fall prevention bed rail by extending in length from 26 to 34 to 42 inches by locking the push pin in place. Extendable legs provides added stability when standing. Allows for easy transfer in and out of bed; Simple push a button and extend it to 30″ for. Extendable Bedside Rail.
From ablelifesolutions.com
Bedside ExtendARail Able Life Solutions Extendable Bedside Rail As the only extendable bed rail in the world, the stander ez adjust bed rail offers unmatched versatility. Simple push a button and extend it to 30″ for fall prevention. Extendable legs provides added stability when standing. For a handle to help. Allows for easy transfer in and out of bed; The ez adjust bed rail transforms from a bedside. Extendable Bedside Rail.
From www.rehabmart.com
Length Adjustable Bed Assist Rail from Stander Extendable Bedside Rail Allows for easy transfer in and out of bed; Allows for easy transfer in and out of bed. Pocket organizer provides storage space for handy items; Extendable legs provides added stability when standing. Pocket organizer provides storage space for handy items. Its adjustable length , ranging from. For a handle to help. As the only extendable bed rail in the. Extendable Bedside Rail.
From www.bidfta.com
Agrish Bed Rails for Elderly Adults Safety Medical Bedside Assist Bar Extendable Bedside Rail Simple push a button and extend it to 30″ for fall prevention. As the only extendable bed rail in the world, the stander ez adjust bed rail offers unmatched versatility. Extendable legs provides added stability when standing; The ez adjust bed rail transforms from a bedside handle to a fall prevention bed rail by extending in length from 26 to. Extendable Bedside Rail.
From vi.aliexpress.com
ArrowzoomEasyExtendableBedsideRailGrabBarHandleSupportBracket Extendable Bedside Rail Allows for easy transfer in and out of bed. Simple push a button and extend it to 30″ for fall prevention. Extendable legs provides added stability when standing. Allows for easy transfer in and out of bed; Pocket organizer provides storage space for handy items; Its adjustable length , ranging from. Pocket organizer provides storage space for handy items. The. Extendable Bedside Rail.
From mobilityzone.com.au
Stander Bedside ExtendARail Mobility Zone Extendable Bedside Rail Its adjustable length , ranging from. Extendable legs provides added stability when standing; Pocket organizer provides storage space for handy items; Allows for easy transfer in and out of bed; Extendable legs provides added stability when standing. As the only extendable bed rail in the world, the stander ez adjust bed rail offers unmatched versatility. Allows for easy transfer in. Extendable Bedside Rail.
From www.walmart.com
Bed Rails for Elderly Adjustable Hospital Grade Safety Bed Rail for Extendable Bedside Rail Allows for easy transfer in and out of bed. For a handle to help. Pocket organizer provides storage space for handy items. Extendable legs provides added stability when standing; Simple push a button and extend it to 30″ for fall prevention. Pocket organizer provides storage space for handy items; As the only extendable bed rail in the world, the stander. Extendable Bedside Rail.
From www.ebay.com
well at walgreens extendable bedside rail eBay Extendable Bedside Rail Allows for easy transfer in and out of bed; Its adjustable length , ranging from. Allows for easy transfer in and out of bed. Pocket organizer provides storage space for handy items; Extendable legs provides added stability when standing. Pocket organizer provides storage space for handy items. Simple push a button and extend it to 30″ for fall prevention. The. Extendable Bedside Rail.
From www.gosupps.com
Babelio Toddler Bed Rails, Guardian 39"51" Extendable Bed Guard Rail Extendable Bedside Rail Pocket organizer provides storage space for handy items. As the only extendable bed rail in the world, the stander ez adjust bed rail offers unmatched versatility. Extendable legs provides added stability when standing; Allows for easy transfer in and out of bed. Its adjustable length , ranging from. Extendable legs provides added stability when standing. Pocket organizer provides storage space. Extendable Bedside Rail.
From www.nellisauction.com
2023 New Bed Rails for Elderly Adults Upgraded Adjustable Heights Extendable Bedside Rail As the only extendable bed rail in the world, the stander ez adjust bed rail offers unmatched versatility. Its adjustable length , ranging from. Simple push a button and extend it to 30″ for fall prevention. Pocket organizer provides storage space for handy items. Pocket organizer provides storage space for handy items; Extendable legs provides added stability when standing; Extendable. Extendable Bedside Rail.
From www.homedepot.com
Able Life 20 in. to 30 in. Bedside Extendable Bed Rail Assist Handle in Extendable Bedside Rail The ez adjust bed rail transforms from a bedside handle to a fall prevention bed rail by extending in length from 26 to 34 to 42 inches by locking the push pin in place. Simple push a button and extend it to 30″ for fall prevention. Extendable legs provides added stability when standing; Allows for easy transfer in and out. Extendable Bedside Rail.
From www.desertcart.co.za
Buy Babelio Toddler Bed Rails, Guardian 39"51" Extendable Bed Guard Extendable Bedside Rail Allows for easy transfer in and out of bed. Extendable legs provides added stability when standing; The ez adjust bed rail transforms from a bedside handle to a fall prevention bed rail by extending in length from 26 to 34 to 42 inches by locking the push pin in place. Its adjustable length , ranging from. For a handle to. Extendable Bedside Rail.
From theseniorsworld.com
Best Bed Rails for Seniors Reviews and Buying Guide 2020 Extendable Bedside Rail For a handle to help. Pocket organizer provides storage space for handy items; Extendable legs provides added stability when standing. Simple push a button and extend it to 30″ for fall prevention. Allows for easy transfer in and out of bed; Its adjustable length , ranging from. Pocket organizer provides storage space for handy items. Allows for easy transfer in. Extendable Bedside Rail.
From ablelifesolutions.com
Bedside Sturdy Rail with Legs Able Life Solutions Extendable Bedside Rail Pocket organizer provides storage space for handy items; Pocket organizer provides storage space for handy items. For a handle to help. Extendable legs provides added stability when standing; Simple push a button and extend it to 30″ for fall prevention. As the only extendable bed rail in the world, the stander ez adjust bed rail offers unmatched versatility. The ez. Extendable Bedside Rail.
From fado.vn
Able Life Bedside ExtendARail Adjustable Adult Home Safety Bed Rail Extendable Bedside Rail The ez adjust bed rail transforms from a bedside handle to a fall prevention bed rail by extending in length from 26 to 34 to 42 inches by locking the push pin in place. Its adjustable length , ranging from. Extendable legs provides added stability when standing. Pocket organizer provides storage space for handy items. Extendable legs provides added stability. Extendable Bedside Rail.
From www.youtube.com
How to Assemble the Able Life ClickNGo Extendable Bed Rail on Extendable Bedside Rail For a handle to help. Extendable legs provides added stability when standing. Pocket organizer provides storage space for handy items. The ez adjust bed rail transforms from a bedside handle to a fall prevention bed rail by extending in length from 26 to 34 to 42 inches by locking the push pin in place. Extendable legs provides added stability when. Extendable Bedside Rail.
From quintro.com.au
Bedside ExtendARail Extendable Bedside Rail Simple push a button and extend it to 30″ for fall prevention. Extendable legs provides added stability when standing. Extendable legs provides added stability when standing; For a handle to help. As the only extendable bed rail in the world, the stander ez adjust bed rail offers unmatched versatility. Pocket organizer provides storage space for handy items. Allows for easy. Extendable Bedside Rail.
From daily.com.au
Extendable Side Bed Rail Daily Living Products Extendable Bedside Rail Allows for easy transfer in and out of bed; The ez adjust bed rail transforms from a bedside handle to a fall prevention bed rail by extending in length from 26 to 34 to 42 inches by locking the push pin in place. Pocket organizer provides storage space for handy items; Simple push a button and extend it to 30″. Extendable Bedside Rail.
From www.lowes.com
Essential Medical Supply Height Adjustable Hand Bed Rail for Home Beds Extendable Bedside Rail For a handle to help. As the only extendable bed rail in the world, the stander ez adjust bed rail offers unmatched versatility. Extendable legs provides added stability when standing. The ez adjust bed rail transforms from a bedside handle to a fall prevention bed rail by extending in length from 26 to 34 to 42 inches by locking the. Extendable Bedside Rail.
From ablelifesolutions.com
Bedside ExtendARail Able Life Solutions Extendable Bedside Rail For a handle to help. Extendable legs provides added stability when standing. Allows for easy transfer in and out of bed; Allows for easy transfer in and out of bed. Simple push a button and extend it to 30″ for fall prevention. As the only extendable bed rail in the world, the stander ez adjust bed rail offers unmatched versatility.. Extendable Bedside Rail.
From www.alibaba.com
Extendable Bedside Rail Flip Down Bed Safety Rail For Senior Buy Extendable Bedside Rail Pocket organizer provides storage space for handy items. Simple push a button and extend it to 30″ for fall prevention. Pocket organizer provides storage space for handy items; As the only extendable bed rail in the world, the stander ez adjust bed rail offers unmatched versatility. Extendable legs provides added stability when standing; Extendable legs provides added stability when standing.. Extendable Bedside Rail.
From www.bainbridgemobility.co.uk
Safety Bed Rail Bed Rails for Adults Bainbridge Mobility Ltd Extendable Bedside Rail Extendable legs provides added stability when standing; The ez adjust bed rail transforms from a bedside handle to a fall prevention bed rail by extending in length from 26 to 34 to 42 inches by locking the push pin in place. Its adjustable length , ranging from. Simple push a button and extend it to 30″ for fall prevention. Pocket. Extendable Bedside Rail.
From ablelifesolutions.com
Bedside ExtendARail Able Life Solutions Extendable Bedside Rail Pocket organizer provides storage space for handy items; Pocket organizer provides storage space for handy items. Extendable legs provides added stability when standing. The ez adjust bed rail transforms from a bedside handle to a fall prevention bed rail by extending in length from 26 to 34 to 42 inches by locking the push pin in place. Allows for easy. Extendable Bedside Rail.
From www.walmart.com
Able Life Bedside Extendable Bed Rail for Elderly, Adjustable Safety Extendable Bedside Rail As the only extendable bed rail in the world, the stander ez adjust bed rail offers unmatched versatility. Allows for easy transfer in and out of bed. Its adjustable length , ranging from. Simple push a button and extend it to 30″ for fall prevention. Pocket organizer provides storage space for handy items. For a handle to help. Extendable legs. Extendable Bedside Rail.
From www.walmart.com
Able Life Bedside ExtendARail Adjustable Length Adult Home Bed Rail Extendable Bedside Rail Allows for easy transfer in and out of bed; Extendable legs provides added stability when standing; Pocket organizer provides storage space for handy items. Simple push a button and extend it to 30″ for fall prevention. For a handle to help. Pocket organizer provides storage space for handy items; Its adjustable length , ranging from. Allows for easy transfer in. Extendable Bedside Rail.
From www.vitalitymedical.com
Bed Side Rails by Drive 15001ABV Extendable Bedside Rail As the only extendable bed rail in the world, the stander ez adjust bed rail offers unmatched versatility. Extendable legs provides added stability when standing; Extendable legs provides added stability when standing. Pocket organizer provides storage space for handy items. Simple push a button and extend it to 30″ for fall prevention. For a handle to help. Allows for easy. Extendable Bedside Rail.
From www.walmart.com
Able Life Bedside ExtendARail for Seniors, Adjustable Adult Home Bed Extendable Bedside Rail Simple push a button and extend it to 30″ for fall prevention. Extendable legs provides added stability when standing; Pocket organizer provides storage space for handy items; For a handle to help. The ez adjust bed rail transforms from a bedside handle to a fall prevention bed rail by extending in length from 26 to 34 to 42 inches by. Extendable Bedside Rail.
From www.amazon.ca
Agrish Bed Rails for Elderly Adults with Motion Light & Storage Extendable Bedside Rail Its adjustable length , ranging from. For a handle to help. As the only extendable bed rail in the world, the stander ez adjust bed rail offers unmatched versatility. Extendable legs provides added stability when standing; Pocket organizer provides storage space for handy items. Extendable legs provides added stability when standing. Simple push a button and extend it to 30″. Extendable Bedside Rail.
From www.ebay.com
Stander EZ Home Bed Rail Length Adjustable Folding Rail Black safety Extendable Bedside Rail As the only extendable bed rail in the world, the stander ez adjust bed rail offers unmatched versatility. Extendable legs provides added stability when standing; Allows for easy transfer in and out of bed. Simple push a button and extend it to 30″ for fall prevention. Allows for easy transfer in and out of bed; Extendable legs provides added stability. Extendable Bedside Rail.