Card Shuffler Patent . The shuffler is mounted inside a publication classification. It is the object of the present invention to avoid this disadvantage and to provide a card shuffler of the kind mentioned above which is capable of. An automatic card shuffler to shuffle eight decks of cards (or less) and deal a round of baccarat. A card shuffler is disclosed comprising an inner case slidable in an outer case. The automatic shuffler comprises two pre. The present invention uses random ejection technology to dispense individual cards from a card input unit to a card separation and delivery. This invention relates to shuffling playing cards automatically, and more particularly to a new and improved machine which. Cards settle back into the stack of cards under the influence of gravity. The inner case has a plurality of.
from www.wdrake.com
It is the object of the present invention to avoid this disadvantage and to provide a card shuffler of the kind mentioned above which is capable of. Cards settle back into the stack of cards under the influence of gravity. The present invention uses random ejection technology to dispense individual cards from a card input unit to a card separation and delivery. This invention relates to shuffling playing cards automatically, and more particularly to a new and improved machine which. A card shuffler is disclosed comprising an inner case slidable in an outer case. An automatic card shuffler to shuffle eight decks of cards (or less) and deal a round of baccarat. The shuffler is mounted inside a publication classification. The automatic shuffler comprises two pre. The inner case has a plurality of.
6Deck Automatic Card Shuffler Machine BatteryPowered
Card Shuffler Patent The present invention uses random ejection technology to dispense individual cards from a card input unit to a card separation and delivery. A card shuffler is disclosed comprising an inner case slidable in an outer case. The inner case has a plurality of. The shuffler is mounted inside a publication classification. The automatic shuffler comprises two pre. It is the object of the present invention to avoid this disadvantage and to provide a card shuffler of the kind mentioned above which is capable of. The present invention uses random ejection technology to dispense individual cards from a card input unit to a card separation and delivery. This invention relates to shuffling playing cards automatically, and more particularly to a new and improved machine which. Cards settle back into the stack of cards under the influence of gravity. An automatic card shuffler to shuffle eight decks of cards (or less) and deal a round of baccarat.
From www.cardshufflerguide.com
The best Electric Card Shuffler Card Shuffler Guide Card Shuffler Patent The inner case has a plurality of. The present invention uses random ejection technology to dispense individual cards from a card input unit to a card separation and delivery. A card shuffler is disclosed comprising an inner case slidable in an outer case. It is the object of the present invention to avoid this disadvantage and to provide a card. Card Shuffler Patent.
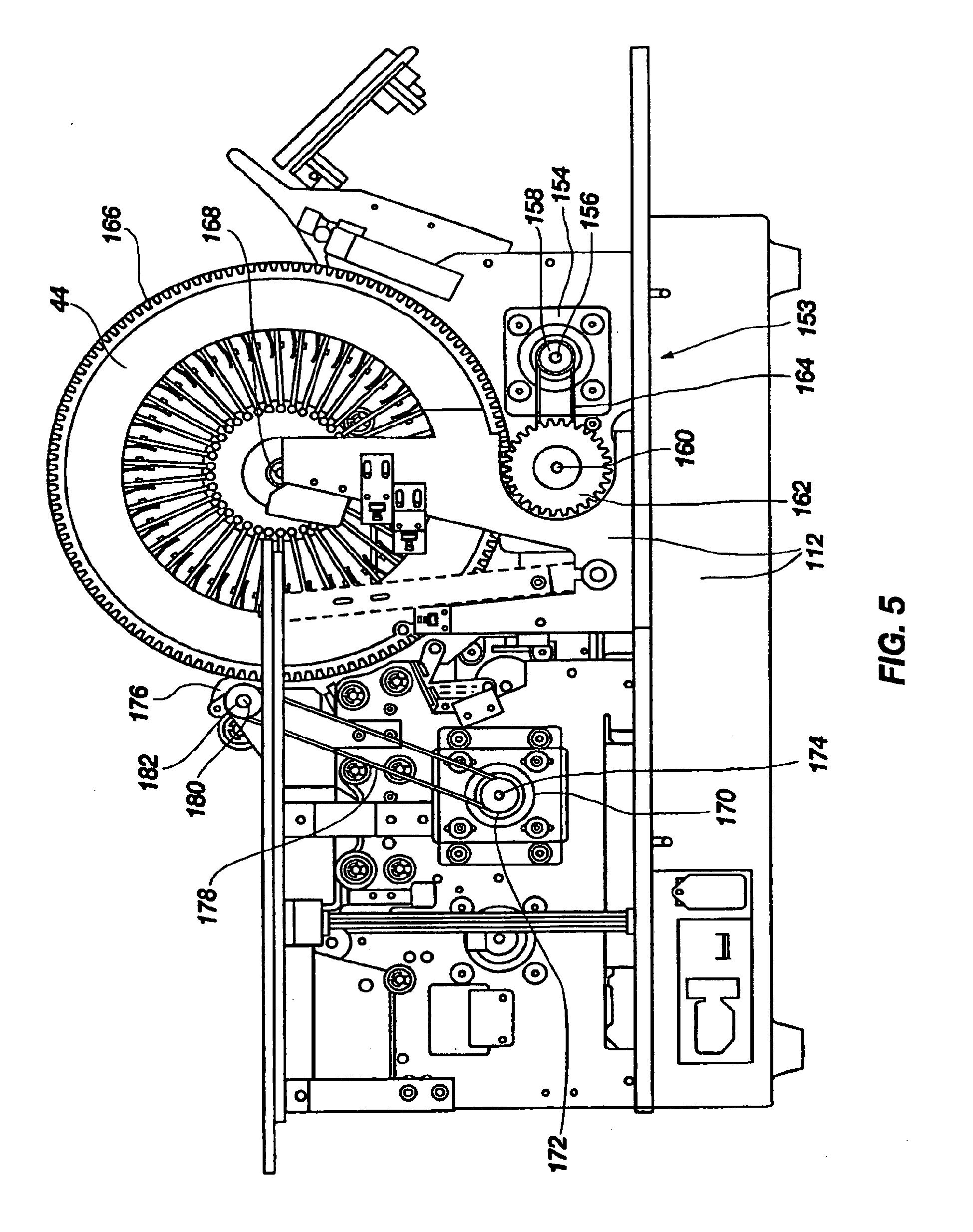
From shuffletech.com
Fully Automatic Shuffler Shuffle Tech Card Shuffler Patent The present invention uses random ejection technology to dispense individual cards from a card input unit to a card separation and delivery. An automatic card shuffler to shuffle eight decks of cards (or less) and deal a round of baccarat. A card shuffler is disclosed comprising an inner case slidable in an outer case. It is the object of the. Card Shuffler Patent.
From museumhead.com
Sports Professional Card Shuffler Automatic Card Shuffler 2 in 1 Card Shuffler Patent The automatic shuffler comprises two pre. Cards settle back into the stack of cards under the influence of gravity. An automatic card shuffler to shuffle eight decks of cards (or less) and deal a round of baccarat. The inner case has a plurality of. This invention relates to shuffling playing cards automatically, and more particularly to a new and improved. Card Shuffler Patent.
From data.epo.org
CARD SHUFFLER Patent 3112004 Card Shuffler Patent Cards settle back into the stack of cards under the influence of gravity. The shuffler is mounted inside a publication classification. A card shuffler is disclosed comprising an inner case slidable in an outer case. This invention relates to shuffling playing cards automatically, and more particularly to a new and improved machine which. An automatic card shuffler to shuffle eight. Card Shuffler Patent.
From www.etsy.com
Arrco Playing Card Shuffler Metal Hand Operated 1960s Card Shuffler Patent The shuffler is mounted inside a publication classification. An automatic card shuffler to shuffle eight decks of cards (or less) and deal a round of baccarat. The present invention uses random ejection technology to dispense individual cards from a card input unit to a card separation and delivery. This invention relates to shuffling playing cards automatically, and more particularly to. Card Shuffler Patent.
From eureka.patsnap.com
Image capturing card shuffler Eureka Patsnap Card Shuffler Patent A card shuffler is disclosed comprising an inner case slidable in an outer case. It is the object of the present invention to avoid this disadvantage and to provide a card shuffler of the kind mentioned above which is capable of. An automatic card shuffler to shuffle eight decks of cards (or less) and deal a round of baccarat. This. Card Shuffler Patent.
From www.martinsmagic.com
Card Shuffler (Model 50) by Nestor Johnson Mfg. Card Shuffler Patent It is the object of the present invention to avoid this disadvantage and to provide a card shuffler of the kind mentioned above which is capable of. The shuffler is mounted inside a publication classification. An automatic card shuffler to shuffle eight decks of cards (or less) and deal a round of baccarat. The inner case has a plurality of.. Card Shuffler Patent.
From www.youtube.com
Top 8 Best Automatic Card Shufflers in 2024 InDepth Reviews & Buying Card Shuffler Patent Cards settle back into the stack of cards under the influence of gravity. The automatic shuffler comprises two pre. An automatic card shuffler to shuffle eight decks of cards (or less) and deal a round of baccarat. This invention relates to shuffling playing cards automatically, and more particularly to a new and improved machine which. It is the object of. Card Shuffler Patent.
From www.instructables.com
Automatic Card Shuffler 6 Steps (with Pictures) Instructables Card Shuffler Patent The shuffler is mounted inside a publication classification. An automatic card shuffler to shuffle eight decks of cards (or less) and deal a round of baccarat. A card shuffler is disclosed comprising an inner case slidable in an outer case. The automatic shuffler comprises two pre. The inner case has a plurality of. Cards settle back into the stack of. Card Shuffler Patent.
From www.wdrake.com
6Deck Automatic Card Shuffler Machine BatteryPowered Card Shuffler Patent A card shuffler is disclosed comprising an inner case slidable in an outer case. The automatic shuffler comprises two pre. The shuffler is mounted inside a publication classification. This invention relates to shuffling playing cards automatically, and more particularly to a new and improved machine which. An automatic card shuffler to shuffle eight decks of cards (or less) and deal. Card Shuffler Patent.
From recroompick.com
7 Best Card Shufflers Reviewed in Detail (Feb. 2021) Card Shuffler Patent Cards settle back into the stack of cards under the influence of gravity. The shuffler is mounted inside a publication classification. A card shuffler is disclosed comprising an inner case slidable in an outer case. It is the object of the present invention to avoid this disadvantage and to provide a card shuffler of the kind mentioned above which is. Card Shuffler Patent.
From www.google.com
Patent US8342525 Card shuffler with adjacent card infeed and card Card Shuffler Patent A card shuffler is disclosed comprising an inner case slidable in an outer case. An automatic card shuffler to shuffle eight decks of cards (or less) and deal a round of baccarat. Cards settle back into the stack of cards under the influence of gravity. It is the object of the present invention to avoid this disadvantage and to provide. Card Shuffler Patent.
From www.martinsmagic.com
Card Shuffler (Model 50) by Nestor Johnson Mfg. Card Shuffler Patent The present invention uses random ejection technology to dispense individual cards from a card input unit to a card separation and delivery. It is the object of the present invention to avoid this disadvantage and to provide a card shuffler of the kind mentioned above which is capable of. The inner case has a plurality of. The shuffler is mounted. Card Shuffler Patent.
From www.google.com
Patent US7584963 Preshuffler for a playing card shuffling machine Card Shuffler Patent An automatic card shuffler to shuffle eight decks of cards (or less) and deal a round of baccarat. The automatic shuffler comprises two pre. The inner case has a plurality of. The present invention uses random ejection technology to dispense individual cards from a card input unit to a card separation and delivery. Cards settle back into the stack of. Card Shuffler Patent.
From www.google.co.uk
Patent US7669852 Automatic card shuffler Google Patents Card Shuffler Patent The present invention uses random ejection technology to dispense individual cards from a card input unit to a card separation and delivery. It is the object of the present invention to avoid this disadvantage and to provide a card shuffler of the kind mentioned above which is capable of. The shuffler is mounted inside a publication classification. Cards settle back. Card Shuffler Patent.
From www.baronbarclay.com
2Deck Manual Card Shuffler for Poker and Bridge Size Cards Baron Card Shuffler Patent An automatic card shuffler to shuffle eight decks of cards (or less) and deal a round of baccarat. The inner case has a plurality of. A card shuffler is disclosed comprising an inner case slidable in an outer case. The shuffler is mounted inside a publication classification. The automatic shuffler comprises two pre. It is the object of the present. Card Shuffler Patent.
From eureka.patsnap.com
Image capturing card shuffler Eureka Patsnap Card Shuffler Patent The inner case has a plurality of. An automatic card shuffler to shuffle eight decks of cards (or less) and deal a round of baccarat. The present invention uses random ejection technology to dispense individual cards from a card input unit to a card separation and delivery. The automatic shuffler comprises two pre. It is the object of the present. Card Shuffler Patent.
From www.frontlinehobbies.com.au
Automatic Card Shuffler Card Shuffler Patent Cards settle back into the stack of cards under the influence of gravity. This invention relates to shuffling playing cards automatically, and more particularly to a new and improved machine which. An automatic card shuffler to shuffle eight decks of cards (or less) and deal a round of baccarat. A card shuffler is disclosed comprising an inner case slidable in. Card Shuffler Patent.
From www.baronbarclay.com
2Deck Manual Card Shuffler for Poker and Bridge Size Cards Baron Card Shuffler Patent The inner case has a plurality of. This invention relates to shuffling playing cards automatically, and more particularly to a new and improved machine which. The present invention uses random ejection technology to dispense individual cards from a card input unit to a card separation and delivery. The shuffler is mounted inside a publication classification. It is the object of. Card Shuffler Patent.
From www.kohls.com
Manual Card Shuffler by John N. Hansen Co. Card Shuffler Patent The shuffler is mounted inside a publication classification. An automatic card shuffler to shuffle eight decks of cards (or less) and deal a round of baccarat. This invention relates to shuffling playing cards automatically, and more particularly to a new and improved machine which. The inner case has a plurality of. It is the object of the present invention to. Card Shuffler Patent.
From www.madeinchicagomuseum.com
Card Shuffler by Nestor Johnson MFG Co., 1951 MadeinChicago Museum Card Shuffler Patent Cards settle back into the stack of cards under the influence of gravity. The inner case has a plurality of. The automatic shuffler comprises two pre. An automatic card shuffler to shuffle eight decks of cards (or less) and deal a round of baccarat. The shuffler is mounted inside a publication classification. The present invention uses random ejection technology to. Card Shuffler Patent.
From www.interneteyes.co.uk
Best Card Shufflers 2020 (Automatic and Manual) Eyes Card Shuffler Patent An automatic card shuffler to shuffle eight decks of cards (or less) and deal a round of baccarat. The shuffler is mounted inside a publication classification. A card shuffler is disclosed comprising an inner case slidable in an outer case. This invention relates to shuffling playing cards automatically, and more particularly to a new and improved machine which. The inner. Card Shuffler Patent.
From www.walmart.com
MultiDeck Automatic Battery Operated Playing Card Shufflers Card Shuffler Patent The automatic shuffler comprises two pre. A card shuffler is disclosed comprising an inner case slidable in an outer case. This invention relates to shuffling playing cards automatically, and more particularly to a new and improved machine which. An automatic card shuffler to shuffle eight decks of cards (or less) and deal a round of baccarat. Cards settle back into. Card Shuffler Patent.
From www.madeinchicagomuseum.com
Card Shuffler by Nestor Johnson MFG Co., 1951 MadeinChicago Museum Card Shuffler Patent Cards settle back into the stack of cards under the influence of gravity. The automatic shuffler comprises two pre. The present invention uses random ejection technology to dispense individual cards from a card input unit to a card separation and delivery. The shuffler is mounted inside a publication classification. An automatic card shuffler to shuffle eight decks of cards (or. Card Shuffler Patent.
From www.cardshufflerguide.com
Best Card Shuffler Card Shuffling Machine Buying Guide Card Shuffler Patent The present invention uses random ejection technology to dispense individual cards from a card input unit to a card separation and delivery. This invention relates to shuffling playing cards automatically, and more particularly to a new and improved machine which. It is the object of the present invention to avoid this disadvantage and to provide a card shuffler of the. Card Shuffler Patent.
From spinettisgaming.com
Shuffler Playing Card Shuffler 1 2 Decks Battery Operated Card Shuffler Patent Cards settle back into the stack of cards under the influence of gravity. The shuffler is mounted inside a publication classification. It is the object of the present invention to avoid this disadvantage and to provide a card shuffler of the kind mentioned above which is capable of. This invention relates to shuffling playing cards automatically, and more particularly to. Card Shuffler Patent.
From www.wayfair.com
WYZworks Electric Card Shuffler & Reviews Wayfair Card Shuffler Patent It is the object of the present invention to avoid this disadvantage and to provide a card shuffler of the kind mentioned above which is capable of. The inner case has a plurality of. The present invention uses random ejection technology to dispense individual cards from a card input unit to a card separation and delivery. The automatic shuffler comprises. Card Shuffler Patent.
From eureka.patsnap.com
Image capturing card shuffler Eureka Patsnap Card Shuffler Patent The shuffler is mounted inside a publication classification. Cards settle back into the stack of cards under the influence of gravity. The inner case has a plurality of. The automatic shuffler comprises two pre. A card shuffler is disclosed comprising an inner case slidable in an outer case. It is the object of the present invention to avoid this disadvantage. Card Shuffler Patent.
From www.walmart.com
6 Deck Card Shufflers, Electric Card Shuffler Automatic Battery Powered Card Shuffler Patent An automatic card shuffler to shuffle eight decks of cards (or less) and deal a round of baccarat. It is the object of the present invention to avoid this disadvantage and to provide a card shuffler of the kind mentioned above which is capable of. This invention relates to shuffling playing cards automatically, and more particularly to a new and. Card Shuffler Patent.
From www.dkgameroomoutlet.com
6 Deck Automatic Card Shuffler BatteryOperated GSHU003 Card Shuffler Patent The present invention uses random ejection technology to dispense individual cards from a card input unit to a card separation and delivery. The inner case has a plurality of. An automatic card shuffler to shuffle eight decks of cards (or less) and deal a round of baccarat. The automatic shuffler comprises two pre. This invention relates to shuffling playing cards. Card Shuffler Patent.
From www.google.co.uk
Patent US7677566 Preshuffler for a playing card shuffling machine Card Shuffler Patent The shuffler is mounted inside a publication classification. It is the object of the present invention to avoid this disadvantage and to provide a card shuffler of the kind mentioned above which is capable of. Cards settle back into the stack of cards under the influence of gravity. The automatic shuffler comprises two pre. A card shuffler is disclosed comprising. Card Shuffler Patent.
From www.google.com.mx
Patent EP2035102B1 Card shuffler with adjacent card infeed and card Card Shuffler Patent This invention relates to shuffling playing cards automatically, and more particularly to a new and improved machine which. The present invention uses random ejection technology to dispense individual cards from a card input unit to a card separation and delivery. The shuffler is mounted inside a publication classification. It is the object of the present invention to avoid this disadvantage. Card Shuffler Patent.
From www.jabetc.com
Manual Card Shuffler JABETC Quality Tools and Home Products Card Shuffler Patent The automatic shuffler comprises two pre. The present invention uses random ejection technology to dispense individual cards from a card input unit to a card separation and delivery. The inner case has a plurality of. An automatic card shuffler to shuffle eight decks of cards (or less) and deal a round of baccarat. The shuffler is mounted inside a publication. Card Shuffler Patent.
From www.madeinchicagomuseum.com
Card Shuffler by Nestor Johnson MFG Co., 1951 MadeinChicago Museum Card Shuffler Patent Cards settle back into the stack of cards under the influence of gravity. An automatic card shuffler to shuffle eight decks of cards (or less) and deal a round of baccarat. This invention relates to shuffling playing cards automatically, and more particularly to a new and improved machine which. It is the object of the present invention to avoid this. Card Shuffler Patent.
From www.kmart.com
Trademark 4 Deck Automatic Card Shuffler Card Shuffler Patent The inner case has a plurality of. This invention relates to shuffling playing cards automatically, and more particularly to a new and improved machine which. The present invention uses random ejection technology to dispense individual cards from a card input unit to a card separation and delivery. An automatic card shuffler to shuffle eight decks of cards (or less) and. Card Shuffler Patent.