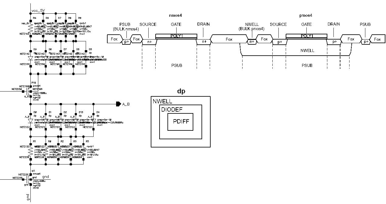
Latch Up Electronics . This article explains the scr structure, the. See the diagrams and equations that. Learn about the types, triggers, and solutions of internal.
from guidefixpektemseisysx.z21.web.core.windows.net
See the diagrams and equations that. Learn about the types, triggers, and solutions of internal. This article explains the scr structure, the.
Circuits With Latches In Digital Electronics
Latch Up Electronics Learn about the types, triggers, and solutions of internal. See the diagrams and equations that. This article explains the scr structure, the. Learn about the types, triggers, and solutions of internal.
From wiredatapozajmitgq.z22.web.core.windows.net
Latch Switch Circuit Diagram Latch Up Electronics Learn about the types, triggers, and solutions of internal. This article explains the scr structure, the. See the diagrams and equations that. Latch Up Electronics.
From guidefixpektemseisysx.z21.web.core.windows.net
Circuits With Latches In Digital Electronics Latch Up Electronics Learn about the types, triggers, and solutions of internal. See the diagrams and equations that. This article explains the scr structure, the. Latch Up Electronics.
From www.ednasia.com
Analog IC codesign for latchup compliance EDN Asia Latch Up Electronics See the diagrams and equations that. Learn about the types, triggers, and solutions of internal. This article explains the scr structure, the. Latch Up Electronics.
From www.buildcircuit.com
Latchup circuit using 555 and optocoupler BuildCircuit Electronics Latch Up Electronics See the diagrams and equations that. Learn about the types, triggers, and solutions of internal. This article explains the scr structure, the. Latch Up Electronics.
From www.mdpi.com
Electronics Free FullText Study of Single Event LatchUp Hardness Latch Up Electronics Learn about the types, triggers, and solutions of internal. This article explains the scr structure, the. See the diagrams and equations that. Latch Up Electronics.
From anysilicon.com
What is LatchUp and How to Test It AnySilicon Latch Up Electronics See the diagrams and equations that. Learn about the types, triggers, and solutions of internal. This article explains the scr structure, the. Latch Up Electronics.
From www.scribd.com
LATCH UP CMOS Inverter PDF Bipolar Junction Transistor Cmos Latch Up Electronics This article explains the scr structure, the. Learn about the types, triggers, and solutions of internal. See the diagrams and equations that. Latch Up Electronics.
From katechezaaoschematic.z14.web.core.windows.net
Circuits With Latches In Digital Electronics Latch Up Electronics This article explains the scr structure, the. Learn about the types, triggers, and solutions of internal. See the diagrams and equations that. Latch Up Electronics.
From anysilicon.com
What is LatchUp and How to Test It AnySilicon Latch Up Electronics Learn about the types, triggers, and solutions of internal. This article explains the scr structure, the. See the diagrams and equations that. Latch Up Electronics.
From circuitnotenkram6w.z22.web.core.windows.net
What Is Latching Circuit Latch Up Electronics This article explains the scr structure, the. Learn about the types, triggers, and solutions of internal. See the diagrams and equations that. Latch Up Electronics.
From www.vrogue.co
How To Build A Latch Circuit With Transistors vrogue.co Latch Up Electronics This article explains the scr structure, the. Learn about the types, triggers, and solutions of internal. See the diagrams and equations that. Latch Up Electronics.
From www.ednasia.com
Analog IC codesign for latchup compliance EDN Asia Latch Up Electronics This article explains the scr structure, the. See the diagrams and equations that. Learn about the types, triggers, and solutions of internal. Latch Up Electronics.
From www.ednasia.com
Analog IC codesign for latchup compliance EDN Asia Latch Up Electronics See the diagrams and equations that. This article explains the scr structure, the. Learn about the types, triggers, and solutions of internal. Latch Up Electronics.
From www.slideserve.com
PPT LatchUP PowerPoint Presentation, free download ID5779057 Latch Up Electronics See the diagrams and equations that. Learn about the types, triggers, and solutions of internal. This article explains the scr structure, the. Latch Up Electronics.
From www.edn.com
Analog IC codesign for latchup compliance EDN Latch Up Electronics Learn about the types, triggers, and solutions of internal. See the diagrams and equations that. This article explains the scr structure, the. Latch Up Electronics.
From www.edn.com
Analog IC codesign for latchup compliance EDN Latch Up Electronics See the diagrams and equations that. This article explains the scr structure, the. Learn about the types, triggers, and solutions of internal. Latch Up Electronics.
From wiringenginehospodars.z21.web.core.windows.net
Circuits With Latches In Digital Electronics Latch Up Electronics Learn about the types, triggers, and solutions of internal. This article explains the scr structure, the. See the diagrams and equations that. Latch Up Electronics.
From www.youtube.com
LATCHUP IN CMOS CIRCUITS YouTube Latch Up Electronics Learn about the types, triggers, and solutions of internal. This article explains the scr structure, the. See the diagrams and equations that. Latch Up Electronics.
From www.pinterest.co.uk
pt2399 latch up Electronics projects, Analysis, Electronics Latch Up Electronics This article explains the scr structure, the. Learn about the types, triggers, and solutions of internal. See the diagrams and equations that. Latch Up Electronics.
From www.semanticscholar.org
[PDF] Active Guard Ring to Improve LatchUp Immunity Semantic Scholar Latch Up Electronics This article explains the scr structure, the. See the diagrams and equations that. Learn about the types, triggers, and solutions of internal. Latch Up Electronics.
From www.edn.com
Analog IC codesign for latchup compliance EDN Latch Up Electronics See the diagrams and equations that. This article explains the scr structure, the. Learn about the types, triggers, and solutions of internal. Latch Up Electronics.
From www.scribd.com
Latch Up Causes and Prevention ELEC 353 Electronics II Instructor Latch Up Electronics See the diagrams and equations that. This article explains the scr structure, the. Learn about the types, triggers, and solutions of internal. Latch Up Electronics.
From www.youtube.com
Latch up in CMOS circuits SCR VLSI Lec23 YouTube Latch Up Electronics See the diagrams and equations that. Learn about the types, triggers, and solutions of internal. This article explains the scr structure, the. Latch Up Electronics.
From www.edaboard.com
latch up which device induces latchup? Forum for Electronics Latch Up Electronics Learn about the types, triggers, and solutions of internal. This article explains the scr structure, the. See the diagrams and equations that. Latch Up Electronics.
From www.ictest8.com
ESD Latch up测试简介_专业集成电路测试网芯片测试技术ic test Latch Up Electronics Learn about the types, triggers, and solutions of internal. See the diagrams and equations that. This article explains the scr structure, the. Latch Up Electronics.
From www.camlock.com
Electronic locking and electronic latches Camlock Systems Latch Up Electronics This article explains the scr structure, the. Learn about the types, triggers, and solutions of internal. See the diagrams and equations that. Latch Up Electronics.
From www.edn.com
Analog IC codesign for latchup compliance EDN Latch Up Electronics This article explains the scr structure, the. Learn about the types, triggers, and solutions of internal. See the diagrams and equations that. Latch Up Electronics.
From www.edn.com
Analog IC codesign for latchup compliance EDN Latch Up Electronics This article explains the scr structure, the. Learn about the types, triggers, and solutions of internal. See the diagrams and equations that. Latch Up Electronics.
From www.slideshare.net
Latch up Latch Up Electronics See the diagrams and equations that. Learn about the types, triggers, and solutions of internal. This article explains the scr structure, the. Latch Up Electronics.
From tech.tdzire.com
Latch Vs Flip Flop What are the differences between a Latch and a Latch Up Electronics See the diagrams and equations that. Learn about the types, triggers, and solutions of internal. This article explains the scr structure, the. Latch Up Electronics.
From siliconvlsi.com
LatchUp Prevention Techniques Siliconvlsi Latch Up Electronics Learn about the types, triggers, and solutions of internal. This article explains the scr structure, the. See the diagrams and equations that. Latch Up Electronics.
From www.edn.com
Analog IC codesign for latchup compliance EDN Latch Up Electronics Learn about the types, triggers, and solutions of internal. This article explains the scr structure, the. See the diagrams and equations that. Latch Up Electronics.
From www.edn.com
Analog IC codesign for latchup compliance EDN Latch Up Electronics This article explains the scr structure, the. See the diagrams and equations that. Learn about the types, triggers, and solutions of internal. Latch Up Electronics.
From www.edn.com
Analog IC codesign for latchup compliance EDN Latch Up Electronics This article explains the scr structure, the. Learn about the types, triggers, and solutions of internal. See the diagrams and equations that. Latch Up Electronics.
From www.researchgate.net
(a) The voltage regulation with latchup prevention circuit, and (b Latch Up Electronics See the diagrams and equations that. Learn about the types, triggers, and solutions of internal. This article explains the scr structure, the. Latch Up Electronics.