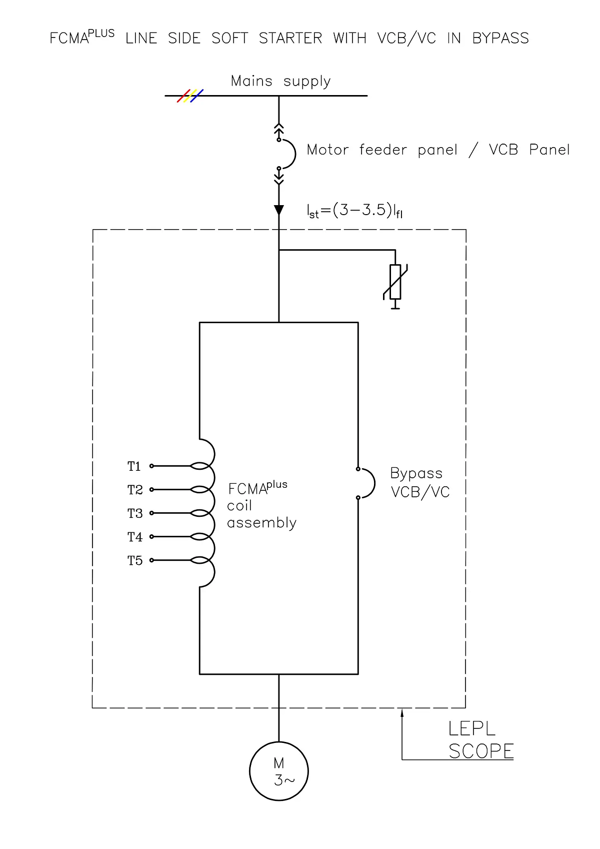
Hfsr Soft Starter Working Principle . principle of opera tion : this document provides information on jayashree's harmonic free series reactor (hfsr) soft starters for induction motors up to 10,000 kw. The hfsr acts as impedance in series with motor winding and allows only a part of the line voltage. the design of the rotor affects the starting current and torque and the variation can be really large. The hfsr acts as impedance in series with motor winding and allows only a part of the line voltage to be. Time of soft start and stop is suitable. With this air core reactor coil soft.
from learnchannel-tv.com
this document provides information on jayashree's harmonic free series reactor (hfsr) soft starters for induction motors up to 10,000 kw. The hfsr acts as impedance in series with motor winding and allows only a part of the line voltage to be. The hfsr acts as impedance in series with motor winding and allows only a part of the line voltage. the design of the rotor affects the starting current and torque and the variation can be really large. With this air core reactor coil soft. principle of opera tion : Time of soft start and stop is suitable.
Soft starter
Hfsr Soft Starter Working Principle this document provides information on jayashree's harmonic free series reactor (hfsr) soft starters for induction motors up to 10,000 kw. principle of opera tion : The hfsr acts as impedance in series with motor winding and allows only a part of the line voltage to be. this document provides information on jayashree's harmonic free series reactor (hfsr) soft starters for induction motors up to 10,000 kw. the design of the rotor affects the starting current and torque and the variation can be really large. The hfsr acts as impedance in series with motor winding and allows only a part of the line voltage. Time of soft start and stop is suitable. With this air core reactor coil soft.
From www.youtube.com
soft starter working animation soft starter working principle in hindi circuit diagram Hfsr Soft Starter Working Principle The hfsr acts as impedance in series with motor winding and allows only a part of the line voltage to be. The hfsr acts as impedance in series with motor winding and allows only a part of the line voltage. With this air core reactor coil soft. Time of soft start and stop is suitable. this document provides information. Hfsr Soft Starter Working Principle.
From wirelistobliquity.z19.web.core.windows.net
Soft Starter Diagram Hfsr Soft Starter Working Principle this document provides information on jayashree's harmonic free series reactor (hfsr) soft starters for induction motors up to 10,000 kw. Time of soft start and stop is suitable. The hfsr acts as impedance in series with motor winding and allows only a part of the line voltage. principle of opera tion : The hfsr acts as impedance in. Hfsr Soft Starter Working Principle.
From micronovaimpex.com
Soft Starter Working Principle, Applications, Features and Types Explained Shop Micronova Impex Hfsr Soft Starter Working Principle this document provides information on jayashree's harmonic free series reactor (hfsr) soft starters for induction motors up to 10,000 kw. The hfsr acts as impedance in series with motor winding and allows only a part of the line voltage. The hfsr acts as impedance in series with motor winding and allows only a part of the line voltage to. Hfsr Soft Starter Working Principle.
From instrumentationtools.com
What is a Soft Starter? Principle, Advantages, Disadvantages Hfsr Soft Starter Working Principle principle of opera tion : this document provides information on jayashree's harmonic free series reactor (hfsr) soft starters for induction motors up to 10,000 kw. the design of the rotor affects the starting current and torque and the variation can be really large. With this air core reactor coil soft. The hfsr acts as impedance in series. Hfsr Soft Starter Working Principle.
From tahasservis.com
HFSR Soft Starter ABB Soft Starter Tahaş Servis Hfsr Soft Starter Working Principle The hfsr acts as impedance in series with motor winding and allows only a part of the line voltage. The hfsr acts as impedance in series with motor winding and allows only a part of the line voltage to be. principle of opera tion : With this air core reactor coil soft. the design of the rotor affects. Hfsr Soft Starter Working Principle.
From studylib.net
Soft Starters Hfsr Soft Starter Working Principle the design of the rotor affects the starting current and torque and the variation can be really large. Time of soft start and stop is suitable. principle of opera tion : With this air core reactor coil soft. this document provides information on jayashree's harmonic free series reactor (hfsr) soft starters for induction motors up to 10,000. Hfsr Soft Starter Working Principle.
From www.scribd.com
HFSR Soft Starter PDF Electric Motor Transformer Hfsr Soft Starter Working Principle Time of soft start and stop is suitable. With this air core reactor coil soft. principle of opera tion : The hfsr acts as impedance in series with motor winding and allows only a part of the line voltage to be. this document provides information on jayashree's harmonic free series reactor (hfsr) soft starters for induction motors up. Hfsr Soft Starter Working Principle.
From wirelibrarytemenos.z14.web.core.windows.net
Soft Starter Wiring Diagram Pdf Hfsr Soft Starter Working Principle this document provides information on jayashree's harmonic free series reactor (hfsr) soft starters for induction motors up to 10,000 kw. principle of opera tion : With this air core reactor coil soft. Time of soft start and stop is suitable. The hfsr acts as impedance in series with motor winding and allows only a part of the line. Hfsr Soft Starter Working Principle.
From learnchannel-tv.com
Soft starter Hfsr Soft Starter Working Principle The hfsr acts as impedance in series with motor winding and allows only a part of the line voltage. The hfsr acts as impedance in series with motor winding and allows only a part of the line voltage to be. the design of the rotor affects the starting current and torque and the variation can be really large. With. Hfsr Soft Starter Working Principle.
From baizaautomation.com
Soft Starter Principle and Working Baiza Automation Hfsr Soft Starter Working Principle the design of the rotor affects the starting current and torque and the variation can be really large. The hfsr acts as impedance in series with motor winding and allows only a part of the line voltage to be. With this air core reactor coil soft. this document provides information on jayashree's harmonic free series reactor (hfsr) soft. Hfsr Soft Starter Working Principle.
From mi-pro.co.uk
Basics of Soft Starter, Working Principle With Example and Advantages, soft basic mipro.co.uk Hfsr Soft Starter Working Principle With this air core reactor coil soft. this document provides information on jayashree's harmonic free series reactor (hfsr) soft starters for induction motors up to 10,000 kw. The hfsr acts as impedance in series with motor winding and allows only a part of the line voltage. The hfsr acts as impedance in series with motor winding and allows only. Hfsr Soft Starter Working Principle.
From www.tahas.com
HFSR SOFT STARTER TAHAS Hfsr Soft Starter Working Principle With this air core reactor coil soft. Time of soft start and stop is suitable. The hfsr acts as impedance in series with motor winding and allows only a part of the line voltage to be. principle of opera tion : the design of the rotor affects the starting current and torque and the variation can be really. Hfsr Soft Starter Working Principle.
From www.scribd.com
Soft Starter Working Principle Electrical Solution & Technology PDF Power Inverter Hfsr Soft Starter Working Principle With this air core reactor coil soft. The hfsr acts as impedance in series with motor winding and allows only a part of the line voltage. this document provides information on jayashree's harmonic free series reactor (hfsr) soft starters for induction motors up to 10,000 kw. The hfsr acts as impedance in series with motor winding and allows only. Hfsr Soft Starter Working Principle.
From www.researchgate.net
Schematic diagram of soft starter. Download Scientific Diagram Hfsr Soft Starter Working Principle The hfsr acts as impedance in series with motor winding and allows only a part of the line voltage to be. The hfsr acts as impedance in series with motor winding and allows only a part of the line voltage. this document provides information on jayashree's harmonic free series reactor (hfsr) soft starters for induction motors up to 10,000. Hfsr Soft Starter Working Principle.
From www.innovativetechnomics.com
Innovative Technomics Pvt Ltd. High Tension Soft Starter Hfsr Soft Starter Working Principle principle of opera tion : this document provides information on jayashree's harmonic free series reactor (hfsr) soft starters for induction motors up to 10,000 kw. Time of soft start and stop is suitable. The hfsr acts as impedance in series with motor winding and allows only a part of the line voltage. The hfsr acts as impedance in. Hfsr Soft Starter Working Principle.
From www.electricalterminology.com
How Does a Soft Starter Work? How It Reduces Motor Stress Hfsr Soft Starter Working Principle The hfsr acts as impedance in series with motor winding and allows only a part of the line voltage to be. The hfsr acts as impedance in series with motor winding and allows only a part of the line voltage. the design of the rotor affects the starting current and torque and the variation can be really large. . Hfsr Soft Starter Working Principle.
From www.vrogue.co
What Is Soft Starter And How It Works vrogue.co Hfsr Soft Starter Working Principle The hfsr acts as impedance in series with motor winding and allows only a part of the line voltage to be. this document provides information on jayashree's harmonic free series reactor (hfsr) soft starters for induction motors up to 10,000 kw. Time of soft start and stop is suitable. the design of the rotor affects the starting current. Hfsr Soft Starter Working Principle.
From www.youtube.com
Soft Starter and VFD Working Principal How did Soft Starter & VFD Working by Fatima Tech YouTube Hfsr Soft Starter Working Principle Time of soft start and stop is suitable. the design of the rotor affects the starting current and torque and the variation can be really large. The hfsr acts as impedance in series with motor winding and allows only a part of the line voltage to be. With this air core reactor coil soft. principle of opera tion. Hfsr Soft Starter Working Principle.
From www.softstarter.in
Sakthi Power Innovatives HFSR SOFT STARTER manufacturers in Alleppey, Alappuzha, Kerala India Hfsr Soft Starter Working Principle The hfsr acts as impedance in series with motor winding and allows only a part of the line voltage to be. the design of the rotor affects the starting current and torque and the variation can be really large. The hfsr acts as impedance in series with motor winding and allows only a part of the line voltage. . Hfsr Soft Starter Working Principle.
From instrumentationtools.com
What is a Soft Starter? Principle, Advantages, Disadvantages Hfsr Soft Starter Working Principle Time of soft start and stop is suitable. The hfsr acts as impedance in series with motor winding and allows only a part of the line voltage. the design of the rotor affects the starting current and torque and the variation can be really large. this document provides information on jayashree's harmonic free series reactor (hfsr) soft starters. Hfsr Soft Starter Working Principle.
From www.youtube.com
What is a soft starter ? And it's operating principle. YouTube Hfsr Soft Starter Working Principle With this air core reactor coil soft. this document provides information on jayashree's harmonic free series reactor (hfsr) soft starters for induction motors up to 10,000 kw. the design of the rotor affects the starting current and torque and the variation can be really large. The hfsr acts as impedance in series with motor winding and allows only. Hfsr Soft Starter Working Principle.
From softstarter.in
FCMA soft starter manufacturers in india, HFSR Soft Starter Manufacturing Companies in Alleppey Hfsr Soft Starter Working Principle Time of soft start and stop is suitable. The hfsr acts as impedance in series with motor winding and allows only a part of the line voltage to be. principle of opera tion : With this air core reactor coil soft. The hfsr acts as impedance in series with motor winding and allows only a part of the line. Hfsr Soft Starter Working Principle.
From electrialstandards.blogspot.com
Electrical Standards Soft Starter Working Principle and Circuit Diagrams Hfsr Soft Starter Working Principle the design of the rotor affects the starting current and torque and the variation can be really large. principle of opera tion : The hfsr acts as impedance in series with motor winding and allows only a part of the line voltage to be. this document provides information on jayashree's harmonic free series reactor (hfsr) soft starters. Hfsr Soft Starter Working Principle.
From softstarter.in
FCMA soft starter manufacturers in india, HFSR Soft Starter Manufacturing Companies in Alleppey Hfsr Soft Starter Working Principle Time of soft start and stop is suitable. The hfsr acts as impedance in series with motor winding and allows only a part of the line voltage to be. The hfsr acts as impedance in series with motor winding and allows only a part of the line voltage. the design of the rotor affects the starting current and torque. Hfsr Soft Starter Working Principle.
From www.youtube.com
Soft Starter Working Principle Soft Starter Control Wiring Diagram Induction Motor Hfsr Soft Starter Working Principle the design of the rotor affects the starting current and torque and the variation can be really large. The hfsr acts as impedance in series with motor winding and allows only a part of the line voltage to be. The hfsr acts as impedance in series with motor winding and allows only a part of the line voltage. With. Hfsr Soft Starter Working Principle.
From tahasservis.com
HFSR Soft Starter ABB Soft Starter Tahaş Servis Hfsr Soft Starter Working Principle this document provides information on jayashree's harmonic free series reactor (hfsr) soft starters for induction motors up to 10,000 kw. The hfsr acts as impedance in series with motor winding and allows only a part of the line voltage. principle of opera tion : Time of soft start and stop is suitable. With this air core reactor coil. Hfsr Soft Starter Working Principle.
From medium.com
This article by Lecon energetics, a leading FCMA/HFSR soft starter manufacturer will educate you Hfsr Soft Starter Working Principle The hfsr acts as impedance in series with motor winding and allows only a part of the line voltage to be. With this air core reactor coil soft. this document provides information on jayashree's harmonic free series reactor (hfsr) soft starters for induction motors up to 10,000 kw. principle of opera tion : Time of soft start and. Hfsr Soft Starter Working Principle.
From micronovaimpex.com
Soft Starter Working Principle, Applications, Features and Types Explained Shop Micronova Impex Hfsr Soft Starter Working Principle the design of the rotor affects the starting current and torque and the variation can be really large. The hfsr acts as impedance in series with motor winding and allows only a part of the line voltage to be. principle of opera tion : this document provides information on jayashree's harmonic free series reactor (hfsr) soft starters. Hfsr Soft Starter Working Principle.
From tahasservis.com
Soft Starter Nedir? Soft Starter Hataları ve Çözümleri Hfsr Soft Starter Working Principle principle of opera tion : Time of soft start and stop is suitable. The hfsr acts as impedance in series with motor winding and allows only a part of the line voltage. The hfsr acts as impedance in series with motor winding and allows only a part of the line voltage to be. the design of the rotor. Hfsr Soft Starter Working Principle.
From www.youtube.com
Soft starter working principal and its detail YouTube Hfsr Soft Starter Working Principle The hfsr acts as impedance in series with motor winding and allows only a part of the line voltage to be. principle of opera tion : With this air core reactor coil soft. the design of the rotor affects the starting current and torque and the variation can be really large. Time of soft start and stop is. Hfsr Soft Starter Working Principle.
From www.youtube.com
How soft starter works, Perfect motor starter, Working principle of VFD & Soft starter YouTube Hfsr Soft Starter Working Principle The hfsr acts as impedance in series with motor winding and allows only a part of the line voltage to be. this document provides information on jayashree's harmonic free series reactor (hfsr) soft starters for induction motors up to 10,000 kw. With this air core reactor coil soft. The hfsr acts as impedance in series with motor winding and. Hfsr Soft Starter Working Principle.
From www.dosupply.com
What is a Soft Starter? Do Supply Tech Support Hfsr Soft Starter Working Principle Time of soft start and stop is suitable. The hfsr acts as impedance in series with motor winding and allows only a part of the line voltage to be. The hfsr acts as impedance in series with motor winding and allows only a part of the line voltage. the design of the rotor affects the starting current and torque. Hfsr Soft Starter Working Principle.
From www.elprocus.com
Basics of Soft Starter, Working Principle With Example and Advantages Hfsr Soft Starter Working Principle The hfsr acts as impedance in series with motor winding and allows only a part of the line voltage. this document provides information on jayashree's harmonic free series reactor (hfsr) soft starters for induction motors up to 10,000 kw. principle of opera tion : Time of soft start and stop is suitable. The hfsr acts as impedance in. Hfsr Soft Starter Working Principle.
From tahasservis.com
HFSR Soft Starter ABB Soft Starter Tahaş Servis Hfsr Soft Starter Working Principle principle of opera tion : this document provides information on jayashree's harmonic free series reactor (hfsr) soft starters for induction motors up to 10,000 kw. With this air core reactor coil soft. The hfsr acts as impedance in series with motor winding and allows only a part of the line voltage to be. The hfsr acts as impedance. Hfsr Soft Starter Working Principle.
From www.electricalvolt.com
soft starter working principle Archives Electrical Volt Hfsr Soft Starter Working Principle The hfsr acts as impedance in series with motor winding and allows only a part of the line voltage to be. Time of soft start and stop is suitable. the design of the rotor affects the starting current and torque and the variation can be really large. The hfsr acts as impedance in series with motor winding and allows. Hfsr Soft Starter Working Principle.