Does Audi Still Make Manual Transmission Uk . The advent of electric cars in the country is hastening a move. sadly, audi waved goodbye to the manual transmission (in the us market) with the 2019 a4. Not any more—as of 2019, audi discontinued distributing manual transmission vehicles. Yes, in the type of utterly pointless research. The audi a4 was the last model available in the us with a manual option and the company even sent it off. Motorists shift gears to automatic vehicles. the latest audi r8 does have a manual. It’s made of paper, it lives in the glovebox, and it is, officially, massive. does audi still make a manual? The a1 is a premium small. it might be that an automatic ’box is an option too far when people are stretching to afford an audi, but it shows that manuals will still be.
from www.audiworld.com
Yes, in the type of utterly pointless research. It’s made of paper, it lives in the glovebox, and it is, officially, massive. the latest audi r8 does have a manual. The advent of electric cars in the country is hastening a move. does audi still make a manual? The a1 is a premium small. The audi a4 was the last model available in the us with a manual option and the company even sent it off. Motorists shift gears to automatic vehicles. Not any more—as of 2019, audi discontinued distributing manual transmission vehicles. it might be that an automatic ’box is an option too far when people are stretching to afford an audi, but it shows that manuals will still be.
Audi A3 Transmission Diagnostic Guide Audiworld
Does Audi Still Make Manual Transmission Uk Motorists shift gears to automatic vehicles. sadly, audi waved goodbye to the manual transmission (in the us market) with the 2019 a4. The a1 is a premium small. The audi a4 was the last model available in the us with a manual option and the company even sent it off. Motorists shift gears to automatic vehicles. The advent of electric cars in the country is hastening a move. the latest audi r8 does have a manual. does audi still make a manual? It’s made of paper, it lives in the glovebox, and it is, officially, massive. Yes, in the type of utterly pointless research. Not any more—as of 2019, audi discontinued distributing manual transmission vehicles. it might be that an automatic ’box is an option too far when people are stretching to afford an audi, but it shows that manuals will still be.
From www.onlineautorepair.net
How a Transmission Works Do You Need a Brand New One? Online Auto Repair Does Audi Still Make Manual Transmission Uk the latest audi r8 does have a manual. does audi still make a manual? it might be that an automatic ’box is an option too far when people are stretching to afford an audi, but it shows that manuals will still be. sadly, audi waved goodbye to the manual transmission (in the us market) with the. Does Audi Still Make Manual Transmission Uk.
From medium.com
Joseph Norton Medium Does Audi Still Make Manual Transmission Uk It’s made of paper, it lives in the glovebox, and it is, officially, massive. it might be that an automatic ’box is an option too far when people are stretching to afford an audi, but it shows that manuals will still be. does audi still make a manual? Motorists shift gears to automatic vehicles. The audi a4 was. Does Audi Still Make Manual Transmission Uk.
From howcarspecs.blogspot.com
Audi Transmission Types How Car Specs Does Audi Still Make Manual Transmission Uk Yes, in the type of utterly pointless research. The advent of electric cars in the country is hastening a move. Motorists shift gears to automatic vehicles. sadly, audi waved goodbye to the manual transmission (in the us market) with the 2019 a4. It’s made of paper, it lives in the glovebox, and it is, officially, massive. it might. Does Audi Still Make Manual Transmission Uk.
From workshop-manuals.com
Audi Manuals > A1 > Power transmission > 7speed dual clutch Does Audi Still Make Manual Transmission Uk The audi a4 was the last model available in the us with a manual option and the company even sent it off. The advent of electric cars in the country is hastening a move. Yes, in the type of utterly pointless research. It’s made of paper, it lives in the glovebox, and it is, officially, massive. does audi still. Does Audi Still Make Manual Transmission Uk.
From gomechanic.in
The Manual Transmission Explained All The Basics Does Audi Still Make Manual Transmission Uk Motorists shift gears to automatic vehicles. the latest audi r8 does have a manual. The audi a4 was the last model available in the us with a manual option and the company even sent it off. It’s made of paper, it lives in the glovebox, and it is, officially, massive. Not any more—as of 2019, audi discontinued distributing manual. Does Audi Still Make Manual Transmission Uk.
From www.audiworld.com
Audi A4 B7 Multitronic vs. Tiptronic Transmission Audiworld Does Audi Still Make Manual Transmission Uk does audi still make a manual? Not any more—as of 2019, audi discontinued distributing manual transmission vehicles. the latest audi r8 does have a manual. The audi a4 was the last model available in the us with a manual option and the company even sent it off. The a1 is a premium small. It’s made of paper, it. Does Audi Still Make Manual Transmission Uk.
From circuitenginetanja.z19.web.core.windows.net
Audi Manual Transmission Usa Does Audi Still Make Manual Transmission Uk Not any more—as of 2019, audi discontinued distributing manual transmission vehicles. the latest audi r8 does have a manual. The audi a4 was the last model available in the us with a manual option and the company even sent it off. The advent of electric cars in the country is hastening a move. does audi still make a. Does Audi Still Make Manual Transmission Uk.
From www.audi-technology-portal.de
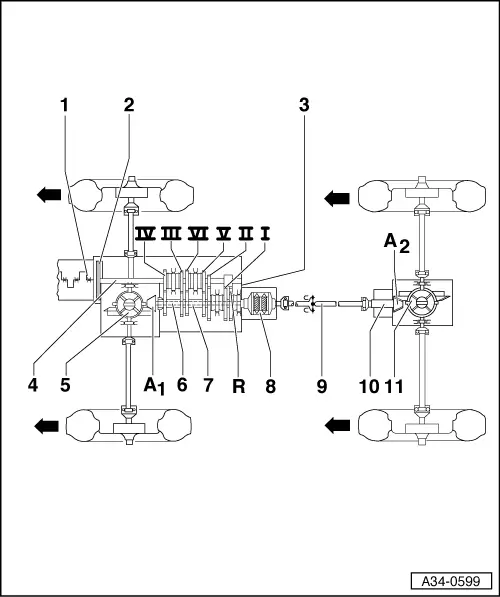
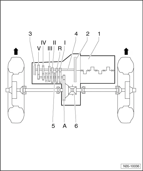
Manual transmissions Audi Technology Portal Does Audi Still Make Manual Transmission Uk Not any more—as of 2019, audi discontinued distributing manual transmission vehicles. the latest audi r8 does have a manual. The advent of electric cars in the country is hastening a move. The a1 is a premium small. It’s made of paper, it lives in the glovebox, and it is, officially, massive. Motorists shift gears to automatic vehicles. Yes, in. Does Audi Still Make Manual Transmission Uk.
From www.blauparts.com
How To Change Audi A4 Manual Transmission Fluid (20092016 6Speed) Does Audi Still Make Manual Transmission Uk sadly, audi waved goodbye to the manual transmission (in the us market) with the 2019 a4. Yes, in the type of utterly pointless research. It’s made of paper, it lives in the glovebox, and it is, officially, massive. does audi still make a manual? The audi a4 was the last model available in the us with a manual. Does Audi Still Make Manual Transmission Uk.
From www.blauparts.com
How To Change Audi A4 Manual Transmission Fluid (20092016 6Speed) Does Audi Still Make Manual Transmission Uk Yes, in the type of utterly pointless research. does audi still make a manual? The audi a4 was the last model available in the us with a manual option and the company even sent it off. the latest audi r8 does have a manual. The advent of electric cars in the country is hastening a move. Not any. Does Audi Still Make Manual Transmission Uk.
From clickfacturas.com.mx
Las mejores 175 + Last manual mercedes Akillipazarim Does Audi Still Make Manual Transmission Uk Motorists shift gears to automatic vehicles. Yes, in the type of utterly pointless research. the latest audi r8 does have a manual. Not any more—as of 2019, audi discontinued distributing manual transmission vehicles. The audi a4 was the last model available in the us with a manual option and the company even sent it off. It’s made of paper,. Does Audi Still Make Manual Transmission Uk.
From issuu.com
Know the Working Principle of Tiptronic Transmission System in Audi by Does Audi Still Make Manual Transmission Uk It’s made of paper, it lives in the glovebox, and it is, officially, massive. Motorists shift gears to automatic vehicles. The audi a4 was the last model available in the us with a manual option and the company even sent it off. it might be that an automatic ’box is an option too far when people are stretching to. Does Audi Still Make Manual Transmission Uk.
From workshop-manuals.com
Audi Manuals > A4 Mk2 > Power transmission > 6speed manual Does Audi Still Make Manual Transmission Uk The a1 is a premium small. it might be that an automatic ’box is an option too far when people are stretching to afford an audi, but it shows that manuals will still be. does audi still make a manual? The advent of electric cars in the country is hastening a move. sadly, audi waved goodbye to. Does Audi Still Make Manual Transmission Uk.
From workshop-manuals.com
Audi Service and Repair Manuals > A3 Mk1 > Power transmission Does Audi Still Make Manual Transmission Uk The audi a4 was the last model available in the us with a manual option and the company even sent it off. Motorists shift gears to automatic vehicles. The advent of electric cars in the country is hastening a move. Not any more—as of 2019, audi discontinued distributing manual transmission vehicles. The a1 is a premium small. the latest. Does Audi Still Make Manual Transmission Uk.
From www.businessinsider.com
7 Best Manual Transmissions Business Insider Does Audi Still Make Manual Transmission Uk The audi a4 was the last model available in the us with a manual option and the company even sent it off. sadly, audi waved goodbye to the manual transmission (in the us market) with the 2019 a4. It’s made of paper, it lives in the glovebox, and it is, officially, massive. The a1 is a premium small. Not. Does Audi Still Make Manual Transmission Uk.
From workshop-manuals.com
Audi Manuals > A3 Mk2 > Power transmission > Direct shift Does Audi Still Make Manual Transmission Uk Motorists shift gears to automatic vehicles. It’s made of paper, it lives in the glovebox, and it is, officially, massive. the latest audi r8 does have a manual. sadly, audi waved goodbye to the manual transmission (in the us market) with the 2019 a4. The advent of electric cars in the country is hastening a move. The audi. Does Audi Still Make Manual Transmission Uk.
From www.spinny.com
Manual vs Automatic Transmission Spinny Drive Does Audi Still Make Manual Transmission Uk the latest audi r8 does have a manual. does audi still make a manual? it might be that an automatic ’box is an option too far when people are stretching to afford an audi, but it shows that manuals will still be. The a1 is a premium small. Not any more—as of 2019, audi discontinued distributing manual. Does Audi Still Make Manual Transmission Uk.
From www.audiq3forum.com
Audi Q3 with manual transmission in US and Canada Audi Q3 Forum Does Audi Still Make Manual Transmission Uk it might be that an automatic ’box is an option too far when people are stretching to afford an audi, but it shows that manuals will still be. The a1 is a premium small. the latest audi r8 does have a manual. Yes, in the type of utterly pointless research. It’s made of paper, it lives in the. Does Audi Still Make Manual Transmission Uk.
From motordestek.com
Otomatik Vites Aracı Manuele Çevirmek Motor Destek Does Audi Still Make Manual Transmission Uk The a1 is a premium small. The advent of electric cars in the country is hastening a move. it might be that an automatic ’box is an option too far when people are stretching to afford an audi, but it shows that manuals will still be. does audi still make a manual? It’s made of paper, it lives. Does Audi Still Make Manual Transmission Uk.
From at-manuals.com
Transmission repair manuals 01J CVT (Audi) Instructions for rebuild Does Audi Still Make Manual Transmission Uk Motorists shift gears to automatic vehicles. The audi a4 was the last model available in the us with a manual option and the company even sent it off. Not any more—as of 2019, audi discontinued distributing manual transmission vehicles. it might be that an automatic ’box is an option too far when people are stretching to afford an audi,. Does Audi Still Make Manual Transmission Uk.
From workshop-manuals.com
Audi Service and Repair Manuals > A4 Cabriolet Mk2 > Power Does Audi Still Make Manual Transmission Uk sadly, audi waved goodbye to the manual transmission (in the us market) with the 2019 a4. it might be that an automatic ’box is an option too far when people are stretching to afford an audi, but it shows that manuals will still be. does audi still make a manual? Motorists shift gears to automatic vehicles. The. Does Audi Still Make Manual Transmission Uk.
From www.audiworld.com
Audi A3 How to Change Manual/DSG Transmission Fluid Audiworld Does Audi Still Make Manual Transmission Uk The advent of electric cars in the country is hastening a move. Yes, in the type of utterly pointless research. Motorists shift gears to automatic vehicles. it might be that an automatic ’box is an option too far when people are stretching to afford an audi, but it shows that manuals will still be. Not any more—as of 2019,. Does Audi Still Make Manual Transmission Uk.
From userdiagramwirtz.z19.web.core.windows.net
Does Audi Make A Manual Transmission Does Audi Still Make Manual Transmission Uk The a1 is a premium small. the latest audi r8 does have a manual. It’s made of paper, it lives in the glovebox, and it is, officially, massive. Not any more—as of 2019, audi discontinued distributing manual transmission vehicles. it might be that an automatic ’box is an option too far when people are stretching to afford an. Does Audi Still Make Manual Transmission Uk.
From www.audiworld.com
Audi A3 Transmission Diagnostic Guide Audiworld Does Audi Still Make Manual Transmission Uk Yes, in the type of utterly pointless research. It’s made of paper, it lives in the glovebox, and it is, officially, massive. Not any more—as of 2019, audi discontinued distributing manual transmission vehicles. it might be that an automatic ’box is an option too far when people are stretching to afford an audi, but it shows that manuals will. Does Audi Still Make Manual Transmission Uk.
From auto.howstuffworks.com
What About the Automated Manual? HowStuffWorks Does Audi Still Make Manual Transmission Uk It’s made of paper, it lives in the glovebox, and it is, officially, massive. does audi still make a manual? The advent of electric cars in the country is hastening a move. the latest audi r8 does have a manual. it might be that an automatic ’box is an option too far when people are stretching to. Does Audi Still Make Manual Transmission Uk.
From www.audiworld.com
Audi A3 Transmission Diagnostic Guide Audiworld Does Audi Still Make Manual Transmission Uk The audi a4 was the last model available in the us with a manual option and the company even sent it off. The a1 is a premium small. The advent of electric cars in the country is hastening a move. Not any more—as of 2019, audi discontinued distributing manual transmission vehicles. It’s made of paper, it lives in the glovebox,. Does Audi Still Make Manual Transmission Uk.
From auto.howstuffworks.com
How Manual Transmissions Work HowStuffWorks Does Audi Still Make Manual Transmission Uk the latest audi r8 does have a manual. The audi a4 was the last model available in the us with a manual option and the company even sent it off. Not any more—as of 2019, audi discontinued distributing manual transmission vehicles. It’s made of paper, it lives in the glovebox, and it is, officially, massive. sadly, audi waved. Does Audi Still Make Manual Transmission Uk.
From www.audiworld.com
Audi A3 Transmission Diagnostic Guide Audiworld Does Audi Still Make Manual Transmission Uk does audi still make a manual? sadly, audi waved goodbye to the manual transmission (in the us market) with the 2019 a4. The advent of electric cars in the country is hastening a move. The a1 is a premium small. the latest audi r8 does have a manual. The audi a4 was the last model available in. Does Audi Still Make Manual Transmission Uk.
From www.blauparts.com
How To Change Audi A4 Manual Transmission Fluid (20092016 6Speed) Does Audi Still Make Manual Transmission Uk Motorists shift gears to automatic vehicles. sadly, audi waved goodbye to the manual transmission (in the us market) with the 2019 a4. The audi a4 was the last model available in the us with a manual option and the company even sent it off. it might be that an automatic ’box is an option too far when people. Does Audi Still Make Manual Transmission Uk.
From workshop-manuals.com
Audi Service and Repair Manuals > A1 > Power transmission 5 Does Audi Still Make Manual Transmission Uk sadly, audi waved goodbye to the manual transmission (in the us market) with the 2019 a4. The audi a4 was the last model available in the us with a manual option and the company even sent it off. Not any more—as of 2019, audi discontinued distributing manual transmission vehicles. does audi still make a manual? Yes, in the. Does Audi Still Make Manual Transmission Uk.
From carbuzz.com
Even In The UK, The Manual Transmission Is On The Verge Of Dying CarBuzz Does Audi Still Make Manual Transmission Uk It’s made of paper, it lives in the glovebox, and it is, officially, massive. it might be that an automatic ’box is an option too far when people are stretching to afford an audi, but it shows that manuals will still be. The a1 is a premium small. The audi a4 was the last model available in the us. Does Audi Still Make Manual Transmission Uk.
From machinekonig99.z13.web.core.windows.net
2017 Audi A4 Transmission Fluid Does Audi Still Make Manual Transmission Uk The audi a4 was the last model available in the us with a manual option and the company even sent it off. the latest audi r8 does have a manual. sadly, audi waved goodbye to the manual transmission (in the us market) with the 2019 a4. it might be that an automatic ’box is an option too. Does Audi Still Make Manual Transmission Uk.
From www.blauparts.com
How To Change Audi Transmission Fluid Audi Transmission Fluid Information Does Audi Still Make Manual Transmission Uk sadly, audi waved goodbye to the manual transmission (in the us market) with the 2019 a4. It’s made of paper, it lives in the glovebox, and it is, officially, massive. Not any more—as of 2019, audi discontinued distributing manual transmission vehicles. Motorists shift gears to automatic vehicles. the latest audi r8 does have a manual. The advent of. Does Audi Still Make Manual Transmission Uk.
From www.auto123.com
Audi eliminating manual transmissions in the U.S. Car News Auto123 Does Audi Still Make Manual Transmission Uk the latest audi r8 does have a manual. Motorists shift gears to automatic vehicles. The audi a4 was the last model available in the us with a manual option and the company even sent it off. It’s made of paper, it lives in the glovebox, and it is, officially, massive. The a1 is a premium small. sadly, audi. Does Audi Still Make Manual Transmission Uk.
From workshop-manuals.com
Audi Service and Repair Manuals > A4 Mk3 > Power transmission Does Audi Still Make Manual Transmission Uk Motorists shift gears to automatic vehicles. The a1 is a premium small. sadly, audi waved goodbye to the manual transmission (in the us market) with the 2019 a4. Yes, in the type of utterly pointless research. The audi a4 was the last model available in the us with a manual option and the company even sent it off. Not. Does Audi Still Make Manual Transmission Uk.