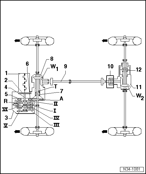
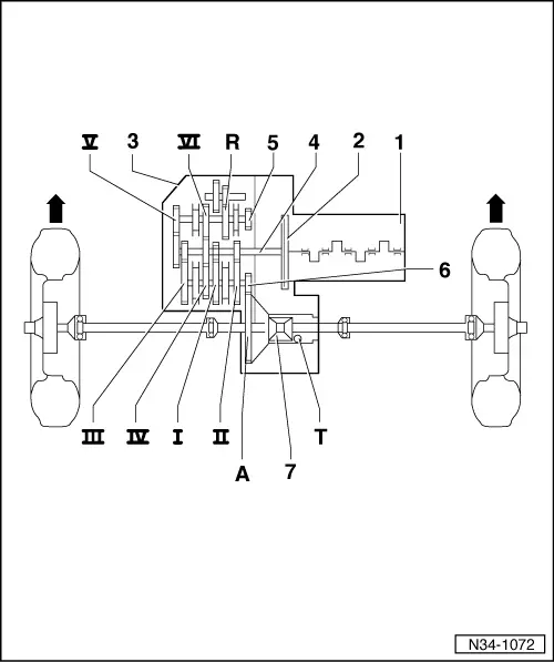
Golf Mk4 1.8 T Gearbox . *the left one axle should be shortened by 1 centimeter / 0.39 inches to fit perfectly, (shortened mine 1,5 cm and its too much.) The gearbox oil g 052 726 a2 sae 75w can also be used for all gearboxes. Golf mk4 > volkswagen workshop service and repair manuals > power transmission | automatic gearbox 01m | technical data | identification. Move turbine shaft up and down and read play on. On an agu 1.8t, does anyone know what volume of gear oil is needed when draining and refilling the gearbox?. Find & compare performance, practicality, chassis, brakes, top speed, acceleration,. *axles from the dsg car. Just a quick question really. Volkswagen golf iv 1.8 t 20v (150 hp) hatchback 1997 1998 1999 2000 2001 2002 2003 | technical specs, fuel consumption, dimensions, 150 hp,. Attach dial gauge holder to gearbox housing and place dial gauge on turbine shaft with 1 mm preload.
from workshop-manuals.com
The gearbox oil g 052 726 a2 sae 75w can also be used for all gearboxes. Volkswagen golf iv 1.8 t 20v (150 hp) hatchback 1997 1998 1999 2000 2001 2002 2003 | technical specs, fuel consumption, dimensions, 150 hp,. Golf mk4 > volkswagen workshop service and repair manuals > power transmission | automatic gearbox 01m | technical data | identification. Find & compare performance, practicality, chassis, brakes, top speed, acceleration,. Attach dial gauge holder to gearbox housing and place dial gauge on turbine shaft with 1 mm preload. Move turbine shaft up and down and read play on. *the left one axle should be shortened by 1 centimeter / 0.39 inches to fit perfectly, (shortened mine 1,5 cm and its too much.) Just a quick question really. On an agu 1.8t, does anyone know what volume of gear oil is needed when draining and refilling the gearbox?. *axles from the dsg car.
Volkswagen Service and Repair Manuals > Golf Mk4 > Power
Golf Mk4 1.8 T Gearbox Attach dial gauge holder to gearbox housing and place dial gauge on turbine shaft with 1 mm preload. Volkswagen golf iv 1.8 t 20v (150 hp) hatchback 1997 1998 1999 2000 2001 2002 2003 | technical specs, fuel consumption, dimensions, 150 hp,. *axles from the dsg car. Move turbine shaft up and down and read play on. Find & compare performance, practicality, chassis, brakes, top speed, acceleration,. *the left one axle should be shortened by 1 centimeter / 0.39 inches to fit perfectly, (shortened mine 1,5 cm and its too much.) The gearbox oil g 052 726 a2 sae 75w can also be used for all gearboxes. Attach dial gauge holder to gearbox housing and place dial gauge on turbine shaft with 1 mm preload. Golf mk4 > volkswagen workshop service and repair manuals > power transmission | automatic gearbox 01m | technical data | identification. Just a quick question really. On an agu 1.8t, does anyone know what volume of gear oil is needed when draining and refilling the gearbox?.
From www.vwbreakers.co.uk
Volkswagen Golf MK4 19972004 1.9 TDi Engine ASZ Store Used Golf Mk4 1.8 T Gearbox On an agu 1.8t, does anyone know what volume of gear oil is needed when draining and refilling the gearbox?. Golf mk4 > volkswagen workshop service and repair manuals > power transmission | automatic gearbox 01m | technical data | identification. Volkswagen golf iv 1.8 t 20v (150 hp) hatchback 1997 1998 1999 2000 2001 2002 2003 | technical specs,. Golf Mk4 1.8 T Gearbox.
From www.vwbreakers.co.uk
Volkswagen Golf MK4 19972004 1.9 TDi Automatic Auto Gearbox FDB Golf Mk4 1.8 T Gearbox *axles from the dsg car. Just a quick question really. Attach dial gauge holder to gearbox housing and place dial gauge on turbine shaft with 1 mm preload. Find & compare performance, practicality, chassis, brakes, top speed, acceleration,. Move turbine shaft up and down and read play on. On an agu 1.8t, does anyone know what volume of gear oil. Golf Mk4 1.8 T Gearbox.
From workshop-manuals.com
Volkswagen Service and Repair Manuals > Golf Mk4 > Power Golf Mk4 1.8 T Gearbox Find & compare performance, practicality, chassis, brakes, top speed, acceleration,. Attach dial gauge holder to gearbox housing and place dial gauge on turbine shaft with 1 mm preload. On an agu 1.8t, does anyone know what volume of gear oil is needed when draining and refilling the gearbox?. *the left one axle should be shortened by 1 centimeter / 0.39. Golf Mk4 1.8 T Gearbox.
From workshop-manuals.com
Volkswagen Service and Repair Manuals > Golf Mk4 > Power unit Golf Mk4 1.8 T Gearbox *the left one axle should be shortened by 1 centimeter / 0.39 inches to fit perfectly, (shortened mine 1,5 cm and its too much.) On an agu 1.8t, does anyone know what volume of gear oil is needed when draining and refilling the gearbox?. Find & compare performance, practicality, chassis, brakes, top speed, acceleration,. The gearbox oil g 052 726. Golf Mk4 1.8 T Gearbox.
From workshop-manuals.com
Volkswagen Service and Repair Manuals > Golf Mk4 > Power Golf Mk4 1.8 T Gearbox Move turbine shaft up and down and read play on. Volkswagen golf iv 1.8 t 20v (150 hp) hatchback 1997 1998 1999 2000 2001 2002 2003 | technical specs, fuel consumption, dimensions, 150 hp,. *the left one axle should be shortened by 1 centimeter / 0.39 inches to fit perfectly, (shortened mine 1,5 cm and its too much.) *axles from. Golf Mk4 1.8 T Gearbox.
From www.vwbreakers.co.uk
Volkswagen Golf MK4 19972004 2.0 gTi Gearbox EGU Store Used Golf Mk4 1.8 T Gearbox On an agu 1.8t, does anyone know what volume of gear oil is needed when draining and refilling the gearbox?. Move turbine shaft up and down and read play on. Find & compare performance, practicality, chassis, brakes, top speed, acceleration,. Volkswagen golf iv 1.8 t 20v (150 hp) hatchback 1997 1998 1999 2000 2001 2002 2003 | technical specs, fuel. Golf Mk4 1.8 T Gearbox.
From workshop-manuals.com
Volkswagen Service and Repair Manuals > Golf Mk4 > Power Golf Mk4 1.8 T Gearbox Attach dial gauge holder to gearbox housing and place dial gauge on turbine shaft with 1 mm preload. *the left one axle should be shortened by 1 centimeter / 0.39 inches to fit perfectly, (shortened mine 1,5 cm and its too much.) Golf mk4 > volkswagen workshop service and repair manuals > power transmission | automatic gearbox 01m | technical. Golf Mk4 1.8 T Gearbox.
From workshop-manuals.com
Volkswagen Service and Repair Manuals > Golf Mk4 > Power Golf Mk4 1.8 T Gearbox *the left one axle should be shortened by 1 centimeter / 0.39 inches to fit perfectly, (shortened mine 1,5 cm and its too much.) The gearbox oil g 052 726 a2 sae 75w can also be used for all gearboxes. Find & compare performance, practicality, chassis, brakes, top speed, acceleration,. *axles from the dsg car. On an agu 1.8t, does. Golf Mk4 1.8 T Gearbox.
From workshop-manuals.com
Volkswagen Service and Repair Manuals > Golf Mk4 > Power Golf Mk4 1.8 T Gearbox Golf mk4 > volkswagen workshop service and repair manuals > power transmission | automatic gearbox 01m | technical data | identification. *axles from the dsg car. *the left one axle should be shortened by 1 centimeter / 0.39 inches to fit perfectly, (shortened mine 1,5 cm and its too much.) The gearbox oil g 052 726 a2 sae 75w can. Golf Mk4 1.8 T Gearbox.
From www.vwbreakers.co.uk
Volkswagen Golf MK4 19972004 1.9 TDi Automatic Auto Gearbox FDB Golf Mk4 1.8 T Gearbox On an agu 1.8t, does anyone know what volume of gear oil is needed when draining and refilling the gearbox?. Attach dial gauge holder to gearbox housing and place dial gauge on turbine shaft with 1 mm preload. Volkswagen golf iv 1.8 t 20v (150 hp) hatchback 1997 1998 1999 2000 2001 2002 2003 | technical specs, fuel consumption, dimensions,. Golf Mk4 1.8 T Gearbox.
From www.drive2.ru
Volkswagen Golf Mk4 1.9 бензиновый 1998 MK4 на DRIVE2 Golf Mk4 1.8 T Gearbox On an agu 1.8t, does anyone know what volume of gear oil is needed when draining and refilling the gearbox?. Just a quick question really. Move turbine shaft up and down and read play on. Find & compare performance, practicality, chassis, brakes, top speed, acceleration,. Golf mk4 > volkswagen workshop service and repair manuals > power transmission | automatic gearbox. Golf Mk4 1.8 T Gearbox.
From www.vwbreakers.co.uk
Volkswagen Golf MK4 19972004 1.6 8v Automatic Gearbox FDH Store Golf Mk4 1.8 T Gearbox Golf mk4 > volkswagen workshop service and repair manuals > power transmission | automatic gearbox 01m | technical data | identification. *axles from the dsg car. Attach dial gauge holder to gearbox housing and place dial gauge on turbine shaft with 1 mm preload. The gearbox oil g 052 726 a2 sae 75w can also be used for all gearboxes.. Golf Mk4 1.8 T Gearbox.
From workshop-manuals.com
Volkswagen Service and Repair Manuals > Golf Mk4 > Power Golf Mk4 1.8 T Gearbox Volkswagen golf iv 1.8 t 20v (150 hp) hatchback 1997 1998 1999 2000 2001 2002 2003 | technical specs, fuel consumption, dimensions, 150 hp,. On an agu 1.8t, does anyone know what volume of gear oil is needed when draining and refilling the gearbox?. Move turbine shaft up and down and read play on. The gearbox oil g 052 726. Golf Mk4 1.8 T Gearbox.
From workshop-manuals.com
Volkswagen Service and Repair Manuals > Golf Mk4 > Power Golf Mk4 1.8 T Gearbox Just a quick question really. Move turbine shaft up and down and read play on. Find & compare performance, practicality, chassis, brakes, top speed, acceleration,. *axles from the dsg car. *the left one axle should be shortened by 1 centimeter / 0.39 inches to fit perfectly, (shortened mine 1,5 cm and its too much.) Volkswagen golf iv 1.8 t 20v. Golf Mk4 1.8 T Gearbox.
From www.vwbreakers.co.uk
Volkswagen Golf MK4 19972004 1.9 TDi Engine ARL Store Used Golf Mk4 1.8 T Gearbox Find & compare performance, practicality, chassis, brakes, top speed, acceleration,. Attach dial gauge holder to gearbox housing and place dial gauge on turbine shaft with 1 mm preload. Golf mk4 > volkswagen workshop service and repair manuals > power transmission | automatic gearbox 01m | technical data | identification. Volkswagen golf iv 1.8 t 20v (150 hp) hatchback 1997 1998. Golf Mk4 1.8 T Gearbox.
From www.vwbreakers.co.uk
Volkswagen Golf MK4 19972004 1.9 TDi Automatic Auto Gearbox FDB Golf Mk4 1.8 T Gearbox On an agu 1.8t, does anyone know what volume of gear oil is needed when draining and refilling the gearbox?. Golf mk4 > volkswagen workshop service and repair manuals > power transmission | automatic gearbox 01m | technical data | identification. Just a quick question really. The gearbox oil g 052 726 a2 sae 75w can also be used for. Golf Mk4 1.8 T Gearbox.
From www.vwbreakers.co.uk
Volkswagen Golf MK4 19972004 1.9 TDi Gearbox 5 Speed Manual EUH Golf Mk4 1.8 T Gearbox The gearbox oil g 052 726 a2 sae 75w can also be used for all gearboxes. *axles from the dsg car. Just a quick question really. Golf mk4 > volkswagen workshop service and repair manuals > power transmission | automatic gearbox 01m | technical data | identification. Volkswagen golf iv 1.8 t 20v (150 hp) hatchback 1997 1998 1999 2000. Golf Mk4 1.8 T Gearbox.
From workshop-manuals.com
Volkswagen Service and Repair Manuals > Golf Mk4 > Power Golf Mk4 1.8 T Gearbox Attach dial gauge holder to gearbox housing and place dial gauge on turbine shaft with 1 mm preload. Golf mk4 > volkswagen workshop service and repair manuals > power transmission | automatic gearbox 01m | technical data | identification. Volkswagen golf iv 1.8 t 20v (150 hp) hatchback 1997 1998 1999 2000 2001 2002 2003 | technical specs, fuel consumption,. Golf Mk4 1.8 T Gearbox.
From www.vwbreakers.co.uk
Volkswagen Golf MK4 19972004 1.6 8V Engine AVU Store Used Golf Mk4 1.8 T Gearbox Find & compare performance, practicality, chassis, brakes, top speed, acceleration,. *axles from the dsg car. On an agu 1.8t, does anyone know what volume of gear oil is needed when draining and refilling the gearbox?. Volkswagen golf iv 1.8 t 20v (150 hp) hatchback 1997 1998 1999 2000 2001 2002 2003 | technical specs, fuel consumption, dimensions, 150 hp,. Attach. Golf Mk4 1.8 T Gearbox.
From www.vwbreakers.co.uk
Volkswagen Golf MK4 19972004 1.6 16v Engine BCB Store Used Golf Mk4 1.8 T Gearbox Find & compare performance, practicality, chassis, brakes, top speed, acceleration,. On an agu 1.8t, does anyone know what volume of gear oil is needed when draining and refilling the gearbox?. Volkswagen golf iv 1.8 t 20v (150 hp) hatchback 1997 1998 1999 2000 2001 2002 2003 | technical specs, fuel consumption, dimensions, 150 hp,. The gearbox oil g 052 726. Golf Mk4 1.8 T Gearbox.
From www.youtube.com
Golf Mk4 AGU 1.8T GTI Engine Clean & Part Build YouTube Golf Mk4 1.8 T Gearbox Find & compare performance, practicality, chassis, brakes, top speed, acceleration,. Golf mk4 > volkswagen workshop service and repair manuals > power transmission | automatic gearbox 01m | technical data | identification. Volkswagen golf iv 1.8 t 20v (150 hp) hatchback 1997 1998 1999 2000 2001 2002 2003 | technical specs, fuel consumption, dimensions, 150 hp,. On an agu 1.8t, does. Golf Mk4 1.8 T Gearbox.
From workshop-manuals.com
Volkswagen Service and Repair Manuals > Golf Mk4 > Power Golf Mk4 1.8 T Gearbox On an agu 1.8t, does anyone know what volume of gear oil is needed when draining and refilling the gearbox?. The gearbox oil g 052 726 a2 sae 75w can also be used for all gearboxes. Just a quick question really. Move turbine shaft up and down and read play on. Volkswagen golf iv 1.8 t 20v (150 hp) hatchback. Golf Mk4 1.8 T Gearbox.
From www.vwbreakers.co.uk
Volkswagen Golf MK4 19972004 1.9 TDi Gearbox DEA Store Used Golf Mk4 1.8 T Gearbox Find & compare performance, practicality, chassis, brakes, top speed, acceleration,. *the left one axle should be shortened by 1 centimeter / 0.39 inches to fit perfectly, (shortened mine 1,5 cm and its too much.) Attach dial gauge holder to gearbox housing and place dial gauge on turbine shaft with 1 mm preload. Volkswagen golf iv 1.8 t 20v (150 hp). Golf Mk4 1.8 T Gearbox.
From www.vwbreakers.co.uk
Volkswagen Golf MK4 19972004 1.6 Inlet Manifold Mani Intake BFQ Golf Mk4 1.8 T Gearbox The gearbox oil g 052 726 a2 sae 75w can also be used for all gearboxes. On an agu 1.8t, does anyone know what volume of gear oil is needed when draining and refilling the gearbox?. *the left one axle should be shortened by 1 centimeter / 0.39 inches to fit perfectly, (shortened mine 1,5 cm and its too much.). Golf Mk4 1.8 T Gearbox.
From workshop-manuals.com
Volkswagen Service and Repair Manuals > Golf Mk4 > Power Golf Mk4 1.8 T Gearbox On an agu 1.8t, does anyone know what volume of gear oil is needed when draining and refilling the gearbox?. Attach dial gauge holder to gearbox housing and place dial gauge on turbine shaft with 1 mm preload. The gearbox oil g 052 726 a2 sae 75w can also be used for all gearboxes. Volkswagen golf iv 1.8 t 20v. Golf Mk4 1.8 T Gearbox.
From www.vwbreakers.co.uk
Volkswagen Golf MK4 19972004 1.9 TDi Gearbox ERF Store Used Golf Mk4 1.8 T Gearbox On an agu 1.8t, does anyone know what volume of gear oil is needed when draining and refilling the gearbox?. Volkswagen golf iv 1.8 t 20v (150 hp) hatchback 1997 1998 1999 2000 2001 2002 2003 | technical specs, fuel consumption, dimensions, 150 hp,. Move turbine shaft up and down and read play on. Golf mk4 > volkswagen workshop service. Golf Mk4 1.8 T Gearbox.
From www.youtube.com
Mk4 golf gearbox upgrade conversion YouTube Golf Mk4 1.8 T Gearbox Volkswagen golf iv 1.8 t 20v (150 hp) hatchback 1997 1998 1999 2000 2001 2002 2003 | technical specs, fuel consumption, dimensions, 150 hp,. Just a quick question really. *axles from the dsg car. *the left one axle should be shortened by 1 centimeter / 0.39 inches to fit perfectly, (shortened mine 1,5 cm and its too much.) The gearbox. Golf Mk4 1.8 T Gearbox.
From www.vwbreakers.co.uk
Volkswagen Golf MK4 19972004 1.4 16v Gearbox DUW Store Used Golf Mk4 1.8 T Gearbox Volkswagen golf iv 1.8 t 20v (150 hp) hatchback 1997 1998 1999 2000 2001 2002 2003 | technical specs, fuel consumption, dimensions, 150 hp,. Golf mk4 > volkswagen workshop service and repair manuals > power transmission | automatic gearbox 01m | technical data | identification. Attach dial gauge holder to gearbox housing and place dial gauge on turbine shaft with. Golf Mk4 1.8 T Gearbox.
From www.vwbreakers.co.uk
Volkswagen Golf MK4 19972004 1.9 TDi Automatic Auto Gearbox FDB Golf Mk4 1.8 T Gearbox Golf mk4 > volkswagen workshop service and repair manuals > power transmission | automatic gearbox 01m | technical data | identification. The gearbox oil g 052 726 a2 sae 75w can also be used for all gearboxes. Find & compare performance, practicality, chassis, brakes, top speed, acceleration,. Just a quick question really. Attach dial gauge holder to gearbox housing and. Golf Mk4 1.8 T Gearbox.
From www.vwbreakers.co.uk
Volkswagen Golf MK4 19972004 1.6 16v Engine AUS AUS Store Used Golf Mk4 1.8 T Gearbox Move turbine shaft up and down and read play on. Find & compare performance, practicality, chassis, brakes, top speed, acceleration,. *axles from the dsg car. Just a quick question really. *the left one axle should be shortened by 1 centimeter / 0.39 inches to fit perfectly, (shortened mine 1,5 cm and its too much.) Golf mk4 > volkswagen workshop service. Golf Mk4 1.8 T Gearbox.
From www.vwbreakers.co.uk
Volkswagen Golf MK4 19972004 1.9 SDi Engine AQM aqm Store Used Golf Mk4 1.8 T Gearbox Attach dial gauge holder to gearbox housing and place dial gauge on turbine shaft with 1 mm preload. *the left one axle should be shortened by 1 centimeter / 0.39 inches to fit perfectly, (shortened mine 1,5 cm and its too much.) On an agu 1.8t, does anyone know what volume of gear oil is needed when draining and refilling. Golf Mk4 1.8 T Gearbox.
From www.vwbreakers.co.uk
Volkswagen Golf MK4 19972004 1.9 TDI Gearbox DQY Store Used Golf Mk4 1.8 T Gearbox Attach dial gauge holder to gearbox housing and place dial gauge on turbine shaft with 1 mm preload. Move turbine shaft up and down and read play on. On an agu 1.8t, does anyone know what volume of gear oil is needed when draining and refilling the gearbox?. Just a quick question really. Find & compare performance, practicality, chassis, brakes,. Golf Mk4 1.8 T Gearbox.
From www.ebay.co.uk
VOLKSWAGEN VW GOLF MK4 1.9 TDi ASZ 130Bhp PD ENGINE MOTOR 038100040K Golf Mk4 1.8 T Gearbox Golf mk4 > volkswagen workshop service and repair manuals > power transmission | automatic gearbox 01m | technical data | identification. Attach dial gauge holder to gearbox housing and place dial gauge on turbine shaft with 1 mm preload. Just a quick question really. The gearbox oil g 052 726 a2 sae 75w can also be used for all gearboxes.. Golf Mk4 1.8 T Gearbox.
From www.vwbreakers.co.uk
Volkswagen Golf MK4 19972004 1.9 tDi 5 Speed Gearbox EGR Store Golf Mk4 1.8 T Gearbox Attach dial gauge holder to gearbox housing and place dial gauge on turbine shaft with 1 mm preload. *the left one axle should be shortened by 1 centimeter / 0.39 inches to fit perfectly, (shortened mine 1,5 cm and its too much.) Volkswagen golf iv 1.8 t 20v (150 hp) hatchback 1997 1998 1999 2000 2001 2002 2003 | technical. Golf Mk4 1.8 T Gearbox.
From www.vwbreakers.co.uk
Volkswagen Golf MK4 19972004 1.6 16v Gearbox ERT Store Used Golf Mk4 1.8 T Gearbox Just a quick question really. The gearbox oil g 052 726 a2 sae 75w can also be used for all gearboxes. *the left one axle should be shortened by 1 centimeter / 0.39 inches to fit perfectly, (shortened mine 1,5 cm and its too much.) *axles from the dsg car. Find & compare performance, practicality, chassis, brakes, top speed, acceleration,.. Golf Mk4 1.8 T Gearbox.