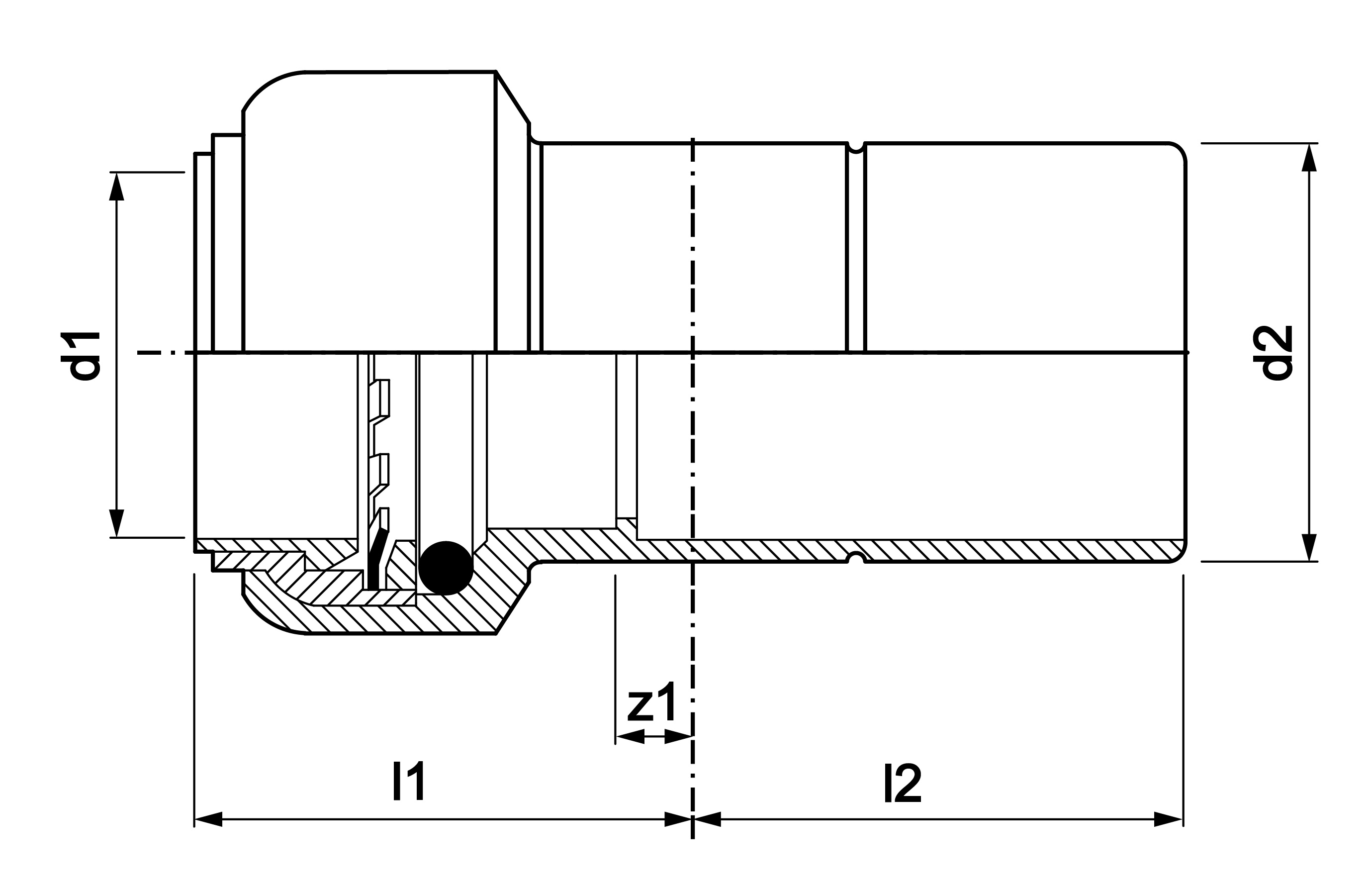
Push Fit Mechanism . Simply push, connect and go!  push fit pipe fittings, also known as push to connect or quick connect fittings, work by using a combination of sealing and.  a push fit fitting is a compression type of fitting with an easy installation process and a watertight seal. The collet has metal teeth that grasp the pipe and the locking mechanism, which helps lock the pipes more effectively and securely.  learn about the benefits of push to connect fittings. Find out how these fittings simplify installation and ensure a connection to your hydraulic system. They come in a variety of configurations, can be used in a wide range of applications and have many advantages.
        
        from oriplast.com 
     
        
        The collet has metal teeth that grasp the pipe and the locking mechanism, which helps lock the pipes more effectively and securely. Simply push, connect and go!  a push fit fitting is a compression type of fitting with an easy installation process and a watertight seal. Find out how these fittings simplify installation and ensure a connection to your hydraulic system.  learn about the benefits of push to connect fittings. They come in a variety of configurations, can be used in a wide range of applications and have many advantages.  push fit pipe fittings, also known as push to connect or quick connect fittings, work by using a combination of sealing and.
    
    	
            
	
		 
         
    Advantages of Push Fit PVC Fittings Oriplast 
    Push Fit Mechanism   learn about the benefits of push to connect fittings. The collet has metal teeth that grasp the pipe and the locking mechanism, which helps lock the pipes more effectively and securely. Simply push, connect and go!  push fit pipe fittings, also known as push to connect or quick connect fittings, work by using a combination of sealing and.  learn about the benefits of push to connect fittings. Find out how these fittings simplify installation and ensure a connection to your hydraulic system.  a push fit fitting is a compression type of fitting with an easy installation process and a watertight seal. They come in a variety of configurations, can be used in a wide range of applications and have many advantages.
            
	
		 
         
 
    
        From 5mltd.com 
                    Brass PushFit 5M LTD. Push Fit Mechanism   a push fit fitting is a compression type of fitting with an easy installation process and a watertight seal. Find out how these fittings simplify installation and ensure a connection to your hydraulic system. The collet has metal teeth that grasp the pipe and the locking mechanism, which helps lock the pipes more effectively and securely.  push fit. Push Fit Mechanism.
     
    
        From www.pipsisland.com 
                    5 Steps To Fit Push Fit Pipe Connectors Push Fit Mechanism  The collet has metal teeth that grasp the pipe and the locking mechanism, which helps lock the pipes more effectively and securely. They come in a variety of configurations, can be used in a wide range of applications and have many advantages.  push fit pipe fittings, also known as push to connect or quick connect fittings, work by using. Push Fit Mechanism.
     
    
        From arprosystems.com 
                    Gardiner PushFit 4 Way TConnector AR PRO Systems Push Fit Mechanism   learn about the benefits of push to connect fittings.  a push fit fitting is a compression type of fitting with an easy installation process and a watertight seal.  push fit pipe fittings, also known as push to connect or quick connect fittings, work by using a combination of sealing and. Find out how these fittings simplify installation. Push Fit Mechanism.
     
    
        From www.youtube.com 
                    Pushpush mechanism for storing a stick YouTube Push Fit Mechanism   push fit pipe fittings, also known as push to connect or quick connect fittings, work by using a combination of sealing and. They come in a variety of configurations, can be used in a wide range of applications and have many advantages. Find out how these fittings simplify installation and ensure a connection to your hydraulic system.  learn. Push Fit Mechanism.
     
    
        From www.toggle-latch.com 
                    Brass Push Fit Spring Ball Plunger With Locking Mechanism Push Fit Mechanism   push fit pipe fittings, also known as push to connect or quick connect fittings, work by using a combination of sealing and.  a push fit fitting is a compression type of fitting with an easy installation process and a watertight seal.  learn about the benefits of push to connect fittings. They come in a variety of configurations,. Push Fit Mechanism.
     
    
        From www.barbourproductsearch.info 
                    Plastic pushfit plumbing fittings and pipes Push Fit Mechanism   learn about the benefits of push to connect fittings. Find out how these fittings simplify installation and ensure a connection to your hydraulic system. Simply push, connect and go! They come in a variety of configurations, can be used in a wide range of applications and have many advantages.  a push fit fitting is a compression type of. Push Fit Mechanism.
     
    
        From www.pipsisland.com 
                    5 Steps To Fit Push Fit Pipe Connectors Push Fit Mechanism  They come in a variety of configurations, can be used in a wide range of applications and have many advantages.  a push fit fitting is a compression type of fitting with an easy installation process and a watertight seal. Simply push, connect and go!  learn about the benefits of push to connect fittings.  push fit pipe fittings,. Push Fit Mechanism.
     
    
        From www.exportersindia.com 
                    Air Lock Duct Push Fit Coupler Adishwar Bangalore Push Fit Mechanism   a push fit fitting is a compression type of fitting with an easy installation process and a watertight seal. The collet has metal teeth that grasp the pipe and the locking mechanism, which helps lock the pipes more effectively and securely.  learn about the benefits of push to connect fittings. Find out how these fittings simplify installation and. Push Fit Mechanism.
     
    
        From www.rvsupercentre.co.nz 
                    PushFit Adaptor Straight 15mm (F) 12mm (F) Push Fit Mechanism  The collet has metal teeth that grasp the pipe and the locking mechanism, which helps lock the pipes more effectively and securely.  learn about the benefits of push to connect fittings.  push fit pipe fittings, also known as push to connect or quick connect fittings, work by using a combination of sealing and. They come in a variety. Push Fit Mechanism.
     
    
        From waterfiltershop.co.uk 
                    Push Fit Pressure reduction valve Push Fit Mechanism   a push fit fitting is a compression type of fitting with an easy installation process and a watertight seal.  push fit pipe fittings, also known as push to connect or quick connect fittings, work by using a combination of sealing and. They come in a variety of configurations, can be used in a wide range of applications and. Push Fit Mechanism.
     
    
        From www.drainageonline.co.uk 
                    50mm PushFit Pipe Coupler 50mm Pushfit Waste Drainage Online Push Fit Mechanism  They come in a variety of configurations, can be used in a wide range of applications and have many advantages. Find out how these fittings simplify installation and ensure a connection to your hydraulic system.  push fit pipe fittings, also known as push to connect or quick connect fittings, work by using a combination of sealing and.  learn. Push Fit Mechanism.
     
    
        From connectorsupplier.com 
                    PushPull Circular Connectors Push Fit Mechanism   learn about the benefits of push to connect fittings. They come in a variety of configurations, can be used in a wide range of applications and have many advantages. Simply push, connect and go! The collet has metal teeth that grasp the pipe and the locking mechanism, which helps lock the pipes more effectively and securely.  push fit. Push Fit Mechanism.
     
    
        From pipefittingandvalve.com 
                    push on resilient seated awwa gate valve for ips pipe ductile iron Push Fit Mechanism  Simply push, connect and go! They come in a variety of configurations, can be used in a wide range of applications and have many advantages. The collet has metal teeth that grasp the pipe and the locking mechanism, which helps lock the pipes more effectively and securely.  push fit pipe fittings, also known as push to connect or quick. Push Fit Mechanism.
     
    
        From thelogboiler.com 
                    3 /4" FPT (Female Pipe Thread) Push Fitting The Log Boiler Push Fit Mechanism   push fit pipe fittings, also known as push to connect or quick connect fittings, work by using a combination of sealing and. The collet has metal teeth that grasp the pipe and the locking mechanism, which helps lock the pipes more effectively and securely. Simply push, connect and go!  a push fit fitting is a compression type of. Push Fit Mechanism.
     
    
        From aalberts-ips.co.uk 
                    Push Fit Straight Connector Push Fit Mechanism   push fit pipe fittings, also known as push to connect or quick connect fittings, work by using a combination of sealing and. The collet has metal teeth that grasp the pipe and the locking mechanism, which helps lock the pipes more effectively and securely. Find out how these fittings simplify installation and ensure a connection to your hydraulic system.. Push Fit Mechanism.
     
    
        From oriplast.com 
                    Advantages of Push Fit PVC Fittings Oriplast Push Fit Mechanism  Find out how these fittings simplify installation and ensure a connection to your hydraulic system. They come in a variety of configurations, can be used in a wide range of applications and have many advantages. Simply push, connect and go!  learn about the benefits of push to connect fittings. The collet has metal teeth that grasp the pipe and. Push Fit Mechanism.
     
    
        From www.campingandcaravandirect.co.uk 
                    28mm Push Fit 90 Degree Connector Push Fit Mechanism  Simply push, connect and go! They come in a variety of configurations, can be used in a wide range of applications and have many advantages.  learn about the benefits of push to connect fittings. Find out how these fittings simplify installation and ensure a connection to your hydraulic system.  push fit pipe fittings, also known as push to. Push Fit Mechanism.
     
    
        From monk3947.medium.com 
                    Push To Release Mechanism Design Plan by Tomsen Medium Push Fit Mechanism  The collet has metal teeth that grasp the pipe and the locking mechanism, which helps lock the pipes more effectively and securely.  push fit pipe fittings, also known as push to connect or quick connect fittings, work by using a combination of sealing and. They come in a variety of configurations, can be used in a wide range of. Push Fit Mechanism.
     
    
        From www.gpi-instruments.com 
                    PushFit Fittings GPI Inc Push Fit Mechanism   learn about the benefits of push to connect fittings. Simply push, connect and go! Find out how these fittings simplify installation and ensure a connection to your hydraulic system.  a push fit fitting is a compression type of fitting with an easy installation process and a watertight seal. The collet has metal teeth that grasp the pipe and. Push Fit Mechanism.
     
    
        From www.iqsdirectory.com 
                    Push Pull Cables Types, Uses, Features and Benefits Push Fit Mechanism  Simply push, connect and go! The collet has metal teeth that grasp the pipe and the locking mechanism, which helps lock the pipes more effectively and securely.  learn about the benefits of push to connect fittings.  a push fit fitting is a compression type of fitting with an easy installation process and a watertight seal. Find out how. Push Fit Mechanism.
     
    
        From www.pipsisland.com 
                    5 Steps To Fit Push Fit Pipe Connectors Push Fit Mechanism   learn about the benefits of push to connect fittings. They come in a variety of configurations, can be used in a wide range of applications and have many advantages. Simply push, connect and go!  a push fit fitting is a compression type of fitting with an easy installation process and a watertight seal. The collet has metal teeth. Push Fit Mechanism.
     
    
        From puriflowfilters.co.uk 
                    1/4" Push Fit to 1/2" BSP Push Fit Tap Adaptor Puriflow Filters Push Fit Mechanism  The collet has metal teeth that grasp the pipe and the locking mechanism, which helps lock the pipes more effectively and securely. Find out how these fittings simplify installation and ensure a connection to your hydraulic system. Simply push, connect and go!  push fit pipe fittings, also known as push to connect or quick connect fittings, work by using. Push Fit Mechanism.
     
    
        From www.centurioneurope.co.uk 
                    Centurion 22mm x 3/4 Stainless Steel Push Fit Flex Connector Push Fit Mechanism   push fit pipe fittings, also known as push to connect or quick connect fittings, work by using a combination of sealing and. They come in a variety of configurations, can be used in a wide range of applications and have many advantages.  learn about the benefits of push to connect fittings. The collet has metal teeth that grasp. Push Fit Mechanism.
     
    
        From shop.shepherd-hydraulics.com 
                    106MM S/S PUSH FIT STRAIGHTAIGHT Shepherd Hydraulics Push Fit Mechanism   learn about the benefits of push to connect fittings.  a push fit fitting is a compression type of fitting with an easy installation process and a watertight seal. Simply push, connect and go!  push fit pipe fittings, also known as push to connect or quick connect fittings, work by using a combination of sealing and. They come. Push Fit Mechanism.
     
    
        From www.amazon.com 
                    3/8 Push to Connect Fittings,CEKER 1/8 NPT Air Fittings PC Push Fit Mechanism  Simply push, connect and go!  learn about the benefits of push to connect fittings. They come in a variety of configurations, can be used in a wide range of applications and have many advantages. Find out how these fittings simplify installation and ensure a connection to your hydraulic system. The collet has metal teeth that grasp the pipe and. Push Fit Mechanism.
     
    
        From www.stcvalve.com 
                    PushIn Fitting Specifications Push Fit Mechanism   learn about the benefits of push to connect fittings. They come in a variety of configurations, can be used in a wide range of applications and have many advantages. Simply push, connect and go! Find out how these fittings simplify installation and ensure a connection to your hydraulic system. The collet has metal teeth that grasp the pipe and. Push Fit Mechanism.
     
    
        From www.diynot.com 
                    Pushfit waste repair or not DIYnot Forums Push Fit Mechanism   push fit pipe fittings, also known as push to connect or quick connect fittings, work by using a combination of sealing and. Find out how these fittings simplify installation and ensure a connection to your hydraulic system. The collet has metal teeth that grasp the pipe and the locking mechanism, which helps lock the pipes more effectively and securely.. Push Fit Mechanism.
     
    
        From www.google.com 
                    Patent US20110272307 PushPush Slide Mechanism Google Patents Push Fit Mechanism   a push fit fitting is a compression type of fitting with an easy installation process and a watertight seal. Find out how these fittings simplify installation and ensure a connection to your hydraulic system. The collet has metal teeth that grasp the pipe and the locking mechanism, which helps lock the pipes more effectively and securely.  learn about. Push Fit Mechanism.
     
    
        From www.barbourproductsearch.info 
                    The Benefits of PushFit Fittings 7 useful facts you need to know Push Fit Mechanism  The collet has metal teeth that grasp the pipe and the locking mechanism, which helps lock the pipes more effectively and securely. They come in a variety of configurations, can be used in a wide range of applications and have many advantages. Find out how these fittings simplify installation and ensure a connection to your hydraulic system.  push fit. Push Fit Mechanism.
     
    
        From www.acomarine.com 
                    Push Fit Pipe System Push Fit Mechanism  Simply push, connect and go! They come in a variety of configurations, can be used in a wide range of applications and have many advantages.  a push fit fitting is a compression type of fitting with an easy installation process and a watertight seal.  learn about the benefits of push to connect fittings. The collet has metal teeth. Push Fit Mechanism.
     
    
        From pipefittingandvalve.com 
                    push on resilient seated awwa gate valve for ips pipe ductile iron Push Fit Mechanism   push fit pipe fittings, also known as push to connect or quick connect fittings, work by using a combination of sealing and. Simply push, connect and go! The collet has metal teeth that grasp the pipe and the locking mechanism, which helps lock the pipes more effectively and securely. Find out how these fittings simplify installation and ensure a. Push Fit Mechanism.
     
    
        From pccau.com 
                    1/4" Push Fit Union Air Check Valve PCCAU Australia Push Fit Mechanism   push fit pipe fittings, also known as push to connect or quick connect fittings, work by using a combination of sealing and. The collet has metal teeth that grasp the pipe and the locking mechanism, which helps lock the pipes more effectively and securely.  learn about the benefits of push to connect fittings.  a push fit fitting. Push Fit Mechanism.
     
    
        From www.amazon.in 
                    HOSEMART Pneumatic Push Type Fittings 10mm X 1/2" Inch Male BSP Thread Push Fit Mechanism   learn about the benefits of push to connect fittings. Find out how these fittings simplify installation and ensure a connection to your hydraulic system.  a push fit fitting is a compression type of fitting with an easy installation process and a watertight seal. Simply push, connect and go! They come in a variety of configurations, can be used. Push Fit Mechanism.
     
    
        From www.cgtrader.com 
                    Push mechanism 3D model CGTrader Push Fit Mechanism   learn about the benefits of push to connect fittings.  push fit pipe fittings, also known as push to connect or quick connect fittings, work by using a combination of sealing and. They come in a variety of configurations, can be used in a wide range of applications and have many advantages. Simply push, connect and go! The collet. Push Fit Mechanism.