Aircraft Fuel Tank Structure . Compare the gravity fed and pump fed systems, and the types and requirements of. The type of aircraft, its design and. Rigid removable tanks, bladder tanks, and integral fuel tanks. Exchange experiences and information concerning aircraft fuel tank technology, exchange information concerning current design. Learn about the different types of aircraft fuel tanks, such as rigid, bladder and integral, and the materials they are made of, such as aluminum,. Learn about the components and functions of the airbus a320 fuel system, including storage, supply, and management of fuel for engine, apu, and cooling. There are three basic types of aircraft fuel tanks: Learn about the fuel delivery system, fuel tanks, and aviation fuels of a typical light aircraft.
from www.nlarenas.com
Learn about the different types of aircraft fuel tanks, such as rigid, bladder and integral, and the materials they are made of, such as aluminum,. Learn about the fuel delivery system, fuel tanks, and aviation fuels of a typical light aircraft. There are three basic types of aircraft fuel tanks: Rigid removable tanks, bladder tanks, and integral fuel tanks. Learn about the components and functions of the airbus a320 fuel system, including storage, supply, and management of fuel for engine, apu, and cooling. Compare the gravity fed and pump fed systems, and the types and requirements of. Exchange experiences and information concerning aircraft fuel tank technology, exchange information concerning current design. The type of aircraft, its design and.
Planes Fuel tanks » Nicolas Larenas
Aircraft Fuel Tank Structure Rigid removable tanks, bladder tanks, and integral fuel tanks. Compare the gravity fed and pump fed systems, and the types and requirements of. The type of aircraft, its design and. Learn about the different types of aircraft fuel tanks, such as rigid, bladder and integral, and the materials they are made of, such as aluminum,. Learn about the components and functions of the airbus a320 fuel system, including storage, supply, and management of fuel for engine, apu, and cooling. Exchange experiences and information concerning aircraft fuel tank technology, exchange information concerning current design. There are three basic types of aircraft fuel tanks: Rigid removable tanks, bladder tanks, and integral fuel tanks. Learn about the fuel delivery system, fuel tanks, and aviation fuels of a typical light aircraft.
From www.aircraftsystemstech.com
Types of Aircraft Fuel Tanks Aircraft Fuel Tank Structure Learn about the different types of aircraft fuel tanks, such as rigid, bladder and integral, and the materials they are made of, such as aluminum,. The type of aircraft, its design and. There are three basic types of aircraft fuel tanks: Learn about the fuel delivery system, fuel tanks, and aviation fuels of a typical light aircraft. Compare the gravity. Aircraft Fuel Tank Structure.
From globalaircraftservice.com
Fuel Storage Aircraft Fuel Tank Repairs Global Aircraft Services Aircraft Fuel Tank Structure Rigid removable tanks, bladder tanks, and integral fuel tanks. The type of aircraft, its design and. Learn about the fuel delivery system, fuel tanks, and aviation fuels of a typical light aircraft. Compare the gravity fed and pump fed systems, and the types and requirements of. Learn about the different types of aircraft fuel tanks, such as rigid, bladder and. Aircraft Fuel Tank Structure.
From aviation-fuel-tank.blogspot.com
Aircraft Fuel Tank Ullage In Australia Aircraft Fuel Tank Structure Learn about the components and functions of the airbus a320 fuel system, including storage, supply, and management of fuel for engine, apu, and cooling. There are three basic types of aircraft fuel tanks: Rigid removable tanks, bladder tanks, and integral fuel tanks. Exchange experiences and information concerning aircraft fuel tank technology, exchange information concerning current design. Learn about the different. Aircraft Fuel Tank Structure.
From ukaircraftcarrier.blogspot.com
Aircraft Fuel Bladder Aircraft Fuel Tank Structure Learn about the components and functions of the airbus a320 fuel system, including storage, supply, and management of fuel for engine, apu, and cooling. Rigid removable tanks, bladder tanks, and integral fuel tanks. Compare the gravity fed and pump fed systems, and the types and requirements of. There are three basic types of aircraft fuel tanks: Exchange experiences and information. Aircraft Fuel Tank Structure.
From www.linkedin.com
The Global Aircraft Fuel Tank Market is Projected to reach USD 909.2 Aircraft Fuel Tank Structure Exchange experiences and information concerning aircraft fuel tank technology, exchange information concerning current design. The type of aircraft, its design and. There are three basic types of aircraft fuel tanks: Rigid removable tanks, bladder tanks, and integral fuel tanks. Learn about the fuel delivery system, fuel tanks, and aviation fuels of a typical light aircraft. Learn about the different types. Aircraft Fuel Tank Structure.
From read.cholonautas.edu.pe
How Big Are Plane Fuel Tanks Printable Templates Free Aircraft Fuel Tank Structure Learn about the fuel delivery system, fuel tanks, and aviation fuels of a typical light aircraft. Learn about the components and functions of the airbus a320 fuel system, including storage, supply, and management of fuel for engine, apu, and cooling. Learn about the different types of aircraft fuel tanks, such as rigid, bladder and integral, and the materials they are. Aircraft Fuel Tank Structure.
From modelon.com
航空機燃料システム 複雑な燃料タンクのモデリングとシミュレーション Modelon (JA) Aircraft Fuel Tank Structure Learn about the components and functions of the airbus a320 fuel system, including storage, supply, and management of fuel for engine, apu, and cooling. There are three basic types of aircraft fuel tanks: Compare the gravity fed and pump fed systems, and the types and requirements of. Exchange experiences and information concerning aircraft fuel tank technology, exchange information concerning current. Aircraft Fuel Tank Structure.
From www.aopa.org
System rundown King Air fuel systems AOPA Aircraft Fuel Tank Structure Learn about the different types of aircraft fuel tanks, such as rigid, bladder and integral, and the materials they are made of, such as aluminum,. Learn about the fuel delivery system, fuel tanks, and aviation fuels of a typical light aircraft. There are three basic types of aircraft fuel tanks: Exchange experiences and information concerning aircraft fuel tank technology, exchange. Aircraft Fuel Tank Structure.
From nanohub.org
Resources Aviation Fuels Overview Watch Presentation Aircraft Fuel Tank Structure Rigid removable tanks, bladder tanks, and integral fuel tanks. Compare the gravity fed and pump fed systems, and the types and requirements of. Learn about the different types of aircraft fuel tanks, such as rigid, bladder and integral, and the materials they are made of, such as aluminum,. The type of aircraft, its design and. Exchange experiences and information concerning. Aircraft Fuel Tank Structure.
From blog.softinway.com
Aircraft Fuel System Modeling Turbomachinery blog Aircraft Fuel Tank Structure Compare the gravity fed and pump fed systems, and the types and requirements of. There are three basic types of aircraft fuel tanks: Learn about the components and functions of the airbus a320 fuel system, including storage, supply, and management of fuel for engine, apu, and cooling. Rigid removable tanks, bladder tanks, and integral fuel tanks. Learn about the fuel. Aircraft Fuel Tank Structure.
From www.aeroclass.org
Aircraft Fuel System Aircraft Fuel Tank Structure Compare the gravity fed and pump fed systems, and the types and requirements of. Rigid removable tanks, bladder tanks, and integral fuel tanks. Exchange experiences and information concerning aircraft fuel tank technology, exchange information concerning current design. Learn about the components and functions of the airbus a320 fuel system, including storage, supply, and management of fuel for engine, apu, and. Aircraft Fuel Tank Structure.
From www.aeroexpo.online
Fuel tank BATT series SEI INDUSTRIES LTD. flexible / for aircraft Aircraft Fuel Tank Structure The type of aircraft, its design and. Rigid removable tanks, bladder tanks, and integral fuel tanks. Compare the gravity fed and pump fed systems, and the types and requirements of. Learn about the fuel delivery system, fuel tanks, and aviation fuels of a typical light aircraft. There are three basic types of aircraft fuel tanks: Learn about the different types. Aircraft Fuel Tank Structure.
From www.dla.mil
86 MXS crawls into C130 fuel tank inspection > Defense Logistics Aircraft Fuel Tank Structure Rigid removable tanks, bladder tanks, and integral fuel tanks. Learn about the components and functions of the airbus a320 fuel system, including storage, supply, and management of fuel for engine, apu, and cooling. There are three basic types of aircraft fuel tanks: Learn about the different types of aircraft fuel tanks, such as rigid, bladder and integral, and the materials. Aircraft Fuel Tank Structure.
From www.acc.af.mil
F15 fuel tanks receive 2.5 million storage system > Air Combat Aircraft Fuel Tank Structure Learn about the different types of aircraft fuel tanks, such as rigid, bladder and integral, and the materials they are made of, such as aluminum,. The type of aircraft, its design and. Exchange experiences and information concerning aircraft fuel tank technology, exchange information concerning current design. Rigid removable tanks, bladder tanks, and integral fuel tanks. Compare the gravity fed and. Aircraft Fuel Tank Structure.
From www.dvidshub.net
DVIDS Images 18th CMS external aircraft fuel tank storage system Aircraft Fuel Tank Structure Compare the gravity fed and pump fed systems, and the types and requirements of. The type of aircraft, its design and. Learn about the fuel delivery system, fuel tanks, and aviation fuels of a typical light aircraft. There are three basic types of aircraft fuel tanks: Learn about the components and functions of the airbus a320 fuel system, including storage,. Aircraft Fuel Tank Structure.
From www.enginehistory.org
Aircraft Fuel System Fuel Cell Details Aircraft Fuel Tank Structure The type of aircraft, its design and. Learn about the components and functions of the airbus a320 fuel system, including storage, supply, and management of fuel for engine, apu, and cooling. Learn about the fuel delivery system, fuel tanks, and aviation fuels of a typical light aircraft. Compare the gravity fed and pump fed systems, and the types and requirements. Aircraft Fuel Tank Structure.
From www.nlarenas.com
Planes Fuel tanks » Nicolas Larenas Aircraft Fuel Tank Structure Compare the gravity fed and pump fed systems, and the types and requirements of. The type of aircraft, its design and. Exchange experiences and information concerning aircraft fuel tank technology, exchange information concerning current design. Learn about the fuel delivery system, fuel tanks, and aviation fuels of a typical light aircraft. Rigid removable tanks, bladder tanks, and integral fuel tanks.. Aircraft Fuel Tank Structure.
From navypierparking2.blogspot.com
airplane fuel tank navypierparking2 Aircraft Fuel Tank Structure Exchange experiences and information concerning aircraft fuel tank technology, exchange information concerning current design. Rigid removable tanks, bladder tanks, and integral fuel tanks. Learn about the different types of aircraft fuel tanks, such as rigid, bladder and integral, and the materials they are made of, such as aluminum,. Learn about the fuel delivery system, fuel tanks, and aviation fuels of. Aircraft Fuel Tank Structure.
From glasair-owners.com
Build Your Own Auxiliary Fuel Tanks Glasair Aircraft Owners Association Aircraft Fuel Tank Structure Compare the gravity fed and pump fed systems, and the types and requirements of. Exchange experiences and information concerning aircraft fuel tank technology, exchange information concerning current design. Learn about the different types of aircraft fuel tanks, such as rigid, bladder and integral, and the materials they are made of, such as aluminum,. Rigid removable tanks, bladder tanks, and integral. Aircraft Fuel Tank Structure.
From www.naa.edu
What Are the Different Types of Aviation Fuel? National Aviation Academy Aircraft Fuel Tank Structure Compare the gravity fed and pump fed systems, and the types and requirements of. There are three basic types of aircraft fuel tanks: Rigid removable tanks, bladder tanks, and integral fuel tanks. Exchange experiences and information concerning aircraft fuel tank technology, exchange information concerning current design. Learn about the different types of aircraft fuel tanks, such as rigid, bladder and. Aircraft Fuel Tank Structure.
From wiringdiagram.2bitboer.com
C172 Fuel System Schematic Wiring Diagram Aircraft Fuel Tank Structure Learn about the components and functions of the airbus a320 fuel system, including storage, supply, and management of fuel for engine, apu, and cooling. Learn about the fuel delivery system, fuel tanks, and aviation fuels of a typical light aircraft. Exchange experiences and information concerning aircraft fuel tank technology, exchange information concerning current design. The type of aircraft, its design. Aircraft Fuel Tank Structure.
From simpleflying.com
Where Is Fuel Stored Onboard An Aircraft? Simple Flying Aircraft Fuel Tank Structure Exchange experiences and information concerning aircraft fuel tank technology, exchange information concerning current design. Learn about the different types of aircraft fuel tanks, such as rigid, bladder and integral, and the materials they are made of, such as aluminum,. Learn about the fuel delivery system, fuel tanks, and aviation fuels of a typical light aircraft. Compare the gravity fed and. Aircraft Fuel Tank Structure.
From circuitdiagramjeanette.z13.web.core.windows.net
Fuel Tank Capacity Of Airbus A320 Aircraft Fuel Tank Structure The type of aircraft, its design and. Learn about the fuel delivery system, fuel tanks, and aviation fuels of a typical light aircraft. Learn about the different types of aircraft fuel tanks, such as rigid, bladder and integral, and the materials they are made of, such as aluminum,. Compare the gravity fed and pump fed systems, and the types and. Aircraft Fuel Tank Structure.
From www.aircraftsystemstech.com
Types of Aircraft Fuel Tanks Aircraft Fuel Tank Structure The type of aircraft, its design and. Rigid removable tanks, bladder tanks, and integral fuel tanks. Compare the gravity fed and pump fed systems, and the types and requirements of. There are three basic types of aircraft fuel tanks: Exchange experiences and information concerning aircraft fuel tank technology, exchange information concerning current design. Learn about the components and functions of. Aircraft Fuel Tank Structure.
From magam-safety.com
Flexible Fuel Tanks MAGAM SAFETY Aircraft Fuel Tank Structure There are three basic types of aircraft fuel tanks: Compare the gravity fed and pump fed systems, and the types and requirements of. The type of aircraft, its design and. Learn about the components and functions of the airbus a320 fuel system, including storage, supply, and management of fuel for engine, apu, and cooling. Learn about the fuel delivery system,. Aircraft Fuel Tank Structure.
From www.aircraftsystemstech.com
Types of Aircraft Fuel Tanks Aircraft Fuel Tank Structure Learn about the components and functions of the airbus a320 fuel system, including storage, supply, and management of fuel for engine, apu, and cooling. Rigid removable tanks, bladder tanks, and integral fuel tanks. Learn about the fuel delivery system, fuel tanks, and aviation fuels of a typical light aircraft. Exchange experiences and information concerning aircraft fuel tank technology, exchange information. Aircraft Fuel Tank Structure.
From www.afastaero.com
AOG Aircraft Fuel Tank Sealers Leak Repairs FQIS Harness Replacement Aircraft Fuel Tank Structure Learn about the fuel delivery system, fuel tanks, and aviation fuels of a typical light aircraft. Rigid removable tanks, bladder tanks, and integral fuel tanks. Compare the gravity fed and pump fed systems, and the types and requirements of. Exchange experiences and information concerning aircraft fuel tank technology, exchange information concerning current design. The type of aircraft, its design and.. Aircraft Fuel Tank Structure.
From twitter.com
く"らモコ on Twitter "空中給油機っていうと胴体部分にいっぱい燃料積んでるイメージをしがちなんですが、実はだいたい機体下部だけで Aircraft Fuel Tank Structure Exchange experiences and information concerning aircraft fuel tank technology, exchange information concerning current design. Learn about the different types of aircraft fuel tanks, such as rigid, bladder and integral, and the materials they are made of, such as aluminum,. Learn about the components and functions of the airbus a320 fuel system, including storage, supply, and management of fuel for engine,. Aircraft Fuel Tank Structure.
From www.google.com
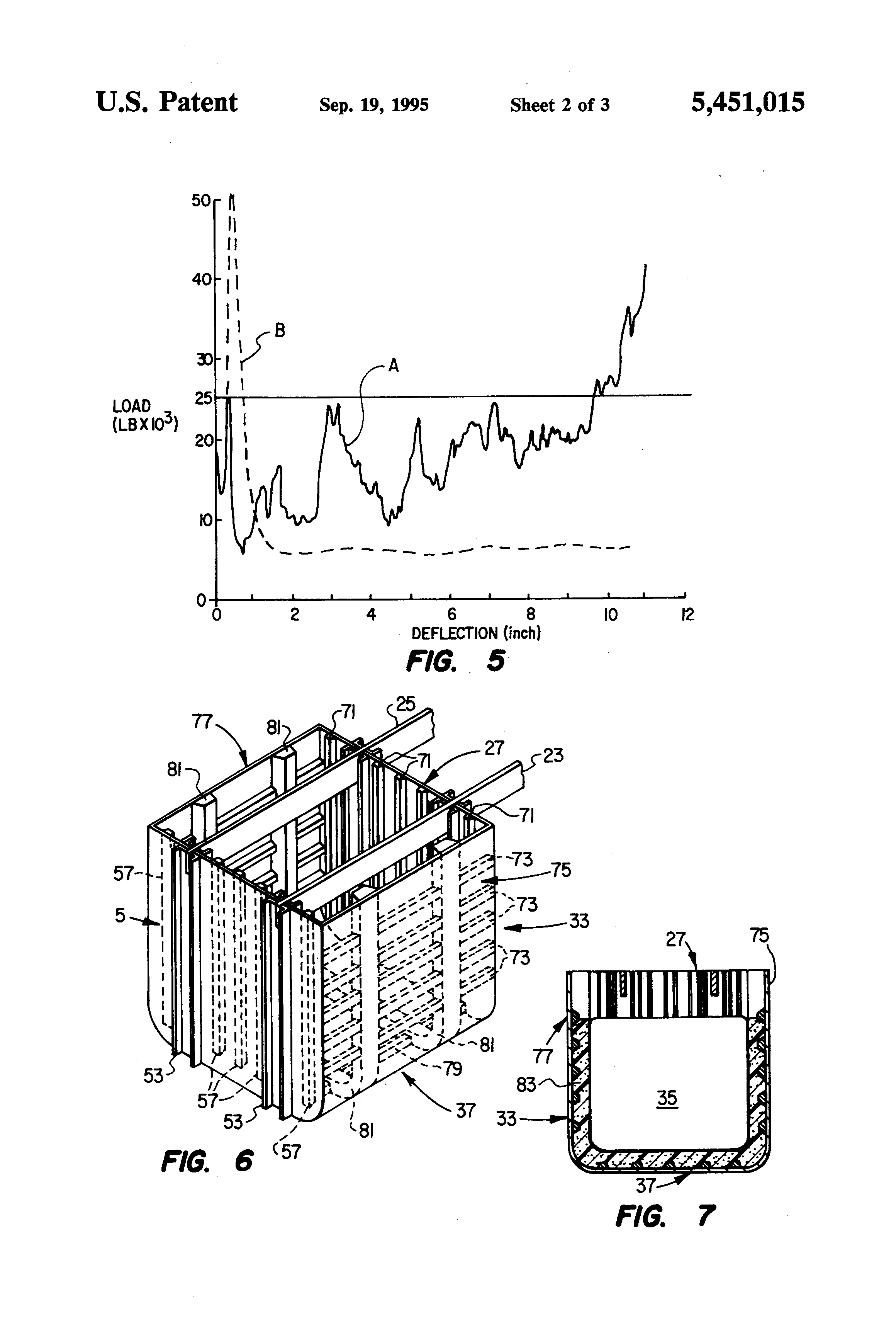
Patent US5451015 Crashworthy composite aircraft structure with Aircraft Fuel Tank Structure Learn about the fuel delivery system, fuel tanks, and aviation fuels of a typical light aircraft. Rigid removable tanks, bladder tanks, and integral fuel tanks. Exchange experiences and information concerning aircraft fuel tank technology, exchange information concerning current design. Learn about the different types of aircraft fuel tanks, such as rigid, bladder and integral, and the materials they are made. Aircraft Fuel Tank Structure.
From www.aircraftsystemstech.com
Types of Aircraft Fuel Tanks Aircraft Fuel Tank Structure Learn about the components and functions of the airbus a320 fuel system, including storage, supply, and management of fuel for engine, apu, and cooling. Learn about the different types of aircraft fuel tanks, such as rigid, bladder and integral, and the materials they are made of, such as aluminum,. Compare the gravity fed and pump fed systems, and the types. Aircraft Fuel Tank Structure.
From aviamech.blogspot.com
Integral Fuel Tanks Aircraft Maintenance EngineeringMechanical Aircraft Fuel Tank Structure The type of aircraft, its design and. Exchange experiences and information concerning aircraft fuel tank technology, exchange information concerning current design. There are three basic types of aircraft fuel tanks: Learn about the different types of aircraft fuel tanks, such as rigid, bladder and integral, and the materials they are made of, such as aluminum,. Learn about the components and. Aircraft Fuel Tank Structure.
From www.jbcharleston.jb.mil
Fuel Tank Extraction exercise tests first responders > Joint Base Aircraft Fuel Tank Structure Learn about the fuel delivery system, fuel tanks, and aviation fuels of a typical light aircraft. Rigid removable tanks, bladder tanks, and integral fuel tanks. Learn about the different types of aircraft fuel tanks, such as rigid, bladder and integral, and the materials they are made of, such as aluminum,. Compare the gravity fed and pump fed systems, and the. Aircraft Fuel Tank Structure.
From aviamech.blogspot.com
Integral Fuel Tanks Aircraft Maintenance EngineeringMechanical Aircraft Fuel Tank Structure Rigid removable tanks, bladder tanks, and integral fuel tanks. Exchange experiences and information concerning aircraft fuel tank technology, exchange information concerning current design. Learn about the components and functions of the airbus a320 fuel system, including storage, supply, and management of fuel for engine, apu, and cooling. Learn about the different types of aircraft fuel tanks, such as rigid, bladder. Aircraft Fuel Tank Structure.
From fl360aero.com
Life Inside an Aircraft Fuel Tank Risks and Defences Aircraft Fuel Tank Structure Compare the gravity fed and pump fed systems, and the types and requirements of. Learn about the different types of aircraft fuel tanks, such as rigid, bladder and integral, and the materials they are made of, such as aluminum,. The type of aircraft, its design and. Rigid removable tanks, bladder tanks, and integral fuel tanks. Learn about the components and. Aircraft Fuel Tank Structure.
From www.pfw.aero
Fuel tanks PFW Aerospace Aircraft Fuel Tank Structure Rigid removable tanks, bladder tanks, and integral fuel tanks. Compare the gravity fed and pump fed systems, and the types and requirements of. Learn about the components and functions of the airbus a320 fuel system, including storage, supply, and management of fuel for engine, apu, and cooling. Exchange experiences and information concerning aircraft fuel tank technology, exchange information concerning current. Aircraft Fuel Tank Structure.