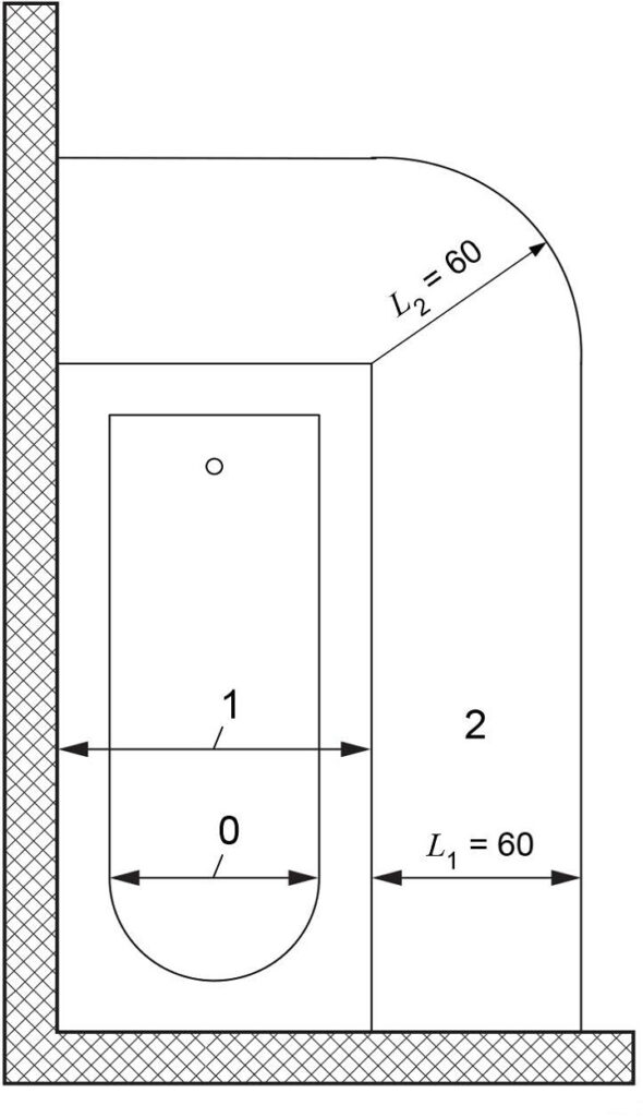
Bathroom Zone Definition . Bathroom zones are specific areas of set dimensions within a bathroom, shower room or wet room. Bathroom zones are areas where electrical equipment must offer a certain degree of protection against water. The zonal requirements of each area are mainly. If you’re not sure what bathroom electrical zones are, then read on to find out exactly what they are, and which bathroom appliance goes in which zone. Understanding these zones helps you select the right electrical fittings and ensures your safety and that of your investments. Zone 0 for a bathroom is the area inside the bath. When we talk about bathroom zones, we're essentially classifying different areas in your bathroom based on their proximity to water sources. Zone 0 for a shower room is the area inside the shower basin. The bathroom is split up into three different zones. If there is no shower basin, zone 0 is 10cm high from the finished floor. Bathroom zones are not restricted to just bathrooms, the zones also apply to any room which contains a bath or shower, for example a shower in a bedroom.
from www.downlightsdirect.co.uk
Bathroom zones are not restricted to just bathrooms, the zones also apply to any room which contains a bath or shower, for example a shower in a bedroom. Zone 0 for a shower room is the area inside the shower basin. Bathroom zones are specific areas of set dimensions within a bathroom, shower room or wet room. If you’re not sure what bathroom electrical zones are, then read on to find out exactly what they are, and which bathroom appliance goes in which zone. When we talk about bathroom zones, we're essentially classifying different areas in your bathroom based on their proximity to water sources. If there is no shower basin, zone 0 is 10cm high from the finished floor. The bathroom is split up into three different zones. Zone 0 for a bathroom is the area inside the bath. The zonal requirements of each area are mainly. Understanding these zones helps you select the right electrical fittings and ensures your safety and that of your investments.
Bathroom Lighting Zones and Regulations Explained Downlights Direct
Bathroom Zone Definition If you’re not sure what bathroom electrical zones are, then read on to find out exactly what they are, and which bathroom appliance goes in which zone. If you’re not sure what bathroom electrical zones are, then read on to find out exactly what they are, and which bathroom appliance goes in which zone. Zone 0 for a bathroom is the area inside the bath. When we talk about bathroom zones, we're essentially classifying different areas in your bathroom based on their proximity to water sources. If there is no shower basin, zone 0 is 10cm high from the finished floor. Understanding these zones helps you select the right electrical fittings and ensures your safety and that of your investments. Zone 0 for a shower room is the area inside the shower basin. Bathroom zones are specific areas of set dimensions within a bathroom, shower room or wet room. The zonal requirements of each area are mainly. Bathroom zones are not restricted to just bathrooms, the zones also apply to any room which contains a bath or shower, for example a shower in a bedroom. Bathroom zones are areas where electrical equipment must offer a certain degree of protection against water. The bathroom is split up into three different zones.
From jetstwit.com
Bathroom Light Zones Explained Bathroom Guide by Jetstwit Bathroom Zone Definition Bathroom zones are areas where electrical equipment must offer a certain degree of protection against water. Bathroom zones are not restricted to just bathrooms, the zones also apply to any room which contains a bath or shower, for example a shower in a bedroom. The zonal requirements of each area are mainly. Bathroom zones are specific areas of set dimensions. Bathroom Zone Definition.
From jetstwit.com
Bathroom Lighting Zones Explained Bathroom Guide by Jetstwit Bathroom Zone Definition Bathroom zones are not restricted to just bathrooms, the zones also apply to any room which contains a bath or shower, for example a shower in a bedroom. The bathroom is split up into three different zones. If there is no shower basin, zone 0 is 10cm high from the finished floor. If you’re not sure what bathroom electrical zones. Bathroom Zone Definition.
From www.qssupplies.co.uk
Bathroom Electric Zones in the UK and IP Rating Explained QS Supplies Bathroom Zone Definition The bathroom is split up into three different zones. When we talk about bathroom zones, we're essentially classifying different areas in your bathroom based on their proximity to water sources. Bathroom zones are areas where electrical equipment must offer a certain degree of protection against water. Understanding these zones helps you select the right electrical fittings and ensures your safety. Bathroom Zone Definition.
From www.downlights.co.uk
What are Bathroom Zones? IP Ratings Explained Downlights.co.uk Bathroom Zone Definition If you’re not sure what bathroom electrical zones are, then read on to find out exactly what they are, and which bathroom appliance goes in which zone. If there is no shower basin, zone 0 is 10cm high from the finished floor. Bathroom zones are specific areas of set dimensions within a bathroom, shower room or wet room. The bathroom. Bathroom Zone Definition.
From www.nightworksstudio.com
Our guide to IP Ratings & Bathroom Zones Nightworks Studio Bathroom Zone Definition Zone 0 for a bathroom is the area inside the bath. Bathroom zones are not restricted to just bathrooms, the zones also apply to any room which contains a bath or shower, for example a shower in a bedroom. When we talk about bathroom zones, we're essentially classifying different areas in your bathroom based on their proximity to water sources.. Bathroom Zone Definition.
From www.valuelights.co.uk
Understanding Bathroom Lighting and IP Ratings Value Lights Bathroom Zone Definition The zonal requirements of each area are mainly. When we talk about bathroom zones, we're essentially classifying different areas in your bathroom based on their proximity to water sources. If you’re not sure what bathroom electrical zones are, then read on to find out exactly what they are, and which bathroom appliance goes in which zone. Bathroom zones are not. Bathroom Zone Definition.
From manningham.co.uk
How to Guide Bathroom Zone Definition If you’re not sure what bathroom electrical zones are, then read on to find out exactly what they are, and which bathroom appliance goes in which zone. Bathroom zones are not restricted to just bathrooms, the zones also apply to any room which contains a bath or shower, for example a shower in a bedroom. When we talk about bathroom. Bathroom Zone Definition.
From www.asutpp.com
Comprehensive Guide to Bathroom Zones Asutpp Bathroom Zone Definition When we talk about bathroom zones, we're essentially classifying different areas in your bathroom based on their proximity to water sources. The zonal requirements of each area are mainly. Zone 0 for a bathroom is the area inside the bath. The bathroom is split up into three different zones. Bathroom zones are not restricted to just bathrooms, the zones also. Bathroom Zone Definition.
From www.pureventilation.com.au
Bathroom Zones for Electrical Items The Guide Pure Ventilation Bathroom Zone Definition If there is no shower basin, zone 0 is 10cm high from the finished floor. Zone 0 for a shower room is the area inside the shower basin. If you’re not sure what bathroom electrical zones are, then read on to find out exactly what they are, and which bathroom appliance goes in which zone. The zonal requirements of each. Bathroom Zone Definition.
From www.freepik.com
Premium Photo Bathroom with distinct wet and dry zones Bathroom Zone Definition Bathroom zones are specific areas of set dimensions within a bathroom, shower room or wet room. Understanding these zones helps you select the right electrical fittings and ensures your safety and that of your investments. If you’re not sure what bathroom electrical zones are, then read on to find out exactly what they are, and which bathroom appliance goes in. Bathroom Zone Definition.
From www.dusklights.co.uk
Bathroom Zones Bathroom Lighting Zones Dusk Lighting Bathroom Zone Definition If you’re not sure what bathroom electrical zones are, then read on to find out exactly what they are, and which bathroom appliance goes in which zone. Bathroom zones are specific areas of set dimensions within a bathroom, shower room or wet room. The bathroom is split up into three different zones. The zonal requirements of each area are mainly.. Bathroom Zone Definition.
From thebathroomblueprint.com
Bathroom Electrical Regulations (UK) Everything You Need To Know Bathroom Zone Definition Understanding these zones helps you select the right electrical fittings and ensures your safety and that of your investments. Bathroom zones are not restricted to just bathrooms, the zones also apply to any room which contains a bath or shower, for example a shower in a bedroom. Bathroom zones are specific areas of set dimensions within a bathroom, shower room. Bathroom Zone Definition.
From www.procertssoftware.com
Bathroom Zones 18th Edition BS 7671 Bathroom Zone Definition The zonal requirements of each area are mainly. Bathroom zones are not restricted to just bathrooms, the zones also apply to any room which contains a bath or shower, for example a shower in a bedroom. Zone 0 for a bathroom is the area inside the bath. Understanding these zones helps you select the right electrical fittings and ensures your. Bathroom Zone Definition.
From www.extractorfanworld.co.uk
Extractor Fan World's Guide to Bathroom Zones Bathroom Zone Definition Bathroom zones are areas where electrical equipment must offer a certain degree of protection against water. When we talk about bathroom zones, we're essentially classifying different areas in your bathroom based on their proximity to water sources. Bathroom zones are specific areas of set dimensions within a bathroom, shower room or wet room. If there is no shower basin, zone. Bathroom Zone Definition.
From bathroomposter.blogspot.com
What Is Zone 1 And 2 In A Bathroom Bathroom Poster Bathroom Zone Definition Bathroom zones are not restricted to just bathrooms, the zones also apply to any room which contains a bath or shower, for example a shower in a bedroom. Zone 0 for a shower room is the area inside the shower basin. Bathroom zones are specific areas of set dimensions within a bathroom, shower room or wet room. Understanding these zones. Bathroom Zone Definition.
From www.thelightingsuperstore.co.uk
Bathroom Lighting Zones & Regulations The Lighting Superstore Bathroom Zone Definition When we talk about bathroom zones, we're essentially classifying different areas in your bathroom based on their proximity to water sources. Bathroom zones are not restricted to just bathrooms, the zones also apply to any room which contains a bath or shower, for example a shower in a bedroom. Zone 0 for a bathroom is the area inside the bath.. Bathroom Zone Definition.
From www.livinghouse.co.uk
Bathroom Zones and IP Ratings Explained Livinghouse Blog Bathroom Zone Definition If you’re not sure what bathroom electrical zones are, then read on to find out exactly what they are, and which bathroom appliance goes in which zone. Zone 0 for a shower room is the area inside the shower basin. Understanding these zones helps you select the right electrical fittings and ensures your safety and that of your investments. If. Bathroom Zone Definition.
From www.youtube.com
Shower Zones Explained within a Bathroom Zone 0, 1 and 2 plus IP Bathroom Zone Definition The zonal requirements of each area are mainly. Bathroom zones are areas where electrical equipment must offer a certain degree of protection against water. If there is no shower basin, zone 0 is 10cm high from the finished floor. Bathroom zones are not restricted to just bathrooms, the zones also apply to any room which contains a bath or shower,. Bathroom Zone Definition.
From www.lyco.co.uk
Bathroom Zones What Can Go Where Lyco Bathroom Zone Definition If there is no shower basin, zone 0 is 10cm high from the finished floor. When we talk about bathroom zones, we're essentially classifying different areas in your bathroom based on their proximity to water sources. The zonal requirements of each area are mainly. Zone 0 for a bathroom is the area inside the bath. Understanding these zones helps you. Bathroom Zone Definition.
From semisonline.net
Bathroom Lighting Zones Explained Semis Online Bathroom Zone Definition If you’re not sure what bathroom electrical zones are, then read on to find out exactly what they are, and which bathroom appliance goes in which zone. Bathroom zones are not restricted to just bathrooms, the zones also apply to any room which contains a bath or shower, for example a shower in a bedroom. The bathroom is split up. Bathroom Zone Definition.
From www.lightingandlights.co.uk
The Complete Guide to Bathroom Lighting Lighting & Lights Bathroom Zone Definition When we talk about bathroom zones, we're essentially classifying different areas in your bathroom based on their proximity to water sources. Bathroom zones are specific areas of set dimensions within a bathroom, shower room or wet room. Bathroom zones are areas where electrical equipment must offer a certain degree of protection against water. If there is no shower basin, zone. Bathroom Zone Definition.
From www.youtube.com
Bathroom Zones Explained Zones 0, 1 and 2 IP Ratings and are BS Bathroom Zone Definition Zone 0 for a shower room is the area inside the shower basin. Bathroom zones are areas where electrical equipment must offer a certain degree of protection against water. Understanding these zones helps you select the right electrical fittings and ensures your safety and that of your investments. Bathroom zones are specific areas of set dimensions within a bathroom, shower. Bathroom Zone Definition.
From www.heatandplumb.com
Bathroom Zones IP Ratings Explained Technical Guides Bathroom Zone Definition When we talk about bathroom zones, we're essentially classifying different areas in your bathroom based on their proximity to water sources. Bathroom zones are areas where electrical equipment must offer a certain degree of protection against water. Bathroom zones are not restricted to just bathrooms, the zones also apply to any room which contains a bath or shower, for example. Bathroom Zone Definition.
From www.qssupplies.co.uk
Bathroom Electric Zones in the UK and IP Rating Explained QS Supplies Bathroom Zone Definition The zonal requirements of each area are mainly. Understanding these zones helps you select the right electrical fittings and ensures your safety and that of your investments. Zone 0 for a shower room is the area inside the shower basin. Bathroom zones are areas where electrical equipment must offer a certain degree of protection against water. Bathroom zones are not. Bathroom Zone Definition.
From www.downlightsdirect.co.uk
Bathroom Lighting Zones and Regulations Explained Downlights Direct Bathroom Zone Definition When we talk about bathroom zones, we're essentially classifying different areas in your bathroom based on their proximity to water sources. Zone 0 for a shower room is the area inside the shower basin. Bathroom zones are not restricted to just bathrooms, the zones also apply to any room which contains a bath or shower, for example a shower in. Bathroom Zone Definition.
From satulight.com
Bathroom Zones IP Ratings Requirements Satulight Bathroom Zone Definition The bathroom is split up into three different zones. Bathroom zones are not restricted to just bathrooms, the zones also apply to any room which contains a bath or shower, for example a shower in a bedroom. Bathroom zones are specific areas of set dimensions within a bathroom, shower room or wet room. When we talk about bathroom zones, we're. Bathroom Zone Definition.
From heirloom-int.com.au
Bathroom Zones Bathroom Zone Definition Zone 0 for a bathroom is the area inside the bath. Bathroom zones are not restricted to just bathrooms, the zones also apply to any room which contains a bath or shower, for example a shower in a bedroom. Bathroom zones are areas where electrical equipment must offer a certain degree of protection against water. If you’re not sure what. Bathroom Zone Definition.
From www.hollowaysofludlow.com
What are bathroom zones? Holloways of Ludlow Bathroom Zone Definition When we talk about bathroom zones, we're essentially classifying different areas in your bathroom based on their proximity to water sources. The zonal requirements of each area are mainly. If there is no shower basin, zone 0 is 10cm high from the finished floor. The bathroom is split up into three different zones. Zone 0 for a shower room is. Bathroom Zone Definition.
From flameport.com
Bathroom Zones as defined in BS7671 Bathroom Zone Definition Bathroom zones are specific areas of set dimensions within a bathroom, shower room or wet room. Understanding these zones helps you select the right electrical fittings and ensures your safety and that of your investments. If you’re not sure what bathroom electrical zones are, then read on to find out exactly what they are, and which bathroom appliance goes in. Bathroom Zone Definition.
From www.freepik.com
Premium Photo Bathroom with distinct wet and dry zones Bathroom Zone Definition When we talk about bathroom zones, we're essentially classifying different areas in your bathroom based on their proximity to water sources. The zonal requirements of each area are mainly. Bathroom zones are areas where electrical equipment must offer a certain degree of protection against water. Zone 0 for a bathroom is the area inside the bath. The bathroom is split. Bathroom Zone Definition.
From www.cromptonlamps.com
Bathroom Zones Explained Crompton Lamps Ltd Bathroom Zone Definition Zone 0 for a bathroom is the area inside the bath. Bathroom zones are areas where electrical equipment must offer a certain degree of protection against water. If there is no shower basin, zone 0 is 10cm high from the finished floor. Bathroom zones are specific areas of set dimensions within a bathroom, shower room or wet room. Zone 0. Bathroom Zone Definition.
From www.youtube.com
Bathroom Zones in a Wet Rooms Explained Fixed Water Outlet and Bathroom Zone Definition Bathroom zones are areas where electrical equipment must offer a certain degree of protection against water. Bathroom zones are not restricted to just bathrooms, the zones also apply to any room which contains a bath or shower, for example a shower in a bedroom. Bathroom zones are specific areas of set dimensions within a bathroom, shower room or wet room.. Bathroom Zone Definition.
From www.eterna-lighting.co.uk
Guides ETERNA LIGHTING Bathroom Zone Definition Bathroom zones are specific areas of set dimensions within a bathroom, shower room or wet room. When we talk about bathroom zones, we're essentially classifying different areas in your bathroom based on their proximity to water sources. If you’re not sure what bathroom electrical zones are, then read on to find out exactly what they are, and which bathroom appliance. Bathroom Zone Definition.
From www.roomsketcher.com
Bathroom Layout 101 A Guide to Planning Your Dream Bathroom Bathroom Zone Definition The zonal requirements of each area are mainly. Zone 0 for a bathroom is the area inside the bath. The bathroom is split up into three different zones. When we talk about bathroom zones, we're essentially classifying different areas in your bathroom based on their proximity to water sources. If there is no shower basin, zone 0 is 10cm high. Bathroom Zone Definition.
From www.freepik.com
Premium Photo Bathroom with distinct wet and dry zones Bathroom Zone Definition Bathroom zones are not restricted to just bathrooms, the zones also apply to any room which contains a bath or shower, for example a shower in a bedroom. If there is no shower basin, zone 0 is 10cm high from the finished floor. Bathroom zones are areas where electrical equipment must offer a certain degree of protection against water. Zone. Bathroom Zone Definition.