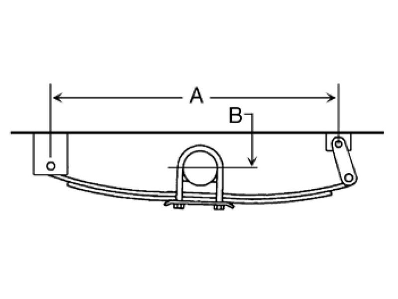
Trailer Spring Hanger Placement . Make sure the leaf spring is oriented correctly, with the curved side facing up and the center bolt pointing down. (25mm every 600mm) behind center of trailer frame (not including drawbar length). First, the distance between the spring hangers as you have asked about. Second, the location of the axle when installed on the springs to provide the. Trailers with more weight to rear will require axle further to rear (e.g. Carefully place each new leaf spring on your trailer, aligning it with the axle and the hangers. Attach each new shackle to its hanger, using new bolts, nuts, washers, and bushings. For example, if your axles are spaced 33 inches apart, as shown in the attached diagram, a 7k axle slipper spring, like #e74sr,. Find correct position for center hanger. The spring hanger placement is going to be determined by your axle spacing. Quality driven… customer focused spring axles hanger spacing axis trailer products, inc. Instead of centering your middle spring hanger on the axle. To determine spring hanger placement for proper axle positioning you want to use the trailer tongue weight (tw) as a guide. Use the principles outlined for the axle placement on the tandem axle trailer to find the centerline of the axle on the single axle trailer.
from www.youtube.com
First, the distance between the spring hangers as you have asked about. Carefully place each new leaf spring on your trailer, aligning it with the axle and the hangers. Make sure the leaf spring is oriented correctly, with the curved side facing up and the center bolt pointing down. Second, the location of the axle when installed on the springs to provide the. (25mm every 600mm) behind center of trailer frame (not including drawbar length). Attach each new shackle to its hanger, using new bolts, nuts, washers, and bushings. Find correct position for center hanger. For example, if your axles are spaced 33 inches apart, as shown in the attached diagram, a 7k axle slipper spring, like #e74sr,. To determine spring hanger placement for proper axle positioning you want to use the trailer tongue weight (tw) as a guide. Use the principles outlined for the axle placement on the tandem axle trailer to find the centerline of the axle on the single axle trailer.
Trailer Tandem Axle Spring Hanger Kit YouTube
Trailer Spring Hanger Placement The spring hanger placement is going to be determined by your axle spacing. For example, if your axles are spaced 33 inches apart, as shown in the attached diagram, a 7k axle slipper spring, like #e74sr,. Use the principles outlined for the axle placement on the tandem axle trailer to find the centerline of the axle on the single axle trailer. To determine spring hanger placement for proper axle positioning you want to use the trailer tongue weight (tw) as a guide. Trailers with more weight to rear will require axle further to rear (e.g. Instead of centering your middle spring hanger on the axle. Make sure the leaf spring is oriented correctly, with the curved side facing up and the center bolt pointing down. Second, the location of the axle when installed on the springs to provide the. Attach each new shackle to its hanger, using new bolts, nuts, washers, and bushings. First, the distance between the spring hangers as you have asked about. The spring hanger placement is going to be determined by your axle spacing. Carefully place each new leaf spring on your trailer, aligning it with the axle and the hangers. Quality driven… customer focused spring axles hanger spacing axis trailer products, inc. (25mm every 600mm) behind center of trailer frame (not including drawbar length). Find correct position for center hanger.
From www.etrailer.com
TandemAxle Trailer Hanger Kit for DoubleEye Springs 11/2" Front Trailer Spring Hanger Placement Find correct position for center hanger. Second, the location of the axle when installed on the springs to provide the. To determine spring hanger placement for proper axle positioning you want to use the trailer tongue weight (tw) as a guide. Carefully place each new leaf spring on your trailer, aligning it with the axle and the hangers. Quality driven…. Trailer Spring Hanger Placement.
From www.youtube.com
How to build a Utility Trailer Part 4 Mounting Axle, Springs, Shackles Trailer Spring Hanger Placement (25mm every 600mm) behind center of trailer frame (not including drawbar length). Instead of centering your middle spring hanger on the axle. Use the principles outlined for the axle placement on the tandem axle trailer to find the centerline of the axle on the single axle trailer. Trailers with more weight to rear will require axle further to rear (e.g.. Trailer Spring Hanger Placement.
From www.youtube.com
Trailer Tandem Axle Hanger Kit for 2" Slipper Springs YouTube Trailer Spring Hanger Placement Use the principles outlined for the axle placement on the tandem axle trailer to find the centerline of the axle on the single axle trailer. The spring hanger placement is going to be determined by your axle spacing. Second, the location of the axle when installed on the springs to provide the. Instead of centering your middle spring hanger on. Trailer Spring Hanger Placement.
From www.etrailer.com
SingleAxle Trailer Hanger Kit for DoubleEye Springs 31/4" Front, 1 Trailer Spring Hanger Placement First, the distance between the spring hangers as you have asked about. Second, the location of the axle when installed on the springs to provide the. (25mm every 600mm) behind center of trailer frame (not including drawbar length). Use the principles outlined for the axle placement on the tandem axle trailer to find the centerline of the axle on the. Trailer Spring Hanger Placement.
From www.truckspring.com
APS4, Single Axle Trailer Hanger Kit for DoubleEye Springs Trailer Spring Hanger Placement Make sure the leaf spring is oriented correctly, with the curved side facing up and the center bolt pointing down. Carefully place each new leaf spring on your trailer, aligning it with the axle and the hangers. Quality driven… customer focused spring axles hanger spacing axis trailer products, inc. Use the principles outlined for the axle placement on the tandem. Trailer Spring Hanger Placement.
From bluelightballroom.com
Best Trailer Spring Hanger Kits How To Choose Trailer Spring Hanger Placement Carefully place each new leaf spring on your trailer, aligning it with the axle and the hangers. (25mm every 600mm) behind center of trailer frame (not including drawbar length). Second, the location of the axle when installed on the springs to provide the. To determine spring hanger placement for proper axle positioning you want to use the trailer tongue weight. Trailer Spring Hanger Placement.
From www.etrailer.com
TandemAxle Trailer Hanger Kit for Double Eye Springs 31/4" Tall Trailer Spring Hanger Placement Quality driven… customer focused spring axles hanger spacing axis trailer products, inc. Instead of centering your middle spring hanger on the axle. Find correct position for center hanger. Carefully place each new leaf spring on your trailer, aligning it with the axle and the hangers. Attach each new shackle to its hanger, using new bolts, nuts, washers, and bushings. Second,. Trailer Spring Hanger Placement.
From www.youtube.com
how to install trailer hangers perfect every time (tandem trailer Trailer Spring Hanger Placement Make sure the leaf spring is oriented correctly, with the curved side facing up and the center bolt pointing down. For example, if your axles are spaced 33 inches apart, as shown in the attached diagram, a 7k axle slipper spring, like #e74sr,. Second, the location of the axle when installed on the springs to provide the. Trailers with more. Trailer Spring Hanger Placement.
From www.youtube.com
Easiest Way To Install Trailer Hangers on a Tandem Axle Trailer YouTube Trailer Spring Hanger Placement To determine spring hanger placement for proper axle positioning you want to use the trailer tongue weight (tw) as a guide. Instead of centering your middle spring hanger on the axle. The spring hanger placement is going to be determined by your axle spacing. First, the distance between the spring hangers as you have asked about. Attach each new shackle. Trailer Spring Hanger Placement.
From www.fayettedistribution.com
Single Axle 21/2" Wide Slipper Spring hanger Kit 10K General Duty Trailer Spring Hanger Placement Use the principles outlined for the axle placement on the tandem axle trailer to find the centerline of the axle on the single axle trailer. Attach each new shackle to its hanger, using new bolts, nuts, washers, and bushings. (25mm every 600mm) behind center of trailer frame (not including drawbar length). For example, if your axles are spaced 33 inches. Trailer Spring Hanger Placement.
From www.sturdybuiltonline.com
Trailer Tandem Axle Leaf Spring Hanger Kit for 2" Wide Hook Trailer Spring Hanger Placement Make sure the leaf spring is oriented correctly, with the curved side facing up and the center bolt pointing down. Attach each new shackle to its hanger, using new bolts, nuts, washers, and bushings. The spring hanger placement is going to be determined by your axle spacing. Instead of centering your middle spring hanger on the axle. Trailers with more. Trailer Spring Hanger Placement.
From www.etrailer.com
TandemAxle Trailer Hanger Kit for Double Eye Springs 31/4" Tall Trailer Spring Hanger Placement For example, if your axles are spaced 33 inches apart, as shown in the attached diagram, a 7k axle slipper spring, like #e74sr,. Carefully place each new leaf spring on your trailer, aligning it with the axle and the hangers. Instead of centering your middle spring hanger on the axle. Quality driven… customer focused spring axles hanger spacing axis trailer. Trailer Spring Hanger Placement.
From johnsontrailerparts.com
Hydraulic Tilt Trailer Parts Kit 10.4k Johnson Trailer Parts Trailer Spring Hanger Placement Carefully place each new leaf spring on your trailer, aligning it with the axle and the hangers. Find correct position for center hanger. Second, the location of the axle when installed on the springs to provide the. First, the distance between the spring hangers as you have asked about. Instead of centering your middle spring hanger on the axle. Attach. Trailer Spring Hanger Placement.
From www.etrailer.com
TandemAxle Trailer Hanger Kit for Double Eye Springs 31/4" Tall Trailer Spring Hanger Placement (25mm every 600mm) behind center of trailer frame (not including drawbar length). To determine spring hanger placement for proper axle positioning you want to use the trailer tongue weight (tw) as a guide. The spring hanger placement is going to be determined by your axle spacing. Attach each new shackle to its hanger, using new bolts, nuts, washers, and bushings.. Trailer Spring Hanger Placement.
From www.etrailer.com
TandemAxle Trailer Hanger Kit for DoubleEye Springs 11/2" Front Trailer Spring Hanger Placement Quality driven… customer focused spring axles hanger spacing axis trailer products, inc. Make sure the leaf spring is oriented correctly, with the curved side facing up and the center bolt pointing down. First, the distance between the spring hangers as you have asked about. Use the principles outlined for the axle placement on the tandem axle trailer to find the. Trailer Spring Hanger Placement.
From www.dexterpartsonline.com
Spring Hanger Location Trailer Spring Hanger Placement First, the distance between the spring hangers as you have asked about. Second, the location of the axle when installed on the springs to provide the. The spring hanger placement is going to be determined by your axle spacing. Find correct position for center hanger. Make sure the leaf spring is oriented correctly, with the curved side facing up and. Trailer Spring Hanger Placement.
From www.youtube.com
etrailer Dexter Tandem Axle Trailer HeavyDuty Suspension Kit Trailer Spring Hanger Placement Find correct position for center hanger. Trailers with more weight to rear will require axle further to rear (e.g. Instead of centering your middle spring hanger on the axle. Carefully place each new leaf spring on your trailer, aligning it with the axle and the hangers. To determine spring hanger placement for proper axle positioning you want to use the. Trailer Spring Hanger Placement.
From wiredataregina.z21.web.core.windows.net
Trailer Axle Installation Guide Trailer Spring Hanger Placement (25mm every 600mm) behind center of trailer frame (not including drawbar length). Quality driven… customer focused spring axles hanger spacing axis trailer products, inc. To determine spring hanger placement for proper axle positioning you want to use the trailer tongue weight (tw) as a guide. Make sure the leaf spring is oriented correctly, with the curved side facing up and. Trailer Spring Hanger Placement.
From joizzljxn.blob.core.windows.net
Trailer Axle 46 Inch Spring Center at Keith Gould blog Trailer Spring Hanger Placement For example, if your axles are spaced 33 inches apart, as shown in the attached diagram, a 7k axle slipper spring, like #e74sr,. Quality driven… customer focused spring axles hanger spacing axis trailer products, inc. (25mm every 600mm) behind center of trailer frame (not including drawbar length). Second, the location of the axle when installed on the springs to provide. Trailer Spring Hanger Placement.
From www.etrailer.com
SingleAxle Trailer Hanger Kit for DoubleEye Springs 31/4" Front, 9 Trailer Spring Hanger Placement Use the principles outlined for the axle placement on the tandem axle trailer to find the centerline of the axle on the single axle trailer. The spring hanger placement is going to be determined by your axle spacing. Carefully place each new leaf spring on your trailer, aligning it with the axle and the hangers. For example, if your axles. Trailer Spring Hanger Placement.
From www.etrailer.com
TandemAxle Trailer Hanger Kit for DoubleEye Springs 11/2" Front Trailer Spring Hanger Placement Quality driven… customer focused spring axles hanger spacing axis trailer products, inc. (25mm every 600mm) behind center of trailer frame (not including drawbar length). To determine spring hanger placement for proper axle positioning you want to use the trailer tongue weight (tw) as a guide. Carefully place each new leaf spring on your trailer, aligning it with the axle and. Trailer Spring Hanger Placement.
From www.etrailer.com
TandemAxle Trailer Hanger Kit for 2" Slipper Springs 131/8" Long Trailer Spring Hanger Placement Find correct position for center hanger. For example, if your axles are spaced 33 inches apart, as shown in the attached diagram, a 7k axle slipper spring, like #e74sr,. Carefully place each new leaf spring on your trailer, aligning it with the axle and the hangers. Use the principles outlined for the axle placement on the tandem axle trailer to. Trailer Spring Hanger Placement.
From www.humphreyshitchandtrailerparts.com
Tandem Axle 2 Inch Slipper Spring Hanger Kits Humphreys Hitch and Trailer Spring Hanger Placement Carefully place each new leaf spring on your trailer, aligning it with the axle and the hangers. Use the principles outlined for the axle placement on the tandem axle trailer to find the centerline of the axle on the single axle trailer. The spring hanger placement is going to be determined by your axle spacing. Trailers with more weight to. Trailer Spring Hanger Placement.
From www.youtube.com
Trailer Tandem Axle Hanger Kit for Double Eye Spring (5.2K) YouTube Trailer Spring Hanger Placement Instead of centering your middle spring hanger on the axle. For example, if your axles are spaced 33 inches apart, as shown in the attached diagram, a 7k axle slipper spring, like #e74sr,. Make sure the leaf spring is oriented correctly, with the curved side facing up and the center bolt pointing down. First, the distance between the spring hangers. Trailer Spring Hanger Placement.
From mungfali.com
Tandem Axle Trailer Suspension Diagram Trailer Spring Hanger Placement Trailers with more weight to rear will require axle further to rear (e.g. (25mm every 600mm) behind center of trailer frame (not including drawbar length). Quality driven… customer focused spring axles hanger spacing axis trailer products, inc. To determine spring hanger placement for proper axle positioning you want to use the trailer tongue weight (tw) as a guide. The spring. Trailer Spring Hanger Placement.
From thetrailerpartsoutlet.com
Trailer 4 Leaf Double Eye Spring Suspension and Single Axle Hanger Kit Trailer Spring Hanger Placement Make sure the leaf spring is oriented correctly, with the curved side facing up and the center bolt pointing down. (25mm every 600mm) behind center of trailer frame (not including drawbar length). Trailers with more weight to rear will require axle further to rear (e.g. Second, the location of the axle when installed on the springs to provide the. Instead. Trailer Spring Hanger Placement.
From www.etrailer.com
SingleAxle Trailer Hanger Kit for DoubleEye Springs 31/4" Front, 1 Trailer Spring Hanger Placement First, the distance between the spring hangers as you have asked about. Make sure the leaf spring is oriented correctly, with the curved side facing up and the center bolt pointing down. The spring hanger placement is going to be determined by your axle spacing. Quality driven… customer focused spring axles hanger spacing axis trailer products, inc. Use the principles. Trailer Spring Hanger Placement.
From www.youtube.com
Trailer Tandem Axle Spring Hanger Kit YouTube Trailer Spring Hanger Placement First, the distance between the spring hangers as you have asked about. The spring hanger placement is going to be determined by your axle spacing. Use the principles outlined for the axle placement on the tandem axle trailer to find the centerline of the axle on the single axle trailer. Find correct position for center hanger. Make sure the leaf. Trailer Spring Hanger Placement.
From www.ordertrailerparts.com
3.5K8K Tandem Axle Hanger Kit Slipper Springs www Trailer Spring Hanger Placement Trailers with more weight to rear will require axle further to rear (e.g. (25mm every 600mm) behind center of trailer frame (not including drawbar length). For example, if your axles are spaced 33 inches apart, as shown in the attached diagram, a 7k axle slipper spring, like #e74sr,. Carefully place each new leaf spring on your trailer, aligning it with. Trailer Spring Hanger Placement.
From www.pinterest.com
the diagram shows how to measure the spring hanger location Trailer Spring Hanger Placement Second, the location of the axle when installed on the springs to provide the. (25mm every 600mm) behind center of trailer frame (not including drawbar length). First, the distance between the spring hangers as you have asked about. Attach each new shackle to its hanger, using new bolts, nuts, washers, and bushings. Carefully place each new leaf spring on your. Trailer Spring Hanger Placement.
From trailparts.co.nz
Trailer Axle Mount Guide Trailer Spring Trailparts Trailer Spring Hanger Placement First, the distance between the spring hangers as you have asked about. Use the principles outlined for the axle placement on the tandem axle trailer to find the centerline of the axle on the single axle trailer. Quality driven… customer focused spring axles hanger spacing axis trailer products, inc. (25mm every 600mm) behind center of trailer frame (not including drawbar. Trailer Spring Hanger Placement.
From www.youtube.com
Single Axle Trailer Suspension Assembly YouTube Trailer Spring Hanger Placement Make sure the leaf spring is oriented correctly, with the curved side facing up and the center bolt pointing down. Attach each new shackle to its hanger, using new bolts, nuts, washers, and bushings. Instead of centering your middle spring hanger on the axle. Second, the location of the axle when installed on the springs to provide the. For example,. Trailer Spring Hanger Placement.
From thetrailerpartsoutlet.com
Trailer 4 Leaf Double Eye Spring Suspension and Tandem Axle Hanger Kit Trailer Spring Hanger Placement Carefully place each new leaf spring on your trailer, aligning it with the axle and the hangers. Trailers with more weight to rear will require axle further to rear (e.g. Find correct position for center hanger. To determine spring hanger placement for proper axle positioning you want to use the trailer tongue weight (tw) as a guide. Second, the location. Trailer Spring Hanger Placement.
From etrailer.com
Axle and Suspension Hanger Placement on Tandem Axle Trailer Trailer Spring Hanger Placement Make sure the leaf spring is oriented correctly, with the curved side facing up and the center bolt pointing down. First, the distance between the spring hangers as you have asked about. Trailers with more weight to rear will require axle further to rear (e.g. Carefully place each new leaf spring on your trailer, aligning it with the axle and. Trailer Spring Hanger Placement.
From www.etrailer.com
Placement of Front and Rear Hangers When Building a Tandem Axle Trailer Trailer Spring Hanger Placement First, the distance between the spring hangers as you have asked about. Find correct position for center hanger. Instead of centering your middle spring hanger on the axle. To determine spring hanger placement for proper axle positioning you want to use the trailer tongue weight (tw) as a guide. Carefully place each new leaf spring on your trailer, aligning it. Trailer Spring Hanger Placement.