O-Ring Face Seal Pressure Rating . • heavy joints with minimum movement. Each connector type comes with defined pressure ratings that indicate its maximum allowable working pressure (mawp). For designing systems which contain internal. 6000 psi pressure rating through 1. • static, low leakage face.
from ecosealthailand.com
Each connector type comes with defined pressure ratings that indicate its maximum allowable working pressure (mawp). • static, low leakage face. 6000 psi pressure rating through 1. For designing systems which contain internal. • heavy joints with minimum movement.
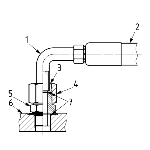
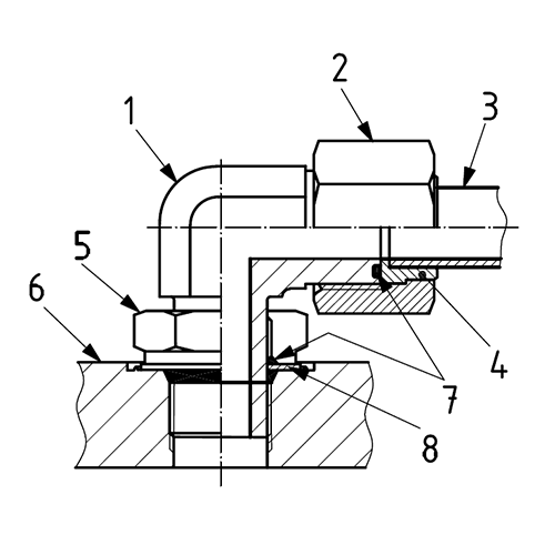
Fundamental of ORing
O-Ring Face Seal Pressure Rating 6000 psi pressure rating through 1. Each connector type comes with defined pressure ratings that indicate its maximum allowable working pressure (mawp). For designing systems which contain internal. 6000 psi pressure rating through 1. • static, low leakage face. • heavy joints with minimum movement.
From www.gallagherseals.com
Static ORing Seal Face Type Seal O-Ring Face Seal Pressure Rating • heavy joints with minimum movement. Each connector type comes with defined pressure ratings that indicate its maximum allowable working pressure (mawp). • static, low leakage face. 6000 psi pressure rating through 1. For designing systems which contain internal. O-Ring Face Seal Pressure Rating.
From www.barnwell.co.uk
What is an O Ring Selection, Material and Storage Barnwell O-Ring Face Seal Pressure Rating • static, low leakage face. For designing systems which contain internal. 6000 psi pressure rating through 1. • heavy joints with minimum movement. Each connector type comes with defined pressure ratings that indicate its maximum allowable working pressure (mawp). O-Ring Face Seal Pressure Rating.
From www.youtube.com
The Different Between O'Ring Boss and O'Ring Face Sealing SAE Fittings O-Ring Face Seal Pressure Rating 6000 psi pressure rating through 1. • static, low leakage face. • heavy joints with minimum movement. Each connector type comes with defined pressure ratings that indicate its maximum allowable working pressure (mawp). For designing systems which contain internal. O-Ring Face Seal Pressure Rating.
From www.hydraulicsdirect.com
FS2404 SAE ORing Face Seal ORFS Male x NPTF Pipe Male Adapter O-Ring Face Seal Pressure Rating 6000 psi pressure rating through 1. Each connector type comes with defined pressure ratings that indicate its maximum allowable working pressure (mawp). • static, low leakage face. For designing systems which contain internal. • heavy joints with minimum movement. O-Ring Face Seal Pressure Rating.
From www.jiayuanfitting.com
SAE J1453 o ring face seal Groove size chart Knowledge Yuyao O-Ring Face Seal Pressure Rating For designing systems which contain internal. • static, low leakage face. Each connector type comes with defined pressure ratings that indicate its maximum allowable working pressure (mawp). 6000 psi pressure rating through 1. • heavy joints with minimum movement. O-Ring Face Seal Pressure Rating.
From www.winnerfluid.com
What is typical connections with Oring face seal (ORFS) connectors O-Ring Face Seal Pressure Rating For designing systems which contain internal. • heavy joints with minimum movement. Each connector type comes with defined pressure ratings that indicate its maximum allowable working pressure (mawp). 6000 psi pressure rating through 1. • static, low leakage face. O-Ring Face Seal Pressure Rating.
From ecosealthailand.com
Fundamental of ORing O-Ring Face Seal Pressure Rating • heavy joints with minimum movement. For designing systems which contain internal. • static, low leakage face. Each connector type comes with defined pressure ratings that indicate its maximum allowable working pressure (mawp). 6000 psi pressure rating through 1. O-Ring Face Seal Pressure Rating.
From awesomeenglish.edu.vn
Aggregate 121+ o ring gland design guidelines awesomeenglish.edu.vn O-Ring Face Seal Pressure Rating 6000 psi pressure rating through 1. • heavy joints with minimum movement. • static, low leakage face. For designing systems which contain internal. Each connector type comes with defined pressure ratings that indicate its maximum allowable working pressure (mawp). O-Ring Face Seal Pressure Rating.
From studylib.net
ORing Face Seal Pressure Connections Corp O-Ring Face Seal Pressure Rating • static, low leakage face. 6000 psi pressure rating through 1. • heavy joints with minimum movement. For designing systems which contain internal. Each connector type comes with defined pressure ratings that indicate its maximum allowable working pressure (mawp). O-Ring Face Seal Pressure Rating.
From ecosealthailand.com
Fundamental of ORing O-Ring Face Seal Pressure Rating 6000 psi pressure rating through 1. • static, low leakage face. • heavy joints with minimum movement. For designing systems which contain internal. Each connector type comes with defined pressure ratings that indicate its maximum allowable working pressure (mawp). O-Ring Face Seal Pressure Rating.
From www.hydrapakseals.com
HydraPak Seals Products > ORings > Gland Dimensions O-Ring Face Seal Pressure Rating • static, low leakage face. • heavy joints with minimum movement. 6000 psi pressure rating through 1. Each connector type comes with defined pressure ratings that indicate its maximum allowable working pressure (mawp). For designing systems which contain internal. O-Ring Face Seal Pressure Rating.
From morganseals.en.made-in-china.com
Df Profile High Pressure O Ring Face Seal/Duo Cone Seal/Floating Seal O-Ring Face Seal Pressure Rating • static, low leakage face. • heavy joints with minimum movement. For designing systems which contain internal. Each connector type comes with defined pressure ratings that indicate its maximum allowable working pressure (mawp). 6000 psi pressure rating through 1. O-Ring Face Seal Pressure Rating.
From www.winnerfluid.com
What is typical connections with Oring face seal (ORFS) connectors O-Ring Face Seal Pressure Rating • heavy joints with minimum movement. For designing systems which contain internal. 6000 psi pressure rating through 1. Each connector type comes with defined pressure ratings that indicate its maximum allowable working pressure (mawp). • static, low leakage face. O-Ring Face Seal Pressure Rating.
From www.youtube.com
How to identify ORing Face Seal hydraulic fittings YouTube O-Ring Face Seal Pressure Rating • static, low leakage face. 6000 psi pressure rating through 1. Each connector type comes with defined pressure ratings that indicate its maximum allowable working pressure (mawp). • heavy joints with minimum movement. For designing systems which contain internal. O-Ring Face Seal Pressure Rating.
From ja.jiayuanfittings.com
OリングフェイスシールとOリングボスシール継手の違い知識余姚嘉源油圧継手工場 O-Ring Face Seal Pressure Rating 6000 psi pressure rating through 1. Each connector type comes with defined pressure ratings that indicate its maximum allowable working pressure (mawp). • heavy joints with minimum movement. For designing systems which contain internal. • static, low leakage face. O-Ring Face Seal Pressure Rating.
From www.hydraulicsdirect.com
30005 Oring Buna N ORing for SAE ORing Face Seal ORFS O-Ring Face Seal Pressure Rating For designing systems which contain internal. Each connector type comes with defined pressure ratings that indicate its maximum allowable working pressure (mawp). • heavy joints with minimum movement. 6000 psi pressure rating through 1. • static, low leakage face. O-Ring Face Seal Pressure Rating.
From www.hoseassemblytips.com
When should you use Oring fittings? Hose Assembly Tips O-Ring Face Seal Pressure Rating 6000 psi pressure rating through 1. For designing systems which contain internal. • static, low leakage face. Each connector type comes with defined pressure ratings that indicate its maximum allowable working pressure (mawp). • heavy joints with minimum movement. O-Ring Face Seal Pressure Rating.
From morganseals.en.made-in-china.com
Df Profile High Pressure O Ring Face Seal/Duo Cone Seal/Floating Seal O-Ring Face Seal Pressure Rating Each connector type comes with defined pressure ratings that indicate its maximum allowable working pressure (mawp). For designing systems which contain internal. • heavy joints with minimum movement. 6000 psi pressure rating through 1. • static, low leakage face. O-Ring Face Seal Pressure Rating.
From www.sannke.com
Wholesale Metric Male ORing Face Seal (ORFS) Plug Reliable Hydraulic O-Ring Face Seal Pressure Rating 6000 psi pressure rating through 1. For designing systems which contain internal. Each connector type comes with defined pressure ratings that indicate its maximum allowable working pressure (mawp). • heavy joints with minimum movement. • static, low leakage face. O-Ring Face Seal Pressure Rating.
From www.thehydraulic.com
ORMORS (ORING FLAT FACE SEAL SAE J1453) O-Ring Face Seal Pressure Rating 6000 psi pressure rating through 1. Each connector type comes with defined pressure ratings that indicate its maximum allowable working pressure (mawp). • static, low leakage face. • heavy joints with minimum movement. For designing systems which contain internal. O-Ring Face Seal Pressure Rating.
From www.fitsch.cn
ORING FACE SEAL FITTING, ORING FACE SEAL FITTING Products, ORING O-Ring Face Seal Pressure Rating • heavy joints with minimum movement. 6000 psi pressure rating through 1. Each connector type comes with defined pressure ratings that indicate its maximum allowable working pressure (mawp). • static, low leakage face. For designing systems which contain internal. O-Ring Face Seal Pressure Rating.
From www.globaloring.com
ORing Pressure Ratings Global ORing and Seal O-Ring Face Seal Pressure Rating • heavy joints with minimum movement. Each connector type comes with defined pressure ratings that indicate its maximum allowable working pressure (mawp). 6000 psi pressure rating through 1. • static, low leakage face. For designing systems which contain internal. O-Ring Face Seal Pressure Rating.
From www.gallagherseals.com
Static ORing Seal Face Type Seal Gallagher Fluid Seals, Inc. O-Ring Face Seal Pressure Rating • heavy joints with minimum movement. Each connector type comes with defined pressure ratings that indicate its maximum allowable working pressure (mawp). 6000 psi pressure rating through 1. For designing systems which contain internal. • static, low leakage face. O-Ring Face Seal Pressure Rating.
From morganseals.en.made-in-china.com
China Df Profile High Pressure O Ring Face Seal/Duo Cone Seal/Floating O-Ring Face Seal Pressure Rating Each connector type comes with defined pressure ratings that indicate its maximum allowable working pressure (mawp). • heavy joints with minimum movement. For designing systems which contain internal. • static, low leakage face. 6000 psi pressure rating through 1. O-Ring Face Seal Pressure Rating.
From jossaesiptepl.blogspot.com
画像をダウンロード oring face seal design 314944Oring face seal groove design O-Ring Face Seal Pressure Rating For designing systems which contain internal. Each connector type comes with defined pressure ratings that indicate its maximum allowable working pressure (mawp). • heavy joints with minimum movement. 6000 psi pressure rating through 1. • static, low leakage face. O-Ring Face Seal Pressure Rating.
From www.sannke.com
Wholesale ORing Face Seal (ORFS) Male / JIS Metric Male 60° Cone O-Ring Face Seal Pressure Rating Each connector type comes with defined pressure ratings that indicate its maximum allowable working pressure (mawp). For designing systems which contain internal. • static, low leakage face. 6000 psi pressure rating through 1. • heavy joints with minimum movement. O-Ring Face Seal Pressure Rating.
From www.applerubber.com
What you Need to Know About Dynamic Seal Applications Hot Topics O-Ring Face Seal Pressure Rating • static, low leakage face. For designing systems which contain internal. • heavy joints with minimum movement. 6000 psi pressure rating through 1. Each connector type comes with defined pressure ratings that indicate its maximum allowable working pressure (mawp). O-Ring Face Seal Pressure Rating.
From products.swagelok.com
316 Stainless Steel VCO ORing Face Seal Fitting, Union, 1/4 in. VCO O-Ring Face Seal Pressure Rating Each connector type comes with defined pressure ratings that indicate its maximum allowable working pressure (mawp). For designing systems which contain internal. 6000 psi pressure rating through 1. • static, low leakage face. • heavy joints with minimum movement. O-Ring Face Seal Pressure Rating.
From ph.parker.com
86 HLOS FKM SealLok ORing Face Seal Tube Fittings and Adapters O-Ring Face Seal Pressure Rating For designing systems which contain internal. 6000 psi pressure rating through 1. • heavy joints with minimum movement. • static, low leakage face. Each connector type comes with defined pressure ratings that indicate its maximum allowable working pressure (mawp). O-Ring Face Seal Pressure Rating.
From www.fitsch.cn
ORFS Tube Fittings Buy Oring face seal fittings, ORFS Tube Fittings O-Ring Face Seal Pressure Rating • static, low leakage face. 6000 psi pressure rating through 1. • heavy joints with minimum movement. Each connector type comes with defined pressure ratings that indicate its maximum allowable working pressure (mawp). For designing systems which contain internal. O-Ring Face Seal Pressure Rating.
From www.fitsch.cn
ORFS Tube Fittings Buy Oring face seal fittings, ORFS Tube Fittings O-Ring Face Seal Pressure Rating • static, low leakage face. • heavy joints with minimum movement. 6000 psi pressure rating through 1. For designing systems which contain internal. Each connector type comes with defined pressure ratings that indicate its maximum allowable working pressure (mawp). O-Ring Face Seal Pressure Rating.
From caeuniversity.com
Oring seal simulation subjected to pressure of a fluid. O-Ring Face Seal Pressure Rating Each connector type comes with defined pressure ratings that indicate its maximum allowable working pressure (mawp). For designing systems which contain internal. • heavy joints with minimum movement. • static, low leakage face. 6000 psi pressure rating through 1. O-Ring Face Seal Pressure Rating.
From www.agproud.com
Mechanics Corner Dry technology Oring face seal, flareless bitetype O-Ring Face Seal Pressure Rating For designing systems which contain internal. • static, low leakage face. Each connector type comes with defined pressure ratings that indicate its maximum allowable working pressure (mawp). 6000 psi pressure rating through 1. • heavy joints with minimum movement. O-Ring Face Seal Pressure Rating.
From www.air-way.com
ORing Face Seal Fittings and Adapters AirWay Manufacturing O-Ring Face Seal Pressure Rating • static, low leakage face. 6000 psi pressure rating through 1. Each connector type comes with defined pressure ratings that indicate its maximum allowable working pressure (mawp). For designing systems which contain internal. • heavy joints with minimum movement. O-Ring Face Seal Pressure Rating.
From www.myssp.com
ORFS Fittings SoftSeal SAE ORing Face Seal Fittings SSP O-Ring Face Seal Pressure Rating • heavy joints with minimum movement. • static, low leakage face. 6000 psi pressure rating through 1. For designing systems which contain internal. Each connector type comes with defined pressure ratings that indicate its maximum allowable working pressure (mawp). O-Ring Face Seal Pressure Rating.