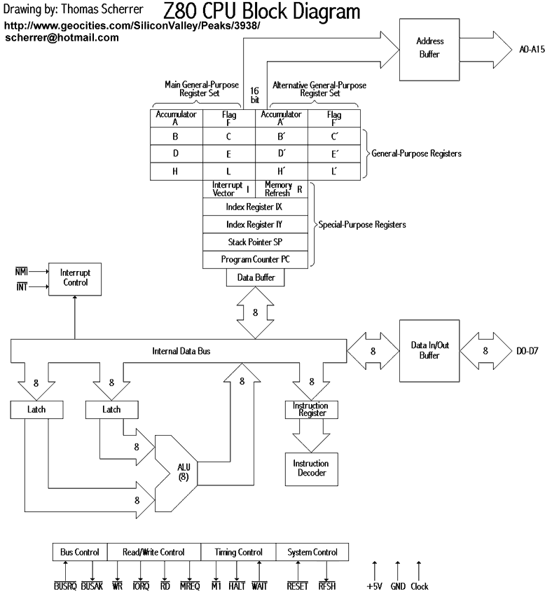
Z80 Microprocessor Architecture . It discusses the z80 hardware model including its address bus, data bus, control signals, external requests,. This document provides an overview of the z80 microprocessor architecture. Since then newer versions have appeared with exactly the same architecture but running at higher speeds. The original z80 ran with a clock rate. Advanced embedding details, examples, and help! The original z80 was first released in july 1976. The z80 cpu user’s manual is divided into four chapters. Introduced in 1976, the z80 became one of the most widely used and influential microprocessors of its time. Presents an overview of the user’s manual architecture, pin descriptions, timing and interrupt.
from www.oocities.org
The original z80 was first released in july 1976. Presents an overview of the user’s manual architecture, pin descriptions, timing and interrupt. Since then newer versions have appeared with exactly the same architecture but running at higher speeds. The original z80 ran with a clock rate. Introduced in 1976, the z80 became one of the most widely used and influential microprocessors of its time. This document provides an overview of the z80 microprocessor architecture. Advanced embedding details, examples, and help! It discusses the z80 hardware model including its address bus, data bus, control signals, external requests,. The z80 cpu user’s manual is divided into four chapters.
Thomas Scherrer Z80Family Official Support Page
Z80 Microprocessor Architecture It discusses the z80 hardware model including its address bus, data bus, control signals, external requests,. The original z80 ran with a clock rate. The z80 cpu user’s manual is divided into four chapters. The original z80 was first released in july 1976. It discusses the z80 hardware model including its address bus, data bus, control signals, external requests,. Since then newer versions have appeared with exactly the same architecture but running at higher speeds. Advanced embedding details, examples, and help! Introduced in 1976, the z80 became one of the most widely used and influential microprocessors of its time. This document provides an overview of the z80 microprocessor architecture. Presents an overview of the user’s manual architecture, pin descriptions, timing and interrupt.
From diagramweb.net
A Breakdown of the Z80 Schematic Understanding the Inner Workings of Z80 Microprocessor Architecture Since then newer versions have appeared with exactly the same architecture but running at higher speeds. The original z80 ran with a clock rate. Advanced embedding details, examples, and help! The original z80 was first released in july 1976. Presents an overview of the user’s manual architecture, pin descriptions, timing and interrupt. The z80 cpu user’s manual is divided into. Z80 Microprocessor Architecture.
From www.cpushack.com
The Story of the Soviet Z80 Processor The CPU Shack Museum Z80 Microprocessor Architecture This document provides an overview of the z80 microprocessor architecture. The z80 cpu user’s manual is divided into four chapters. The original z80 ran with a clock rate. Advanced embedding details, examples, and help! Presents an overview of the user’s manual architecture, pin descriptions, timing and interrupt. It discusses the z80 hardware model including its address bus, data bus, control. Z80 Microprocessor Architecture.
From www.reddit.com
Inside of a Z80A microchip [6216 x 5992] r/ThingsCutInHalfPorn Z80 Microprocessor Architecture This document provides an overview of the z80 microprocessor architecture. Presents an overview of the user’s manual architecture, pin descriptions, timing and interrupt. It discusses the z80 hardware model including its address bus, data bus, control signals, external requests,. The original z80 ran with a clock rate. The z80 cpu user’s manual is divided into four chapters. Since then newer. Z80 Microprocessor Architecture.
From www.hytherion.com
Microprocessor System Design Small Z80 Board A Chronology Z80 Microprocessor Architecture The original z80 ran with a clock rate. This document provides an overview of the z80 microprocessor architecture. Advanced embedding details, examples, and help! Presents an overview of the user’s manual architecture, pin descriptions, timing and interrupt. It discusses the z80 hardware model including its address bus, data bus, control signals, external requests,. The z80 cpu user’s manual is divided. Z80 Microprocessor Architecture.
From mavink.com
Z80 Cpu Pinout Z80 Microprocessor Architecture Presents an overview of the user’s manual architecture, pin descriptions, timing and interrupt. The original z80 was first released in july 1976. The z80 cpu user’s manual is divided into four chapters. Since then newer versions have appeared with exactly the same architecture but running at higher speeds. This document provides an overview of the z80 microprocessor architecture. Advanced embedding. Z80 Microprocessor Architecture.
From www.slideshare.net
Z80 microprocessor architecture1 Z80 Microprocessor Architecture Advanced embedding details, examples, and help! The original z80 ran with a clock rate. The original z80 was first released in july 1976. This document provides an overview of the z80 microprocessor architecture. Since then newer versions have appeared with exactly the same architecture but running at higher speeds. Presents an overview of the user’s manual architecture, pin descriptions, timing. Z80 Microprocessor Architecture.
From www.oocities.org
Thomas Scherrer Z80Family Official Support Page Z80 Microprocessor Architecture Introduced in 1976, the z80 became one of the most widely used and influential microprocessors of its time. This document provides an overview of the z80 microprocessor architecture. The original z80 ran with a clock rate. Since then newer versions have appeared with exactly the same architecture but running at higher speeds. Advanced embedding details, examples, and help! The z80. Z80 Microprocessor Architecture.
From www.slideshare.net
Z80 microprocessor architecture1 Z80 Microprocessor Architecture The original z80 was first released in july 1976. Advanced embedding details, examples, and help! This document provides an overview of the z80 microprocessor architecture. Introduced in 1976, the z80 became one of the most widely used and influential microprocessors of its time. The original z80 ran with a clock rate. It discusses the z80 hardware model including its address. Z80 Microprocessor Architecture.
From zed80.com
Z80_Build_Info_Index Z80 Microprocessor Architecture The original z80 was first released in july 1976. The original z80 ran with a clock rate. Introduced in 1976, the z80 became one of the most widely used and influential microprocessors of its time. This document provides an overview of the z80 microprocessor architecture. Presents an overview of the user’s manual architecture, pin descriptions, timing and interrupt. Since then. Z80 Microprocessor Architecture.
From www.ecstaticlyrics.com
My Z80 System Design Z80 Microprocessor Architecture Advanced embedding details, examples, and help! This document provides an overview of the z80 microprocessor architecture. The z80 cpu user’s manual is divided into four chapters. It discusses the z80 hardware model including its address bus, data bus, control signals, external requests,. The original z80 ran with a clock rate. Presents an overview of the user’s manual architecture, pin descriptions,. Z80 Microprocessor Architecture.
From hackaday.io
Building a 22MHz Z80 Computer in 4 Stages Hackaday.io Z80 Microprocessor Architecture Since then newer versions have appeared with exactly the same architecture but running at higher speeds. Presents an overview of the user’s manual architecture, pin descriptions, timing and interrupt. The original z80 ran with a clock rate. This document provides an overview of the z80 microprocessor architecture. The z80 cpu user’s manual is divided into four chapters. Advanced embedding details,. Z80 Microprocessor Architecture.
From www.studocu.com
Detailed book summary of The Z80 Microprocessor Architecture Z80 Microprocessor Architecture Introduced in 1976, the z80 became one of the most widely used and influential microprocessors of its time. It discusses the z80 hardware model including its address bus, data bus, control signals, external requests,. The original z80 ran with a clock rate. This document provides an overview of the z80 microprocessor architecture. Advanced embedding details, examples, and help! The z80. Z80 Microprocessor Architecture.
From www.bamafolks.com
Z80 Microprocess Overview Z80 Microprocessor Architecture The original z80 ran with a clock rate. This document provides an overview of the z80 microprocessor architecture. Since then newer versions have appeared with exactly the same architecture but running at higher speeds. The z80 cpu user’s manual is divided into four chapters. Presents an overview of the user’s manual architecture, pin descriptions, timing and interrupt. Advanced embedding details,. Z80 Microprocessor Architecture.
From dokumen.tips
(DOC) Z80 Microprocessor Architecture DOKUMEN.TIPS Z80 Microprocessor Architecture The original z80 was first released in july 1976. Introduced in 1976, the z80 became one of the most widely used and influential microprocessors of its time. This document provides an overview of the z80 microprocessor architecture. Presents an overview of the user’s manual architecture, pin descriptions, timing and interrupt. Since then newer versions have appeared with exactly the same. Z80 Microprocessor Architecture.
From www.slideshare.net
Z80 microprocessor architecture1 Z80 Microprocessor Architecture Advanced embedding details, examples, and help! Presents an overview of the user’s manual architecture, pin descriptions, timing and interrupt. Introduced in 1976, the z80 became one of the most widely used and influential microprocessors of its time. The original z80 ran with a clock rate. Since then newer versions have appeared with exactly the same architecture but running at higher. Z80 Microprocessor Architecture.
From www.righto.com
Down to the silicon how the Z80's registers are implemented Z80 Microprocessor Architecture Since then newer versions have appeared with exactly the same architecture but running at higher speeds. Advanced embedding details, examples, and help! The z80 cpu user’s manual is divided into four chapters. Introduced in 1976, the z80 became one of the most widely used and influential microprocessors of its time. It discusses the z80 hardware model including its address bus,. Z80 Microprocessor Architecture.
From www.slideshare.net
Z80 microprocessor architecture1 Z80 Microprocessor Architecture The z80 cpu user’s manual is divided into four chapters. Advanced embedding details, examples, and help! It discusses the z80 hardware model including its address bus, data bus, control signals, external requests,. Since then newer versions have appeared with exactly the same architecture but running at higher speeds. Presents an overview of the user’s manual architecture, pin descriptions, timing and. Z80 Microprocessor Architecture.
From www.pinterest.com
The Z80 microprocessor designed by Zilog powered some notable business Z80 Microprocessor Architecture The original z80 was first released in july 1976. It discusses the z80 hardware model including its address bus, data bus, control signals, external requests,. Since then newer versions have appeared with exactly the same architecture but running at higher speeds. Presents an overview of the user’s manual architecture, pin descriptions, timing and interrupt. Introduced in 1976, the z80 became. Z80 Microprocessor Architecture.
From favpng.com
Intel 8080 Microprocessor Central Processing Unit Zilog Z80, PNG Z80 Microprocessor Architecture The original z80 ran with a clock rate. Advanced embedding details, examples, and help! The z80 cpu user’s manual is divided into four chapters. Since then newer versions have appeared with exactly the same architecture but running at higher speeds. The original z80 was first released in july 1976. Presents an overview of the user’s manual architecture, pin descriptions, timing. Z80 Microprocessor Architecture.
From www.scribd.com
Chapter 3 Z80 Microprocessor Architecture PDF Instruction Set Z80 Microprocessor Architecture It discusses the z80 hardware model including its address bus, data bus, control signals, external requests,. Introduced in 1976, the z80 became one of the most widely used and influential microprocessors of its time. Since then newer versions have appeared with exactly the same architecture but running at higher speeds. The original z80 ran with a clock rate. This document. Z80 Microprocessor Architecture.
From baltazarstudios.com
Zilog Z80 FPGA Z80 Microprocessor Architecture The original z80 ran with a clock rate. The original z80 was first released in july 1976. Introduced in 1976, the z80 became one of the most widely used and influential microprocessors of its time. It discusses the z80 hardware model including its address bus, data bus, control signals, external requests,. Presents an overview of the user’s manual architecture, pin. Z80 Microprocessor Architecture.
From spectrum.ieee.org
Chip Hall of Fame Zilog Z80 Microprocessor IEEE Spectrum Z80 Microprocessor Architecture This document provides an overview of the z80 microprocessor architecture. It discusses the z80 hardware model including its address bus, data bus, control signals, external requests,. Introduced in 1976, the z80 became one of the most widely used and influential microprocessors of its time. The original z80 was first released in july 1976. Advanced embedding details, examples, and help! Since. Z80 Microprocessor Architecture.
From retrocomputing.stackexchange.com
z80 How did 8 bit processors perform 16 bit arithmetic Z80 Microprocessor Architecture The original z80 ran with a clock rate. The original z80 was first released in july 1976. Presents an overview of the user’s manual architecture, pin descriptions, timing and interrupt. This document provides an overview of the z80 microprocessor architecture. The z80 cpu user’s manual is divided into four chapters. Since then newer versions have appeared with exactly the same. Z80 Microprocessor Architecture.
From www.amazon.com
The Z80 microprocessor Architecture, interfacing Z80 Microprocessor Architecture Advanced embedding details, examples, and help! The z80 cpu user’s manual is divided into four chapters. The original z80 ran with a clock rate. Introduced in 1976, the z80 became one of the most widely used and influential microprocessors of its time. The original z80 was first released in july 1976. Since then newer versions have appeared with exactly the. Z80 Microprocessor Architecture.
From www.scribd.com
Z80 Microprocessor Architecture Interfacing Programming and Design PDF Z80 Microprocessor Architecture The z80 cpu user’s manual is divided into four chapters. This document provides an overview of the z80 microprocessor architecture. The original z80 ran with a clock rate. The original z80 was first released in july 1976. Since then newer versions have appeared with exactly the same architecture but running at higher speeds. Advanced embedding details, examples, and help! It. Z80 Microprocessor Architecture.
From www.researchgate.net
shows a typical system architecture for employing the Z80 TM. It is Z80 Microprocessor Architecture This document provides an overview of the z80 microprocessor architecture. Advanced embedding details, examples, and help! Introduced in 1976, the z80 became one of the most widely used and influential microprocessors of its time. The original z80 was first released in july 1976. The z80 cpu user’s manual is divided into four chapters. Presents an overview of the user’s manual. Z80 Microprocessor Architecture.
From spectrum.ieee.org
Chip Hall of Fame Zilog Z80 Microprocessor IEEE Spectrum Z80 Microprocessor Architecture The original z80 ran with a clock rate. Introduced in 1976, the z80 became one of the most widely used and influential microprocessors of its time. The z80 cpu user’s manual is divided into four chapters. Presents an overview of the user’s manual architecture, pin descriptions, timing and interrupt. It discusses the z80 hardware model including its address bus, data. Z80 Microprocessor Architecture.
From www.scribd.com
Z80 Microprocessor PDF Arduino Computer Architecture Z80 Microprocessor Architecture Advanced embedding details, examples, and help! It discusses the z80 hardware model including its address bus, data bus, control signals, external requests,. This document provides an overview of the z80 microprocessor architecture. Since then newer versions have appeared with exactly the same architecture but running at higher speeds. Introduced in 1976, the z80 became one of the most widely used. Z80 Microprocessor Architecture.
From retro.hansotten.nl
Z80 Microprocessor kit Retro Computing Z80 Microprocessor Architecture This document provides an overview of the z80 microprocessor architecture. Since then newer versions have appeared with exactly the same architecture but running at higher speeds. It discusses the z80 hardware model including its address bus, data bus, control signals, external requests,. Advanced embedding details, examples, and help! The original z80 was first released in july 1976. Introduced in 1976,. Z80 Microprocessor Architecture.
From www.scribd.com
Z80 Microprocessor Digital Electronics Computer Architecture Z80 Microprocessor Architecture It discusses the z80 hardware model including its address bus, data bus, control signals, external requests,. This document provides an overview of the z80 microprocessor architecture. Introduced in 1976, the z80 became one of the most widely used and influential microprocessors of its time. Since then newer versions have appeared with exactly the same architecture but running at higher speeds.. Z80 Microprocessor Architecture.
From www.slideshare.net
Z80 microprocessor architecture1 Z80 Microprocessor Architecture The original z80 was first released in july 1976. This document provides an overview of the z80 microprocessor architecture. Advanced embedding details, examples, and help! Presents an overview of the user’s manual architecture, pin descriptions, timing and interrupt. Since then newer versions have appeared with exactly the same architecture but running at higher speeds. Introduced in 1976, the z80 became. Z80 Microprocessor Architecture.
From www.alamy.com
Zilog Z80 microprocessor using 8 bit design Stock Photo Alamy Z80 Microprocessor Architecture Since then newer versions have appeared with exactly the same architecture but running at higher speeds. Introduced in 1976, the z80 became one of the most widely used and influential microprocessors of its time. The z80 cpu user’s manual is divided into four chapters. It discusses the z80 hardware model including its address bus, data bus, control signals, external requests,.. Z80 Microprocessor Architecture.
From kswichit.net
Z80 Microprocessor Kit Z80 Microprocessor Architecture It discusses the z80 hardware model including its address bus, data bus, control signals, external requests,. The original z80 ran with a clock rate. The z80 cpu user’s manual is divided into four chapters. Introduced in 1976, the z80 became one of the most widely used and influential microprocessors of its time. Advanced embedding details, examples, and help! Since then. Z80 Microprocessor Architecture.
From www.scribd.com
Z80 Microprocessor Architecture PDF Instruction Set Central Z80 Microprocessor Architecture Advanced embedding details, examples, and help! This document provides an overview of the z80 microprocessor architecture. Presents an overview of the user’s manual architecture, pin descriptions, timing and interrupt. The original z80 was first released in july 1976. Introduced in 1976, the z80 became one of the most widely used and influential microprocessors of its time. It discusses the z80. Z80 Microprocessor Architecture.
From www.z80.info
Thomas Scherrer Z80Family Official Support Page Z80 Microprocessor Architecture It discusses the z80 hardware model including its address bus, data bus, control signals, external requests,. The original z80 ran with a clock rate. Introduced in 1976, the z80 became one of the most widely used and influential microprocessors of its time. Since then newer versions have appeared with exactly the same architecture but running at higher speeds. Advanced embedding. Z80 Microprocessor Architecture.