Craftsman Nail Gun Parts . find craftsman nail gun parts at repairclinic.com. shop oem replacement parts by symptoms or model diagrams for your craftsman 351181740 nailer! shop oem replacement parts by symptoms or model diagrams for your craftsman 351181730 nailer! We offer model diagrams, accessories, expert. showing 10 of 82 parts |. shop oem craftsman nailer parts that fit, straight from the manufacturer. Repair your craftsman nail gun for less with genuine oem parts. the official craftsman parts you need to repair your nailer.
from www.lowes.com
Repair your craftsman nail gun for less with genuine oem parts. showing 10 of 82 parts |. shop oem replacement parts by symptoms or model diagrams for your craftsman 351181740 nailer! shop oem craftsman nailer parts that fit, straight from the manufacturer. the official craftsman parts you need to repair your nailer. find craftsman nail gun parts at repairclinic.com. shop oem replacement parts by symptoms or model diagrams for your craftsman 351181730 nailer! We offer model diagrams, accessories, expert.
CRAFTSMAN 16 Gal Straight Finish Nailer in the Nailers department at
Craftsman Nail Gun Parts the official craftsman parts you need to repair your nailer. shop oem craftsman nailer parts that fit, straight from the manufacturer. the official craftsman parts you need to repair your nailer. shop oem replacement parts by symptoms or model diagrams for your craftsman 351181730 nailer! find craftsman nail gun parts at repairclinic.com. Repair your craftsman nail gun for less with genuine oem parts. We offer model diagrams, accessories, expert. showing 10 of 82 parts |. shop oem replacement parts by symptoms or model diagrams for your craftsman 351181740 nailer!
From www.searspartsdirect.com
CRAFTSMAN NAILER Parts Model 351181770 Sears PartsDirect Craftsman Nail Gun Parts shop oem craftsman nailer parts that fit, straight from the manufacturer. find craftsman nail gun parts at repairclinic.com. Repair your craftsman nail gun for less with genuine oem parts. We offer model diagrams, accessories, expert. shop oem replacement parts by symptoms or model diagrams for your craftsman 351181730 nailer! shop oem replacement parts by symptoms or. Craftsman Nail Gun Parts.
From www.walmart.com
Craftsman Brad Nailer 18 Gauge 2 in. Nail Gun 70110 PSI Pneumatic Craftsman Nail Gun Parts the official craftsman parts you need to repair your nailer. shop oem replacement parts by symptoms or model diagrams for your craftsman 351181730 nailer! shop oem replacement parts by symptoms or model diagrams for your craftsman 351181740 nailer! find craftsman nail gun parts at repairclinic.com. Repair your craftsman nail gun for less with genuine oem parts.. Craftsman Nail Gun Parts.
From www.acehardware.com
Craftsman 20V MAX Cordless 18 Ga. Brad Nailer Kit Ace Hardware Craftsman Nail Gun Parts Repair your craftsman nail gun for less with genuine oem parts. showing 10 of 82 parts |. shop oem replacement parts by symptoms or model diagrams for your craftsman 351181730 nailer! We offer model diagrams, accessories, expert. shop oem replacement parts by symptoms or model diagrams for your craftsman 351181740 nailer! find craftsman nail gun parts. Craftsman Nail Gun Parts.
From www.youtube.com
How to load a craftsman nailer gun YouTube Craftsman Nail Gun Parts find craftsman nail gun parts at repairclinic.com. Repair your craftsman nail gun for less with genuine oem parts. the official craftsman parts you need to repair your nailer. shop oem replacement parts by symptoms or model diagrams for your craftsman 351181740 nailer! shop oem replacement parts by symptoms or model diagrams for your craftsman 351181730 nailer!. Craftsman Nail Gun Parts.
From www.thathipsterlife.com
Craftsman Nail Gun Parts Home Design Ideas Craftsman Nail Gun Parts We offer model diagrams, accessories, expert. Repair your craftsman nail gun for less with genuine oem parts. shop oem replacement parts by symptoms or model diagrams for your craftsman 351181740 nailer! shop oem craftsman nailer parts that fit, straight from the manufacturer. shop oem replacement parts by symptoms or model diagrams for your craftsman 351181730 nailer! . Craftsman Nail Gun Parts.
From www.sears.com
Craftsman 18 Ga Brad Nailer Kit NoHassle Brad Nailer Kits at Sears Craftsman Nail Gun Parts shop oem replacement parts by symptoms or model diagrams for your craftsman 351181740 nailer! showing 10 of 82 parts |. shop oem craftsman nailer parts that fit, straight from the manufacturer. find craftsman nail gun parts at repairclinic.com. shop oem replacement parts by symptoms or model diagrams for your craftsman 351181730 nailer! Repair your craftsman. Craftsman Nail Gun Parts.
From www.k-bid.com
Craftsman Framing Nailer JAX of Benson Sale 546 KBID Craftsman Nail Gun Parts shop oem replacement parts by symptoms or model diagrams for your craftsman 351181730 nailer! find craftsman nail gun parts at repairclinic.com. shop oem craftsman nailer parts that fit, straight from the manufacturer. shop oem replacement parts by symptoms or model diagrams for your craftsman 351181740 nailer! We offer model diagrams, accessories, expert. Repair your craftsman nail. Craftsman Nail Gun Parts.
From www.ebay.com
Craftsman 18 Gauge Air Brad Nailer Gun 351.184090 3/8" 1 1/4 Craftsman Nail Gun Parts We offer model diagrams, accessories, expert. showing 10 of 82 parts |. shop oem craftsman nailer parts that fit, straight from the manufacturer. find craftsman nail gun parts at repairclinic.com. Repair your craftsman nail gun for less with genuine oem parts. shop oem replacement parts by symptoms or model diagrams for your craftsman 351181740 nailer! . Craftsman Nail Gun Parts.
From www.sears.com
Craftsman Full Head Framing Nailer Craftsman Nail Gun Parts shop oem replacement parts by symptoms or model diagrams for your craftsman 351181740 nailer! shop oem replacement parts by symptoms or model diagrams for your craftsman 351181730 nailer! showing 10 of 82 parts |. shop oem craftsman nailer parts that fit, straight from the manufacturer. We offer model diagrams, accessories, expert. the official craftsman parts. Craftsman Nail Gun Parts.
From www.thathipsterlife.com
Craftsman Nail Gun Parts Home Design Ideas Craftsman Nail Gun Parts shop oem replacement parts by symptoms or model diagrams for your craftsman 351181740 nailer! shop oem replacement parts by symptoms or model diagrams for your craftsman 351181730 nailer! We offer model diagrams, accessories, expert. showing 10 of 82 parts |. Repair your craftsman nail gun for less with genuine oem parts. shop oem craftsman nailer parts. Craftsman Nail Gun Parts.
From www.kmart.com
Craftsman Electric Staple/Nail Gun EasyFire Craftsman Nail Gun Parts Repair your craftsman nail gun for less with genuine oem parts. the official craftsman parts you need to repair your nailer. We offer model diagrams, accessories, expert. shop oem replacement parts by symptoms or model diagrams for your craftsman 351181740 nailer! showing 10 of 82 parts |. shop oem craftsman nailer parts that fit, straight from. Craftsman Nail Gun Parts.
From www.thathipsterlife.com
Craftsman Nail Gun Parts Home Design Ideas Craftsman Nail Gun Parts Repair your craftsman nail gun for less with genuine oem parts. the official craftsman parts you need to repair your nailer. shop oem replacement parts by symptoms or model diagrams for your craftsman 351181740 nailer! find craftsman nail gun parts at repairclinic.com. shop oem replacement parts by symptoms or model diagrams for your craftsman 351181730 nailer!. Craftsman Nail Gun Parts.
From engineliblehmann.z19.web.core.windows.net
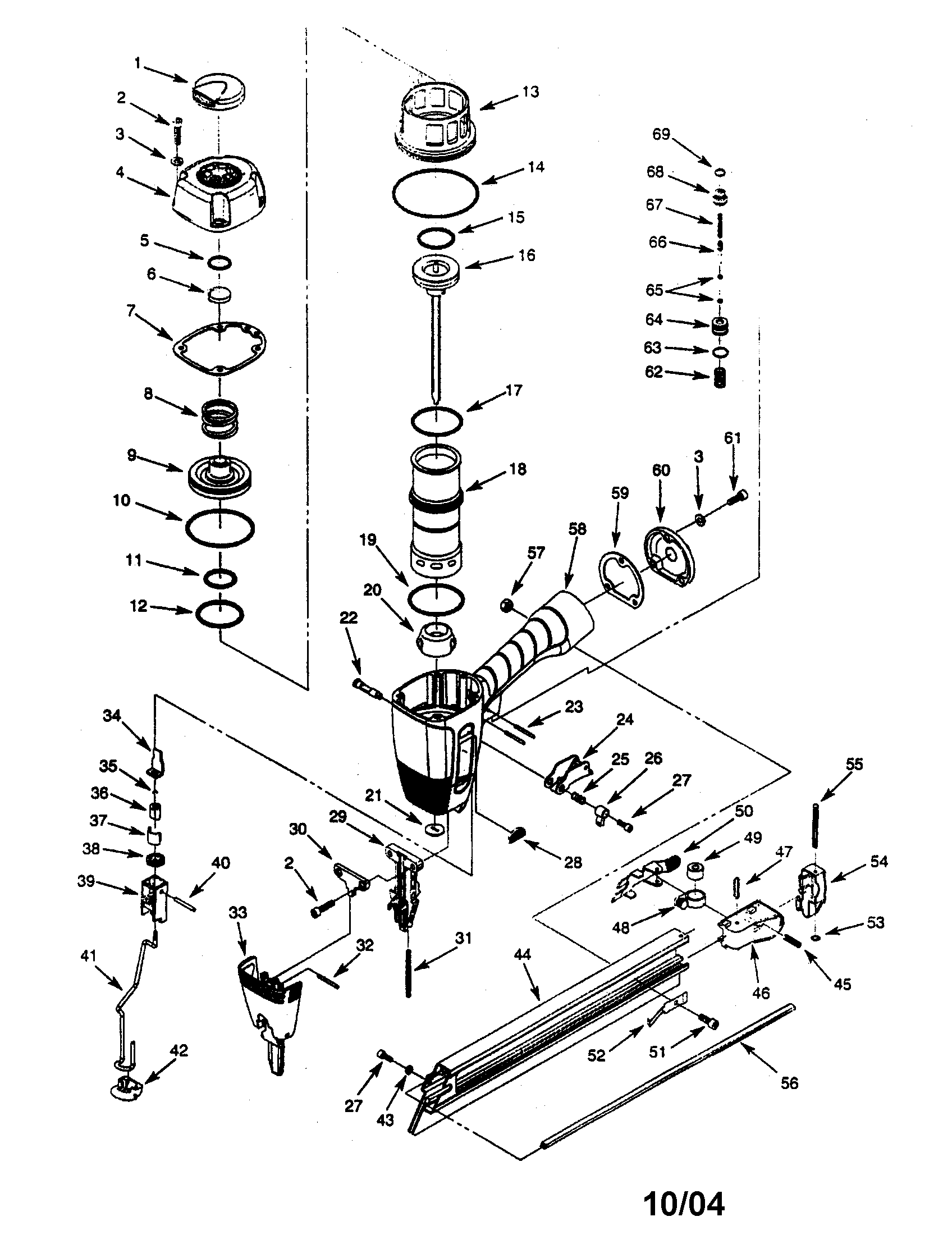
Paslode Framing Nailer Parts Diagram Craftsman Nail Gun Parts Repair your craftsman nail gun for less with genuine oem parts. shop oem craftsman nailer parts that fit, straight from the manufacturer. shop oem replacement parts by symptoms or model diagrams for your craftsman 351181730 nailer! find craftsman nail gun parts at repairclinic.com. the official craftsman parts you need to repair your nailer. shop oem. Craftsman Nail Gun Parts.
From www.searspartsdirect.com
Official Craftsman power nailer parts Sears PartsDirect Craftsman Nail Gun Parts showing 10 of 82 parts |. Repair your craftsman nail gun for less with genuine oem parts. shop oem replacement parts by symptoms or model diagrams for your craftsman 351181730 nailer! We offer model diagrams, accessories, expert. shop oem craftsman nailer parts that fit, straight from the manufacturer. the official craftsman parts you need to repair. Craftsman Nail Gun Parts.
From www.bidspotter.com
{ Group of lots 12, 13, 14, 15 (P) } } } } } } Craftsman Nail Gun Craftsman Nail Gun Parts the official craftsman parts you need to repair your nailer. Repair your craftsman nail gun for less with genuine oem parts. We offer model diagrams, accessories, expert. find craftsman nail gun parts at repairclinic.com. shop oem replacement parts by symptoms or model diagrams for your craftsman 351181740 nailer! showing 10 of 82 parts |. shop. Craftsman Nail Gun Parts.
From atelier-yuwa.ciao.jp
Craftsman 351183230 User Manual BRAD NAILER Manuals And Guides L0402295 Craftsman Nail Gun Parts the official craftsman parts you need to repair your nailer. Repair your craftsman nail gun for less with genuine oem parts. We offer model diagrams, accessories, expert. find craftsman nail gun parts at repairclinic.com. shop oem replacement parts by symptoms or model diagrams for your craftsman 351181740 nailer! showing 10 of 82 parts |. shop. Craftsman Nail Gun Parts.
From www.lowes.com
CRAFTSMAN 16 Gal Straight Finish Nailer in the Nailers department at Craftsman Nail Gun Parts shop oem replacement parts by symptoms or model diagrams for your craftsman 351181740 nailer! find craftsman nail gun parts at repairclinic.com. We offer model diagrams, accessories, expert. the official craftsman parts you need to repair your nailer. Repair your craftsman nail gun for less with genuine oem parts. shop oem replacement parts by symptoms or model. Craftsman Nail Gun Parts.
From www.thathipsterlife.com
Craftsman Nail Gun Parts Home Design Ideas Craftsman Nail Gun Parts shop oem replacement parts by symptoms or model diagrams for your craftsman 351181740 nailer! shop oem craftsman nailer parts that fit, straight from the manufacturer. showing 10 of 82 parts |. the official craftsman parts you need to repair your nailer. Repair your craftsman nail gun for less with genuine oem parts. shop oem replacement. Craftsman Nail Gun Parts.
From www.thathipsterlife.com
Craftsman Nail Gun Parts Home Design Ideas Craftsman Nail Gun Parts find craftsman nail gun parts at repairclinic.com. We offer model diagrams, accessories, expert. Repair your craftsman nail gun for less with genuine oem parts. shop oem craftsman nailer parts that fit, straight from the manufacturer. showing 10 of 82 parts |. shop oem replacement parts by symptoms or model diagrams for your craftsman 351181730 nailer! . Craftsman Nail Gun Parts.
From www.shopyourway.com
Craftsman 3 PC Nail Gun Kit Shop Your Way Online Shopping & Earn Craftsman Nail Gun Parts We offer model diagrams, accessories, expert. shop oem replacement parts by symptoms or model diagrams for your craftsman 351181730 nailer! showing 10 of 82 parts |. Repair your craftsman nail gun for less with genuine oem parts. the official craftsman parts you need to repair your nailer. shop oem craftsman nailer parts that fit, straight from. Craftsman Nail Gun Parts.
From www.thathipsterlife.com
Craftsman Nail Gun Parts Home Design Ideas Craftsman Nail Gun Parts We offer model diagrams, accessories, expert. Repair your craftsman nail gun for less with genuine oem parts. shop oem replacement parts by symptoms or model diagrams for your craftsman 351181730 nailer! find craftsman nail gun parts at repairclinic.com. shop oem craftsman nailer parts that fit, straight from the manufacturer. the official craftsman parts you need to. Craftsman Nail Gun Parts.
From www.thathipsterlife.com
Craftsman Nail Gun Parts Home Design Ideas Craftsman Nail Gun Parts shop oem craftsman nailer parts that fit, straight from the manufacturer. We offer model diagrams, accessories, expert. find craftsman nail gun parts at repairclinic.com. showing 10 of 82 parts |. shop oem replacement parts by symptoms or model diagrams for your craftsman 351181740 nailer! Repair your craftsman nail gun for less with genuine oem parts. . Craftsman Nail Gun Parts.
From www.thathipsterlife.com
Craftsman Nail Gun Parts Home Design Ideas Craftsman Nail Gun Parts shop oem replacement parts by symptoms or model diagrams for your craftsman 351181730 nailer! Repair your craftsman nail gun for less with genuine oem parts. the official craftsman parts you need to repair your nailer. showing 10 of 82 parts |. shop oem replacement parts by symptoms or model diagrams for your craftsman 351181740 nailer! We. Craftsman Nail Gun Parts.
From www.thathipsterlife.com
Craftsman Nail Gun Parts Home Design Ideas Craftsman Nail Gun Parts shop oem craftsman nailer parts that fit, straight from the manufacturer. showing 10 of 82 parts |. Repair your craftsman nail gun for less with genuine oem parts. find craftsman nail gun parts at repairclinic.com. We offer model diagrams, accessories, expert. shop oem replacement parts by symptoms or model diagrams for your craftsman 351181730 nailer! . Craftsman Nail Gun Parts.
From www.ebid.net
Operator's Manual Craftsman 5/8"2" Brad Nailer 371.713610 Part 4497 Craftsman Nail Gun Parts Repair your craftsman nail gun for less with genuine oem parts. find craftsman nail gun parts at repairclinic.com. the official craftsman parts you need to repair your nailer. shop oem craftsman nailer parts that fit, straight from the manufacturer. shop oem replacement parts by symptoms or model diagrams for your craftsman 351181740 nailer! showing 10. Craftsman Nail Gun Parts.
From www.thathipsterlife.com
Craftsman Nail Gun Parts Home Design Ideas Craftsman Nail Gun Parts shop oem replacement parts by symptoms or model diagrams for your craftsman 351181740 nailer! shop oem craftsman nailer parts that fit, straight from the manufacturer. We offer model diagrams, accessories, expert. the official craftsman parts you need to repair your nailer. showing 10 of 82 parts |. Repair your craftsman nail gun for less with genuine. Craftsman Nail Gun Parts.
From www.lowes.com
CRAFTSMAN V20 2in 18Gauge Cordless Brad Nailer in the Nailers Craftsman Nail Gun Parts the official craftsman parts you need to repair your nailer. Repair your craftsman nail gun for less with genuine oem parts. shop oem replacement parts by symptoms or model diagrams for your craftsman 351181740 nailer! showing 10 of 82 parts |. shop oem craftsman nailer parts that fit, straight from the manufacturer. find craftsman nail. Craftsman Nail Gun Parts.
From www.thathipsterlife.com
Craftsman Nail Gun Parts Home Design Ideas Craftsman Nail Gun Parts find craftsman nail gun parts at repairclinic.com. shop oem craftsman nailer parts that fit, straight from the manufacturer. Repair your craftsman nail gun for less with genuine oem parts. showing 10 of 82 parts |. We offer model diagrams, accessories, expert. shop oem replacement parts by symptoms or model diagrams for your craftsman 351181730 nailer! . Craftsman Nail Gun Parts.
From www.thathipsterlife.com
Craftsman Nail Gun Parts Home Design Ideas Craftsman Nail Gun Parts Repair your craftsman nail gun for less with genuine oem parts. the official craftsman parts you need to repair your nailer. shop oem craftsman nailer parts that fit, straight from the manufacturer. shop oem replacement parts by symptoms or model diagrams for your craftsman 351181730 nailer! showing 10 of 82 parts |. shop oem replacement. Craftsman Nail Gun Parts.
From www.searsoutlet.com
Craftsman KKU1044 18GA MAGNESIUM BRAD NAILER Sears Outlet Craftsman Nail Gun Parts find craftsman nail gun parts at repairclinic.com. We offer model diagrams, accessories, expert. shop oem replacement parts by symptoms or model diagrams for your craftsman 351181740 nailer! the official craftsman parts you need to repair your nailer. shop oem craftsman nailer parts that fit, straight from the manufacturer. shop oem replacement parts by symptoms or. Craftsman Nail Gun Parts.
From www.lowes.com
CRAFTSMAN 18Gauge Pneumatic Brad Nailer in the Nailers department at Craftsman Nail Gun Parts shop oem craftsman nailer parts that fit, straight from the manufacturer. Repair your craftsman nail gun for less with genuine oem parts. the official craftsman parts you need to repair your nailer. We offer model diagrams, accessories, expert. showing 10 of 82 parts |. shop oem replacement parts by symptoms or model diagrams for your craftsman. Craftsman Nail Gun Parts.
From 10bestproductreview.com
Best craftsman nail gun cordless 10 Best Home Product Craftsman Nail Gun Parts shop oem replacement parts by symptoms or model diagrams for your craftsman 351181730 nailer! Repair your craftsman nail gun for less with genuine oem parts. We offer model diagrams, accessories, expert. showing 10 of 82 parts |. shop oem craftsman nailer parts that fit, straight from the manufacturer. shop oem replacement parts by symptoms or model. Craftsman Nail Gun Parts.
From www.thathipsterlife.com
Craftsman Nail Gun Parts Home Design Ideas Craftsman Nail Gun Parts showing 10 of 82 parts |. Repair your craftsman nail gun for less with genuine oem parts. the official craftsman parts you need to repair your nailer. shop oem replacement parts by symptoms or model diagrams for your craftsman 351181740 nailer! We offer model diagrams, accessories, expert. shop oem craftsman nailer parts that fit, straight from. Craftsman Nail Gun Parts.
From www.thathipsterlife.com
Craftsman Nail Gun Parts Home Design Ideas Craftsman Nail Gun Parts showing 10 of 82 parts |. the official craftsman parts you need to repair your nailer. We offer model diagrams, accessories, expert. Repair your craftsman nail gun for less with genuine oem parts. find craftsman nail gun parts at repairclinic.com. shop oem craftsman nailer parts that fit, straight from the manufacturer. shop oem replacement parts. Craftsman Nail Gun Parts.
From www.thathipsterlife.com
Craftsman Nail Gun Parts Home Design Ideas Craftsman Nail Gun Parts shop oem replacement parts by symptoms or model diagrams for your craftsman 351181740 nailer! shop oem craftsman nailer parts that fit, straight from the manufacturer. shop oem replacement parts by symptoms or model diagrams for your craftsman 351181730 nailer! showing 10 of 82 parts |. find craftsman nail gun parts at repairclinic.com. We offer model. Craftsman Nail Gun Parts.