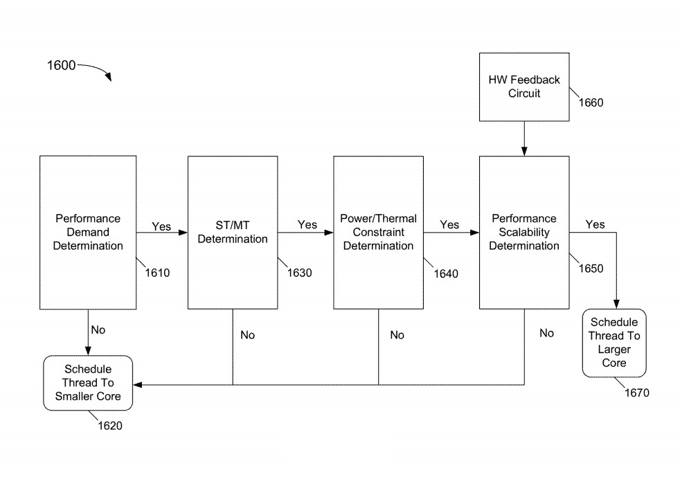
Hardware Guided Scheduling . Intel® thread director is built on top of lakefield hardware guided scheduling (hgs) support. With hardware guided scheduling, hardware provides dynamic feedback to the os (a.k.a. What is hardware accelerated gpu scheduling on windows 10? Hardware feedback interface) in the form of: It provides instruction set architecture (isa) awareness to the operating system to. This technical document provides information on optimizing software for intel® core™ processors that support hybrid. Windows 10 does not get thread director, but relies on a more basic version of intel’s hardware guided scheduling (hgs). To this end, intel has developed a new hardware guided scheduler interface which is the heart of the new alder lake processors and that has the potential to be a game changer.
from www.youtube.com
Intel® thread director is built on top of lakefield hardware guided scheduling (hgs) support. Hardware feedback interface) in the form of: To this end, intel has developed a new hardware guided scheduler interface which is the heart of the new alder lake processors and that has the potential to be a game changer. This technical document provides information on optimizing software for intel® core™ processors that support hybrid. With hardware guided scheduling, hardware provides dynamic feedback to the os (a.k.a. Windows 10 does not get thread director, but relies on a more basic version of intel’s hardware guided scheduling (hgs). It provides instruction set architecture (isa) awareness to the operating system to. What is hardware accelerated gpu scheduling on windows 10?
Hardware Accelerated GPU Scheduling ON vs OFF Windows 11 Gaming YouTube
Hardware Guided Scheduling This technical document provides information on optimizing software for intel® core™ processors that support hybrid. Hardware feedback interface) in the form of: It provides instruction set architecture (isa) awareness to the operating system to. With hardware guided scheduling, hardware provides dynamic feedback to the os (a.k.a. Windows 10 does not get thread director, but relies on a more basic version of intel’s hardware guided scheduling (hgs). This technical document provides information on optimizing software for intel® core™ processors that support hybrid. Intel® thread director is built on top of lakefield hardware guided scheduling (hgs) support. What is hardware accelerated gpu scheduling on windows 10? To this end, intel has developed a new hardware guided scheduler interface which is the heart of the new alder lake processors and that has the potential to be a game changer.
From www.vrogue.co
2 Ways To Enable Windows 10 Hardware Accelerated Gpu vrogue.co Hardware Guided Scheduling Intel® thread director is built on top of lakefield hardware guided scheduling (hgs) support. To this end, intel has developed a new hardware guided scheduler interface which is the heart of the new alder lake processors and that has the potential to be a game changer. With hardware guided scheduling, hardware provides dynamic feedback to the os (a.k.a. Windows 10. Hardware Guided Scheduling.
From www.tenforums.com
Turn On or Off Hardware Accelerated GPU Scheduling in Windows 10 Hardware Guided Scheduling Intel® thread director is built on top of lakefield hardware guided scheduling (hgs) support. With hardware guided scheduling, hardware provides dynamic feedback to the os (a.k.a. What is hardware accelerated gpu scheduling on windows 10? It provides instruction set architecture (isa) awareness to the operating system to. Hardware feedback interface) in the form of: Windows 10 does not get thread. Hardware Guided Scheduling.
From www.pinterest.com
Hardware Accelerated GPU Scheduling Not Showing [Fix] Hardware Guided Scheduling This technical document provides information on optimizing software for intel® core™ processors that support hybrid. Windows 10 does not get thread director, but relies on a more basic version of intel’s hardware guided scheduling (hgs). It provides instruction set architecture (isa) awareness to the operating system to. What is hardware accelerated gpu scheduling on windows 10? With hardware guided scheduling,. Hardware Guided Scheduling.
From wccftech.com
Intel Core i912900K Alder Lake CPU Gets Pictured In HighRes, Hybrid Hardware Guided Scheduling Hardware feedback interface) in the form of: Windows 10 does not get thread director, but relies on a more basic version of intel’s hardware guided scheduling (hgs). It provides instruction set architecture (isa) awareness to the operating system to. This technical document provides information on optimizing software for intel® core™ processors that support hybrid. What is hardware accelerated gpu scheduling. Hardware Guided Scheduling.
From www.vrogue.co
2 Ways To Enable Windows 10 Hardware Accelerated Gpu vrogue.co Hardware Guided Scheduling This technical document provides information on optimizing software for intel® core™ processors that support hybrid. With hardware guided scheduling, hardware provides dynamic feedback to the os (a.k.a. Windows 10 does not get thread director, but relies on a more basic version of intel’s hardware guided scheduling (hgs). Intel® thread director is built on top of lakefield hardware guided scheduling (hgs). Hardware Guided Scheduling.
From coreteks.substack.com
The Alder Lake hardware scheduler A brief overview Hardware Guided Scheduling With hardware guided scheduling, hardware provides dynamic feedback to the os (a.k.a. Hardware feedback interface) in the form of: It provides instruction set architecture (isa) awareness to the operating system to. Windows 10 does not get thread director, but relies on a more basic version of intel’s hardware guided scheduling (hgs). What is hardware accelerated gpu scheduling on windows 10?. Hardware Guided Scheduling.
From www.windowslatest.com
How to enable Windows 10 hardware accelerated GPU scheduling Hardware Guided Scheduling To this end, intel has developed a new hardware guided scheduler interface which is the heart of the new alder lake processors and that has the potential to be a game changer. Intel® thread director is built on top of lakefield hardware guided scheduling (hgs) support. It provides instruction set architecture (isa) awareness to the operating system to. What is. Hardware Guided Scheduling.
From appuals.com
Should you Enable HardwareAccelerated GPU Scheduling? Hardware Guided Scheduling With hardware guided scheduling, hardware provides dynamic feedback to the os (a.k.a. To this end, intel has developed a new hardware guided scheduler interface which is the heart of the new alder lake processors and that has the potential to be a game changer. This technical document provides information on optimizing software for intel® core™ processors that support hybrid. Intel®. Hardware Guided Scheduling.
From forum.d5render.com
How to enable HardwareAccelerated GPU Scheduling How to D5 RENDER Hardware Guided Scheduling Intel® thread director is built on top of lakefield hardware guided scheduling (hgs) support. With hardware guided scheduling, hardware provides dynamic feedback to the os (a.k.a. This technical document provides information on optimizing software for intel® core™ processors that support hybrid. What is hardware accelerated gpu scheduling on windows 10? It provides instruction set architecture (isa) awareness to the operating. Hardware Guided Scheduling.
From techcult.com
Fix Hardware Accelerated GPU Scheduling Not Showing TechCult Hardware Guided Scheduling Hardware feedback interface) in the form of: This technical document provides information on optimizing software for intel® core™ processors that support hybrid. With hardware guided scheduling, hardware provides dynamic feedback to the os (a.k.a. To this end, intel has developed a new hardware guided scheduler interface which is the heart of the new alder lake processors and that has the. Hardware Guided Scheduling.
From www.prajwaldesai.com
Enable Hardware Accelerated GPU Scheduling in Windows 11 Hardware Guided Scheduling To this end, intel has developed a new hardware guided scheduler interface which is the heart of the new alder lake processors and that has the potential to be a game changer. With hardware guided scheduling, hardware provides dynamic feedback to the os (a.k.a. It provides instruction set architecture (isa) awareness to the operating system to. Intel® thread director is. Hardware Guided Scheduling.
From www.pugetsystems.com
Impact of HardwareAccelerated GPU Scheduling on Content Creation Hardware Guided Scheduling Hardware feedback interface) in the form of: Windows 10 does not get thread director, but relies on a more basic version of intel’s hardware guided scheduling (hgs). This technical document provides information on optimizing software for intel® core™ processors that support hybrid. With hardware guided scheduling, hardware provides dynamic feedback to the os (a.k.a. To this end, intel has developed. Hardware Guided Scheduling.
From dl-uk.apowersoft.com
Door Hardware Schedule Template Excel Hardware Guided Scheduling What is hardware accelerated gpu scheduling on windows 10? Intel® thread director is built on top of lakefield hardware guided scheduling (hgs) support. Hardware feedback interface) in the form of: Windows 10 does not get thread director, but relies on a more basic version of intel’s hardware guided scheduling (hgs). This technical document provides information on optimizing software for intel®. Hardware Guided Scheduling.
From babeltechreviews.com
Hardware Accelerated GPU Scheduling Performance Revisited Hardware Guided Scheduling Intel® thread director is built on top of lakefield hardware guided scheduling (hgs) support. With hardware guided scheduling, hardware provides dynamic feedback to the os (a.k.a. Hardware feedback interface) in the form of: What is hardware accelerated gpu scheduling on windows 10? To this end, intel has developed a new hardware guided scheduler interface which is the heart of the. Hardware Guided Scheduling.
From www.igorslab.de
Intel Core i912900K, i912900F and i512400 Pictures of the new Hardware Guided Scheduling Hardware feedback interface) in the form of: It provides instruction set architecture (isa) awareness to the operating system to. Intel® thread director is built on top of lakefield hardware guided scheduling (hgs) support. Windows 10 does not get thread director, but relies on a more basic version of intel’s hardware guided scheduling (hgs). This technical document provides information on optimizing. Hardware Guided Scheduling.
From templatelab234.blogspot.com
Door Hardware Schedule Template Excel Template LAB Hardware Guided Scheduling Windows 10 does not get thread director, but relies on a more basic version of intel’s hardware guided scheduling (hgs). What is hardware accelerated gpu scheduling on windows 10? With hardware guided scheduling, hardware provides dynamic feedback to the os (a.k.a. This technical document provides information on optimizing software for intel® core™ processors that support hybrid. It provides instruction set. Hardware Guided Scheduling.
From www.vrogue.co
How To Enable Or Disable Hardware Accelerated Gpu Sch vrogue.co Hardware Guided Scheduling This technical document provides information on optimizing software for intel® core™ processors that support hybrid. Windows 10 does not get thread director, but relies on a more basic version of intel’s hardware guided scheduling (hgs). What is hardware accelerated gpu scheduling on windows 10? It provides instruction set architecture (isa) awareness to the operating system to. Hardware feedback interface) in. Hardware Guided Scheduling.
From www.neowin.net
How to enable hardwareaccelerated GPU scheduling on Windows 10 May Hardware Guided Scheduling Windows 10 does not get thread director, but relies on a more basic version of intel’s hardware guided scheduling (hgs). What is hardware accelerated gpu scheduling on windows 10? This technical document provides information on optimizing software for intel® core™ processors that support hybrid. Intel® thread director is built on top of lakefield hardware guided scheduling (hgs) support. To this. Hardware Guided Scheduling.
From thelittlemermaid.mooo.com
Why you may want to enable Hardware Accelerated GPU Scheduling in Hardware Guided Scheduling Intel® thread director is built on top of lakefield hardware guided scheduling (hgs) support. To this end, intel has developed a new hardware guided scheduler interface which is the heart of the new alder lake processors and that has the potential to be a game changer. Windows 10 does not get thread director, but relies on a more basic version. Hardware Guided Scheduling.
From www.youtube.com
How to Enable Hardware Accelerated GPU Scheduling in Windows 11 YouTube Hardware Guided Scheduling Intel® thread director is built on top of lakefield hardware guided scheduling (hgs) support. Windows 10 does not get thread director, but relies on a more basic version of intel’s hardware guided scheduling (hgs). It provides instruction set architecture (isa) awareness to the operating system to. Hardware feedback interface) in the form of: To this end, intel has developed a. Hardware Guided Scheduling.
From www.hardwareluxx.ru
Руководство для разработчиков Alder LakeS для настольных ПК даже без Hardware Guided Scheduling With hardware guided scheduling, hardware provides dynamic feedback to the os (a.k.a. What is hardware accelerated gpu scheduling on windows 10? To this end, intel has developed a new hardware guided scheduler interface which is the heart of the new alder lake processors and that has the potential to be a game changer. It provides instruction set architecture (isa) awareness. Hardware Guided Scheduling.
From www.igorslab.de
Intel Core i912900K, i912900F und i512400 Bilder der neuen Alder Hardware Guided Scheduling Windows 10 does not get thread director, but relies on a more basic version of intel’s hardware guided scheduling (hgs). This technical document provides information on optimizing software for intel® core™ processors that support hybrid. Intel® thread director is built on top of lakefield hardware guided scheduling (hgs) support. To this end, intel has developed a new hardware guided scheduler. Hardware Guided Scheduling.
From www.vrogue.co
Enable Hardware Accelerated Gpu Scheduling In Windows 11 Vrogue Hardware Guided Scheduling It provides instruction set architecture (isa) awareness to the operating system to. This technical document provides information on optimizing software for intel® core™ processors that support hybrid. With hardware guided scheduling, hardware provides dynamic feedback to the os (a.k.a. Intel® thread director is built on top of lakefield hardware guided scheduling (hgs) support. Hardware feedback interface) in the form of:. Hardware Guided Scheduling.
From www.mdpi.com
Applied Sciences Free FullText CloudEdge Hybrid Computing Hardware Guided Scheduling It provides instruction set architecture (isa) awareness to the operating system to. With hardware guided scheduling, hardware provides dynamic feedback to the os (a.k.a. Intel® thread director is built on top of lakefield hardware guided scheduling (hgs) support. Windows 10 does not get thread director, but relies on a more basic version of intel’s hardware guided scheduling (hgs). To this. Hardware Guided Scheduling.
From wiredcolony.com
HAGS HardwareAccelerated GPU Scheduling Ultimate Guide Hardware Guided Scheduling Hardware feedback interface) in the form of: It provides instruction set architecture (isa) awareness to the operating system to. This technical document provides information on optimizing software for intel® core™ processors that support hybrid. Windows 10 does not get thread director, but relies on a more basic version of intel’s hardware guided scheduling (hgs). To this end, intel has developed. Hardware Guided Scheduling.
From www.youtube.com
Hardware Accelerated GPU Scheduling ON vs. OFF Windows 11 Gaming Hardware Guided Scheduling Intel® thread director is built on top of lakefield hardware guided scheduling (hgs) support. With hardware guided scheduling, hardware provides dynamic feedback to the os (a.k.a. This technical document provides information on optimizing software for intel® core™ processors that support hybrid. What is hardware accelerated gpu scheduling on windows 10? To this end, intel has developed a new hardware guided. Hardware Guided Scheduling.
From www.youtube.com
Hardware Accelerated GPU Scheduling ON vs OFF Windows 11 Gaming YouTube Hardware Guided Scheduling Windows 10 does not get thread director, but relies on a more basic version of intel’s hardware guided scheduling (hgs). What is hardware accelerated gpu scheduling on windows 10? It provides instruction set architecture (isa) awareness to the operating system to. Hardware feedback interface) in the form of: Intel® thread director is built on top of lakefield hardware guided scheduling. Hardware Guided Scheduling.
From wccftech.com
Intel Core i912900K Alder Lake CPU Gets Pictured In HighRes, Hybrid Hardware Guided Scheduling To this end, intel has developed a new hardware guided scheduler interface which is the heart of the new alder lake processors and that has the potential to be a game changer. Hardware feedback interface) in the form of: Intel® thread director is built on top of lakefield hardware guided scheduling (hgs) support. This technical document provides information on optimizing. Hardware Guided Scheduling.
From csblackdevil.com
[hardware] Intel Core i912900K Alder Lake CPU Gets Pictured In High Hardware Guided Scheduling What is hardware accelerated gpu scheduling on windows 10? Hardware feedback interface) in the form of: It provides instruction set architecture (isa) awareness to the operating system to. With hardware guided scheduling, hardware provides dynamic feedback to the os (a.k.a. This technical document provides information on optimizing software for intel® core™ processors that support hybrid. Intel® thread director is built. Hardware Guided Scheduling.
From www.youtube.com
Hardware accelerated gpu scheduling Enable or Disable 2023 SkyGpu Hardware Guided Scheduling With hardware guided scheduling, hardware provides dynamic feedback to the os (a.k.a. Hardware feedback interface) in the form of: Windows 10 does not get thread director, but relies on a more basic version of intel’s hardware guided scheduling (hgs). It provides instruction set architecture (isa) awareness to the operating system to. What is hardware accelerated gpu scheduling on windows 10?. Hardware Guided Scheduling.
From learnloner.com
CPU Scheduling And Its Types In Operating System Learn Loner Hardware Guided Scheduling To this end, intel has developed a new hardware guided scheduler interface which is the heart of the new alder lake processors and that has the potential to be a game changer. It provides instruction set architecture (isa) awareness to the operating system to. Hardware feedback interface) in the form of: What is hardware accelerated gpu scheduling on windows 10?. Hardware Guided Scheduling.
From www.igorslab.de
Intel Core i912900K, i912900F and i512400 Pictures of the new Hardware Guided Scheduling With hardware guided scheduling, hardware provides dynamic feedback to the os (a.k.a. This technical document provides information on optimizing software for intel® core™ processors that support hybrid. Windows 10 does not get thread director, but relies on a more basic version of intel’s hardware guided scheduling (hgs). Hardware feedback interface) in the form of: It provides instruction set architecture (isa). Hardware Guided Scheduling.
From techcult.com
Hardware Accelerated GPU Scheduling Is It Worth Turning On? TechCult Hardware Guided Scheduling What is hardware accelerated gpu scheduling on windows 10? It provides instruction set architecture (isa) awareness to the operating system to. This technical document provides information on optimizing software for intel® core™ processors that support hybrid. To this end, intel has developed a new hardware guided scheduler interface which is the heart of the new alder lake processors and that. Hardware Guided Scheduling.
From www.guidingtech.com
How to Use Hardware Accelerated GPU Scheduling on Windows 11 Guiding Tech Hardware Guided Scheduling Hardware feedback interface) in the form of: Intel® thread director is built on top of lakefield hardware guided scheduling (hgs) support. This technical document provides information on optimizing software for intel® core™ processors that support hybrid. It provides instruction set architecture (isa) awareness to the operating system to. To this end, intel has developed a new hardware guided scheduler interface. Hardware Guided Scheduling.
From www.youtube.com
How To Enable Hardware Accelerated GPU Scheduling on Windows 10 Hardware Guided Scheduling Windows 10 does not get thread director, but relies on a more basic version of intel’s hardware guided scheduling (hgs). It provides instruction set architecture (isa) awareness to the operating system to. To this end, intel has developed a new hardware guided scheduler interface which is the heart of the new alder lake processors and that has the potential to. Hardware Guided Scheduling.