Tube Rectifier Calculator . this calculator allows you to compute and tune loadline and operating point of tube amplifiers’ power stages, for most common power vacuum tubes. this bridge rectifier calculator can assist you in understanding how a bridge rectifier circuit works and how to use one. use this calculator when you measure the actual plate current. online engineering calculator to quickly estimate the component values for a linear power supply. the amount of calculations to properly design a tube rectifier are. utility to calculate tube amp estimated power transformer current requirements.
from xi8.me
this bridge rectifier calculator can assist you in understanding how a bridge rectifier circuit works and how to use one. use this calculator when you measure the actual plate current. utility to calculate tube amp estimated power transformer current requirements. this calculator allows you to compute and tune loadline and operating point of tube amplifiers’ power stages, for most common power vacuum tubes. the amount of calculations to properly design a tube rectifier are. online engineering calculator to quickly estimate the component values for a linear power supply.
5Y3 RECTIFIER TUBE PDF
Tube Rectifier Calculator online engineering calculator to quickly estimate the component values for a linear power supply. online engineering calculator to quickly estimate the component values for a linear power supply. the amount of calculations to properly design a tube rectifier are. this calculator allows you to compute and tune loadline and operating point of tube amplifiers’ power stages, for most common power vacuum tubes. this bridge rectifier calculator can assist you in understanding how a bridge rectifier circuit works and how to use one. use this calculator when you measure the actual plate current. utility to calculate tube amp estimated power transformer current requirements.
From www.augustica.com
Practical Rectifier Circuits Tube Rectifier Calculator utility to calculate tube amp estimated power transformer current requirements. online engineering calculator to quickly estimate the component values for a linear power supply. the amount of calculations to properly design a tube rectifier are. use this calculator when you measure the actual plate current. this bridge rectifier calculator can assist you in understanding how. Tube Rectifier Calculator.
From guidelibraryposey.z19.web.core.windows.net
Full Wave Controlled Rectifier Circuit Diagram Tube Rectifier Calculator this bridge rectifier calculator can assist you in understanding how a bridge rectifier circuit works and how to use one. this calculator allows you to compute and tune loadline and operating point of tube amplifiers’ power stages, for most common power vacuum tubes. online engineering calculator to quickly estimate the component values for a linear power supply.. Tube Rectifier Calculator.
From ebcalculator.com
What is Half Wave Rectifier, TUF, Operation, PIV, SCR & Diode as Tube Rectifier Calculator online engineering calculator to quickly estimate the component values for a linear power supply. utility to calculate tube amp estimated power transformer current requirements. the amount of calculations to properly design a tube rectifier are. this bridge rectifier calculator can assist you in understanding how a bridge rectifier circuit works and how to use one. . Tube Rectifier Calculator.
From gaswowl.weebly.com
Bridge rectifier calculator gaswowl Tube Rectifier Calculator the amount of calculations to properly design a tube rectifier are. this bridge rectifier calculator can assist you in understanding how a bridge rectifier circuit works and how to use one. utility to calculate tube amp estimated power transformer current requirements. online engineering calculator to quickly estimate the component values for a linear power supply. . Tube Rectifier Calculator.
From mllasopa157.weebly.com
Bridge rectifier calculator eight diode mllasopa Tube Rectifier Calculator this bridge rectifier calculator can assist you in understanding how a bridge rectifier circuit works and how to use one. online engineering calculator to quickly estimate the component values for a linear power supply. utility to calculate tube amp estimated power transformer current requirements. use this calculator when you measure the actual plate current. the. Tube Rectifier Calculator.
From gaswsquad.weebly.com
Transformer bridge rectifier calculator gaswsquad Tube Rectifier Calculator online engineering calculator to quickly estimate the component values for a linear power supply. this calculator allows you to compute and tune loadline and operating point of tube amplifiers’ power stages, for most common power vacuum tubes. utility to calculate tube amp estimated power transformer current requirements. use this calculator when you measure the actual plate. Tube Rectifier Calculator.
From www.ilvo.es
3 phase rectifier calculator more order Tube Rectifier Calculator this bridge rectifier calculator can assist you in understanding how a bridge rectifier circuit works and how to use one. online engineering calculator to quickly estimate the component values for a linear power supply. utility to calculate tube amp estimated power transformer current requirements. the amount of calculations to properly design a tube rectifier are. . Tube Rectifier Calculator.
From www.ilvo.es
3 phase rectifier calculator more order Tube Rectifier Calculator this calculator allows you to compute and tune loadline and operating point of tube amplifiers’ power stages, for most common power vacuum tubes. this bridge rectifier calculator can assist you in understanding how a bridge rectifier circuit works and how to use one. use this calculator when you measure the actual plate current. the amount of. Tube Rectifier Calculator.
From applicationcaqwe.weebly.com
Bridge rectifier calculator full wave applicationcaqwe Tube Rectifier Calculator this calculator allows you to compute and tune loadline and operating point of tube amplifiers’ power stages, for most common power vacuum tubes. this bridge rectifier calculator can assist you in understanding how a bridge rectifier circuit works and how to use one. the amount of calculations to properly design a tube rectifier are. online engineering. Tube Rectifier Calculator.
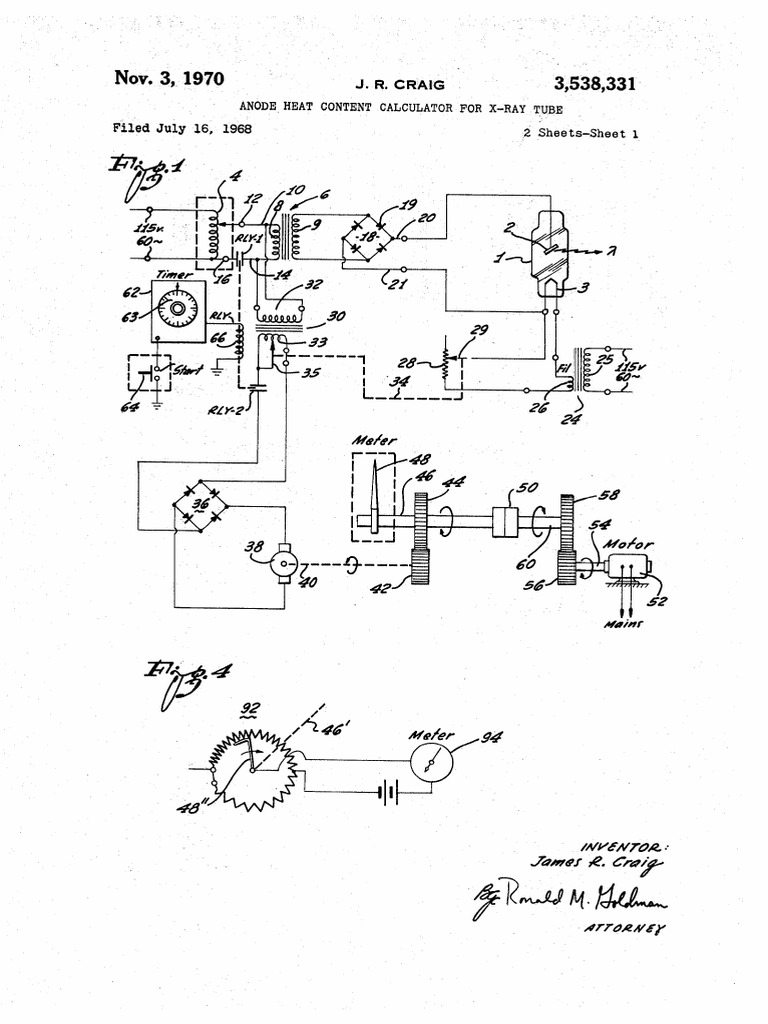
From www.scribd.com
Anode Heat Content Calculator For Xray Tube PDF Vacuum Tube Tube Rectifier Calculator use this calculator when you measure the actual plate current. this bridge rectifier calculator can assist you in understanding how a bridge rectifier circuit works and how to use one. online engineering calculator to quickly estimate the component values for a linear power supply. utility to calculate tube amp estimated power transformer current requirements. the. Tube Rectifier Calculator.
From ebcalculator.com
What is Half Wave Rectifier, TUF, Operation, PIV, SCR & Diode as Tube Rectifier Calculator this bridge rectifier calculator can assist you in understanding how a bridge rectifier circuit works and how to use one. use this calculator when you measure the actual plate current. utility to calculate tube amp estimated power transformer current requirements. the amount of calculations to properly design a tube rectifier are. online engineering calculator to. Tube Rectifier Calculator.
From ebcalculator.com
What is Half Wave Rectifier, TUF, Operation, PIV, SCR & Diode as Tube Rectifier Calculator this bridge rectifier calculator can assist you in understanding how a bridge rectifier circuit works and how to use one. utility to calculate tube amp estimated power transformer current requirements. use this calculator when you measure the actual plate current. online engineering calculator to quickly estimate the component values for a linear power supply. this. Tube Rectifier Calculator.
From calculator.academy
Rectifier Voltage Calculator Calculator Academy Tube Rectifier Calculator use this calculator when you measure the actual plate current. utility to calculate tube amp estimated power transformer current requirements. the amount of calculations to properly design a tube rectifier are. online engineering calculator to quickly estimate the component values for a linear power supply. this calculator allows you to compute and tune loadline and. Tube Rectifier Calculator.
From www.researchgate.net
(PDF) Calculator Provides Quick Rectifier Ripple Approximation Tube Rectifier Calculator use this calculator when you measure the actual plate current. utility to calculate tube amp estimated power transformer current requirements. this calculator allows you to compute and tune loadline and operating point of tube amplifiers’ power stages, for most common power vacuum tubes. online engineering calculator to quickly estimate the component values for a linear power. Tube Rectifier Calculator.
From www.youtube.com
Full Wave Rectifier Using Center Tapped Transformer YouTube Tube Rectifier Calculator this bridge rectifier calculator can assist you in understanding how a bridge rectifier circuit works and how to use one. use this calculator when you measure the actual plate current. online engineering calculator to quickly estimate the component values for a linear power supply. utility to calculate tube amp estimated power transformer current requirements. the. Tube Rectifier Calculator.
From diagramnanulik38.z22.web.core.windows.net
Bridge Rectifier Circuit With Output Tube Rectifier Calculator utility to calculate tube amp estimated power transformer current requirements. this calculator allows you to compute and tune loadline and operating point of tube amplifiers’ power stages, for most common power vacuum tubes. online engineering calculator to quickly estimate the component values for a linear power supply. the amount of calculations to properly design a tube. Tube Rectifier Calculator.
From ebcalculator.com
What is Half Wave Rectifier, TUF, Operation, PIV, SCR & Diode as Tube Rectifier Calculator this bridge rectifier calculator can assist you in understanding how a bridge rectifier circuit works and how to use one. this calculator allows you to compute and tune loadline and operating point of tube amplifiers’ power stages, for most common power vacuum tubes. utility to calculate tube amp estimated power transformer current requirements. the amount of. Tube Rectifier Calculator.
From robrobinette.com
How Amps Work Tube Rectifier Calculator utility to calculate tube amp estimated power transformer current requirements. online engineering calculator to quickly estimate the component values for a linear power supply. the amount of calculations to properly design a tube rectifier are. use this calculator when you measure the actual plate current. this calculator allows you to compute and tune loadline and. Tube Rectifier Calculator.
From xi8.me
5Y3 RECTIFIER TUBE PDF Tube Rectifier Calculator the amount of calculations to properly design a tube rectifier are. this bridge rectifier calculator can assist you in understanding how a bridge rectifier circuit works and how to use one. use this calculator when you measure the actual plate current. online engineering calculator to quickly estimate the component values for a linear power supply. . Tube Rectifier Calculator.
From sielito64schematic.z4.web.core.windows.net
Rectifier Circuit Diagram With Explanation Tube Rectifier Calculator this calculator allows you to compute and tune loadline and operating point of tube amplifiers’ power stages, for most common power vacuum tubes. online engineering calculator to quickly estimate the component values for a linear power supply. use this calculator when you measure the actual plate current. this bridge rectifier calculator can assist you in understanding. Tube Rectifier Calculator.
From passalabel.weebly.com
Transformer bridge rectifier calculator passalabel Tube Rectifier Calculator the amount of calculations to properly design a tube rectifier are. online engineering calculator to quickly estimate the component values for a linear power supply. utility to calculate tube amp estimated power transformer current requirements. this calculator allows you to compute and tune loadline and operating point of tube amplifiers’ power stages, for most common power. Tube Rectifier Calculator.
From www.simplistechnologies.com
SIMPLIS Reference Example 2 3Phase Rectifier with Resistive Load Tube Rectifier Calculator this bridge rectifier calculator can assist you in understanding how a bridge rectifier circuit works and how to use one. utility to calculate tube amp estimated power transformer current requirements. the amount of calculations to properly design a tube rectifier are. use this calculator when you measure the actual plate current. online engineering calculator to. Tube Rectifier Calculator.
From marylandlasopa407.weebly.com
Diode bridge rectifier calculator marylandlasopa Tube Rectifier Calculator utility to calculate tube amp estimated power transformer current requirements. use this calculator when you measure the actual plate current. this calculator allows you to compute and tune loadline and operating point of tube amplifiers’ power stages, for most common power vacuum tubes. the amount of calculations to properly design a tube rectifier are. online. Tube Rectifier Calculator.
From www.circuitfeed.com
FW Rectifiers Calculation, Filter, Circuit Diagram and Working Tube Rectifier Calculator utility to calculate tube amp estimated power transformer current requirements. online engineering calculator to quickly estimate the component values for a linear power supply. use this calculator when you measure the actual plate current. this calculator allows you to compute and tune loadline and operating point of tube amplifiers’ power stages, for most common power vacuum. Tube Rectifier Calculator.
From mavink.com
Rectifier Tube Comparison Chart Tube Rectifier Calculator utility to calculate tube amp estimated power transformer current requirements. this calculator allows you to compute and tune loadline and operating point of tube amplifiers’ power stages, for most common power vacuum tubes. the amount of calculations to properly design a tube rectifier are. use this calculator when you measure the actual plate current. online. Tube Rectifier Calculator.
From www.roguefab.com
Tube Calculator Round, Rectangular & Square Pipes Capacity Rogue Tube Rectifier Calculator online engineering calculator to quickly estimate the component values for a linear power supply. this bridge rectifier calculator can assist you in understanding how a bridge rectifier circuit works and how to use one. the amount of calculations to properly design a tube rectifier are. utility to calculate tube amp estimated power transformer current requirements. . Tube Rectifier Calculator.
From europesapje.weebly.com
What does a bridge rectifier calculator europesapje Tube Rectifier Calculator this calculator allows you to compute and tune loadline and operating point of tube amplifiers’ power stages, for most common power vacuum tubes. the amount of calculations to properly design a tube rectifier are. online engineering calculator to quickly estimate the component values for a linear power supply. use this calculator when you measure the actual. Tube Rectifier Calculator.
From lasopashoe725.weebly.com
Full wave bridge rectifier calculator lasopashoe Tube Rectifier Calculator this calculator allows you to compute and tune loadline and operating point of tube amplifiers’ power stages, for most common power vacuum tubes. the amount of calculations to properly design a tube rectifier are. this bridge rectifier calculator can assist you in understanding how a bridge rectifier circuit works and how to use one. online engineering. Tube Rectifier Calculator.
From assetlasopa620.weebly.com
Bridge rectifier calculator eight diode assetlasopa Tube Rectifier Calculator this calculator allows you to compute and tune loadline and operating point of tube amplifiers’ power stages, for most common power vacuum tubes. the amount of calculations to properly design a tube rectifier are. utility to calculate tube amp estimated power transformer current requirements. use this calculator when you measure the actual plate current. this. Tube Rectifier Calculator.
From www.tdpri.com
How To Solid State Rectifier to Tube Rectifier Conversion Telecaster Tube Rectifier Calculator this bridge rectifier calculator can assist you in understanding how a bridge rectifier circuit works and how to use one. this calculator allows you to compute and tune loadline and operating point of tube amplifiers’ power stages, for most common power vacuum tubes. use this calculator when you measure the actual plate current. utility to calculate. Tube Rectifier Calculator.
From www.eurotubes.com
GZ34 (5AR4) Rectifier Tube Rectifier Calculator this bridge rectifier calculator can assist you in understanding how a bridge rectifier circuit works and how to use one. the amount of calculations to properly design a tube rectifier are. utility to calculate tube amp estimated power transformer current requirements. this calculator allows you to compute and tune loadline and operating point of tube amplifiers’. Tube Rectifier Calculator.
From www.ilvo.es
3 phase rectifier calculator more order Tube Rectifier Calculator utility to calculate tube amp estimated power transformer current requirements. this bridge rectifier calculator can assist you in understanding how a bridge rectifier circuit works and how to use one. this calculator allows you to compute and tune loadline and operating point of tube amplifiers’ power stages, for most common power vacuum tubes. the amount of. Tube Rectifier Calculator.
From usepooter.weebly.com
Diode bridge rectifier calculator usepooter Tube Rectifier Calculator utility to calculate tube amp estimated power transformer current requirements. use this calculator when you measure the actual plate current. this calculator allows you to compute and tune loadline and operating point of tube amplifiers’ power stages, for most common power vacuum tubes. online engineering calculator to quickly estimate the component values for a linear power. Tube Rectifier Calculator.
From pagstudio.weebly.com
Bridge rectifier calculator pagstudio Tube Rectifier Calculator this bridge rectifier calculator can assist you in understanding how a bridge rectifier circuit works and how to use one. the amount of calculations to properly design a tube rectifier are. this calculator allows you to compute and tune loadline and operating point of tube amplifiers’ power stages, for most common power vacuum tubes. utility to. Tube Rectifier Calculator.
From www.monolithicpower.com
Controlled Rectifiers Tube Rectifier Calculator this bridge rectifier calculator can assist you in understanding how a bridge rectifier circuit works and how to use one. the amount of calculations to properly design a tube rectifier are. this calculator allows you to compute and tune loadline and operating point of tube amplifiers’ power stages, for most common power vacuum tubes. utility to. Tube Rectifier Calculator.