Arc Welding Non Consumable Electrode . Arc welding is a type of welding process using an electric arc to create heat to melt and join metals. Arc welding, including gas shielded arc welding, is broadly divided into two types: While in other processes, the electrode remains unaffected. In some arc welding processes, the electrode is consumed during welding to supply necessary filler;
from weldingtroop.com
Arc welding is a type of welding process using an electric arc to create heat to melt and join metals. In some arc welding processes, the electrode is consumed during welding to supply necessary filler; Arc welding, including gas shielded arc welding, is broadly divided into two types: While in other processes, the electrode remains unaffected.
Arc Welding vs. Spot Welding What’s the Difference?
Arc Welding Non Consumable Electrode Arc welding, including gas shielded arc welding, is broadly divided into two types: Arc welding, including gas shielded arc welding, is broadly divided into two types: While in other processes, the electrode remains unaffected. In some arc welding processes, the electrode is consumed during welding to supply necessary filler; Arc welding is a type of welding process using an electric arc to create heat to melt and join metals.
From marvelvietnam.com
Arc Welding Explained What Is It & How Does It Work? Weld Guru Arc Welding Non Consumable Electrode While in other processes, the electrode remains unaffected. In some arc welding processes, the electrode is consumed during welding to supply necessary filler; Arc welding, including gas shielded arc welding, is broadly divided into two types: Arc welding is a type of welding process using an electric arc to create heat to melt and join metals. Arc Welding Non Consumable Electrode.
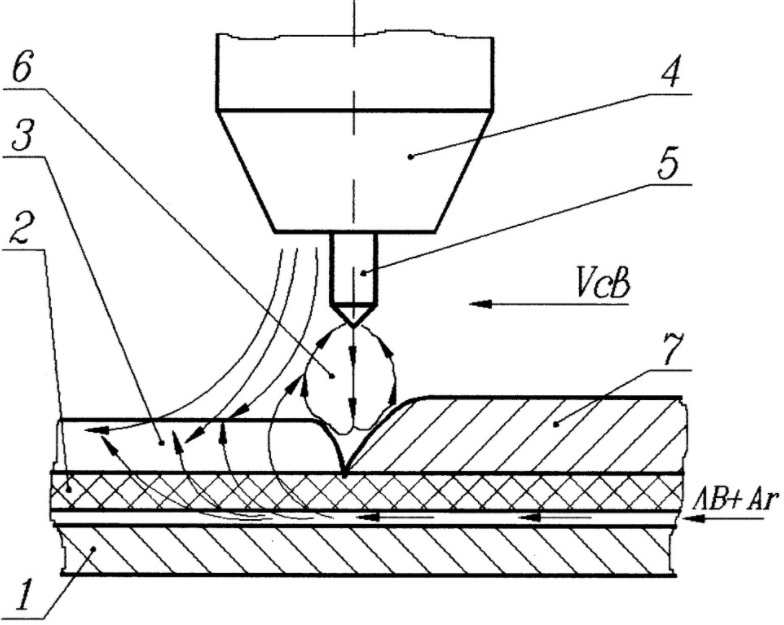
From okayenergy.en.made-in-china.com
NonConsumable Electrode Plasma Transferred Arc (PTA) Welding Machine Arc Welding Non Consumable Electrode Arc welding is a type of welding process using an electric arc to create heat to melt and join metals. While in other processes, the electrode remains unaffected. Arc welding, including gas shielded arc welding, is broadly divided into two types: In some arc welding processes, the electrode is consumed during welding to supply necessary filler; Arc Welding Non Consumable Electrode.
From www.youtube.com
ELECTRIC ARC WELDING ( UNDERSTAND EASILY ) हिन्दी ! LEARN AND GROW Arc Welding Non Consumable Electrode While in other processes, the electrode remains unaffected. Arc welding is a type of welding process using an electric arc to create heat to melt and join metals. In some arc welding processes, the electrode is consumed during welding to supply necessary filler; Arc welding, including gas shielded arc welding, is broadly divided into two types: Arc Welding Non Consumable Electrode.
From www.theweldingmaster.com
Types of Welding Electrodes Complete Guide Arc Welding Non Consumable Electrode In some arc welding processes, the electrode is consumed during welding to supply necessary filler; While in other processes, the electrode remains unaffected. Arc welding, including gas shielded arc welding, is broadly divided into two types: Arc welding is a type of welding process using an electric arc to create heat to melt and join metals. Arc Welding Non Consumable Electrode.
From www.dreamstime.com
Thermal Return of a Welded Seam Made of Steel after Argonarc Welding Arc Welding Non Consumable Electrode While in other processes, the electrode remains unaffected. Arc welding is a type of welding process using an electric arc to create heat to melt and join metals. In some arc welding processes, the electrode is consumed during welding to supply necessary filler; Arc welding, including gas shielded arc welding, is broadly divided into two types: Arc Welding Non Consumable Electrode.
From www.google.co.in
Patent US3538301 Gas shield,nonconsumableelectrode pulse arc Arc Welding Non Consumable Electrode While in other processes, the electrode remains unaffected. In some arc welding processes, the electrode is consumed during welding to supply necessary filler; Arc welding, including gas shielded arc welding, is broadly divided into two types: Arc welding is a type of welding process using an electric arc to create heat to melt and join metals. Arc Welding Non Consumable Electrode.
From www.alittlebitofall.com.au
Welding 101 Everything You Need to Know about Electrodes Arc Welding Non Consumable Electrode While in other processes, the electrode remains unaffected. Arc welding, including gas shielded arc welding, is broadly divided into two types: In some arc welding processes, the electrode is consumed during welding to supply necessary filler; Arc welding is a type of welding process using an electric arc to create heat to melt and join metals. Arc Welding Non Consumable Electrode.
From blog.thepipingmart.com
How Does Metal Arc Welding Work And What Are Its Types? Arc Welding Non Consumable Electrode While in other processes, the electrode remains unaffected. Arc welding is a type of welding process using an electric arc to create heat to melt and join metals. Arc welding, including gas shielded arc welding, is broadly divided into two types: In some arc welding processes, the electrode is consumed during welding to supply necessary filler; Arc Welding Non Consumable Electrode.
From www.slideserve.com
PPT Arc welding PowerPoint Presentation, free download ID1710363 Arc Welding Non Consumable Electrode Arc welding, including gas shielded arc welding, is broadly divided into two types: While in other processes, the electrode remains unaffected. In some arc welding processes, the electrode is consumed during welding to supply necessary filler; Arc welding is a type of welding process using an electric arc to create heat to melt and join metals. Arc Welding Non Consumable Electrode.
From www.slideserve.com
PPT Joining Processes WELDING PowerPoint Presentation, free download Arc Welding Non Consumable Electrode Arc welding, including gas shielded arc welding, is broadly divided into two types: Arc welding is a type of welding process using an electric arc to create heat to melt and join metals. While in other processes, the electrode remains unaffected. In some arc welding processes, the electrode is consumed during welding to supply necessary filler; Arc Welding Non Consumable Electrode.
From www.difference.minaprem.com
Difference Between Arc Welding Electrode and EDM Electrode Arc Welding Non Consumable Electrode Arc welding is a type of welding process using an electric arc to create heat to melt and join metals. While in other processes, the electrode remains unaffected. In some arc welding processes, the electrode is consumed during welding to supply necessary filler; Arc welding, including gas shielded arc welding, is broadly divided into two types: Arc Welding Non Consumable Electrode.
From zerohourparts.com
What is Arc Welding? Zero Hour Parts Arc Welding Non Consumable Electrode Arc welding, including gas shielded arc welding, is broadly divided into two types: In some arc welding processes, the electrode is consumed during welding to supply necessary filler; Arc welding is a type of welding process using an electric arc to create heat to melt and join metals. While in other processes, the electrode remains unaffected. Arc Welding Non Consumable Electrode.
From weldingtroop.com
Arc Welding vs. Spot Welding What’s the Difference? Arc Welding Non Consumable Electrode In some arc welding processes, the electrode is consumed during welding to supply necessary filler; While in other processes, the electrode remains unaffected. Arc welding is a type of welding process using an electric arc to create heat to melt and join metals. Arc welding, including gas shielded arc welding, is broadly divided into two types: Arc Welding Non Consumable Electrode.
From www.researchgate.net
(PDF) GASDYNAMIC EFFECT OF THE ARC ON THE METAL OF THE WELD POOL Arc Welding Non Consumable Electrode Arc welding, including gas shielded arc welding, is broadly divided into two types: In some arc welding processes, the electrode is consumed during welding to supply necessary filler; While in other processes, the electrode remains unaffected. Arc welding is a type of welding process using an electric arc to create heat to melt and join metals. Arc Welding Non Consumable Electrode.
From weldguru.com
Arc Welding Explained What Is It & How Does It Work? Weld Guru Arc Welding Non Consumable Electrode In some arc welding processes, the electrode is consumed during welding to supply necessary filler; Arc welding, including gas shielded arc welding, is broadly divided into two types: While in other processes, the electrode remains unaffected. Arc welding is a type of welding process using an electric arc to create heat to melt and join metals. Arc Welding Non Consumable Electrode.
From www.slideserve.com
PPT WELDING PROCESSES PowerPoint Presentation, free download ID4492187 Arc Welding Non Consumable Electrode In some arc welding processes, the electrode is consumed during welding to supply necessary filler; Arc welding is a type of welding process using an electric arc to create heat to melt and join metals. Arc welding, including gas shielded arc welding, is broadly divided into two types: While in other processes, the electrode remains unaffected. Arc Welding Non Consumable Electrode.
From kindle-tech.com
What Is The Difference Between Consumable And NonConsumable Electrodes Arc Welding Non Consumable Electrode In some arc welding processes, the electrode is consumed during welding to supply necessary filler; While in other processes, the electrode remains unaffected. Arc welding is a type of welding process using an electric arc to create heat to melt and join metals. Arc welding, including gas shielded arc welding, is broadly divided into two types: Arc Welding Non Consumable Electrode.
From www.slideserve.com
PPT Arc welding PowerPoint Presentation, free download ID1710363 Arc Welding Non Consumable Electrode Arc welding is a type of welding process using an electric arc to create heat to melt and join metals. Arc welding, including gas shielded arc welding, is broadly divided into two types: While in other processes, the electrode remains unaffected. In some arc welding processes, the electrode is consumed during welding to supply necessary filler; Arc Welding Non Consumable Electrode.
From stock.adobe.com
Welding of 2" stainless steel pipe using Tungsten inert gas (TIG Arc Welding Non Consumable Electrode Arc welding is a type of welding process using an electric arc to create heat to melt and join metals. While in other processes, the electrode remains unaffected. Arc welding, including gas shielded arc welding, is broadly divided into two types: In some arc welding processes, the electrode is consumed during welding to supply necessary filler; Arc Welding Non Consumable Electrode.
From www.slideserve.com
PPT Joining Processes WELDING PowerPoint Presentation, free download Arc Welding Non Consumable Electrode Arc welding, including gas shielded arc welding, is broadly divided into two types: While in other processes, the electrode remains unaffected. Arc welding is a type of welding process using an electric arc to create heat to melt and join metals. In some arc welding processes, the electrode is consumed during welding to supply necessary filler; Arc Welding Non Consumable Electrode.
From okayenergy.en.made-in-china.com
NonConsumable Electrode Plasma Transferred Arc (PTA) Welding Machine Arc Welding Non Consumable Electrode In some arc welding processes, the electrode is consumed during welding to supply necessary filler; Arc welding, including gas shielded arc welding, is broadly divided into two types: Arc welding is a type of welding process using an electric arc to create heat to melt and join metals. While in other processes, the electrode remains unaffected. Arc Welding Non Consumable Electrode.
From tristatefabricators.com
PLASMA ARC WELDING DEFINITION, WORKING, EQUIPMENT, APPLICATIONS Arc Welding Non Consumable Electrode While in other processes, the electrode remains unaffected. Arc welding is a type of welding process using an electric arc to create heat to melt and join metals. Arc welding, including gas shielded arc welding, is broadly divided into two types: In some arc welding processes, the electrode is consumed during welding to supply necessary filler; Arc Welding Non Consumable Electrode.
From www.youtube.com
Differences between Consumable and NonConsumable Electrode. YouTube Arc Welding Non Consumable Electrode Arc welding is a type of welding process using an electric arc to create heat to melt and join metals. Arc welding, including gas shielded arc welding, is broadly divided into two types: In some arc welding processes, the electrode is consumed during welding to supply necessary filler; While in other processes, the electrode remains unaffected. Arc Welding Non Consumable Electrode.
From www.slideserve.com
PPT Joining and Cutting Processes PowerPoint Presentation, free Arc Welding Non Consumable Electrode Arc welding, including gas shielded arc welding, is broadly divided into two types: While in other processes, the electrode remains unaffected. Arc welding is a type of welding process using an electric arc to create heat to melt and join metals. In some arc welding processes, the electrode is consumed during welding to supply necessary filler; Arc Welding Non Consumable Electrode.
From weldingzilla.com
Types of Welding Rods and Their Applications Arc Welding Non Consumable Electrode While in other processes, the electrode remains unaffected. Arc welding, including gas shielded arc welding, is broadly divided into two types: Arc welding is a type of welding process using an electric arc to create heat to melt and join metals. In some arc welding processes, the electrode is consumed during welding to supply necessary filler; Arc Welding Non Consumable Electrode.
From workshopinsider.com
What is TIG Welding or Gas Tungsten Arc Welding (GTAW)? Arc Welding Non Consumable Electrode In some arc welding processes, the electrode is consumed during welding to supply necessary filler; While in other processes, the electrode remains unaffected. Arc welding, including gas shielded arc welding, is broadly divided into two types: Arc welding is a type of welding process using an electric arc to create heat to melt and join metals. Arc Welding Non Consumable Electrode.
From www.youtube.com
Carbon Electrode Arc Welding (Non Consumable Electrode Welding) हिन्दी Arc Welding Non Consumable Electrode In some arc welding processes, the electrode is consumed during welding to supply necessary filler; While in other processes, the electrode remains unaffected. Arc welding, including gas shielded arc welding, is broadly divided into two types: Arc welding is a type of welding process using an electric arc to create heat to melt and join metals. Arc Welding Non Consumable Electrode.
From www.difference.minaprem.com
Difference Between Carbon Electrode and Tungsten Electrode for Arc Welding Arc Welding Non Consumable Electrode Arc welding, including gas shielded arc welding, is broadly divided into two types: Arc welding is a type of welding process using an electric arc to create heat to melt and join metals. In some arc welding processes, the electrode is consumed during welding to supply necessary filler; While in other processes, the electrode remains unaffected. Arc Welding Non Consumable Electrode.
From www.youtube.com
Carbon Electrode Arc Welding Process with Non Consumable Carbon Arc Welding Non Consumable Electrode Arc welding is a type of welding process using an electric arc to create heat to melt and join metals. While in other processes, the electrode remains unaffected. Arc welding, including gas shielded arc welding, is broadly divided into two types: In some arc welding processes, the electrode is consumed during welding to supply necessary filler; Arc Welding Non Consumable Electrode.
From mungfali.com
Types Of Welding Electrodes Arc Welding Non Consumable Electrode In some arc welding processes, the electrode is consumed during welding to supply necessary filler; Arc welding is a type of welding process using an electric arc to create heat to melt and join metals. While in other processes, the electrode remains unaffected. Arc welding, including gas shielded arc welding, is broadly divided into two types: Arc Welding Non Consumable Electrode.
From www.youtube.com
Differences between Consumable and Non Consumable Electrode in welding Arc Welding Non Consumable Electrode Arc welding is a type of welding process using an electric arc to create heat to melt and join metals. While in other processes, the electrode remains unaffected. In some arc welding processes, the electrode is consumed during welding to supply necessary filler; Arc welding, including gas shielded arc welding, is broadly divided into two types: Arc Welding Non Consumable Electrode.
From www.mechanicalbooster.com
What is Arc Welding Definition, Types, Working, Advantages and Arc Welding Non Consumable Electrode In some arc welding processes, the electrode is consumed during welding to supply necessary filler; Arc welding is a type of welding process using an electric arc to create heat to melt and join metals. Arc welding, including gas shielded arc welding, is broadly divided into two types: While in other processes, the electrode remains unaffected. Arc Welding Non Consumable Electrode.
From www.open.edu
Gas shielded arc welding processes (TIG/MIG/MAG) OpenLearn Open Arc Welding Non Consumable Electrode Arc welding, including gas shielded arc welding, is broadly divided into two types: Arc welding is a type of welding process using an electric arc to create heat to melt and join metals. While in other processes, the electrode remains unaffected. In some arc welding processes, the electrode is consumed during welding to supply necessary filler; Arc Welding Non Consumable Electrode.
From weldguru.com
Arc Welding Explained What Is It & How Does It Work? Weld Guru Arc Welding Non Consumable Electrode Arc welding is a type of welding process using an electric arc to create heat to melt and join metals. Arc welding, including gas shielded arc welding, is broadly divided into two types: In some arc welding processes, the electrode is consumed during welding to supply necessary filler; While in other processes, the electrode remains unaffected. Arc Welding Non Consumable Electrode.
From dokumen.tips
(PDF) NonConsumable Electrode Pimpri Chinchwad … Welding Processes Arc Welding Non Consumable Electrode In some arc welding processes, the electrode is consumed during welding to supply necessary filler; While in other processes, the electrode remains unaffected. Arc welding is a type of welding process using an electric arc to create heat to melt and join metals. Arc welding, including gas shielded arc welding, is broadly divided into two types: Arc Welding Non Consumable Electrode.