Replaced Water Pump Now Belt Squeaks . I ended up having to replace it twice due. I just changed the water pump and belt on my 96 and now there is a screeching when it is first started. Steady tone noise is more common such as groans or squeals. A couple of years ago, i chased a squeaky belt problem after a water pump and belt tensioner change. Doesn't happen all the time. The reason i say belt/waterpump is because ive. Recently i replaced my water pump due to a leak. If you did not have squealing before you installed the water pump, then the problem is almost certainly belt tension. Water pump noise is not common but does happen. Noise of that type is due to a failed or failing bearing in one of the pulleys or accessories (e.g., alternator, water pump, a/c. I replaced it with the cheap duralast version. The reasons behind serpentine belt squealing after replacement are diverse ranging from improper tension, to wear and tear,. Ive had an issue with an annoying squeal coming from the belt/waterpump area. I first tried cleaning all of the.
from www.youtube.com
I first tried cleaning all of the. I replaced it with the cheap duralast version. Recently i replaced my water pump due to a leak. If you did not have squealing before you installed the water pump, then the problem is almost certainly belt tension. I just changed the water pump and belt on my 96 and now there is a screeching when it is first started. A couple of years ago, i chased a squeaky belt problem after a water pump and belt tensioner change. Steady tone noise is more common such as groans or squeals. Water pump noise is not common but does happen. I ended up having to replace it twice due. Ive had an issue with an annoying squeal coming from the belt/waterpump area.
HOW TO FIX SQUEAKY BELT PULLEY Engine Noise Squeak YouTube
Replaced Water Pump Now Belt Squeaks I ended up having to replace it twice due. If you did not have squealing before you installed the water pump, then the problem is almost certainly belt tension. I replaced it with the cheap duralast version. I ended up having to replace it twice due. I first tried cleaning all of the. Water pump noise is not common but does happen. The reasons behind serpentine belt squealing after replacement are diverse ranging from improper tension, to wear and tear,. A couple of years ago, i chased a squeaky belt problem after a water pump and belt tensioner change. Recently i replaced my water pump due to a leak. The reason i say belt/waterpump is because ive. Doesn't happen all the time. Ive had an issue with an annoying squeal coming from the belt/waterpump area. I just changed the water pump and belt on my 96 and now there is a screeching when it is first started. Steady tone noise is more common such as groans or squeals. Noise of that type is due to a failed or failing bearing in one of the pulleys or accessories (e.g., alternator, water pump, a/c.
From www.youtube.com
How to Replace a Timing Belt and Water Pump (300ZX Z31) YouTube Replaced Water Pump Now Belt Squeaks I ended up having to replace it twice due. I replaced it with the cheap duralast version. Steady tone noise is more common such as groans or squeals. Water pump noise is not common but does happen. I just changed the water pump and belt on my 96 and now there is a screeching when it is first started. Recently. Replaced Water Pump Now Belt Squeaks.
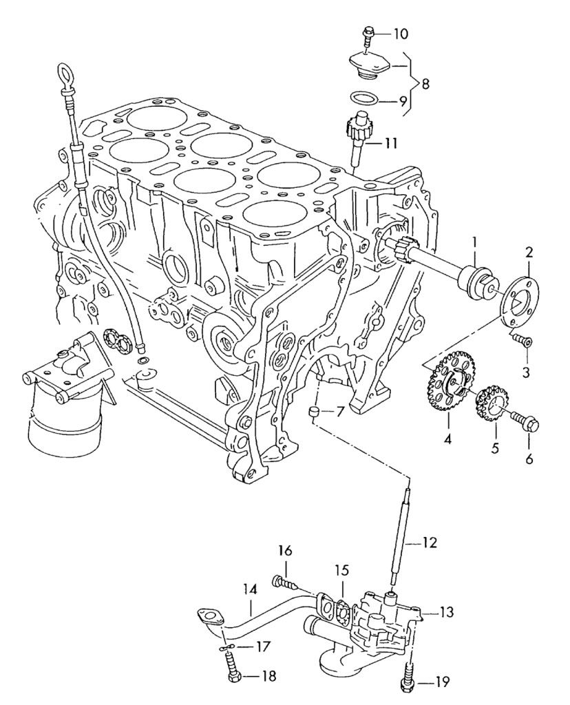
From www.volkswagenforum.co.uk
replaced water pump now major oil leak UK Volkswagen Forum Replaced Water Pump Now Belt Squeaks Water pump noise is not common but does happen. The reason i say belt/waterpump is because ive. I just changed the water pump and belt on my 96 and now there is a screeching when it is first started. I first tried cleaning all of the. Noise of that type is due to a failed or failing bearing in one. Replaced Water Pump Now Belt Squeaks.
From www.taurusclub.com
Squealing Accessory/serpentine Belt Page 3 Taurus Car Club of Replaced Water Pump Now Belt Squeaks Steady tone noise is more common such as groans or squeals. Noise of that type is due to a failed or failing bearing in one of the pulleys or accessories (e.g., alternator, water pump, a/c. Recently i replaced my water pump due to a leak. I replaced it with the cheap duralast version. The reasons behind serpentine belt squealing after. Replaced Water Pump Now Belt Squeaks.
From www.yourmechanic.com
How to Replace a Water Pump Belt YourMechanic Advice Replaced Water Pump Now Belt Squeaks Doesn't happen all the time. Noise of that type is due to a failed or failing bearing in one of the pulleys or accessories (e.g., alternator, water pump, a/c. The reason i say belt/waterpump is because ive. I first tried cleaning all of the. Water pump noise is not common but does happen. Recently i replaced my water pump due. Replaced Water Pump Now Belt Squeaks.
From www.youtube.com
HOW TO REPLACED WATER PUMP HOLDEN COMMODORE YouTube Replaced Water Pump Now Belt Squeaks Recently i replaced my water pump due to a leak. I first tried cleaning all of the. The reasons behind serpentine belt squealing after replacement are diverse ranging from improper tension, to wear and tear,. Doesn't happen all the time. I just changed the water pump and belt on my 96 and now there is a screeching when it is. Replaced Water Pump Now Belt Squeaks.
From repairfixbrandy77.z19.web.core.windows.net
How To Replace Water Pump On 2017 Ford Escape Replaced Water Pump Now Belt Squeaks I replaced it with the cheap duralast version. A couple of years ago, i chased a squeaky belt problem after a water pump and belt tensioner change. Steady tone noise is more common such as groans or squeals. Doesn't happen all the time. I just changed the water pump and belt on my 96 and now there is a screeching. Replaced Water Pump Now Belt Squeaks.
From www.youtube.com
1.5 DCI Timing belt & water pump replacement K9K YouTube Replaced Water Pump Now Belt Squeaks Recently i replaced my water pump due to a leak. Steady tone noise is more common such as groans or squeals. I ended up having to replace it twice due. Noise of that type is due to a failed or failing bearing in one of the pulleys or accessories (e.g., alternator, water pump, a/c. I first tried cleaning all of. Replaced Water Pump Now Belt Squeaks.
From www.youtube.com
How to Replace Water Pump 20052010 Chrysler 300 YouTube Replaced Water Pump Now Belt Squeaks Water pump noise is not common but does happen. I first tried cleaning all of the. Recently i replaced my water pump due to a leak. I just changed the water pump and belt on my 96 and now there is a screeching when it is first started. I ended up having to replace it twice due. Doesn't happen all. Replaced Water Pump Now Belt Squeaks.
From storables.com
When To Replace Water Pump And Timing Belt Storables Replaced Water Pump Now Belt Squeaks A couple of years ago, i chased a squeaky belt problem after a water pump and belt tensioner change. I ended up having to replace it twice due. Recently i replaced my water pump due to a leak. Ive had an issue with an annoying squeal coming from the belt/waterpump area. The reason i say belt/waterpump is because ive. Noise. Replaced Water Pump Now Belt Squeaks.
From www.rangerovers.net
Replaced Water Pump, now NO heat Range Rovers Forum Replaced Water Pump Now Belt Squeaks I ended up having to replace it twice due. I just changed the water pump and belt on my 96 and now there is a screeching when it is first started. If you did not have squealing before you installed the water pump, then the problem is almost certainly belt tension. I first tried cleaning all of the. The reason. Replaced Water Pump Now Belt Squeaks.
From www.youtube.com
How to Replace Timing Belt with Water Pump 0512 Honda Pilot YouTube Replaced Water Pump Now Belt Squeaks The reason i say belt/waterpump is because ive. Steady tone noise is more common such as groans or squeals. Noise of that type is due to a failed or failing bearing in one of the pulleys or accessories (e.g., alternator, water pump, a/c. I ended up having to replace it twice due. Ive had an issue with an annoying squeal. Replaced Water Pump Now Belt Squeaks.
From www.youtube.com
How to Replace a Water Pump and Timing Belt in Your Car YouTube Replaced Water Pump Now Belt Squeaks Doesn't happen all the time. Noise of that type is due to a failed or failing bearing in one of the pulleys or accessories (e.g., alternator, water pump, a/c. Ive had an issue with an annoying squeal coming from the belt/waterpump area. If you did not have squealing before you installed the water pump, then the problem is almost certainly. Replaced Water Pump Now Belt Squeaks.
From garagefixarmugantask.z13.web.core.windows.net
Replace Water Pump On 2008 Ford Escape Replaced Water Pump Now Belt Squeaks Water pump noise is not common but does happen. Doesn't happen all the time. The reasons behind serpentine belt squealing after replacement are diverse ranging from improper tension, to wear and tear,. I just changed the water pump and belt on my 96 and now there is a screeching when it is first started. Steady tone noise is more common. Replaced Water Pump Now Belt Squeaks.
From na.daycoaftermarket.com
Why should the water pump be replaced at the same time as the timing Replaced Water Pump Now Belt Squeaks Water pump noise is not common but does happen. I just changed the water pump and belt on my 96 and now there is a screeching when it is first started. The reason i say belt/waterpump is because ive. Ive had an issue with an annoying squeal coming from the belt/waterpump area. A couple of years ago, i chased a. Replaced Water Pump Now Belt Squeaks.
From www.youtube.com
How To STOP ALTERNATOR BELT Squeaking & Chirping Noise FOREVER!!! YouTube Replaced Water Pump Now Belt Squeaks Steady tone noise is more common such as groans or squeals. A couple of years ago, i chased a squeaky belt problem after a water pump and belt tensioner change. If you did not have squealing before you installed the water pump, then the problem is almost certainly belt tension. Water pump noise is not common but does happen. I. Replaced Water Pump Now Belt Squeaks.
From www.youtube.com
Replaced water pump OM651 YouTube Replaced Water Pump Now Belt Squeaks The reasons behind serpentine belt squealing after replacement are diverse ranging from improper tension, to wear and tear,. I just changed the water pump and belt on my 96 and now there is a screeching when it is first started. Steady tone noise is more common such as groans or squeals. Water pump noise is not common but does happen.. Replaced Water Pump Now Belt Squeaks.
From www.youtube.com
Jeep wrangler 4.0 squeaky belt PERMANENTLY FIXED! YouTube Replaced Water Pump Now Belt Squeaks Doesn't happen all the time. If you did not have squealing before you installed the water pump, then the problem is almost certainly belt tension. I first tried cleaning all of the. Noise of that type is due to a failed or failing bearing in one of the pulleys or accessories (e.g., alternator, water pump, a/c. The reasons behind serpentine. Replaced Water Pump Now Belt Squeaks.
From beltposter.blogspot.com
How To Replace Water Pump Belt On Cadillac Belt Poster Replaced Water Pump Now Belt Squeaks Recently i replaced my water pump due to a leak. Ive had an issue with an annoying squeal coming from the belt/waterpump area. A couple of years ago, i chased a squeaky belt problem after a water pump and belt tensioner change. Steady tone noise is more common such as groans or squeals. I first tried cleaning all of the.. Replaced Water Pump Now Belt Squeaks.
From www.youtube.com
HOW TO REPLACE WATER PUMP ON 20192024 KIA FORTE YouTube Replaced Water Pump Now Belt Squeaks A couple of years ago, i chased a squeaky belt problem after a water pump and belt tensioner change. Doesn't happen all the time. The reason i say belt/waterpump is because ive. Steady tone noise is more common such as groans or squeals. If you did not have squealing before you installed the water pump, then the problem is almost. Replaced Water Pump Now Belt Squeaks.
From www.youtube.com
Lexus IS250 How to Replace Water Pump YouTube Replaced Water Pump Now Belt Squeaks Recently i replaced my water pump due to a leak. Doesn't happen all the time. The reason i say belt/waterpump is because ive. I ended up having to replace it twice due. I first tried cleaning all of the. If you did not have squealing before you installed the water pump, then the problem is almost certainly belt tension. Steady. Replaced Water Pump Now Belt Squeaks.
From storables.com
How Long Does It Take To Replace A Timing Belt And Water Pump Storables Replaced Water Pump Now Belt Squeaks I ended up having to replace it twice due. Doesn't happen all the time. Water pump noise is not common but does happen. A couple of years ago, i chased a squeaky belt problem after a water pump and belt tensioner change. Steady tone noise is more common such as groans or squeals. The reason i say belt/waterpump is because. Replaced Water Pump Now Belt Squeaks.
From www.youtube.com
HOW TO FIX SQUEAKY BELT PULLEY Engine Noise Squeak YouTube Replaced Water Pump Now Belt Squeaks I first tried cleaning all of the. Doesn't happen all the time. Water pump noise is not common but does happen. Recently i replaced my water pump due to a leak. If you did not have squealing before you installed the water pump, then the problem is almost certainly belt tension. I ended up having to replace it twice due.. Replaced Water Pump Now Belt Squeaks.
From www.mgexp.com
Belt Squeak Alternator, Water Pump, Belt? Suggestions on parts Replaced Water Pump Now Belt Squeaks Steady tone noise is more common such as groans or squeals. The reasons behind serpentine belt squealing after replacement are diverse ranging from improper tension, to wear and tear,. If you did not have squealing before you installed the water pump, then the problem is almost certainly belt tension. Water pump noise is not common but does happen. I ended. Replaced Water Pump Now Belt Squeaks.
From www.youtube.com
How to Fix a Squeaky Belt (figure out where the squeak is coming from Replaced Water Pump Now Belt Squeaks I ended up having to replace it twice due. The reasons behind serpentine belt squealing after replacement are diverse ranging from improper tension, to wear and tear,. I first tried cleaning all of the. A couple of years ago, i chased a squeaky belt problem after a water pump and belt tensioner change. Ive had an issue with an annoying. Replaced Water Pump Now Belt Squeaks.
From www.mgexp.com
Belt Squeak Alternator, Water Pump, Belt? Suggestions on parts Replaced Water Pump Now Belt Squeaks The reasons behind serpentine belt squealing after replacement are diverse ranging from improper tension, to wear and tear,. I just changed the water pump and belt on my 96 and now there is a screeching when it is first started. Ive had an issue with an annoying squeal coming from the belt/waterpump area. I ended up having to replace it. Replaced Water Pump Now Belt Squeaks.
From www.cherokeeforum.com
Replaced water pump...now overheating Jeep Cherokee Forum Replaced Water Pump Now Belt Squeaks Water pump noise is not common but does happen. I replaced it with the cheap duralast version. I ended up having to replace it twice due. If you did not have squealing before you installed the water pump, then the problem is almost certainly belt tension. Steady tone noise is more common such as groans or squeals. A couple of. Replaced Water Pump Now Belt Squeaks.
From www.youtube.com
OMC 5L Water pump No squeak YouTube Replaced Water Pump Now Belt Squeaks I first tried cleaning all of the. The reason i say belt/waterpump is because ive. Steady tone noise is more common such as groans or squeals. Recently i replaced my water pump due to a leak. The reasons behind serpentine belt squealing after replacement are diverse ranging from improper tension, to wear and tear,. If you did not have squealing. Replaced Water Pump Now Belt Squeaks.
From www.youtube.com
Ford Escape Timing Belt and Water Pump Replacement Part 6 YouTube Replaced Water Pump Now Belt Squeaks I just changed the water pump and belt on my 96 and now there is a screeching when it is first started. Noise of that type is due to a failed or failing bearing in one of the pulleys or accessories (e.g., alternator, water pump, a/c. A couple of years ago, i chased a squeaky belt problem after a water. Replaced Water Pump Now Belt Squeaks.
From www.justanswer.com
Changed timing belt and water pump now car will not start. Wants to Replaced Water Pump Now Belt Squeaks Recently i replaced my water pump due to a leak. If you did not have squealing before you installed the water pump, then the problem is almost certainly belt tension. Doesn't happen all the time. Steady tone noise is more common such as groans or squeals. A couple of years ago, i chased a squeaky belt problem after a water. Replaced Water Pump Now Belt Squeaks.
From www.reddit.com
I replaced my water pump, now i have a new belt, but it won't go on!! I Replaced Water Pump Now Belt Squeaks Noise of that type is due to a failed or failing bearing in one of the pulleys or accessories (e.g., alternator, water pump, a/c. I first tried cleaning all of the. Recently i replaced my water pump due to a leak. The reason i say belt/waterpump is because ive. The reasons behind serpentine belt squealing after replacement are diverse ranging. Replaced Water Pump Now Belt Squeaks.
From www.testingautos.com
When does the water pump need to be replaced? Replaced Water Pump Now Belt Squeaks The reasons behind serpentine belt squealing after replacement are diverse ranging from improper tension, to wear and tear,. Ive had an issue with an annoying squeal coming from the belt/waterpump area. Steady tone noise is more common such as groans or squeals. If you did not have squealing before you installed the water pump, then the problem is almost certainly. Replaced Water Pump Now Belt Squeaks.
From www.justanswer.com
How do i change the water pump in a 1993 mazda mx 3 1.6 litre? Replaced Water Pump Now Belt Squeaks Recently i replaced my water pump due to a leak. Water pump noise is not common but does happen. Noise of that type is due to a failed or failing bearing in one of the pulleys or accessories (e.g., alternator, water pump, a/c. I ended up having to replace it twice due. Ive had an issue with an annoying squeal. Replaced Water Pump Now Belt Squeaks.
From www.reddit.com
Is that oil? Mechanic changed water pump and thermostat, now with all Replaced Water Pump Now Belt Squeaks I replaced it with the cheap duralast version. I just changed the water pump and belt on my 96 and now there is a screeching when it is first started. Ive had an issue with an annoying squeal coming from the belt/waterpump area. The reason i say belt/waterpump is because ive. Noise of that type is due to a failed. Replaced Water Pump Now Belt Squeaks.
From drivesmartwarranty.com
Why is my Car Squeaking Squeaky Belt, Brakes & Suspension Replaced Water Pump Now Belt Squeaks I replaced it with the cheap duralast version. Recently i replaced my water pump due to a leak. Water pump noise is not common but does happen. If you did not have squealing before you installed the water pump, then the problem is almost certainly belt tension. A couple of years ago, i chased a squeaky belt problem after a. Replaced Water Pump Now Belt Squeaks.
From www.yourmechanic.com
How to Replace a Water Pump Belt YourMechanic Advice Replaced Water Pump Now Belt Squeaks Ive had an issue with an annoying squeal coming from the belt/waterpump area. If you did not have squealing before you installed the water pump, then the problem is almost certainly belt tension. Doesn't happen all the time. I just changed the water pump and belt on my 96 and now there is a screeching when it is first started.. Replaced Water Pump Now Belt Squeaks.