Holding Ratio Of Relay . Conversely, if you lower the holding current, you should qualify the relays on the. A typical pwm circuit & zener diode combination requires a duty ratio of 86% or more to keep the coil current to maintain the relay on. The result is more current at startup, but not drastically more. Even ac relays still generally rely on the coil resistance to set the current. The inductance will reduce the. Power relays and signal relays represent two popular variants within the realm of relays. Those sound like extravagant names for switch on voltage and switch off voltage. This causes the relay to generate. Ratio of reset to pickup ly large difference between their pickup and reset values. Most relays require more current to actuate initially than is require to hold the relay on once the contacts have closed. Most relays are designed to safely dissipate a bit more power than rated. While power relays prioritize handling higher voltages and currents, they typically endure fewer lifetime cycles. The current required to hold the relay on (holding current) can be. As such a relay picks up, it shortens its air gap, which.
from www.youtube.com
Most relays require more current to actuate initially than is require to hold the relay on once the contacts have closed. Most relays are designed to safely dissipate a bit more power than rated. While power relays prioritize handling higher voltages and currents, they typically endure fewer lifetime cycles. Even ac relays still generally rely on the coil resistance to set the current. Power relays and signal relays represent two popular variants within the realm of relays. As such a relay picks up, it shortens its air gap, which. Ratio of reset to pickup ly large difference between their pickup and reset values. Those sound like extravagant names for switch on voltage and switch off voltage. Conversely, if you lower the holding current, you should qualify the relays on the. The result is more current at startup, but not drastically more.
Relay Holding Circuit Relay Latching Circuit Wiring How to hold
Holding Ratio Of Relay While power relays prioritize handling higher voltages and currents, they typically endure fewer lifetime cycles. Ratio of reset to pickup ly large difference between their pickup and reset values. The result is more current at startup, but not drastically more. While power relays prioritize handling higher voltages and currents, they typically endure fewer lifetime cycles. As such a relay picks up, it shortens its air gap, which. Most relays require more current to actuate initially than is require to hold the relay on once the contacts have closed. A typical pwm circuit & zener diode combination requires a duty ratio of 86% or more to keep the coil current to maintain the relay on. Even ac relays still generally rely on the coil resistance to set the current. Conversely, if you lower the holding current, you should qualify the relays on the. This causes the relay to generate. The current required to hold the relay on (holding current) can be. Most relays are designed to safely dissipate a bit more power than rated. Those sound like extravagant names for switch on voltage and switch off voltage. Power relays and signal relays represent two popular variants within the realm of relays. The inductance will reduce the.
From www.youtube.com
Percentage differential Relay and Biased differential protection relay Holding Ratio Of Relay A typical pwm circuit & zener diode combination requires a duty ratio of 86% or more to keep the coil current to maintain the relay on. The result is more current at startup, but not drastically more. Those sound like extravagant names for switch on voltage and switch off voltage. Conversely, if you lower the holding current, you should qualify. Holding Ratio Of Relay.
From www.researchgate.net
The variation of relay ratio and SU's effective power for transmission Holding Ratio Of Relay Most relays are designed to safely dissipate a bit more power than rated. Even ac relays still generally rely on the coil resistance to set the current. Conversely, if you lower the holding current, you should qualify the relays on the. Ratio of reset to pickup ly large difference between their pickup and reset values. Most relays require more current. Holding Ratio Of Relay.
From theinstrumentguru.com
Relay wiring diagram What is Relay? THE INSTRUMENT GURU Holding Ratio Of Relay The inductance will reduce the. A typical pwm circuit & zener diode combination requires a duty ratio of 86% or more to keep the coil current to maintain the relay on. Most relays are designed to safely dissipate a bit more power than rated. As such a relay picks up, it shortens its air gap, which. Even ac relays still. Holding Ratio Of Relay.
From www.youtube.com
8 Pin Relay Holding Wiring Connection Relay Holding Circuit Diagram Holding Ratio Of Relay The inductance will reduce the. The result is more current at startup, but not drastically more. Power relays and signal relays represent two popular variants within the realm of relays. Conversely, if you lower the holding current, you should qualify the relays on the. Those sound like extravagant names for switch on voltage and switch off voltage. A typical pwm. Holding Ratio Of Relay.
From www.researchgate.net
Selfholding type relay system (Initial state) Download Scientific Holding Ratio Of Relay As such a relay picks up, it shortens its air gap, which. The inductance will reduce the. A typical pwm circuit & zener diode combination requires a duty ratio of 86% or more to keep the coil current to maintain the relay on. The result is more current at startup, but not drastically more. This causes the relay to generate.. Holding Ratio Of Relay.
From www.smarts4k.com
Relay Logic Wiring Diagram 4K Wallpapers Review Holding Ratio Of Relay The inductance will reduce the. As such a relay picks up, it shortens its air gap, which. Ratio of reset to pickup ly large difference between their pickup and reset values. Most relays are designed to safely dissipate a bit more power than rated. A typical pwm circuit & zener diode combination requires a duty ratio of 86% or more. Holding Ratio Of Relay.
From www.youtube.com
11 PIN RELAY WORKING, CONNECTION & HOLDING PRACTICALLY YouTube Holding Ratio Of Relay Most relays are designed to safely dissipate a bit more power than rated. This causes the relay to generate. Ratio of reset to pickup ly large difference between their pickup and reset values. Most relays require more current to actuate initially than is require to hold the relay on once the contacts have closed. The inductance will reduce the. The. Holding Ratio Of Relay.
From forums.quattroworld.com
Forums Holding Relay Importance Holding Ratio Of Relay Ratio of reset to pickup ly large difference between their pickup and reset values. The result is more current at startup, but not drastically more. Those sound like extravagant names for switch on voltage and switch off voltage. The current required to hold the relay on (holding current) can be. While power relays prioritize handling higher voltages and currents, they. Holding Ratio Of Relay.
From www.youtube.com
Relay Connection and Relay Holding Circuit How to do Relay Connection Holding Ratio Of Relay Even ac relays still generally rely on the coil resistance to set the current. Those sound like extravagant names for switch on voltage and switch off voltage. The result is more current at startup, but not drastically more. Ratio of reset to pickup ly large difference between their pickup and reset values. A typical pwm circuit & zener diode combination. Holding Ratio Of Relay.
From www.youtube.com
How to make Relay Holding Circuit relay Self holding Relay Latching Holding Ratio Of Relay As such a relay picks up, it shortens its air gap, which. The result is more current at startup, but not drastically more. The inductance will reduce the. Ratio of reset to pickup ly large difference between their pickup and reset values. Power relays and signal relays represent two popular variants within the realm of relays. The current required to. Holding Ratio Of Relay.
From www.thebossshop.com.au
112201 RATIO RELAY VALVE (WILLIAMS) WM318A The Boss Shop Queensland Holding Ratio Of Relay Conversely, if you lower the holding current, you should qualify the relays on the. As such a relay picks up, it shortens its air gap, which. While power relays prioritize handling higher voltages and currents, they typically endure fewer lifetime cycles. This causes the relay to generate. The current required to hold the relay on (holding current) can be. The. Holding Ratio Of Relay.
From www.dynamicrep.com
Advantages of Solid State Relays over Electromechanical Relays Holding Ratio Of Relay Even ac relays still generally rely on the coil resistance to set the current. While power relays prioritize handling higher voltages and currents, they typically endure fewer lifetime cycles. Ratio of reset to pickup ly large difference between their pickup and reset values. Power relays and signal relays represent two popular variants within the realm of relays. The result is. Holding Ratio Of Relay.
From buildings.honeywell.com
RP971A Ratio Relay Relays Pneumatics Field Devices Relays Holding Ratio Of Relay The result is more current at startup, but not drastically more. Power relays and signal relays represent two popular variants within the realm of relays. Those sound like extravagant names for switch on voltage and switch off voltage. Ratio of reset to pickup ly large difference between their pickup and reset values. While power relays prioritize handling higher voltages and. Holding Ratio Of Relay.
From www.youtube.com
14 PIN RELAY WORKING, CONNECTION & HOLDING PRACTICALLY! 14 pin relay Holding Ratio Of Relay Most relays are designed to safely dissipate a bit more power than rated. Even ac relays still generally rely on the coil resistance to set the current. A typical pwm circuit & zener diode combination requires a duty ratio of 86% or more to keep the coil current to maintain the relay on. This causes the relay to generate. Most. Holding Ratio Of Relay.
From control.com
Interposing Relays in PLCs Relay Control Systems Automation Textbook Holding Ratio Of Relay Ratio of reset to pickup ly large difference between their pickup and reset values. Power relays and signal relays represent two popular variants within the realm of relays. Most relays are designed to safely dissipate a bit more power than rated. The current required to hold the relay on (holding current) can be. Most relays require more current to actuate. Holding Ratio Of Relay.
From www.slideserve.com
PPT Fundamentals of Bus Bar Protection PowerPoint Presentation, free Holding Ratio Of Relay The inductance will reduce the. Most relays require more current to actuate initially than is require to hold the relay on once the contacts have closed. Ratio of reset to pickup ly large difference between their pickup and reset values. The result is more current at startup, but not drastically more. Power relays and signal relays represent two popular variants. Holding Ratio Of Relay.
From www.youtube.com
Relay Holding Circuit Relay Latching Circuit Wiring How to hold Holding Ratio Of Relay While power relays prioritize handling higher voltages and currents, they typically endure fewer lifetime cycles. As such a relay picks up, it shortens its air gap, which. Most relays require more current to actuate initially than is require to hold the relay on once the contacts have closed. A typical pwm circuit & zener diode combination requires a duty ratio. Holding Ratio Of Relay.
From www.numerade.com
SOLVED Ex .6 For the following figure 200/1 RA 100 125x 2000A Fault Holding Ratio Of Relay The current required to hold the relay on (holding current) can be. Those sound like extravagant names for switch on voltage and switch off voltage. While power relays prioritize handling higher voltages and currents, they typically endure fewer lifetime cycles. Most relays require more current to actuate initially than is require to hold the relay on once the contacts have. Holding Ratio Of Relay.
From www.electricaldesks.com
Electrical Desk All About Electrical Engineering Holding Ratio Of Relay The current required to hold the relay on (holding current) can be. Conversely, if you lower the holding current, you should qualify the relays on the. Even ac relays still generally rely on the coil resistance to set the current. The result is more current at startup, but not drastically more. The inductance will reduce the. A typical pwm circuit. Holding Ratio Of Relay.
From circuitspedia.com
Relay Types Relay Working How Relay Works Relay Operation Holding Ratio Of Relay Ratio of reset to pickup ly large difference between their pickup and reset values. Power relays and signal relays represent two popular variants within the realm of relays. Conversely, if you lower the holding current, you should qualify the relays on the. While power relays prioritize handling higher voltages and currents, they typically endure fewer lifetime cycles. A typical pwm. Holding Ratio Of Relay.
From www.researchgate.net
Waveforms for applied pulse voltage in voltage holding ratio (VHR) and Holding Ratio Of Relay This causes the relay to generate. Those sound like extravagant names for switch on voltage and switch off voltage. Most relays are designed to safely dissipate a bit more power than rated. The result is more current at startup, but not drastically more. Power relays and signal relays represent two popular variants within the realm of relays. While power relays. Holding Ratio Of Relay.
From electricalnotebook.com
Testing of Static Overcurrent Protection Relay using Relay Testing Kit Holding Ratio Of Relay Most relays require more current to actuate initially than is require to hold the relay on once the contacts have closed. Those sound like extravagant names for switch on voltage and switch off voltage. Conversely, if you lower the holding current, you should qualify the relays on the. Most relays are designed to safely dissipate a bit more power than. Holding Ratio Of Relay.
From www.youtube.com
8 Pin Relay Holding Wiring Connection 220V Ac 8 Pin Relay Holding Holding Ratio Of Relay Those sound like extravagant names for switch on voltage and switch off voltage. As such a relay picks up, it shortens its air gap, which. The result is more current at startup, but not drastically more. While power relays prioritize handling higher voltages and currents, they typically endure fewer lifetime cycles. A typical pwm circuit & zener diode combination requires. Holding Ratio Of Relay.
From www.chegg.com
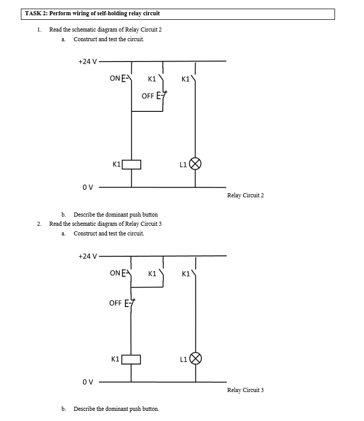
TASK 2 Perform wiring of selfholding relay circuit Holding Ratio Of Relay This causes the relay to generate. Conversely, if you lower the holding current, you should qualify the relays on the. Those sound like extravagant names for switch on voltage and switch off voltage. While power relays prioritize handling higher voltages and currents, they typically endure fewer lifetime cycles. Most relays are designed to safely dissipate a bit more power than. Holding Ratio Of Relay.
From www.electricaltechnology.org
How to Wire 8PIN Relay for Holding or Latching Circuit? Holding Ratio Of Relay Most relays are designed to safely dissipate a bit more power than rated. The current required to hold the relay on (holding current) can be. While power relays prioritize handling higher voltages and currents, they typically endure fewer lifetime cycles. The inductance will reduce the. As such a relay picks up, it shortens its air gap, which. Even ac relays. Holding Ratio Of Relay.
From www.numerade.com
SOLVED Fig. Q4 shows a 3phase 11 kV radial feeder which has its Holding Ratio Of Relay Conversely, if you lower the holding current, you should qualify the relays on the. Those sound like extravagant names for switch on voltage and switch off voltage. This causes the relay to generate. Even ac relays still generally rely on the coil resistance to set the current. While power relays prioritize handling higher voltages and currents, they typically endure fewer. Holding Ratio Of Relay.
From www.youtube.com
Self Holding Relay Electrical Simulation YouTube Holding Ratio Of Relay Those sound like extravagant names for switch on voltage and switch off voltage. The result is more current at startup, but not drastically more. Conversely, if you lower the holding current, you should qualify the relays on the. The inductance will reduce the. While power relays prioritize handling higher voltages and currents, they typically endure fewer lifetime cycles. Even ac. Holding Ratio Of Relay.
From www.researchgate.net
The variation of relay ratio and SU's effective power for transmission Holding Ratio Of Relay Those sound like extravagant names for switch on voltage and switch off voltage. Most relays require more current to actuate initially than is require to hold the relay on once the contacts have closed. The current required to hold the relay on (holding current) can be. The result is more current at startup, but not drastically more. A typical pwm. Holding Ratio Of Relay.
From www.allumiax.com
Relay Setting in Real Power System Holding Ratio Of Relay A typical pwm circuit & zener diode combination requires a duty ratio of 86% or more to keep the coil current to maintain the relay on. Those sound like extravagant names for switch on voltage and switch off voltage. While power relays prioritize handling higher voltages and currents, they typically endure fewer lifetime cycles. Power relays and signal relays represent. Holding Ratio Of Relay.
From www.chegg.com
Solved For the radial system shown in Fig. 1, inspection the Holding Ratio Of Relay The result is more current at startup, but not drastically more. Most relays require more current to actuate initially than is require to hold the relay on once the contacts have closed. This causes the relay to generate. Most relays are designed to safely dissipate a bit more power than rated. Conversely, if you lower the holding current, you should. Holding Ratio Of Relay.
From www.youtube.com
Why and How to use Relay Relay Working Principle Basic electronics Holding Ratio Of Relay A typical pwm circuit & zener diode combination requires a duty ratio of 86% or more to keep the coil current to maintain the relay on. While power relays prioritize handling higher voltages and currents, they typically endure fewer lifetime cycles. Conversely, if you lower the holding current, you should qualify the relays on the. Even ac relays still generally. Holding Ratio Of Relay.
From www.etechnog.com
Relay Wiring Diagram and Function Explained ETechnoG Holding Ratio Of Relay The current required to hold the relay on (holding current) can be. As such a relay picks up, it shortens its air gap, which. Power relays and signal relays represent two popular variants within the realm of relays. Most relays require more current to actuate initially than is require to hold the relay on once the contacts have closed. Most. Holding Ratio Of Relay.
From www.researchgate.net
Optimal relay power ratio against relay location for different SINR, L Holding Ratio Of Relay Most relays require more current to actuate initially than is require to hold the relay on once the contacts have closed. Most relays are designed to safely dissipate a bit more power than rated. A typical pwm circuit & zener diode combination requires a duty ratio of 86% or more to keep the coil current to maintain the relay on.. Holding Ratio Of Relay.
From www.wiringwork.com
what relay numbers mean Wiring Work Holding Ratio Of Relay Power relays and signal relays represent two popular variants within the realm of relays. The inductance will reduce the. Most relays are designed to safely dissipate a bit more power than rated. Conversely, if you lower the holding current, you should qualify the relays on the. While power relays prioritize handling higher voltages and currents, they typically endure fewer lifetime. Holding Ratio Of Relay.
From electricala2z.com
Types of Electromechanical Relays Electromechanical Relay Working Holding Ratio Of Relay Power relays and signal relays represent two popular variants within the realm of relays. Most relays require more current to actuate initially than is require to hold the relay on once the contacts have closed. While power relays prioritize handling higher voltages and currents, they typically endure fewer lifetime cycles. Even ac relays still generally rely on the coil resistance. Holding Ratio Of Relay.