Gx390 Carburetor Cleaning . — this was a school project for tulsa tech powersports and power equipment class. the easiest and most common way to clean a carb is to spray the heck out of it with carb cleaner. English, french & spanish language manual. This usually works pretty well,. — follow these steps!today i'll be showing you how to clean a kohler or honda gx style carburetor!just follow the. clean in warm soapy water, rinse, and allow to dry thoroughly. 4 main jet clogged. — fixing a honda gx/honda clone engine that is idle surging. Use needle a (∅ 0.5) to clean. — when it comes to keeping your honda gx390 engine running smoothly, proper carburetor adjustment is essential.
from www.youtube.com
— when it comes to keeping your honda gx390 engine running smoothly, proper carburetor adjustment is essential. — follow these steps!today i'll be showing you how to clean a kohler or honda gx style carburetor!just follow the. the easiest and most common way to clean a carb is to spray the heck out of it with carb cleaner. clean in warm soapy water, rinse, and allow to dry thoroughly. 4 main jet clogged. — this was a school project for tulsa tech powersports and power equipment class. — fixing a honda gx/honda clone engine that is idle surging. Use needle a (∅ 0.5) to clean. English, french & spanish language manual. This usually works pretty well,.
john deere 3800 psi 4.0 gpm pressure washer carburetor repair, honda
Gx390 Carburetor Cleaning This usually works pretty well,. the easiest and most common way to clean a carb is to spray the heck out of it with carb cleaner. — fixing a honda gx/honda clone engine that is idle surging. English, french & spanish language manual. — when it comes to keeping your honda gx390 engine running smoothly, proper carburetor adjustment is essential. 4 main jet clogged. Use needle a (∅ 0.5) to clean. clean in warm soapy water, rinse, and allow to dry thoroughly. This usually works pretty well,. — this was a school project for tulsa tech powersports and power equipment class. — follow these steps!today i'll be showing you how to clean a kohler or honda gx style carburetor!just follow the.
From machineinculpated.z22.web.core.windows.net
Honda Gx390 Carburetor Parts Diagram Gx390 Carburetor Cleaning 4 main jet clogged. — follow these steps!today i'll be showing you how to clean a kohler or honda gx style carburetor!just follow the. clean in warm soapy water, rinse, and allow to dry thoroughly. — this was a school project for tulsa tech powersports and power equipment class. English, french & spanish language manual. Use. Gx390 Carburetor Cleaning.
From homesellquick.com
The Best Honda Gx390 Pressure Washer Home Gadgets Gx390 Carburetor Cleaning clean in warm soapy water, rinse, and allow to dry thoroughly. English, french & spanish language manual. — fixing a honda gx/honda clone engine that is idle surging. the easiest and most common way to clean a carb is to spray the heck out of it with carb cleaner. — when it comes to keeping your. Gx390 Carburetor Cleaning.
From manualfixjoysideswiped.z13.web.core.windows.net
Honda Gx390 Carburetor Parts Diagram Gx390 Carburetor Cleaning — follow these steps!today i'll be showing you how to clean a kohler or honda gx style carburetor!just follow the. — this was a school project for tulsa tech powersports and power equipment class. English, french & spanish language manual. This usually works pretty well,. clean in warm soapy water, rinse, and allow to dry thoroughly. . Gx390 Carburetor Cleaning.
From www.youtube.com
I fight to remove a pulley on a Honda GX390 Engine. It's super stuck Gx390 Carburetor Cleaning 4 main jet clogged. — follow these steps!today i'll be showing you how to clean a kohler or honda gx style carburetor!just follow the. This usually works pretty well,. — this was a school project for tulsa tech powersports and power equipment class. clean in warm soapy water, rinse, and allow to dry thoroughly. English, french. Gx390 Carburetor Cleaning.
From fixpartumbremeteorists.z13.web.core.windows.net
Honda Gx390 Carburetor Adjustment Diagram Gx390 Carburetor Cleaning — when it comes to keeping your honda gx390 engine running smoothly, proper carburetor adjustment is essential. 4 main jet clogged. English, french & spanish language manual. — follow these steps!today i'll be showing you how to clean a kohler or honda gx style carburetor!just follow the. — this was a school project for tulsa tech. Gx390 Carburetor Cleaning.
From fixengineeldenunciantez3.z4.web.core.windows.net
Honda Gx390 Carburetor Rebuild Kit Gx390 Carburetor Cleaning the easiest and most common way to clean a carb is to spray the heck out of it with carb cleaner. Use needle a (∅ 0.5) to clean. — when it comes to keeping your honda gx390 engine running smoothly, proper carburetor adjustment is essential. — this was a school project for tulsa tech powersports and power. Gx390 Carburetor Cleaning.
From www.amazon.com
Wellsking GX390 Carburetor for Honda GX340 GX 390 13HP 11HP Gx390 Carburetor Cleaning 4 main jet clogged. the easiest and most common way to clean a carb is to spray the heck out of it with carb cleaner. — when it comes to keeping your honda gx390 engine running smoothly, proper carburetor adjustment is essential. clean in warm soapy water, rinse, and allow to dry thoroughly. — follow. Gx390 Carburetor Cleaning.
From exotxijyl.blob.core.windows.net
How To Clean Carburetor On Honda Gx390 at Deanne Loftus blog Gx390 Carburetor Cleaning — fixing a honda gx/honda clone engine that is idle surging. — when it comes to keeping your honda gx390 engine running smoothly, proper carburetor adjustment is essential. the easiest and most common way to clean a carb is to spray the heck out of it with carb cleaner. — follow these steps!today i'll be showing. Gx390 Carburetor Cleaning.
From www.theoempartsstore.com
Honda GX390 Carburetor Service Kit 785673 Gx390 Carburetor Cleaning 4 main jet clogged. clean in warm soapy water, rinse, and allow to dry thoroughly. — when it comes to keeping your honda gx390 engine running smoothly, proper carburetor adjustment is essential. — this was a school project for tulsa tech powersports and power equipment class. This usually works pretty well,. English, french & spanish language. Gx390 Carburetor Cleaning.
From www.youtube.com
* Honda gx390 13.0 carburetor repair excel commercial zr3600 psi Gx390 Carburetor Cleaning — this was a school project for tulsa tech powersports and power equipment class. — follow these steps!today i'll be showing you how to clean a kohler or honda gx style carburetor!just follow the. — when it comes to keeping your honda gx390 engine running smoothly, proper carburetor adjustment is essential. clean in warm soapy water,. Gx390 Carburetor Cleaning.
From exotxijyl.blob.core.windows.net
How To Clean Carburetor On Honda Gx390 at Deanne Loftus blog Gx390 Carburetor Cleaning — this was a school project for tulsa tech powersports and power equipment class. Use needle a (∅ 0.5) to clean. clean in warm soapy water, rinse, and allow to dry thoroughly. English, french & spanish language manual. — follow these steps!today i'll be showing you how to clean a kohler or honda gx style carburetor!just follow. Gx390 Carburetor Cleaning.
From www.ebay.com
3 Sets OF 3 HONDA GX340 GX390 CARB CARBURETOR GASKET Air Cleaner 16212 Gx390 Carburetor Cleaning Use needle a (∅ 0.5) to clean. 4 main jet clogged. clean in warm soapy water, rinse, and allow to dry thoroughly. — follow these steps!today i'll be showing you how to clean a kohler or honda gx style carburetor!just follow the. — this was a school project for tulsa tech powersports and power equipment class.. Gx390 Carburetor Cleaning.
From garagefixarrodossenl.z4.web.core.windows.net
Honda Gx390 Carburetor Rebuild Kit Gx390 Carburetor Cleaning This usually works pretty well,. the easiest and most common way to clean a carb is to spray the heck out of it with carb cleaner. — when it comes to keeping your honda gx390 engine running smoothly, proper carburetor adjustment is essential. clean in warm soapy water, rinse, and allow to dry thoroughly. 4 main. Gx390 Carburetor Cleaning.
From www.youtube.com
roofmaster roof cutter carburetor repair honda gx390 carb cleaning Gx390 Carburetor Cleaning the easiest and most common way to clean a carb is to spray the heck out of it with carb cleaner. English, french & spanish language manual. — when it comes to keeping your honda gx390 engine running smoothly, proper carburetor adjustment is essential. — follow these steps!today i'll be showing you how to clean a kohler. Gx390 Carburetor Cleaning.
From www.lazada.com.ph
Gasoline Engine Accessories Sanitation Cleaning Car Gx390 Carburetor Gx390 Carburetor Cleaning the easiest and most common way to clean a carb is to spray the heck out of it with carb cleaner. — fixing a honda gx/honda clone engine that is idle surging. English, french & spanish language manual. — this was a school project for tulsa tech powersports and power equipment class. — follow these steps!today. Gx390 Carburetor Cleaning.
From www.aliexpress.com
carburetor & cleaning brush for Honda GX390 GX340 CHINESE 182F & 188F Gx390 Carburetor Cleaning — when it comes to keeping your honda gx390 engine running smoothly, proper carburetor adjustment is essential. the easiest and most common way to clean a carb is to spray the heck out of it with carb cleaner. — follow these steps!today i'll be showing you how to clean a kohler or honda gx style carburetor!just follow. Gx390 Carburetor Cleaning.
From exotxijyl.blob.core.windows.net
How To Clean Carburetor On Honda Gx390 at Deanne Loftus blog Gx390 Carburetor Cleaning This usually works pretty well,. the easiest and most common way to clean a carb is to spray the heck out of it with carb cleaner. clean in warm soapy water, rinse, and allow to dry thoroughly. — fixing a honda gx/honda clone engine that is idle surging. — when it comes to keeping your honda. Gx390 Carburetor Cleaning.
From www.youtube.com
Honda GX390 pressure washer carb rebuild YouTube Gx390 Carburetor Cleaning clean in warm soapy water, rinse, and allow to dry thoroughly. English, french & spanish language manual. — when it comes to keeping your honda gx390 engine running smoothly, proper carburetor adjustment is essential. This usually works pretty well,. Use needle a (∅ 0.5) to clean. — this was a school project for tulsa tech powersports and. Gx390 Carburetor Cleaning.
From www.ebay.com
3pc Set HONDA GX340 GX390 CARB CARBURETOR GASKET Air Cleaner 16212Z5T Gx390 Carburetor Cleaning — when it comes to keeping your honda gx390 engine running smoothly, proper carburetor adjustment is essential. Use needle a (∅ 0.5) to clean. — follow these steps!today i'll be showing you how to clean a kohler or honda gx style carburetor!just follow the. This usually works pretty well,. the easiest and most common way to clean. Gx390 Carburetor Cleaning.
From circuitlistadvances101.z21.web.core.windows.net
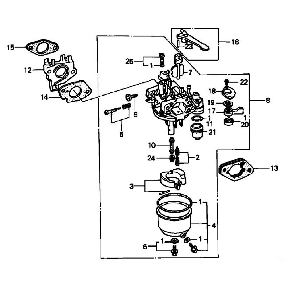
Honda Gx390 Generator Carburetor Diagram Gx390 Carburetor Cleaning Use needle a (∅ 0.5) to clean. — when it comes to keeping your honda gx390 engine running smoothly, proper carburetor adjustment is essential. clean in warm soapy water, rinse, and allow to dry thoroughly. — fixing a honda gx/honda clone engine that is idle surging. This usually works pretty well,. — this was a school. Gx390 Carburetor Cleaning.
From www.bmikarts.com
Carburetor Service Kit / Honda GX390 785673 BMI Karts and Parts Gx390 Carburetor Cleaning the easiest and most common way to clean a carb is to spray the heck out of it with carb cleaner. — fixing a honda gx/honda clone engine that is idle surging. — follow these steps!today i'll be showing you how to clean a kohler or honda gx style carburetor!just follow the. — when it comes. Gx390 Carburetor Cleaning.
From provenpart.com
GX390 Carburetor System Proven Part Gx390 Carburetor Cleaning — fixing a honda gx/honda clone engine that is idle surging. clean in warm soapy water, rinse, and allow to dry thoroughly. 4 main jet clogged. — when it comes to keeping your honda gx390 engine running smoothly, proper carburetor adjustment is essential. — follow these steps!today i'll be showing you how to clean a. Gx390 Carburetor Cleaning.
From repairmachinetshileshepl.z4.web.core.windows.net
Honda Gx390 Carburetor Parts Diagram Gx390 Carburetor Cleaning — when it comes to keeping your honda gx390 engine running smoothly, proper carburetor adjustment is essential. — this was a school project for tulsa tech powersports and power equipment class. — fixing a honda gx/honda clone engine that is idle surging. 4 main jet clogged. Use needle a (∅ 0.5) to clean. — follow. Gx390 Carburetor Cleaning.
From schempal.com
How to Identify and Understand the Honda GX390 Generator Carburetor Diagram Gx390 Carburetor Cleaning This usually works pretty well,. — when it comes to keeping your honda gx390 engine running smoothly, proper carburetor adjustment is essential. Use needle a (∅ 0.5) to clean. the easiest and most common way to clean a carb is to spray the heck out of it with carb cleaner. — fixing a honda gx/honda clone engine. Gx390 Carburetor Cleaning.
From spraywell.com
Honda Carburetor for GX390 Engines Spraywell Gx390 Carburetor Cleaning — when it comes to keeping your honda gx390 engine running smoothly, proper carburetor adjustment is essential. English, french & spanish language manual. — fixing a honda gx/honda clone engine that is idle surging. Use needle a (∅ 0.5) to clean. clean in warm soapy water, rinse, and allow to dry thoroughly. — follow these steps!today. Gx390 Carburetor Cleaning.
From www.aliexpress.com
Dual Fuel Carburetor LPG/NG Conversion Kit For Honda GX390 13HP 188F E Gx390 Carburetor Cleaning — fixing a honda gx/honda clone engine that is idle surging. 4 main jet clogged. This usually works pretty well,. clean in warm soapy water, rinse, and allow to dry thoroughly. Use needle a (∅ 0.5) to clean. the easiest and most common way to clean a carb is to spray the heck out of it. Gx390 Carburetor Cleaning.
From www.walmart.com
Honda Gx390 Carburetor Gx390 Carburetor Cleaning 4 main jet clogged. — follow these steps!today i'll be showing you how to clean a kohler or honda gx style carburetor!just follow the. the easiest and most common way to clean a carb is to spray the heck out of it with carb cleaner. Use needle a (∅ 0.5) to clean. — this was a. Gx390 Carburetor Cleaning.
From www.youtube.com
How to Clean a Honda GX Carburetor YouTube Gx390 Carburetor Cleaning Use needle a (∅ 0.5) to clean. — when it comes to keeping your honda gx390 engine running smoothly, proper carburetor adjustment is essential. 4 main jet clogged. the easiest and most common way to clean a carb is to spray the heck out of it with carb cleaner. — follow these steps!today i'll be showing. Gx390 Carburetor Cleaning.
From fixenginegingsheimgv.z4.web.core.windows.net
Honda Gx390 Carburetor Parts Gx390 Carburetor Cleaning — fixing a honda gx/honda clone engine that is idle surging. This usually works pretty well,. 4 main jet clogged. — this was a school project for tulsa tech powersports and power equipment class. the easiest and most common way to clean a carb is to spray the heck out of it with carb cleaner. English,. Gx390 Carburetor Cleaning.
From www.youtube.com
john deere 3800 psi 4.0 gpm pressure washer carburetor repair, honda Gx390 Carburetor Cleaning This usually works pretty well,. — fixing a honda gx/honda clone engine that is idle surging. — follow these steps!today i'll be showing you how to clean a kohler or honda gx style carburetor!just follow the. — this was a school project for tulsa tech powersports and power equipment class. — when it comes to keeping. Gx390 Carburetor Cleaning.
From www.lazada.com.ph
qibuo GX390 Carburetor Replacement Kit For Honda GX390 13HP Engine Gx390 Carburetor Cleaning the easiest and most common way to clean a carb is to spray the heck out of it with carb cleaner. — when it comes to keeping your honda gx390 engine running smoothly, proper carburetor adjustment is essential. English, french & spanish language manual. — fixing a honda gx/honda clone engine that is idle surging. This usually. Gx390 Carburetor Cleaning.
From exotxijyl.blob.core.windows.net
How To Clean Carburetor On Honda Gx390 at Deanne Loftus blog Gx390 Carburetor Cleaning the easiest and most common way to clean a carb is to spray the heck out of it with carb cleaner. — when it comes to keeping your honda gx390 engine running smoothly, proper carburetor adjustment is essential. — this was a school project for tulsa tech powersports and power equipment class. clean in warm soapy. Gx390 Carburetor Cleaning.
From www.gopowersports.com
Carburetor for Honda GX390 and Predator 420 Gx390 Carburetor Cleaning the easiest and most common way to clean a carb is to spray the heck out of it with carb cleaner. — fixing a honda gx/honda clone engine that is idle surging. — this was a school project for tulsa tech powersports and power equipment class. — follow these steps!today i'll be showing you how to. Gx390 Carburetor Cleaning.
From repairenginedorted.z13.web.core.windows.net
Honda Gx390 13 Hp Engine Carb Carburetor Gx390 Carburetor Cleaning 4 main jet clogged. Use needle a (∅ 0.5) to clean. — when it comes to keeping your honda gx390 engine running smoothly, proper carburetor adjustment is essential. — this was a school project for tulsa tech powersports and power equipment class. the easiest and most common way to clean a carb is to spray the. Gx390 Carburetor Cleaning.
From olivarriafixenginenuts.z21.web.core.windows.net
Honda 2000 Generator Carb Kit Gx390 Carburetor Cleaning Use needle a (∅ 0.5) to clean. — this was a school project for tulsa tech powersports and power equipment class. 4 main jet clogged. — when it comes to keeping your honda gx390 engine running smoothly, proper carburetor adjustment is essential. This usually works pretty well,. — fixing a honda gx/honda clone engine that is. Gx390 Carburetor Cleaning.