Air Intake On Yamaha Outboard . It moves to adjust idle rpm. There are about 2 or 3 bolts that go through the. This video shows how to take off the air intake aka silencer assembly off a 2 stroke yamaha outboard. I have a johnson 15 hp 4 stroke that lost all power and stalled but did restart but now has an oil leak that looks like it is coming out. As the motor turns it threads the pintle in or out to allow more or less air to pass. Now i understand you can do a simple mod by removing the air intake restrictor plate on the 50 to make it the same as the. To replace the vst i first removed the plastic air intake from the intake manifold. I don't know what the threshold of too hot might. Its also rather expensive from yamaha. Iac does get much warmer than the surrounding intake. What is the function of the control valve that admits air into the intake manifold on my 2005 f90tlrd?
from pro-fiber.com
Now i understand you can do a simple mod by removing the air intake restrictor plate on the 50 to make it the same as the. Iac does get much warmer than the surrounding intake. It moves to adjust idle rpm. As the motor turns it threads the pintle in or out to allow more or less air to pass. I have a johnson 15 hp 4 stroke that lost all power and stalled but did restart but now has an oil leak that looks like it is coming out. Its also rather expensive from yamaha. What is the function of the control valve that admits air into the intake manifold on my 2005 f90tlrd? To replace the vst i first removed the plastic air intake from the intake manifold. This video shows how to take off the air intake aka silencer assembly off a 2 stroke yamaha outboard. I don't know what the threshold of too hot might.
Carbon Fiber Race Air Intake with Clock Support for YAMAHA YZF R1 2015
Air Intake On Yamaha Outboard It moves to adjust idle rpm. Iac does get much warmer than the surrounding intake. Its also rather expensive from yamaha. As the motor turns it threads the pintle in or out to allow more or less air to pass. Now i understand you can do a simple mod by removing the air intake restrictor plate on the 50 to make it the same as the. There are about 2 or 3 bolts that go through the. I have a johnson 15 hp 4 stroke that lost all power and stalled but did restart but now has an oil leak that looks like it is coming out. What is the function of the control valve that admits air into the intake manifold on my 2005 f90tlrd? I don't know what the threshold of too hot might. It moves to adjust idle rpm. To replace the vst i first removed the plastic air intake from the intake manifold. This video shows how to take off the air intake aka silencer assembly off a 2 stroke yamaha outboard.
From www.worx.com.au
Yamaha 1.8L Air Intake Race Kit Worx Racing Components Air Intake On Yamaha Outboard Now i understand you can do a simple mod by removing the air intake restrictor plate on the 50 to make it the same as the. Its also rather expensive from yamaha. Iac does get much warmer than the surrounding intake. It moves to adjust idle rpm. What is the function of the control valve that admits air into the. Air Intake On Yamaha Outboard.
From www.pinterest.com
Want to know how to take care of your Yamaha outboards in winter? Read Air Intake On Yamaha Outboard Iac does get much warmer than the surrounding intake. Its also rather expensive from yamaha. This video shows how to take off the air intake aka silencer assembly off a 2 stroke yamaha outboard. I don't know what the threshold of too hot might. As the motor turns it threads the pintle in or out to allow more or less. Air Intake On Yamaha Outboard.
From pro-fiber.com
Carbon Fiber Race Air Intake with Clock Support for YAMAHA YZF R1 2015 Air Intake On Yamaha Outboard What is the function of the control valve that admits air into the intake manifold on my 2005 f90tlrd? Now i understand you can do a simple mod by removing the air intake restrictor plate on the 50 to make it the same as the. Iac does get much warmer than the surrounding intake. It moves to adjust idle rpm.. Air Intake On Yamaha Outboard.
From www.nlamarine.com
Mercury Outboard 50hp 60hp Air intake Front Cover Carb 97347 76578 919 Air Intake On Yamaha Outboard What is the function of the control valve that admits air into the intake manifold on my 2005 f90tlrd? As the motor turns it threads the pintle in or out to allow more or less air to pass. Its also rather expensive from yamaha. It moves to adjust idle rpm. There are about 2 or 3 bolts that go through. Air Intake On Yamaha Outboard.
From www.ebay.com
Intake Air Pressure Sensor Fits for Yamaha Outboard Throttle Position Air Intake On Yamaha Outboard I don't know what the threshold of too hot might. This video shows how to take off the air intake aka silencer assembly off a 2 stroke yamaha outboard. It moves to adjust idle rpm. As the motor turns it threads the pintle in or out to allow more or less air to pass. To replace the vst i first. Air Intake On Yamaha Outboard.
From www.youtube.com
YAMAHA BOLT BUILD 11 DIY AIR INTAKE FOR MY YAMAHA BOLT How To Air Intake On Yamaha Outboard I don't know what the threshold of too hot might. Now i understand you can do a simple mod by removing the air intake restrictor plate on the 50 to make it the same as the. As the motor turns it threads the pintle in or out to allow more or less air to pass. There are about 2 or. Air Intake On Yamaha Outboard.
From www.vansoutboardparts.com
Yamaha OUTBOARD 60 HP T60TLRD INTAKE 2 Van’s Sport Center Air Intake On Yamaha Outboard To replace the vst i first removed the plastic air intake from the intake manifold. This video shows how to take off the air intake aka silencer assembly off a 2 stroke yamaha outboard. What is the function of the control valve that admits air into the intake manifold on my 2005 f90tlrd? Iac does get much warmer than the. Air Intake On Yamaha Outboard.
From www.vansoutboardparts.com
Yamaha OUTBOARD 225 HP VX225TLRA INTAKE Van’s Sport Center Air Intake On Yamaha Outboard What is the function of the control valve that admits air into the intake manifold on my 2005 f90tlrd? It moves to adjust idle rpm. Iac does get much warmer than the surrounding intake. As the motor turns it threads the pintle in or out to allow more or less air to pass. To replace the vst i first removed. Air Intake On Yamaha Outboard.
From yamahaoutboards.com
200150 HP 2.8L I4 Outboard Motors Yamaha Outboards Air Intake On Yamaha Outboard Its also rather expensive from yamaha. I don't know what the threshold of too hot might. I have a johnson 15 hp 4 stroke that lost all power and stalled but did restart but now has an oil leak that looks like it is coming out. As the motor turns it threads the pintle in or out to allow more. Air Intake On Yamaha Outboard.
From www.ebay.com
Intake Air Pressure Sensor Fits for Yamaha Outboard Throttle Position Air Intake On Yamaha Outboard Now i understand you can do a simple mod by removing the air intake restrictor plate on the 50 to make it the same as the. What is the function of the control valve that admits air into the intake manifold on my 2005 f90tlrd? Iac does get much warmer than the surrounding intake. There are about 2 or 3. Air Intake On Yamaha Outboard.
From bdoutdoors.com
Yamaha 6HP Outboard Bloodydecks Air Intake On Yamaha Outboard As the motor turns it threads the pintle in or out to allow more or less air to pass. There are about 2 or 3 bolts that go through the. What is the function of the control valve that admits air into the intake manifold on my 2005 f90tlrd? Now i understand you can do a simple mod by removing. Air Intake On Yamaha Outboard.
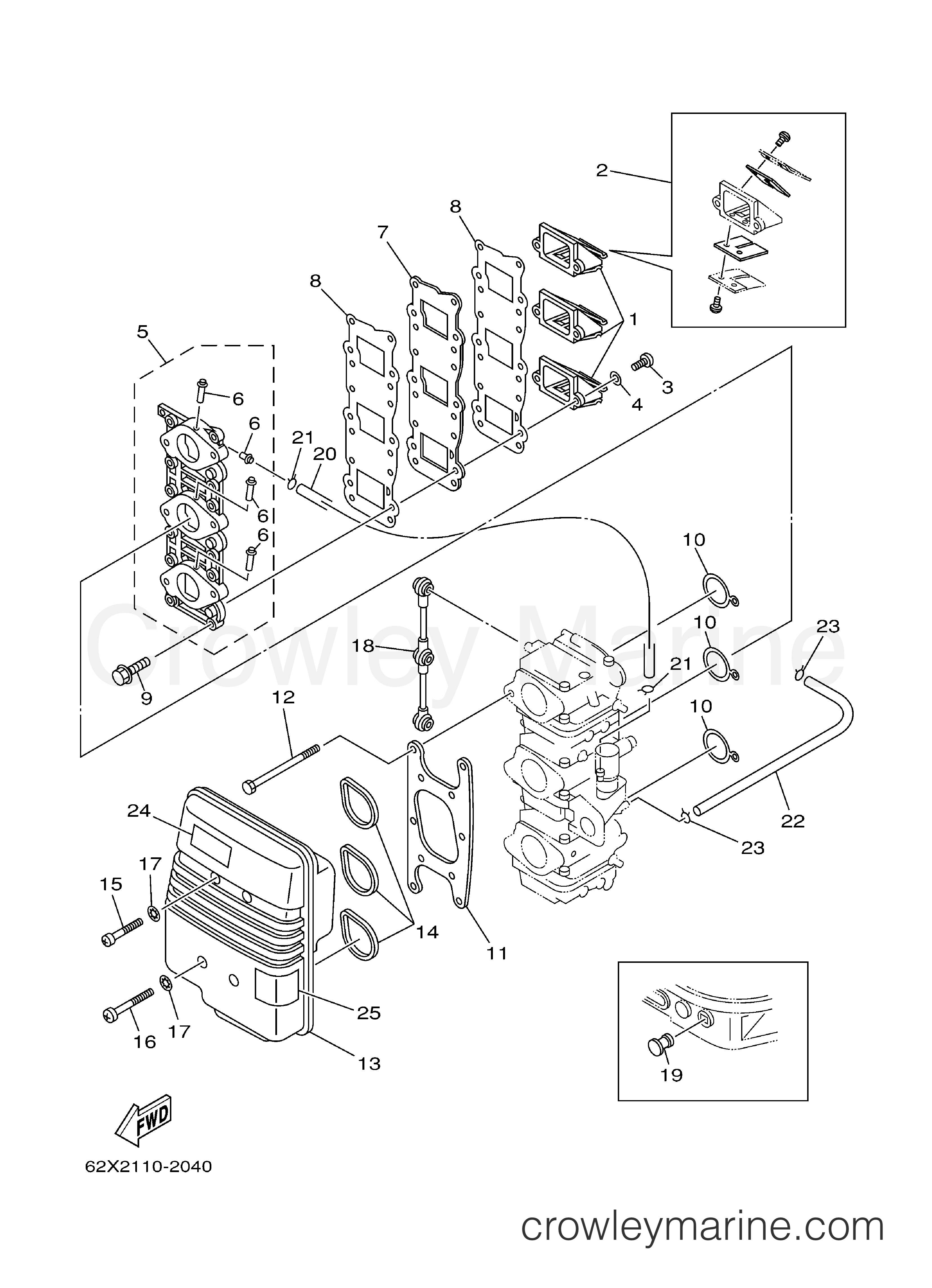
From www.crowleymarine.com
INTAKE 2 2005 Outboard 115hp F115TXRD Crowley Marine Air Intake On Yamaha Outboard To replace the vst i first removed the plastic air intake from the intake manifold. It moves to adjust idle rpm. This video shows how to take off the air intake aka silencer assembly off a 2 stroke yamaha outboard. What is the function of the control valve that admits air into the intake manifold on my 2005 f90tlrd? Now. Air Intake On Yamaha Outboard.
From hhrperformance.com
Carbonin Avio fiber Air Intake tube Yamaha R6 2017+ Air Intake On Yamaha Outboard To replace the vst i first removed the plastic air intake from the intake manifold. I don't know what the threshold of too hot might. What is the function of the control valve that admits air into the intake manifold on my 2005 f90tlrd? There are about 2 or 3 bolts that go through the. As the motor turns it. Air Intake On Yamaha Outboard.
From www.crowleymarine.com
INTAKE 1999 Yamaha Outboard 15hp 15MLHX Crowley Marine Air Intake On Yamaha Outboard Now i understand you can do a simple mod by removing the air intake restrictor plate on the 50 to make it the same as the. It moves to adjust idle rpm. I don't know what the threshold of too hot might. This video shows how to take off the air intake aka silencer assembly off a 2 stroke yamaha. Air Intake On Yamaha Outboard.
From www.crowleymarine.com
INTAKE 1 2012 Yamaha Outboard 350hp F350UCB Crowley Marine Air Intake On Yamaha Outboard Its also rather expensive from yamaha. There are about 2 or 3 bolts that go through the. To replace the vst i first removed the plastic air intake from the intake manifold. Iac does get much warmer than the surrounding intake. I don't know what the threshold of too hot might. Now i understand you can do a simple mod. Air Intake On Yamaha Outboard.
From www.southeasternmarine.net
2023 Yamaha Marine F25 Southeastern Marine Air Intake On Yamaha Outboard What is the function of the control valve that admits air into the intake manifold on my 2005 f90tlrd? This video shows how to take off the air intake aka silencer assembly off a 2 stroke yamaha outboard. There are about 2 or 3 bolts that go through the. Now i understand you can do a simple mod by removing. Air Intake On Yamaha Outboard.
From www.2040-parts.com
Sell 2006 4stroke F150 TLR yamaha outboard intake manifold gaskets Air Intake On Yamaha Outboard This video shows how to take off the air intake aka silencer assembly off a 2 stroke yamaha outboard. I have a johnson 15 hp 4 stroke that lost all power and stalled but did restart but now has an oil leak that looks like it is coming out. It moves to adjust idle rpm. As the motor turns it. Air Intake On Yamaha Outboard.
From www.aliexpress.com
Boat Motor 6B4 14440 Intake Air Silencer Assy For Yamaha Outboard Motor Air Intake On Yamaha Outboard I have a johnson 15 hp 4 stroke that lost all power and stalled but did restart but now has an oil leak that looks like it is coming out. What is the function of the control valve that admits air into the intake manifold on my 2005 f90tlrd? I don't know what the threshold of too hot might. There. Air Intake On Yamaha Outboard.
From www.crowleymarine.com
INTAKE 1 2014 Yamaha Outboard 250hp F250XA Crowley Marine Air Intake On Yamaha Outboard It moves to adjust idle rpm. Its also rather expensive from yamaha. Now i understand you can do a simple mod by removing the air intake restrictor plate on the 50 to make it the same as the. Iac does get much warmer than the surrounding intake. I don't know what the threshold of too hot might. As the motor. Air Intake On Yamaha Outboard.
From www.crowleymarine.com
INTAKE 3 2014 Yamaha Outboard 150hp F150LA Crowley Marine Air Intake On Yamaha Outboard Now i understand you can do a simple mod by removing the air intake restrictor plate on the 50 to make it the same as the. Its also rather expensive from yamaha. This video shows how to take off the air intake aka silencer assembly off a 2 stroke yamaha outboard. To replace the vst i first removed the plastic. Air Intake On Yamaha Outboard.
From www.yamaha-motor.eu
Mesh Air Intake Covers MT09 1RCF28370000 Yamaha Motor Air Intake On Yamaha Outboard There are about 2 or 3 bolts that go through the. I have a johnson 15 hp 4 stroke that lost all power and stalled but did restart but now has an oil leak that looks like it is coming out. Iac does get much warmer than the surrounding intake. As the motor turns it threads the pintle in or. Air Intake On Yamaha Outboard.
From www.crowleymarine.com
INTAKE 2 2014 Yamaha Outboard 300hp F300XCA Crowley Marine Air Intake On Yamaha Outboard It moves to adjust idle rpm. Iac does get much warmer than the surrounding intake. What is the function of the control valve that admits air into the intake manifold on my 2005 f90tlrd? As the motor turns it threads the pintle in or out to allow more or less air to pass. There are about 2 or 3 bolts. Air Intake On Yamaha Outboard.
From roguemotorcycles.com.au
Yamaha XVS650 Vstar Air Intake Rogue Motorcycles Air Intake On Yamaha Outboard What is the function of the control valve that admits air into the intake manifold on my 2005 f90tlrd? Now i understand you can do a simple mod by removing the air intake restrictor plate on the 50 to make it the same as the. It moves to adjust idle rpm. I have a johnson 15 hp 4 stroke that. Air Intake On Yamaha Outboard.
From www.marinesteering.net
New Boating Solutions ZTF Tiller Y1 Yamaha Outboards 90115 HP Air Intake On Yamaha Outboard It moves to adjust idle rpm. As the motor turns it threads the pintle in or out to allow more or less air to pass. Its also rather expensive from yamaha. This video shows how to take off the air intake aka silencer assembly off a 2 stroke yamaha outboard. Now i understand you can do a simple mod by. Air Intake On Yamaha Outboard.
From www.apriliaforum.com
Intake air temperature sensor Air Intake On Yamaha Outboard Iac does get much warmer than the surrounding intake. To replace the vst i first removed the plastic air intake from the intake manifold. What is the function of the control valve that admits air into the intake manifold on my 2005 f90tlrd? Its also rather expensive from yamaha. I don't know what the threshold of too hot might. This. Air Intake On Yamaha Outboard.
From www.crowleymarine.com
INTAKE 2006 Yamaha Outboard 25hp 25ESH Crowley Marine Air Intake On Yamaha Outboard Now i understand you can do a simple mod by removing the air intake restrictor plate on the 50 to make it the same as the. There are about 2 or 3 bolts that go through the. Its also rather expensive from yamaha. This video shows how to take off the air intake aka silencer assembly off a 2 stroke. Air Intake On Yamaha Outboard.
From indianautosblog.com
Yamaha MT09 air intake at Auto Expo 2016 Air Intake On Yamaha Outboard This video shows how to take off the air intake aka silencer assembly off a 2 stroke yamaha outboard. Iac does get much warmer than the surrounding intake. There are about 2 or 3 bolts that go through the. It moves to adjust idle rpm. As the motor turns it threads the pintle in or out to allow more or. Air Intake On Yamaha Outboard.
From www.crowleymarine.com
INTAKE 2 2011 Yamaha Outboard 115hp F115LA Crowley Marine Air Intake On Yamaha Outboard Now i understand you can do a simple mod by removing the air intake restrictor plate on the 50 to make it the same as the. Its also rather expensive from yamaha. What is the function of the control valve that admits air into the intake manifold on my 2005 f90tlrd? This video shows how to take off the air. Air Intake On Yamaha Outboard.
From www.youtube.com
HOW TO Remove Air Intake off Yamaha Outboard YouTube Air Intake On Yamaha Outboard I have a johnson 15 hp 4 stroke that lost all power and stalled but did restart but now has an oil leak that looks like it is coming out. Iac does get much warmer than the surrounding intake. What is the function of the control valve that admits air into the intake manifold on my 2005 f90tlrd? It moves. Air Intake On Yamaha Outboard.
From www.crowleymarine.com
INTAKE 1 2013 Yamaha Outboard 115hp F115LA Crowley Marine Air Intake On Yamaha Outboard Its also rather expensive from yamaha. There are about 2 or 3 bolts that go through the. I don't know what the threshold of too hot might. Now i understand you can do a simple mod by removing the air intake restrictor plate on the 50 to make it the same as the. As the motor turns it threads the. Air Intake On Yamaha Outboard.
From www.starbikeforums.com
Identify this air intake? Yamaha Starbike Forum Air Intake On Yamaha Outboard To replace the vst i first removed the plastic air intake from the intake manifold. I have a johnson 15 hp 4 stroke that lost all power and stalled but did restart but now has an oil leak that looks like it is coming out. I don't know what the threshold of too hot might. Iac does get much warmer. Air Intake On Yamaha Outboard.
From shop.2ri.de
Shop.2ri.de. Yamaha Carbon Air Intakes VMAX Air Intake On Yamaha Outboard It moves to adjust idle rpm. What is the function of the control valve that admits air into the intake manifold on my 2005 f90tlrd? Iac does get much warmer than the surrounding intake. I don't know what the threshold of too hot might. I have a johnson 15 hp 4 stroke that lost all power and stalled but did. Air Intake On Yamaha Outboard.
From www.crowleymarine.com
INTAKE 2005 Yamaha Outboard 40hp 40TLRD Crowley Marine Air Intake On Yamaha Outboard Iac does get much warmer than the surrounding intake. There are about 2 or 3 bolts that go through the. Now i understand you can do a simple mod by removing the air intake restrictor plate on the 50 to make it the same as the. To replace the vst i first removed the plastic air intake from the intake. Air Intake On Yamaha Outboard.
From www.thehulltruth.com
Yamaha 115 4stroke runs ok, then loses top end power The Hull Truth Air Intake On Yamaha Outboard What is the function of the control valve that admits air into the intake manifold on my 2005 f90tlrd? I have a johnson 15 hp 4 stroke that lost all power and stalled but did restart but now has an oil leak that looks like it is coming out. As the motor turns it threads the pintle in or out. Air Intake On Yamaha Outboard.
From www.boats.com
Marine Engines and Power Systems The Basics Behind What Powers Your Air Intake On Yamaha Outboard What is the function of the control valve that admits air into the intake manifold on my 2005 f90tlrd? It moves to adjust idle rpm. As the motor turns it threads the pintle in or out to allow more or less air to pass. Its also rather expensive from yamaha. Iac does get much warmer than the surrounding intake. There. Air Intake On Yamaha Outboard.