Auto Dimmer Circuit . 1.8k views 10 months ago. It then describes the circuit components used, including an ne555 timer ic,. Automatic headlight intensity control for vehicles | automatic headlight dimmer circuit diagram | automatic car headlights turn off. It includes an introduction describing the need for automatic headlight dimmers in vehicles. You'll make an automatic dimmer for an led. Apart from sensors, you'll also learn how to control the brightness of an led. In this article we learn how to design and build a circuit to control the brightness of our led strip lights. Learn the basics of an led brightness dimmer controller. Modify ac dimmer to the automatic lighting.
from www.seekic.com
You'll make an automatic dimmer for an led. It includes an introduction describing the need for automatic headlight dimmers in vehicles. Modify ac dimmer to the automatic lighting. Apart from sensors, you'll also learn how to control the brightness of an led. It then describes the circuit components used, including an ne555 timer ic,. In this article we learn how to design and build a circuit to control the brightness of our led strip lights. Automatic headlight intensity control for vehicles | automatic headlight dimmer circuit diagram | automatic car headlights turn off. Learn the basics of an led brightness dimmer controller. 1.8k views 10 months ago.
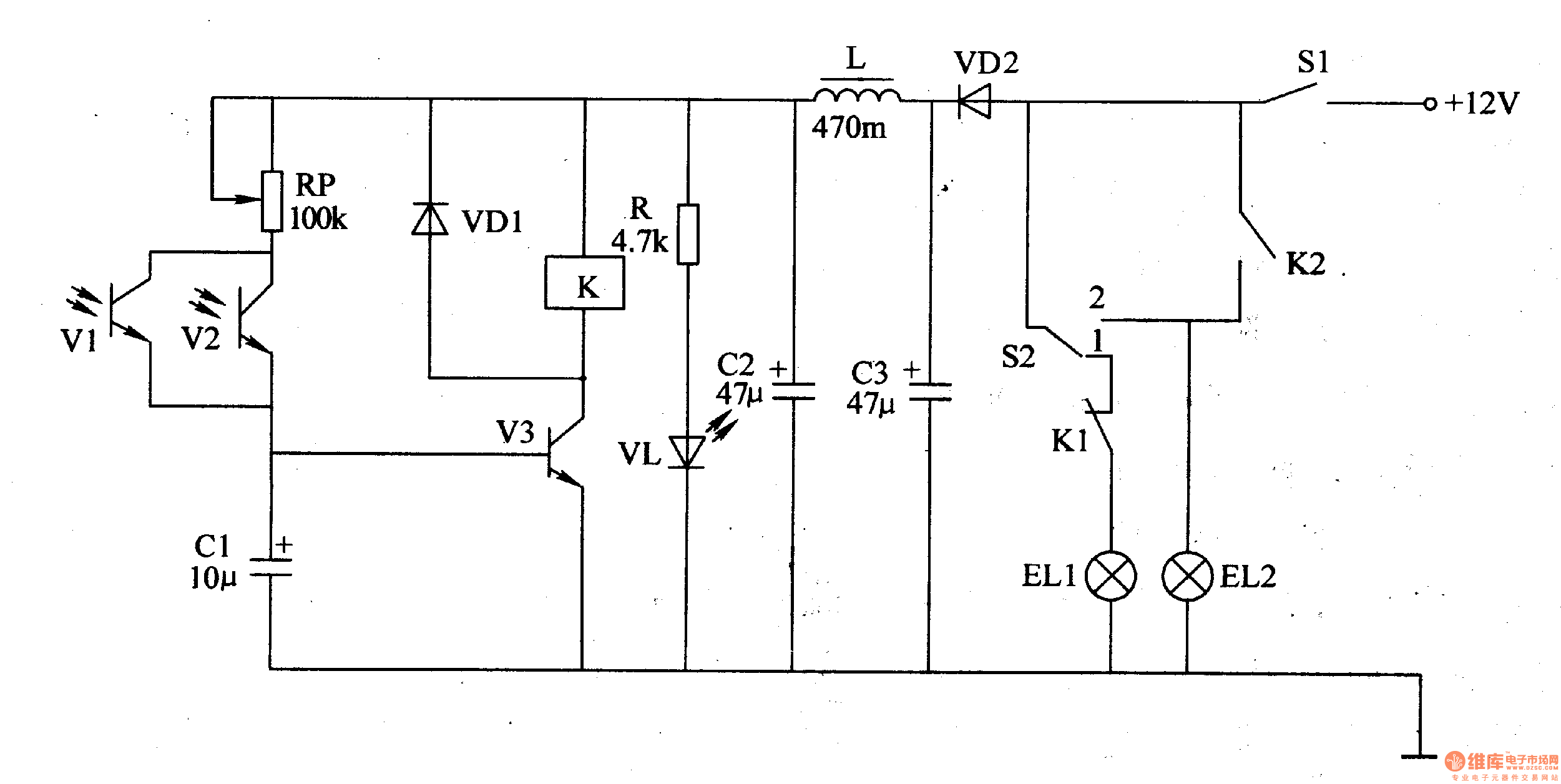
Autodimming lamp LED_and_Light_Circuit Circuit Diagram
Auto Dimmer Circuit In this article we learn how to design and build a circuit to control the brightness of our led strip lights. Apart from sensors, you'll also learn how to control the brightness of an led. It includes an introduction describing the need for automatic headlight dimmers in vehicles. Modify ac dimmer to the automatic lighting. Learn the basics of an led brightness dimmer controller. In this article we learn how to design and build a circuit to control the brightness of our led strip lights. You'll make an automatic dimmer for an led. Automatic headlight intensity control for vehicles | automatic headlight dimmer circuit diagram | automatic car headlights turn off. 1.8k views 10 months ago. It then describes the circuit components used, including an ne555 timer ic,.
From www.circuitdiagram.co
dimmer circuit diagram Circuit Diagram Auto Dimmer Circuit In this article we learn how to design and build a circuit to control the brightness of our led strip lights. Apart from sensors, you'll also learn how to control the brightness of an led. Learn the basics of an led brightness dimmer controller. 1.8k views 10 months ago. It includes an introduction describing the need for automatic headlight dimmers. Auto Dimmer Circuit.
From circuitsgarage.blogspot.com
Light dimmer circuit using DIAC and TRIAC Circuits Garage Auto Dimmer Circuit Automatic headlight intensity control for vehicles | automatic headlight dimmer circuit diagram | automatic car headlights turn off. Apart from sensors, you'll also learn how to control the brightness of an led. 1.8k views 10 months ago. In this article we learn how to design and build a circuit to control the brightness of our led strip lights. It includes. Auto Dimmer Circuit.
From lisha.ufsc.br
Automatic Light Dimmer Auto Dimmer Circuit 1.8k views 10 months ago. Modify ac dimmer to the automatic lighting. You'll make an automatic dimmer for an led. Learn the basics of an led brightness dimmer controller. In this article we learn how to design and build a circuit to control the brightness of our led strip lights. It then describes the circuit components used, including an ne555. Auto Dimmer Circuit.
From rayneautomotivehelp.freshdesk.com
Wiring & installing a CBE dimmer switch Rayne Automotive Auto Dimmer Circuit It includes an introduction describing the need for automatic headlight dimmers in vehicles. Modify ac dimmer to the automatic lighting. It then describes the circuit components used, including an ne555 timer ic,. 1.8k views 10 months ago. Apart from sensors, you'll also learn how to control the brightness of an led. Automatic headlight intensity control for vehicles | automatic headlight. Auto Dimmer Circuit.
From schematicdiagramhuber.z19.web.core.windows.net
Automatic Light Dimmer Circuit Diagram Auto Dimmer Circuit You'll make an automatic dimmer for an led. Modify ac dimmer to the automatic lighting. It includes an introduction describing the need for automatic headlight dimmers in vehicles. Learn the basics of an led brightness dimmer controller. Automatic headlight intensity control for vehicles | automatic headlight dimmer circuit diagram | automatic car headlights turn off. In this article we learn. Auto Dimmer Circuit.
From www.circuits-diy.com
LED Dimmer Circuit with IRFZ44N MOSFET Auto Dimmer Circuit Learn the basics of an led brightness dimmer controller. It then describes the circuit components used, including an ne555 timer ic,. You'll make an automatic dimmer for an led. Modify ac dimmer to the automatic lighting. Apart from sensors, you'll also learn how to control the brightness of an led. 1.8k views 10 months ago. It includes an introduction describing. Auto Dimmer Circuit.
From www.youtube.com
LED strip dimmer circuit using 555 ic PWM LED dimmer YouTube Auto Dimmer Circuit Learn the basics of an led brightness dimmer controller. Apart from sensors, you'll also learn how to control the brightness of an led. It then describes the circuit components used, including an ne555 timer ic,. In this article we learn how to design and build a circuit to control the brightness of our led strip lights. 1.8k views 10 months. Auto Dimmer Circuit.
From www.wiringview.co
12v Dc Dimmer Circuit Diagram Pdf Wiring View and Schematics Diagram Auto Dimmer Circuit In this article we learn how to design and build a circuit to control the brightness of our led strip lights. 1.8k views 10 months ago. Apart from sensors, you'll also learn how to control the brightness of an led. You'll make an automatic dimmer for an led. It then describes the circuit components used, including an ne555 timer ic,.. Auto Dimmer Circuit.
From www.etechnog.com
Dimmer Switch Wiring Diagram Single Pole( 2 Way), 3 Way ETechnoG Auto Dimmer Circuit Modify ac dimmer to the automatic lighting. It then describes the circuit components used, including an ne555 timer ic,. It includes an introduction describing the need for automatic headlight dimmers in vehicles. You'll make an automatic dimmer for an led. Learn the basics of an led brightness dimmer controller. 1.8k views 10 months ago. Automatic headlight intensity control for vehicles. Auto Dimmer Circuit.
From www.seekic.com
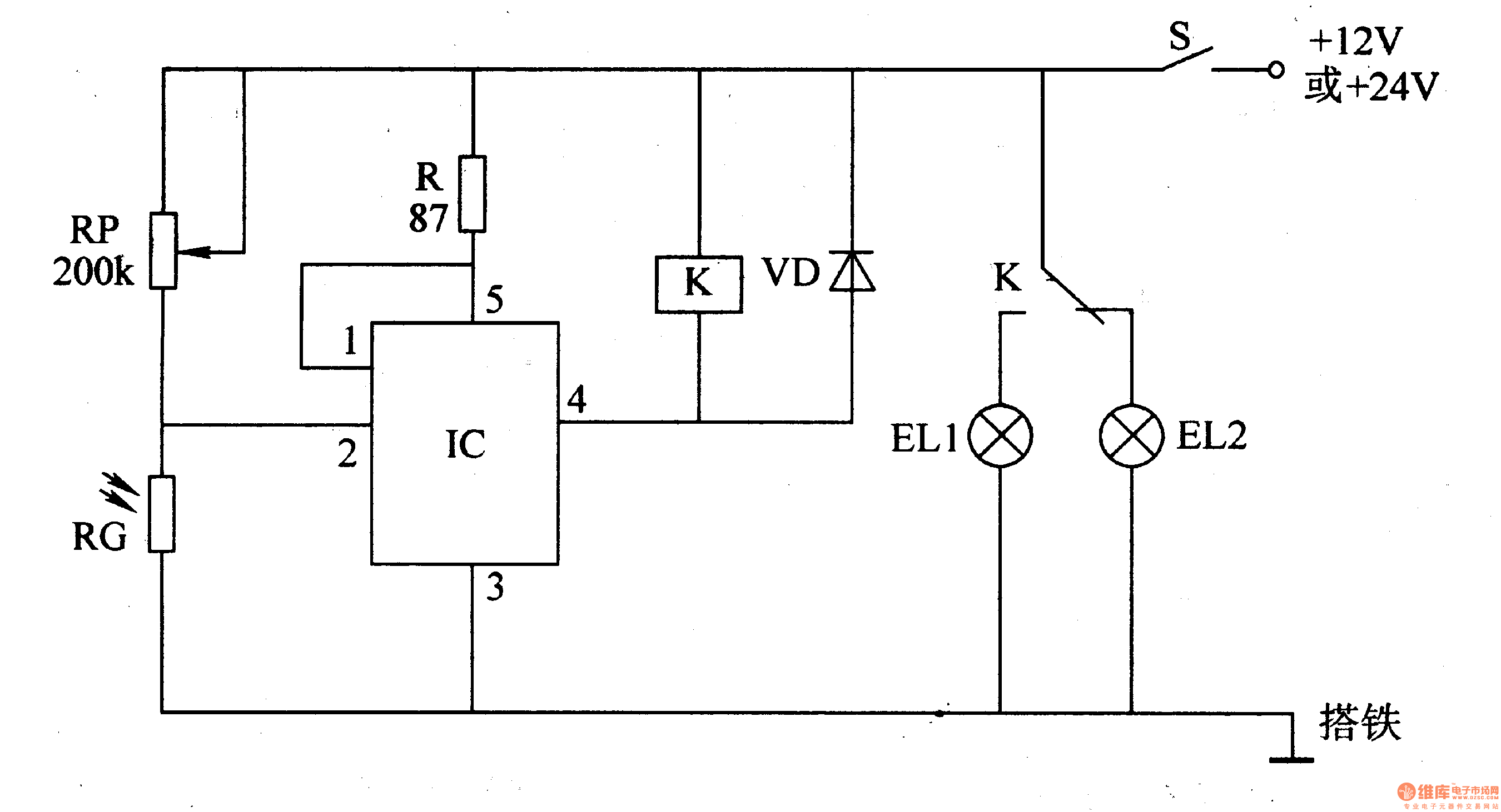
The motor vehicle headlight autodimming controller 6 Light_Control Auto Dimmer Circuit Learn the basics of an led brightness dimmer controller. 1.8k views 10 months ago. Apart from sensors, you'll also learn how to control the brightness of an led. Automatic headlight intensity control for vehicles | automatic headlight dimmer circuit diagram | automatic car headlights turn off. In this article we learn how to design and build a circuit to control. Auto Dimmer Circuit.
From www.circuitdiagram.co
circuit diagram of light dimmer using triac Circuit Diagram Auto Dimmer Circuit It includes an introduction describing the need for automatic headlight dimmers in vehicles. You'll make an automatic dimmer for an led. Modify ac dimmer to the automatic lighting. 1.8k views 10 months ago. Learn the basics of an led brightness dimmer controller. Apart from sensors, you'll also learn how to control the brightness of an led. Automatic headlight intensity control. Auto Dimmer Circuit.
From www.seekic.com
The motor vehicle headlight autodimming controller 5 Light_Control Auto Dimmer Circuit Apart from sensors, you'll also learn how to control the brightness of an led. Modify ac dimmer to the automatic lighting. 1.8k views 10 months ago. You'll make an automatic dimmer for an led. Automatic headlight intensity control for vehicles | automatic headlight dimmer circuit diagram | automatic car headlights turn off. Learn the basics of an led brightness dimmer. Auto Dimmer Circuit.
From www.circuitdiagram.co
Automatic Headlight Dimmer Circuit Diagram Circuit Diagram Auto Dimmer Circuit It then describes the circuit components used, including an ne555 timer ic,. It includes an introduction describing the need for automatic headlight dimmers in vehicles. Automatic headlight intensity control for vehicles | automatic headlight dimmer circuit diagram | automatic car headlights turn off. Learn the basics of an led brightness dimmer controller. 1.8k views 10 months ago. Apart from sensors,. Auto Dimmer Circuit.
From diagrampartimbowering.z19.web.core.windows.net
Automatic Light Dimmer Circuit Diagram Auto Dimmer Circuit 1.8k views 10 months ago. Automatic headlight intensity control for vehicles | automatic headlight dimmer circuit diagram | automatic car headlights turn off. In this article we learn how to design and build a circuit to control the brightness of our led strip lights. It includes an introduction describing the need for automatic headlight dimmers in vehicles. Modify ac dimmer. Auto Dimmer Circuit.
From www.eleccircuit.com
Super AC dimmer using IC555& triac Electronic projects circuits Auto Dimmer Circuit 1.8k views 10 months ago. Automatic headlight intensity control for vehicles | automatic headlight dimmer circuit diagram | automatic car headlights turn off. You'll make an automatic dimmer for an led. In this article we learn how to design and build a circuit to control the brightness of our led strip lights. It includes an introduction describing the need for. Auto Dimmer Circuit.
From circuitdiagrams.in
AC Dimmer Circuit Using TRIAC Auto Dimmer Circuit Learn the basics of an led brightness dimmer controller. In this article we learn how to design and build a circuit to control the brightness of our led strip lights. 1.8k views 10 months ago. Automatic headlight intensity control for vehicles | automatic headlight dimmer circuit diagram | automatic car headlights turn off. It then describes the circuit components used,. Auto Dimmer Circuit.
From www.seekic.com
The motor vehicle headlight autodimming controller 7 Light_Control Auto Dimmer Circuit 1.8k views 10 months ago. You'll make an automatic dimmer for an led. Learn the basics of an led brightness dimmer controller. Automatic headlight intensity control for vehicles | automatic headlight dimmer circuit diagram | automatic car headlights turn off. It then describes the circuit components used, including an ne555 timer ic,. Apart from sensors, you'll also learn how to. Auto Dimmer Circuit.
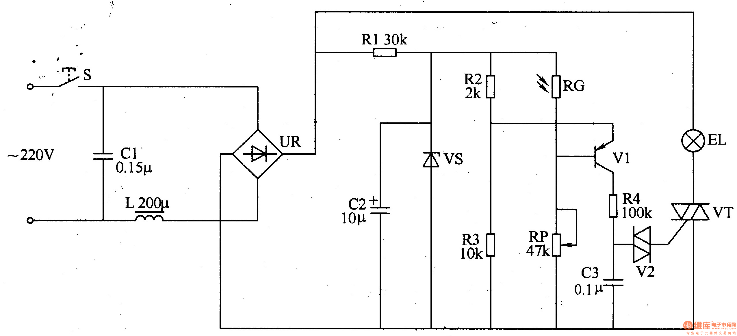
From www.homemade-circuits.com
Automatic Vehicle Headlight Dipper/Dimmer Circuit Homemade Circuit Auto Dimmer Circuit In this article we learn how to design and build a circuit to control the brightness of our led strip lights. Apart from sensors, you'll also learn how to control the brightness of an led. 1.8k views 10 months ago. It then describes the circuit components used, including an ne555 timer ic,. You'll make an automatic dimmer for an led.. Auto Dimmer Circuit.
From schematron.org
010v Dimmer Wiring Diagram Auto Dimmer Circuit It then describes the circuit components used, including an ne555 timer ic,. Automatic headlight intensity control for vehicles | automatic headlight dimmer circuit diagram | automatic car headlights turn off. In this article we learn how to design and build a circuit to control the brightness of our led strip lights. 1.8k views 10 months ago. It includes an introduction. Auto Dimmer Circuit.
From elonics.org
LED Dimmer and DC Motor Speed Controller Circuit Using PWM Technique Auto Dimmer Circuit In this article we learn how to design and build a circuit to control the brightness of our led strip lights. Learn the basics of an led brightness dimmer controller. It then describes the circuit components used, including an ne555 timer ic,. You'll make an automatic dimmer for an led. Automatic headlight intensity control for vehicles | automatic headlight dimmer. Auto Dimmer Circuit.
From simple-circuit.com
220V Light dimmer with Arduino Lamp brightness control Auto Dimmer Circuit You'll make an automatic dimmer for an led. In this article we learn how to design and build a circuit to control the brightness of our led strip lights. 1.8k views 10 months ago. Automatic headlight intensity control for vehicles | automatic headlight dimmer circuit diagram | automatic car headlights turn off. Learn the basics of an led brightness dimmer. Auto Dimmer Circuit.
From diagramwiringmauer.z19.web.core.windows.net
Automatic Headlight Dimmer Circuit Diagram Auto Dimmer Circuit It then describes the circuit components used, including an ne555 timer ic,. Learn the basics of an led brightness dimmer controller. In this article we learn how to design and build a circuit to control the brightness of our led strip lights. 1.8k views 10 months ago. It includes an introduction describing the need for automatic headlight dimmers in vehicles.. Auto Dimmer Circuit.
From www.eleccircuit.com
Dimmer circuit using SCR TRIAC Auto Dimmer Circuit Automatic headlight intensity control for vehicles | automatic headlight dimmer circuit diagram | automatic car headlights turn off. Learn the basics of an led brightness dimmer controller. It includes an introduction describing the need for automatic headlight dimmers in vehicles. You'll make an automatic dimmer for an led. Apart from sensors, you'll also learn how to control the brightness of. Auto Dimmer Circuit.
From hobbyelectroniccircuit.blogspot.com
Hobby Electronic Circuits Automatic Vehicle Headlight Dipper/Dimmer Auto Dimmer Circuit In this article we learn how to design and build a circuit to control the brightness of our led strip lights. You'll make an automatic dimmer for an led. 1.8k views 10 months ago. Automatic headlight intensity control for vehicles | automatic headlight dimmer circuit diagram | automatic car headlights turn off. It includes an introduction describing the need for. Auto Dimmer Circuit.
From 2020cadillac.com
Car Dimmer Switch Wiring Wiring Diagrams Click Headlight Switch Auto Dimmer Circuit It then describes the circuit components used, including an ne555 timer ic,. Automatic headlight intensity control for vehicles | automatic headlight dimmer circuit diagram | automatic car headlights turn off. Learn the basics of an led brightness dimmer controller. 1.8k views 10 months ago. Modify ac dimmer to the automatic lighting. In this article we learn how to design and. Auto Dimmer Circuit.
From schematiclistmoller.z19.web.core.windows.net
Wiring A 3way Switch With A Dimmer Auto Dimmer Circuit It includes an introduction describing the need for automatic headlight dimmers in vehicles. Automatic headlight intensity control for vehicles | automatic headlight dimmer circuit diagram | automatic car headlights turn off. It then describes the circuit components used, including an ne555 timer ic,. Apart from sensors, you'll also learn how to control the brightness of an led. Learn the basics. Auto Dimmer Circuit.
From www.eleccircuit.com
Dimmer circuit using SCR TRIAC Auto Dimmer Circuit It includes an introduction describing the need for automatic headlight dimmers in vehicles. 1.8k views 10 months ago. Automatic headlight intensity control for vehicles | automatic headlight dimmer circuit diagram | automatic car headlights turn off. Modify ac dimmer to the automatic lighting. Learn the basics of an led brightness dimmer controller. It then describes the circuit components used, including. Auto Dimmer Circuit.
From www.circuits-diy.com
LED Dimmer Circuit with 555 Timer Auto Dimmer Circuit You'll make an automatic dimmer for an led. 1.8k views 10 months ago. It includes an introduction describing the need for automatic headlight dimmers in vehicles. It then describes the circuit components used, including an ne555 timer ic,. Apart from sensors, you'll also learn how to control the brightness of an led. Automatic headlight intensity control for vehicles | automatic. Auto Dimmer Circuit.
From tronicspro.com
Automatic Light Dimmer Circuit Diagram TRONICSpro Auto Dimmer Circuit 1.8k views 10 months ago. It includes an introduction describing the need for automatic headlight dimmers in vehicles. Modify ac dimmer to the automatic lighting. In this article we learn how to design and build a circuit to control the brightness of our led strip lights. Learn the basics of an led brightness dimmer controller. You'll make an automatic dimmer. Auto Dimmer Circuit.
From www.seekic.com
Autodimming lamp LED_and_Light_Circuit Circuit Diagram Auto Dimmer Circuit 1.8k views 10 months ago. It includes an introduction describing the need for automatic headlight dimmers in vehicles. You'll make an automatic dimmer for an led. Learn the basics of an led brightness dimmer controller. Automatic headlight intensity control for vehicles | automatic headlight dimmer circuit diagram | automatic car headlights turn off. Apart from sensors, you'll also learn how. Auto Dimmer Circuit.
From www.circuits-diy.com
LED Dimmer Circuit with 555 Timer Auto Dimmer Circuit It then describes the circuit components used, including an ne555 timer ic,. In this article we learn how to design and build a circuit to control the brightness of our led strip lights. You'll make an automatic dimmer for an led. Apart from sensors, you'll also learn how to control the brightness of an led. Learn the basics of an. Auto Dimmer Circuit.
From www.youtube.com
How To Make Light Dimmer Circuit 220V AC ( using BTA24 Triac ) YouTube Auto Dimmer Circuit It includes an introduction describing the need for automatic headlight dimmers in vehicles. Learn the basics of an led brightness dimmer controller. In this article we learn how to design and build a circuit to control the brightness of our led strip lights. It then describes the circuit components used, including an ne555 timer ic,. Apart from sensors, you'll also. Auto Dimmer Circuit.
From manualengineschweitzer.z19.web.core.windows.net
Wiring Dimmer Switch Diagram Auto Dimmer Circuit Apart from sensors, you'll also learn how to control the brightness of an led. It includes an introduction describing the need for automatic headlight dimmers in vehicles. You'll make an automatic dimmer for an led. Learn the basics of an led brightness dimmer controller. Automatic headlight intensity control for vehicles | automatic headlight dimmer circuit diagram | automatic car headlights. Auto Dimmer Circuit.
From www.circuits-diy.com
555 PWM LED Dimmer Circuit Auto Dimmer Circuit Apart from sensors, you'll also learn how to control the brightness of an led. In this article we learn how to design and build a circuit to control the brightness of our led strip lights. 1.8k views 10 months ago. It includes an introduction describing the need for automatic headlight dimmers in vehicles. You'll make an automatic dimmer for an. Auto Dimmer Circuit.
From www.eleccircuit.com
555 PWM LED dimmer circuit diagram Power Battery Saving Auto Dimmer Circuit It includes an introduction describing the need for automatic headlight dimmers in vehicles. Learn the basics of an led brightness dimmer controller. 1.8k views 10 months ago. You'll make an automatic dimmer for an led. Automatic headlight intensity control for vehicles | automatic headlight dimmer circuit diagram | automatic car headlights turn off. It then describes the circuit components used,. Auto Dimmer Circuit.