Pillow Block Pdf . That’s the basic concept behind our snc. Their design is optimized for radial loads acting in the direction of the base or the support surface. Basic structure of fbj pillow blocks 1.1. 33 rows skf pillow (plummer) block ball bearing units consist of an insert bearing mounted in a housing, which can be bolted to a support surface. With flexibility to accommodate a. Pillow block units ucp type with set screws cylindrical bore shaft dia. 12 ~ 60mm boundary dimensions (mm) 12 15 17 20. The skf assortment includes units. Fbj bearing units the fbj range of bearing units offer a wide choice of cast iron, pressed steel.
from www.kadi-global.com
Basic structure of fbj pillow blocks 1.1. Fbj bearing units the fbj range of bearing units offer a wide choice of cast iron, pressed steel. Pillow block units ucp type with set screws cylindrical bore shaft dia. With flexibility to accommodate a. 33 rows skf pillow (plummer) block ball bearing units consist of an insert bearing mounted in a housing, which can be bolted to a support surface. Their design is optimized for radial loads acting in the direction of the base or the support surface. The skf assortment includes units. 12 ~ 60mm boundary dimensions (mm) 12 15 17 20. That’s the basic concept behind our snc.
Sale Pillow Blocks
Pillow Block Pdf Fbj bearing units the fbj range of bearing units offer a wide choice of cast iron, pressed steel. With flexibility to accommodate a. 12 ~ 60mm boundary dimensions (mm) 12 15 17 20. The skf assortment includes units. Their design is optimized for radial loads acting in the direction of the base or the support surface. That’s the basic concept behind our snc. Fbj bearing units the fbj range of bearing units offer a wide choice of cast iron, pressed steel. Basic structure of fbj pillow blocks 1.1. 33 rows skf pillow (plummer) block ball bearing units consist of an insert bearing mounted in a housing, which can be bolted to a support surface. Pillow block units ucp type with set screws cylindrical bore shaft dia.
From www.lintechmotion.com
SLBOH series Open High Capacity Pillow Block Lintech Pillow Block Pdf With flexibility to accommodate a. Fbj bearing units the fbj range of bearing units offer a wide choice of cast iron, pressed steel. That’s the basic concept behind our snc. The skf assortment includes units. 33 rows skf pillow (plummer) block ball bearing units consist of an insert bearing mounted in a housing, which can be bolted to a support. Pillow Block Pdf.
From id.scribd.com
Pillow Block PDF Pillow Block Pdf With flexibility to accommodate a. Fbj bearing units the fbj range of bearing units offer a wide choice of cast iron, pressed steel. Their design is optimized for radial loads acting in the direction of the base or the support surface. Basic structure of fbj pillow blocks 1.1. That’s the basic concept behind our snc. 12 ~ 60mm boundary dimensions. Pillow Block Pdf.
From bearingfinder.ntnamericas.com
Item UCP312207D1, Pillow Block Unit, Cast Housing, Set Screw, UCP Pillow Block Pdf With flexibility to accommodate a. Pillow block units ucp type with set screws cylindrical bore shaft dia. Their design is optimized for radial loads acting in the direction of the base or the support surface. 33 rows skf pillow (plummer) block ball bearing units consist of an insert bearing mounted in a housing, which can be bolted to a support. Pillow Block Pdf.
From es.scribd.com
Procedimiento de Cambio de Pillow Block. PDF Pillow Block Pdf With flexibility to accommodate a. 12 ~ 60mm boundary dimensions (mm) 12 15 17 20. Fbj bearing units the fbj range of bearing units offer a wide choice of cast iron, pressed steel. That’s the basic concept behind our snc. Pillow block units ucp type with set screws cylindrical bore shaft dia. Basic structure of fbj pillow blocks 1.1. Their. Pillow Block Pdf.
From www.cbkbearings.com
CBK BEARINGS Pillow blocks Ball bearings Units Rolling Bearings Pillow Block Pdf Fbj bearing units the fbj range of bearing units offer a wide choice of cast iron, pressed steel. Basic structure of fbj pillow blocks 1.1. That’s the basic concept behind our snc. 12 ~ 60mm boundary dimensions (mm) 12 15 17 20. Pillow block units ucp type with set screws cylindrical bore shaft dia. 33 rows skf pillow (plummer) block. Pillow Block Pdf.
From www.lintechmotion.com
DLBC series Closed Dual Linear Bearing Pillow Blocks Lintech Pillow Block Pdf The skf assortment includes units. Fbj bearing units the fbj range of bearing units offer a wide choice of cast iron, pressed steel. That’s the basic concept behind our snc. Pillow block units ucp type with set screws cylindrical bore shaft dia. 12 ~ 60mm boundary dimensions (mm) 12 15 17 20. With flexibility to accommodate a. Basic structure of. Pillow Block Pdf.
From www.northwestbearings.co.uk
MP25 RHP 2 Bolt Cast Iron Pillow Block Unit with a 25mm Bore Pillow Block Pdf Their design is optimized for radial loads acting in the direction of the base or the support surface. That’s the basic concept behind our snc. With flexibility to accommodate a. 12 ~ 60mm boundary dimensions (mm) 12 15 17 20. Pillow block units ucp type with set screws cylindrical bore shaft dia. Basic structure of fbj pillow blocks 1.1. 33. Pillow Block Pdf.
From www.marinerbearing.com
Pillow Block Spec Sheets Mariner AllStainless Mounted Bearings Pillow Block Pdf With flexibility to accommodate a. Their design is optimized for radial loads acting in the direction of the base or the support surface. 33 rows skf pillow (plummer) block ball bearing units consist of an insert bearing mounted in a housing, which can be bolted to a support surface. That’s the basic concept behind our snc. Basic structure of fbj. Pillow Block Pdf.
From www.scribd.com
SNR SNC Pillow Block PDF Bearing (Mechanical) Engineering Tolerance Pillow Block Pdf The skf assortment includes units. That’s the basic concept behind our snc. With flexibility to accommodate a. Their design is optimized for radial loads acting in the direction of the base or the support surface. 12 ~ 60mm boundary dimensions (mm) 12 15 17 20. 33 rows skf pillow (plummer) block ball bearing units consist of an insert bearing mounted. Pillow Block Pdf.
From www.tokopedia.com
Jual Pillow Block Bearing KFL000 (10mm) Jakarta Barat 3DP Store Pillow Block Pdf Their design is optimized for radial loads acting in the direction of the base or the support surface. Fbj bearing units the fbj range of bearing units offer a wide choice of cast iron, pressed steel. Pillow block units ucp type with set screws cylindrical bore shaft dia. Basic structure of fbj pillow blocks 1.1. With flexibility to accommodate a.. Pillow Block Pdf.
From www.lintechmotion.com
SLBC series Closed Linear Bearing Pillow Blocks Lintech Pillow Block Pdf 33 rows skf pillow (plummer) block ball bearing units consist of an insert bearing mounted in a housing, which can be bolted to a support surface. Basic structure of fbj pillow blocks 1.1. Their design is optimized for radial loads acting in the direction of the base or the support surface. That’s the basic concept behind our snc. Fbj bearing. Pillow Block Pdf.
From e-learningperspectives.blogspot.com
Design 25 of Pillow Block Bearing Dimensions Chart elearningperspectives Pillow Block Pdf Their design is optimized for radial loads acting in the direction of the base or the support surface. With flexibility to accommodate a. Basic structure of fbj pillow blocks 1.1. 12 ~ 60mm boundary dimensions (mm) 12 15 17 20. The skf assortment includes units. That’s the basic concept behind our snc. Pillow block units ucp type with set screws. Pillow Block Pdf.
From www.scribd.com
PILLOW BLOCK PDF Pillow Block Pdf 33 rows skf pillow (plummer) block ball bearing units consist of an insert bearing mounted in a housing, which can be bolted to a support surface. With flexibility to accommodate a. That’s the basic concept behind our snc. Pillow block units ucp type with set screws cylindrical bore shaft dia. The skf assortment includes units. Fbj bearing units the fbj. Pillow Block Pdf.
From www.pbclinear.eu
Plain Bearing Pillow Blocks PBC Linear Europe GmbH Pillow Block Pdf Fbj bearing units the fbj range of bearing units offer a wide choice of cast iron, pressed steel. The skf assortment includes units. With flexibility to accommodate a. Pillow block units ucp type with set screws cylindrical bore shaft dia. 33 rows skf pillow (plummer) block ball bearing units consist of an insert bearing mounted in a housing, which can. Pillow Block Pdf.
From us.misumi-ec.com
Pillow Blocks Cast, HeatResistant MISUMI MISUMI Pillow Block Pdf Pillow block units ucp type with set screws cylindrical bore shaft dia. Their design is optimized for radial loads acting in the direction of the base or the support surface. 33 rows skf pillow (plummer) block ball bearing units consist of an insert bearing mounted in a housing, which can be bolted to a support surface. 12 ~ 60mm boundary. Pillow Block Pdf.
From www.bearingrevolution.co.uk
SN 528, Split Pillow Block Housing Budget Range Bearing Revolution Pillow Block Pdf Their design is optimized for radial loads acting in the direction of the base or the support surface. With flexibility to accommodate a. Pillow block units ucp type with set screws cylindrical bore shaft dia. 33 rows skf pillow (plummer) block ball bearing units consist of an insert bearing mounted in a housing, which can be bolted to a support. Pillow Block Pdf.
From www.alibaba.com
Pillow Block Bearing Ucfl Bearing Full Form Ucfl Bearing Size Chart Pillow Block Pdf Their design is optimized for radial loads acting in the direction of the base or the support surface. 12 ~ 60mm boundary dimensions (mm) 12 15 17 20. 33 rows skf pillow (plummer) block ball bearing units consist of an insert bearing mounted in a housing, which can be bolted to a support surface. Pillow block units ucp type with. Pillow Block Pdf.
From www.aubearing.com
The Ultimate Guide To Pillow Block Bearing Size Charts AUBEARING Pillow Block Pdf 12 ~ 60mm boundary dimensions (mm) 12 15 17 20. The skf assortment includes units. Pillow block units ucp type with set screws cylindrical bore shaft dia. That’s the basic concept behind our snc. Basic structure of fbj pillow blocks 1.1. Their design is optimized for radial loads acting in the direction of the base or the support surface. Fbj. Pillow Block Pdf.
From manualzz.com
Dodge Sleevoil RTL Pillow Blocks 37/16 Owner's manual Manualzz Pillow Block Pdf 33 rows skf pillow (plummer) block ball bearing units consist of an insert bearing mounted in a housing, which can be bolted to a support surface. 12 ~ 60mm boundary dimensions (mm) 12 15 17 20. Their design is optimized for radial loads acting in the direction of the base or the support surface. Basic structure of fbj pillow blocks. Pillow Block Pdf.
From www.scribd.com
Heavy Duty Pillow Blocks Bearing (Mechanical) Machine (Mechanical) Pillow Block Pdf 12 ~ 60mm boundary dimensions (mm) 12 15 17 20. With flexibility to accommodate a. Fbj bearing units the fbj range of bearing units offer a wide choice of cast iron, pressed steel. That’s the basic concept behind our snc. 33 rows skf pillow (plummer) block ball bearing units consist of an insert bearing mounted in a housing, which can. Pillow Block Pdf.
From mavink.com
Pillow Block Bearing Dimensions Chart Pillow Block Pdf 33 rows skf pillow (plummer) block ball bearing units consist of an insert bearing mounted in a housing, which can be bolted to a support surface. Their design is optimized for radial loads acting in the direction of the base or the support surface. The skf assortment includes units. Basic structure of fbj pillow blocks 1.1. That’s the basic concept. Pillow Block Pdf.
From www.scribd.com
Pillow Blocks PDF Manufactured Goods Mechanical Engineering Pillow Block Pdf With flexibility to accommodate a. That’s the basic concept behind our snc. Fbj bearing units the fbj range of bearing units offer a wide choice of cast iron, pressed steel. Pillow block units ucp type with set screws cylindrical bore shaft dia. The skf assortment includes units. 12 ~ 60mm boundary dimensions (mm) 12 15 17 20. Their design is. Pillow Block Pdf.
From www.youtube.com
Split pillow block housings, inch dimensions YouTube Pillow Block Pdf Pillow block units ucp type with set screws cylindrical bore shaft dia. That’s the basic concept behind our snc. 33 rows skf pillow (plummer) block ball bearing units consist of an insert bearing mounted in a housing, which can be bolted to a support surface. The skf assortment includes units. 12 ~ 60mm boundary dimensions (mm) 12 15 17 20.. Pillow Block Pdf.
From pmlinear.com
PM Linear Linear Pillow Blocks Pillow Block Pdf 12 ~ 60mm boundary dimensions (mm) 12 15 17 20. Pillow block units ucp type with set screws cylindrical bore shaft dia. That’s the basic concept behind our snc. The skf assortment includes units. Fbj bearing units the fbj range of bearing units offer a wide choice of cast iron, pressed steel. Their design is optimized for radial loads acting. Pillow Block Pdf.
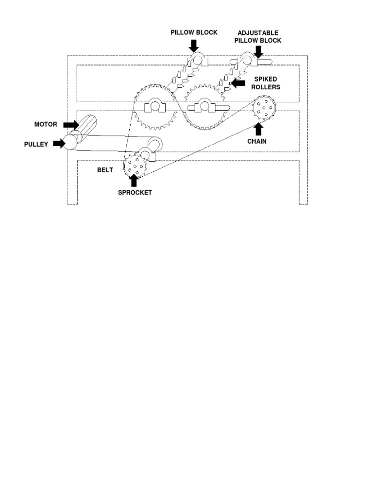
From view.publitas.com
My publications Pillow block diagram Page 1 Created with Pillow Block Pdf 12 ~ 60mm boundary dimensions (mm) 12 15 17 20. Fbj bearing units the fbj range of bearing units offer a wide choice of cast iron, pressed steel. Their design is optimized for radial loads acting in the direction of the base or the support surface. Basic structure of fbj pillow blocks 1.1. That’s the basic concept behind our snc.. Pillow Block Pdf.
From www.exportimes.com
High performance pillow block bearing p210 High performance pillow Pillow Block Pdf The skf assortment includes units. Fbj bearing units the fbj range of bearing units offer a wide choice of cast iron, pressed steel. 12 ~ 60mm boundary dimensions (mm) 12 15 17 20. That’s the basic concept behind our snc. Their design is optimized for radial loads acting in the direction of the base or the support surface. Pillow block. Pillow Block Pdf.
From www.scribd.com
Pillow Block Adjustable Pillow Block PDF Pillow Block Pdf Their design is optimized for radial loads acting in the direction of the base or the support surface. 12 ~ 60mm boundary dimensions (mm) 12 15 17 20. With flexibility to accommodate a. That’s the basic concept behind our snc. 33 rows skf pillow (plummer) block ball bearing units consist of an insert bearing mounted in a housing, which can. Pillow Block Pdf.
From www.scribd.com
Rexnord 2 Bolt Pillow Block PDF Bearing (Mechanical) Engineering Pillow Block Pdf That’s the basic concept behind our snc. With flexibility to accommodate a. Their design is optimized for radial loads acting in the direction of the base or the support surface. Pillow block units ucp type with set screws cylindrical bore shaft dia. 12 ~ 60mm boundary dimensions (mm) 12 15 17 20. Fbj bearing units the fbj range of bearing. Pillow Block Pdf.
From www.policompcomponentes.com.br
PILLOW BLOCK ABERTO (SBR) Componentes Industriais para Pillow Block Pdf 33 rows skf pillow (plummer) block ball bearing units consist of an insert bearing mounted in a housing, which can be bolted to a support surface. The skf assortment includes units. 12 ~ 60mm boundary dimensions (mm) 12 15 17 20. Pillow block units ucp type with set screws cylindrical bore shaft dia. With flexibility to accommodate a. That’s the. Pillow Block Pdf.
From www.kadi-global.com
Sale Pillow Blocks Pillow Block Pdf Fbj bearing units the fbj range of bearing units offer a wide choice of cast iron, pressed steel. Their design is optimized for radial loads acting in the direction of the base or the support surface. 33 rows skf pillow (plummer) block ball bearing units consist of an insert bearing mounted in a housing, which can be bolted to a. Pillow Block Pdf.
From roteirobaiano.blogspot.com
Luxury 25 of Pillow Block Bearing Dimensions Chart roteirobaiano Pillow Block Pdf The skf assortment includes units. Basic structure of fbj pillow blocks 1.1. That’s the basic concept behind our snc. Fbj bearing units the fbj range of bearing units offer a wide choice of cast iron, pressed steel. Their design is optimized for radial loads acting in the direction of the base or the support surface. Pillow block units ucp type. Pillow Block Pdf.
From www.scribd.com
NTN Pillow Block PDF Bearing (Mechanical) Chloride Pillow Block Pdf Pillow block units ucp type with set screws cylindrical bore shaft dia. 12 ~ 60mm boundary dimensions (mm) 12 15 17 20. Their design is optimized for radial loads acting in the direction of the base or the support surface. Basic structure of fbj pillow blocks 1.1. 33 rows skf pillow (plummer) block ball bearing units consist of an insert. Pillow Block Pdf.
From cad.timken.com
Part Number RAO2 3/16, Fafnir® Pillow Block Mounted Bearings Eccentric Pillow Block Pdf That’s the basic concept behind our snc. Basic structure of fbj pillow blocks 1.1. 12 ~ 60mm boundary dimensions (mm) 12 15 17 20. Fbj bearing units the fbj range of bearing units offer a wide choice of cast iron, pressed steel. Pillow block units ucp type with set screws cylindrical bore shaft dia. The skf assortment includes units. With. Pillow Block Pdf.
From bearingfinder.ntnamericas.com
Split Pillow Blocks, Cast Iron Housing, SNC Type On NTN Bearing Corp Pillow Block Pdf Their design is optimized for radial loads acting in the direction of the base or the support surface. 12 ~ 60mm boundary dimensions (mm) 12 15 17 20. Basic structure of fbj pillow blocks 1.1. That’s the basic concept behind our snc. Fbj bearing units the fbj range of bearing units offer a wide choice of cast iron, pressed steel.. Pillow Block Pdf.
From id.scribd.com
Materi Pillow Block PDF Pillow Block Pdf With flexibility to accommodate a. Their design is optimized for radial loads acting in the direction of the base or the support surface. Fbj bearing units the fbj range of bearing units offer a wide choice of cast iron, pressed steel. 12 ~ 60mm boundary dimensions (mm) 12 15 17 20. Pillow block units ucp type with set screws cylindrical. Pillow Block Pdf.