Lightning Connector Inside . This means that apple needs to. Part of the magic going on is that the lightning connector features fewer direct connections than the prior generation connector. But do you know how it. Apple's proprietary lightning connector is very well known. Apple's lightning connector is a small cable used with apple devices and accessories that connects the devices to chargers, computers, and accessories. Lightning is a proprietary computer bus and power connector developed by apple and was released on september 21, 2012, alongside the iphone 5 for its range of mobile consumer products. The lightning connector to usb wiring diagram is an important tool for understanding how the connector is wired internally and how it. Shine a flashlight into your charging port and inspect it for any large blockages. A buildup of dust, grime, and lint inside the port can prevent.
from jaknatoo.blogspot.com
A buildup of dust, grime, and lint inside the port can prevent. Shine a flashlight into your charging port and inspect it for any large blockages. The lightning connector to usb wiring diagram is an important tool for understanding how the connector is wired internally and how it. Apple's proprietary lightning connector is very well known. This means that apple needs to. But do you know how it. Lightning is a proprietary computer bus and power connector developed by apple and was released on september 21, 2012, alongside the iphone 5 for its range of mobile consumer products. Apple's lightning connector is a small cable used with apple devices and accessories that connects the devices to chargers, computers, and accessories. Part of the magic going on is that the lightning connector features fewer direct connections than the prior generation connector.
333 How to? USB 3.1 vs Lightning connector
Lightning Connector Inside Apple's lightning connector is a small cable used with apple devices and accessories that connects the devices to chargers, computers, and accessories. A buildup of dust, grime, and lint inside the port can prevent. Apple's proprietary lightning connector is very well known. Apple's lightning connector is a small cable used with apple devices and accessories that connects the devices to chargers, computers, and accessories. But do you know how it. Shine a flashlight into your charging port and inspect it for any large blockages. Part of the magic going on is that the lightning connector features fewer direct connections than the prior generation connector. The lightning connector to usb wiring diagram is an important tool for understanding how the connector is wired internally and how it. Lightning is a proprietary computer bus and power connector developed by apple and was released on september 21, 2012, alongside the iphone 5 for its range of mobile consumer products. This means that apple needs to.
From www.walmart.com
Philips Lightning Cable, USBA to Lightning Connector Black Nylon Lightning Connector Inside Apple's lightning connector is a small cable used with apple devices and accessories that connects the devices to chargers, computers, and accessories. Shine a flashlight into your charging port and inspect it for any large blockages. Lightning is a proprietary computer bus and power connector developed by apple and was released on september 21, 2012, alongside the iphone 5 for. Lightning Connector Inside.
From www.macrumors.com
Teardown Confirms DigitaltoAnalog Converter in Lightning EarPods and Lightning Connector Inside But do you know how it. This means that apple needs to. Part of the magic going on is that the lightning connector features fewer direct connections than the prior generation connector. Lightning is a proprietary computer bus and power connector developed by apple and was released on september 21, 2012, alongside the iphone 5 for its range of mobile. Lightning Connector Inside.
From appuals.com
Vision Pro Battery Cable is Detachable with a SIM Tool, Reveals the New Lightning Connector Inside But do you know how it. This means that apple needs to. Lightning is a proprietary computer bus and power connector developed by apple and was released on september 21, 2012, alongside the iphone 5 for its range of mobile consumer products. Apple's lightning connector is a small cable used with apple devices and accessories that connects the devices to. Lightning Connector Inside.
From www.idoc.eu
iPhone 11 Lightning Connector replacement guide iDoc Lightning Connector Inside Apple's proprietary lightning connector is very well known. A buildup of dust, grime, and lint inside the port can prevent. Apple's lightning connector is a small cable used with apple devices and accessories that connects the devices to chargers, computers, and accessories. Part of the magic going on is that the lightning connector features fewer direct connections than the prior. Lightning Connector Inside.
From homekitchenart.com
The 10 Best Lightning Connector 3M Simple Home Lightning Connector Inside The lightning connector to usb wiring diagram is an important tool for understanding how the connector is wired internally and how it. Apple's lightning connector is a small cable used with apple devices and accessories that connects the devices to chargers, computers, and accessories. A buildup of dust, grime, and lint inside the port can prevent. Shine a flashlight into. Lightning Connector Inside.
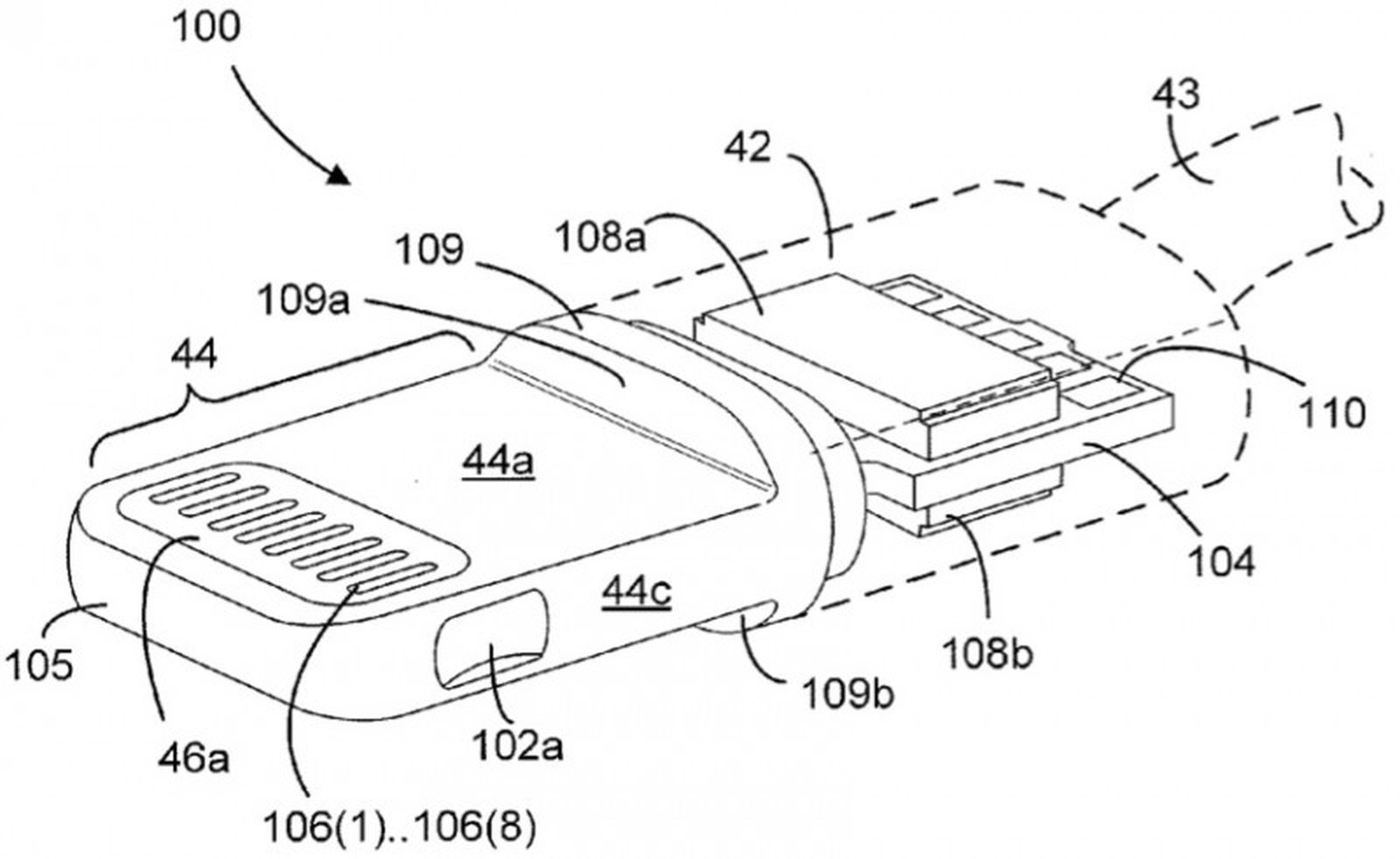
From www.macrumors.com
Apple's Lightning Connector Detailed in NewlyPublished Patent Lightning Connector Inside Apple's lightning connector is a small cable used with apple devices and accessories that connects the devices to chargers, computers, and accessories. But do you know how it. This means that apple needs to. A buildup of dust, grime, and lint inside the port can prevent. The lightning connector to usb wiring diagram is an important tool for understanding how. Lightning Connector Inside.
From thetechmirror.com
What is the Lightning Connector? Here is Everything you need to know Lightning Connector Inside A buildup of dust, grime, and lint inside the port can prevent. Apple's lightning connector is a small cable used with apple devices and accessories that connects the devices to chargers, computers, and accessories. Apple's proprietary lightning connector is very well known. This means that apple needs to. Part of the magic going on is that the lightning connector features. Lightning Connector Inside.
From geardiary.com
Apple Lightning Connector Broken Inside iPad Mini Port Eeek! Gear Diary Lightning Connector Inside The lightning connector to usb wiring diagram is an important tool for understanding how the connector is wired internally and how it. But do you know how it. Apple's proprietary lightning connector is very well known. Part of the magic going on is that the lightning connector features fewer direct connections than the prior generation connector. This means that apple. Lightning Connector Inside.
From www.radtech.com
Heavy Duty Lightning Cable (45cm3m) Lightning Connector Inside A buildup of dust, grime, and lint inside the port can prevent. Lightning is a proprietary computer bus and power connector developed by apple and was released on september 21, 2012, alongside the iphone 5 for its range of mobile consumer products. This means that apple needs to. Part of the magic going on is that the lightning connector features. Lightning Connector Inside.
From singersroom.com
10 Best Headphone Lightning Connectors 2024 Lightning Connector Inside A buildup of dust, grime, and lint inside the port can prevent. Apple's lightning connector is a small cable used with apple devices and accessories that connects the devices to chargers, computers, and accessories. Shine a flashlight into your charging port and inspect it for any large blockages. The lightning connector to usb wiring diagram is an important tool for. Lightning Connector Inside.
From triptonkosti.ru
Схема lightning кабеля 92 фото Lightning Connector Inside This means that apple needs to. A buildup of dust, grime, and lint inside the port can prevent. But do you know how it. Shine a flashlight into your charging port and inspect it for any large blockages. Lightning is a proprietary computer bus and power connector developed by apple and was released on september 21, 2012, alongside the iphone. Lightning Connector Inside.
From www.youtube.com
The truth inside lightning cable original XFix YouTube Lightning Connector Inside This means that apple needs to. Apple's lightning connector is a small cable used with apple devices and accessories that connects the devices to chargers, computers, and accessories. Part of the magic going on is that the lightning connector features fewer direct connections than the prior generation connector. Shine a flashlight into your charging port and inspect it for any. Lightning Connector Inside.
From www.diagramboard.com
lightning connector diagram Diagram Board Lightning Connector Inside The lightning connector to usb wiring diagram is an important tool for understanding how the connector is wired internally and how it. A buildup of dust, grime, and lint inside the port can prevent. Lightning is a proprietary computer bus and power connector developed by apple and was released on september 21, 2012, alongside the iphone 5 for its range. Lightning Connector Inside.
From www.idoc.eu
iPhone 13 Lightning connector replacement repair guide iDoc Lightning Connector Inside But do you know how it. This means that apple needs to. Lightning is a proprietary computer bus and power connector developed by apple and was released on september 21, 2012, alongside the iphone 5 for its range of mobile consumer products. Shine a flashlight into your charging port and inspect it for any large blockages. The lightning connector to. Lightning Connector Inside.
From homekitchenart.com
The 10 Best Lightning Connector 3M Simple Home Lightning Connector Inside Part of the magic going on is that the lightning connector features fewer direct connections than the prior generation connector. A buildup of dust, grime, and lint inside the port can prevent. Lightning is a proprietary computer bus and power connector developed by apple and was released on september 21, 2012, alongside the iphone 5 for its range of mobile. Lightning Connector Inside.
From www.youtube.com
Lightning Cable wire connections YouTube Lightning Connector Inside Apple's lightning connector is a small cable used with apple devices and accessories that connects the devices to chargers, computers, and accessories. Shine a flashlight into your charging port and inspect it for any large blockages. A buildup of dust, grime, and lint inside the port can prevent. This means that apple needs to. Lightning is a proprietary computer bus. Lightning Connector Inside.
From www.iphonelife.com
Roundup Most Innovative 3rdParty Lightning Cables Lightning Connector Inside The lightning connector to usb wiring diagram is an important tool for understanding how the connector is wired internally and how it. A buildup of dust, grime, and lint inside the port can prevent. Shine a flashlight into your charging port and inspect it for any large blockages. Apple's proprietary lightning connector is very well known. Part of the magic. Lightning Connector Inside.
From arstechnica.com
Teardown revives hopes that Lightning might be USB Ars Lightning Connector Inside A buildup of dust, grime, and lint inside the port can prevent. Apple's proprietary lightning connector is very well known. Lightning is a proprietary computer bus and power connector developed by apple and was released on september 21, 2012, alongside the iphone 5 for its range of mobile consumer products. Shine a flashlight into your charging port and inspect it. Lightning Connector Inside.
From www.zdnet.com
Apple is replacing the iPhone's Lightning port with USBC What buyers Lightning Connector Inside Apple's lightning connector is a small cable used with apple devices and accessories that connects the devices to chargers, computers, and accessories. This means that apple needs to. Apple's proprietary lightning connector is very well known. Shine a flashlight into your charging port and inspect it for any large blockages. Lightning is a proprietary computer bus and power connector developed. Lightning Connector Inside.
From www.gottabemobile.com
Lighting Connector vs. 30 Pin Dock Connector (Photos) Lightning Connector Inside Lightning is a proprietary computer bus and power connector developed by apple and was released on september 21, 2012, alongside the iphone 5 for its range of mobile consumer products. The lightning connector to usb wiring diagram is an important tool for understanding how the connector is wired internally and how it. Shine a flashlight into your charging port and. Lightning Connector Inside.
From www.nbcnews.com
The iPhone 5 Lightning connector and its 29 adapter What you need to Lightning Connector Inside Apple's proprietary lightning connector is very well known. Part of the magic going on is that the lightning connector features fewer direct connections than the prior generation connector. Shine a flashlight into your charging port and inspect it for any large blockages. The lightning connector to usb wiring diagram is an important tool for understanding how the connector is wired. Lightning Connector Inside.
From schematicwiringmoller.z13.web.core.windows.net
Lightning Connector To Usb Wiring Diagram Lightning Connector Inside The lightning connector to usb wiring diagram is an important tool for understanding how the connector is wired internally and how it. Lightning is a proprietary computer bus and power connector developed by apple and was released on september 21, 2012, alongside the iphone 5 for its range of mobile consumer products. Apple's lightning connector is a small cable used. Lightning Connector Inside.
From www.flickr.com
Lightning connector Shot of the new "Lightning" plug conne… Flickr Lightning Connector Inside Shine a flashlight into your charging port and inspect it for any large blockages. Apple's proprietary lightning connector is very well known. A buildup of dust, grime, and lint inside the port can prevent. Part of the magic going on is that the lightning connector features fewer direct connections than the prior generation connector. Apple's lightning connector is a small. Lightning Connector Inside.
From www.aarp.org
USBA, USBC and Lightning Connectors Explained Lightning Connector Inside This means that apple needs to. Shine a flashlight into your charging port and inspect it for any large blockages. Lightning is a proprietary computer bus and power connector developed by apple and was released on september 21, 2012, alongside the iphone 5 for its range of mobile consumer products. But do you know how it. Apple's lightning connector is. Lightning Connector Inside.
From kozeythreadszz.blogspot.com
Lightning Connector Lightning Connector Wikipedia The iphone and Lightning Connector Inside Part of the magic going on is that the lightning connector features fewer direct connections than the prior generation connector. A buildup of dust, grime, and lint inside the port can prevent. The lightning connector to usb wiring diagram is an important tool for understanding how the connector is wired internally and how it. This means that apple needs to.. Lightning Connector Inside.
From jaknatoo.blogspot.com
333 How to? USB 3.1 vs Lightning connector Lightning Connector Inside Part of the magic going on is that the lightning connector features fewer direct connections than the prior generation connector. This means that apple needs to. Apple's proprietary lightning connector is very well known. Lightning is a proprietary computer bus and power connector developed by apple and was released on september 21, 2012, alongside the iphone 5 for its range. Lightning Connector Inside.
From thewiredshopper.com
Liquid Has Been Detected in the Lightning Connector Fixes Lightning Connector Inside Part of the magic going on is that the lightning connector features fewer direct connections than the prior generation connector. This means that apple needs to. But do you know how it. A buildup of dust, grime, and lint inside the port can prevent. The lightning connector to usb wiring diagram is an important tool for understanding how the connector. Lightning Connector Inside.
From appleinsider.com
Apple's Lightning connector detailed in extensive new patent filings Lightning Connector Inside A buildup of dust, grime, and lint inside the port can prevent. The lightning connector to usb wiring diagram is an important tool for understanding how the connector is wired internally and how it. Apple's proprietary lightning connector is very well known. Apple's lightning connector is a small cable used with apple devices and accessories that connects the devices to. Lightning Connector Inside.
From appleinsider.com
Apple's Lightning connector detailed in extensive new patent filings Lightning Connector Inside This means that apple needs to. Shine a flashlight into your charging port and inspect it for any large blockages. Lightning is a proprietary computer bus and power connector developed by apple and was released on september 21, 2012, alongside the iphone 5 for its range of mobile consumer products. A buildup of dust, grime, and lint inside the port. Lightning Connector Inside.
From techcrunch.com
EU lawmakers take fresh aim at Apple’s Lightning connector with latest Lightning Connector Inside A buildup of dust, grime, and lint inside the port can prevent. The lightning connector to usb wiring diagram is an important tool for understanding how the connector is wired internally and how it. Shine a flashlight into your charging port and inspect it for any large blockages. Lightning is a proprietary computer bus and power connector developed by apple. Lightning Connector Inside.
From userfixoster.z19.web.core.windows.net
Apple Lightning Connector Circuit Diagram Lightning Connector Inside But do you know how it. This means that apple needs to. Part of the magic going on is that the lightning connector features fewer direct connections than the prior generation connector. Apple's proprietary lightning connector is very well known. A buildup of dust, grime, and lint inside the port can prevent. Shine a flashlight into your charging port and. Lightning Connector Inside.
From www.wiringview.com
iphone pinout lightning Wiring Diagram Lightning Connector Inside But do you know how it. Lightning is a proprietary computer bus and power connector developed by apple and was released on september 21, 2012, alongside the iphone 5 for its range of mobile consumer products. This means that apple needs to. Part of the magic going on is that the lightning connector features fewer direct connections than the prior. Lightning Connector Inside.
From www.lifewire.com
What Is a Lightning Connector? And Do You Need One? Lightning Connector Inside This means that apple needs to. A buildup of dust, grime, and lint inside the port can prevent. Shine a flashlight into your charging port and inspect it for any large blockages. Lightning is a proprietary computer bus and power connector developed by apple and was released on september 21, 2012, alongside the iphone 5 for its range of mobile. Lightning Connector Inside.
From toolspond.com
"The Liquid inside Lightning Connector" problem, These are 5 Lightning Connector Inside Shine a flashlight into your charging port and inspect it for any large blockages. Apple's lightning connector is a small cable used with apple devices and accessories that connects the devices to chargers, computers, and accessories. A buildup of dust, grime, and lint inside the port can prevent. Lightning is a proprietary computer bus and power connector developed by apple. Lightning Connector Inside.
From www.alamy.com
Lightning connector hires stock photography and images Alamy Lightning Connector Inside The lightning connector to usb wiring diagram is an important tool for understanding how the connector is wired internally and how it. This means that apple needs to. Apple's lightning connector is a small cable used with apple devices and accessories that connects the devices to chargers, computers, and accessories. Apple's proprietary lightning connector is very well known. Shine a. Lightning Connector Inside.