Thermometer Block Diagram . Digital thermometer by using at89c51 microcontroller. The same is demonstrated in below block diagram. This block diagram shows the working principle of the bourdon thermometer. Functional block diagram of a digital thermometer. When the thermometer is placed in the hot or cold body, the sensing blub senses the temperature of the. An electronic thermometer schematic diagram is a visual representation of the various components and how they are connected to form an electrical circuit. Basic thermocouple system block diagram so far this discussion has only considered the theory of thermocouples;. Block diagram of digital thermometer. Functional block diagram of a digital thermometer. For a list of maxim's recommended solutions for digital thermometer designs, please go to:. In this digital temperature sensor with arduino, arduino uno is used to control the.
from theorycircuit.com
The same is demonstrated in below block diagram. This block diagram shows the working principle of the bourdon thermometer. Basic thermocouple system block diagram so far this discussion has only considered the theory of thermocouples;. Functional block diagram of a digital thermometer. Functional block diagram of a digital thermometer. In this digital temperature sensor with arduino, arduino uno is used to control the. When the thermometer is placed in the hot or cold body, the sensing blub senses the temperature of the. An electronic thermometer schematic diagram is a visual representation of the various components and how they are connected to form an electrical circuit. For a list of maxim's recommended solutions for digital thermometer designs, please go to:. Block diagram of digital thermometer.
Infrared Thermometer Arduino
Thermometer Block Diagram Functional block diagram of a digital thermometer. Functional block diagram of a digital thermometer. When the thermometer is placed in the hot or cold body, the sensing blub senses the temperature of the. An electronic thermometer schematic diagram is a visual representation of the various components and how they are connected to form an electrical circuit. In this digital temperature sensor with arduino, arduino uno is used to control the. Functional block diagram of a digital thermometer. Digital thermometer by using at89c51 microcontroller. This block diagram shows the working principle of the bourdon thermometer. The same is demonstrated in below block diagram. Basic thermocouple system block diagram so far this discussion has only considered the theory of thermocouples;. Block diagram of digital thermometer. For a list of maxim's recommended solutions for digital thermometer designs, please go to:.
From www.embedic.com
How to design an infrared thermometer quickly Diagnosis & Treatment Thermometer Block Diagram Basic thermocouple system block diagram so far this discussion has only considered the theory of thermocouples;. The same is demonstrated in below block diagram. For a list of maxim's recommended solutions for digital thermometer designs, please go to:. When the thermometer is placed in the hot or cold body, the sensing blub senses the temperature of the. Block diagram of. Thermometer Block Diagram.
From www.researchgate.net
The block diagram of Digital Wet Media thermometer calibrator, input Thermometer Block Diagram This block diagram shows the working principle of the bourdon thermometer. Basic thermocouple system block diagram so far this discussion has only considered the theory of thermocouples;. Functional block diagram of a digital thermometer. When the thermometer is placed in the hot or cold body, the sensing blub senses the temperature of the. Digital thermometer by using at89c51 microcontroller. An. Thermometer Block Diagram.
From circuitdigest.com
Digital Thermometer Project using Arduino and LM35 Temperature Sensor Thermometer Block Diagram For a list of maxim's recommended solutions for digital thermometer designs, please go to:. The same is demonstrated in below block diagram. This block diagram shows the working principle of the bourdon thermometer. An electronic thermometer schematic diagram is a visual representation of the various components and how they are connected to form an electrical circuit. In this digital temperature. Thermometer Block Diagram.
From ar.inspiredpencil.com
Infrared Thermometer Diagram Thermometer Block Diagram Functional block diagram of a digital thermometer. When the thermometer is placed in the hot or cold body, the sensing blub senses the temperature of the. An electronic thermometer schematic diagram is a visual representation of the various components and how they are connected to form an electrical circuit. Basic thermocouple system block diagram so far this discussion has only. Thermometer Block Diagram.
From circuitdigest.com
NonContact Wall Mount Digital Infrared Thermometer with SD Card Thermometer Block Diagram In this digital temperature sensor with arduino, arduino uno is used to control the. This block diagram shows the working principle of the bourdon thermometer. When the thermometer is placed in the hot or cold body, the sensing blub senses the temperature of the. The same is demonstrated in below block diagram. An electronic thermometer schematic diagram is a visual. Thermometer Block Diagram.
From www.mouser.com
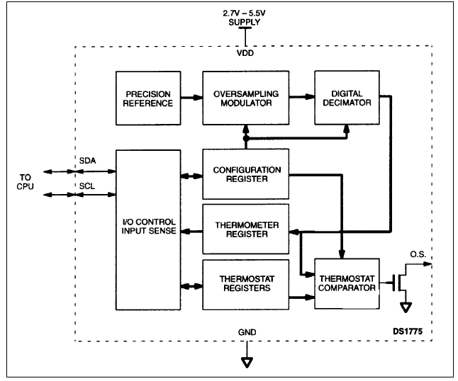
DS1775R Digital Thermometer and Thermostat Maxim Mouser Thermometer Block Diagram In this digital temperature sensor with arduino, arduino uno is used to control the. For a list of maxim's recommended solutions for digital thermometer designs, please go to:. An electronic thermometer schematic diagram is a visual representation of the various components and how they are connected to form an electrical circuit. Digital thermometer by using at89c51 microcontroller. This block diagram. Thermometer Block Diagram.
From expaworld.blogspot.com
WORLD OF EMBEDDED LCD BASED THERMOMETER USING AVR Thermometer Block Diagram An electronic thermometer schematic diagram is a visual representation of the various components and how they are connected to form an electrical circuit. For a list of maxim's recommended solutions for digital thermometer designs, please go to:. In this digital temperature sensor with arduino, arduino uno is used to control the. Functional block diagram of a digital thermometer. Digital thermometer. Thermometer Block Diagram.
From www.youtube.com
Resistance Temperature Detector (RTD) Working Principle, Temperature Thermometer Block Diagram Block diagram of digital thermometer. For a list of maxim's recommended solutions for digital thermometer designs, please go to:. In this digital temperature sensor with arduino, arduino uno is used to control the. An electronic thermometer schematic diagram is a visual representation of the various components and how they are connected to form an electrical circuit. Digital thermometer by using. Thermometer Block Diagram.
From wiredataedwin.z6.web.core.windows.net
Digital Thermometer Block Diagram And Working Thermometer Block Diagram This block diagram shows the working principle of the bourdon thermometer. An electronic thermometer schematic diagram is a visual representation of the various components and how they are connected to form an electrical circuit. Basic thermocouple system block diagram so far this discussion has only considered the theory of thermocouples;. When the thermometer is placed in the hot or cold. Thermometer Block Diagram.
From www.researchgate.net
Block diagram of the TMCP thermometer. Download Scientific Diagram Thermometer Block Diagram In this digital temperature sensor with arduino, arduino uno is used to control the. Digital thermometer by using at89c51 microcontroller. When the thermometer is placed in the hot or cold body, the sensing blub senses the temperature of the. The same is demonstrated in below block diagram. This block diagram shows the working principle of the bourdon thermometer. For a. Thermometer Block Diagram.
From circuitdigest.com
Contactless Smart Thermometer using Arduino, MLX90615 IR Temperature Thermometer Block Diagram For a list of maxim's recommended solutions for digital thermometer designs, please go to:. The same is demonstrated in below block diagram. Block diagram of digital thermometer. Basic thermocouple system block diagram so far this discussion has only considered the theory of thermocouples;. Functional block diagram of a digital thermometer. This block diagram shows the working principle of the bourdon. Thermometer Block Diagram.
From schematicmodelers.z13.web.core.windows.net
Digital Thermometer Circuit Diagram Pdf Thermometer Block Diagram When the thermometer is placed in the hot or cold body, the sensing blub senses the temperature of the. Block diagram of digital thermometer. This block diagram shows the working principle of the bourdon thermometer. Digital thermometer by using at89c51 microcontroller. Functional block diagram of a digital thermometer. For a list of maxim's recommended solutions for digital thermometer designs, please. Thermometer Block Diagram.
From schematicmodelers.z13.web.core.windows.net
Digital Thermometer Circuit Diagram Pdf Thermometer Block Diagram Digital thermometer by using at89c51 microcontroller. Basic thermocouple system block diagram so far this discussion has only considered the theory of thermocouples;. Functional block diagram of a digital thermometer. When the thermometer is placed in the hot or cold body, the sensing blub senses the temperature of the. For a list of maxim's recommended solutions for digital thermometer designs, please. Thermometer Block Diagram.
From www.embibe.com
Draw the diagram of a clinical thermometer and label its parts Thermometer Block Diagram Functional block diagram of a digital thermometer. When the thermometer is placed in the hot or cold body, the sensing blub senses the temperature of the. This block diagram shows the working principle of the bourdon thermometer. Basic thermocouple system block diagram so far this discussion has only considered the theory of thermocouples;. Functional block diagram of a digital thermometer.. Thermometer Block Diagram.
From www.researchgate.net
Thermometer Code Amplification Path Block Diagram (19195) Download Thermometer Block Diagram In this digital temperature sensor with arduino, arduino uno is used to control the. Digital thermometer by using at89c51 microcontroller. Functional block diagram of a digital thermometer. For a list of maxim's recommended solutions for digital thermometer designs, please go to:. This block diagram shows the working principle of the bourdon thermometer. Basic thermocouple system block diagram so far this. Thermometer Block Diagram.
From robu.in
Build Contactless Thermometer using Arduino all Details to know Thermometer Block Diagram In this digital temperature sensor with arduino, arduino uno is used to control the. For a list of maxim's recommended solutions for digital thermometer designs, please go to:. An electronic thermometer schematic diagram is a visual representation of the various components and how they are connected to form an electrical circuit. Functional block diagram of a digital thermometer. Block diagram. Thermometer Block Diagram.
From www.electronicsforu.com
DIY Wireless Digital Thermometer For Multiple Sensors Thermometer Block Diagram Functional block diagram of a digital thermometer. Digital thermometer by using at89c51 microcontroller. In this digital temperature sensor with arduino, arduino uno is used to control the. The same is demonstrated in below block diagram. Functional block diagram of a digital thermometer. An electronic thermometer schematic diagram is a visual representation of the various components and how they are connected. Thermometer Block Diagram.
From www.cypress.com
Infrared Thermometer Thermometer Block Diagram In this digital temperature sensor with arduino, arduino uno is used to control the. This block diagram shows the working principle of the bourdon thermometer. Functional block diagram of a digital thermometer. An electronic thermometer schematic diagram is a visual representation of the various components and how they are connected to form an electrical circuit. The same is demonstrated in. Thermometer Block Diagram.
From www.youtube.com
Clinical Thermometer Diagram easily step by step for beginners. Class Thermometer Block Diagram Functional block diagram of a digital thermometer. An electronic thermometer schematic diagram is a visual representation of the various components and how they are connected to form an electrical circuit. When the thermometer is placed in the hot or cold body, the sensing blub senses the temperature of the. Block diagram of digital thermometer. This block diagram shows the working. Thermometer Block Diagram.
From schematicdissects.z5.web.core.windows.net
Digital Thermometer Block Diagram And Working Thermometer Block Diagram Functional block diagram of a digital thermometer. Basic thermocouple system block diagram so far this discussion has only considered the theory of thermocouples;. An electronic thermometer schematic diagram is a visual representation of the various components and how they are connected to form an electrical circuit. When the thermometer is placed in the hot or cold body, the sensing blub. Thermometer Block Diagram.
From www.studentcompanion.net
Digital Thermometer using PIC Microcontroller and LM35 Temperature Thermometer Block Diagram When the thermometer is placed in the hot or cold body, the sensing blub senses the temperature of the. Block diagram of digital thermometer. For a list of maxim's recommended solutions for digital thermometer designs, please go to:. In this digital temperature sensor with arduino, arduino uno is used to control the. Functional block diagram of a digital thermometer. Functional. Thermometer Block Diagram.
From circuitenginesylph123.z21.web.core.windows.net
Digital Clinical Thermometer Circuit Diagram Thermometer Block Diagram Basic thermocouple system block diagram so far this discussion has only considered the theory of thermocouples;. Functional block diagram of a digital thermometer. An electronic thermometer schematic diagram is a visual representation of the various components and how they are connected to form an electrical circuit. This block diagram shows the working principle of the bourdon thermometer. The same is. Thermometer Block Diagram.
From theorycircuit.com
Infrared Thermometer Arduino Thermometer Block Diagram Functional block diagram of a digital thermometer. For a list of maxim's recommended solutions for digital thermometer designs, please go to:. This block diagram shows the working principle of the bourdon thermometer. An electronic thermometer schematic diagram is a visual representation of the various components and how they are connected to form an electrical circuit. Basic thermocouple system block diagram. Thermometer Block Diagram.
From www.researchgate.net
Digital Thermometer Block Diagram Download Scientific Diagram Thermometer Block Diagram This block diagram shows the working principle of the bourdon thermometer. Basic thermocouple system block diagram so far this discussion has only considered the theory of thermocouples;. When the thermometer is placed in the hot or cold body, the sensing blub senses the temperature of the. In this digital temperature sensor with arduino, arduino uno is used to control the.. Thermometer Block Diagram.
From www.researchgate.net
The block diagram of thermometer (MDPT). Download Scientific Diagram Thermometer Block Diagram Basic thermocouple system block diagram so far this discussion has only considered the theory of thermocouples;. In this digital temperature sensor with arduino, arduino uno is used to control the. An electronic thermometer schematic diagram is a visual representation of the various components and how they are connected to form an electrical circuit. Digital thermometer by using at89c51 microcontroller. Block. Thermometer Block Diagram.
From www.circuitdiagram.co
Digital Clinical Thermometer Circuit Diagram Circuit Diagram Thermometer Block Diagram When the thermometer is placed in the hot or cold body, the sensing blub senses the temperature of the. An electronic thermometer schematic diagram is a visual representation of the various components and how they are connected to form an electrical circuit. Block diagram of digital thermometer. Functional block diagram of a digital thermometer. For a list of maxim's recommended. Thermometer Block Diagram.
From www.researchgate.net
Block diagram of an infrared thermometer. Download Scientific Diagram Thermometer Block Diagram Basic thermocouple system block diagram so far this discussion has only considered the theory of thermocouples;. Functional block diagram of a digital thermometer. For a list of maxim's recommended solutions for digital thermometer designs, please go to:. Functional block diagram of a digital thermometer. This block diagram shows the working principle of the bourdon thermometer. When the thermometer is placed. Thermometer Block Diagram.
From www.pinterest.ca
Thermometer Circuit Diagram Digital thermostat, Electronic schematics Thermometer Block Diagram An electronic thermometer schematic diagram is a visual representation of the various components and how they are connected to form an electrical circuit. This block diagram shows the working principle of the bourdon thermometer. Functional block diagram of a digital thermometer. For a list of maxim's recommended solutions for digital thermometer designs, please go to:. Block diagram of digital thermometer.. Thermometer Block Diagram.
From www.electronicsforu.com
Industrial Digital Thermometer Full Electronics Project WIth Source Code Thermometer Block Diagram Functional block diagram of a digital thermometer. Functional block diagram of a digital thermometer. The same is demonstrated in below block diagram. Block diagram of digital thermometer. Basic thermocouple system block diagram so far this discussion has only considered the theory of thermocouples;. This block diagram shows the working principle of the bourdon thermometer. Digital thermometer by using at89c51 microcontroller.. Thermometer Block Diagram.
From electricalworkbook.com
What is Digital Thermometer? Working, Block Diagram & Advantages Thermometer Block Diagram In this digital temperature sensor with arduino, arduino uno is used to control the. Basic thermocouple system block diagram so far this discussion has only considered the theory of thermocouples;. An electronic thermometer schematic diagram is a visual representation of the various components and how they are connected to form an electrical circuit. Block diagram of digital thermometer. When the. Thermometer Block Diagram.
From electricalworkbook.com
What is Pressure Thermometer? Types & Explanation ElectricalWorkbook Thermometer Block Diagram The same is demonstrated in below block diagram. In this digital temperature sensor with arduino, arduino uno is used to control the. When the thermometer is placed in the hot or cold body, the sensing blub senses the temperature of the. Block diagram of digital thermometer. An electronic thermometer schematic diagram is a visual representation of the various components and. Thermometer Block Diagram.
From www.radiolocman.com
Highly accurate digital temperature sensors provide unparalleled Thermometer Block Diagram Functional block diagram of a digital thermometer. This block diagram shows the working principle of the bourdon thermometer. The same is demonstrated in below block diagram. Functional block diagram of a digital thermometer. For a list of maxim's recommended solutions for digital thermometer designs, please go to:. Basic thermocouple system block diagram so far this discussion has only considered the. Thermometer Block Diagram.
From dxopxdexp.blob.core.windows.net
Temperature Sensor Circuit In Tinkercad at Jonathan Villa blog Thermometer Block Diagram The same is demonstrated in below block diagram. An electronic thermometer schematic diagram is a visual representation of the various components and how they are connected to form an electrical circuit. In this digital temperature sensor with arduino, arduino uno is used to control the. This block diagram shows the working principle of the bourdon thermometer. For a list of. Thermometer Block Diagram.
From www.circuitbread.com
Noncontact Forehead Infrared Thermometer Part 2 Hardware CircuitBread Thermometer Block Diagram This block diagram shows the working principle of the bourdon thermometer. The same is demonstrated in below block diagram. For a list of maxim's recommended solutions for digital thermometer designs, please go to:. Functional block diagram of a digital thermometer. Block diagram of digital thermometer. Functional block diagram of a digital thermometer. An electronic thermometer schematic diagram is a visual. Thermometer Block Diagram.
From bestengineeringprojects.com
Electronic Thermometer Circuit Best Engineering Projects Thermometer Block Diagram This block diagram shows the working principle of the bourdon thermometer. An electronic thermometer schematic diagram is a visual representation of the various components and how they are connected to form an electrical circuit. When the thermometer is placed in the hot or cold body, the sensing blub senses the temperature of the. Functional block diagram of a digital thermometer.. Thermometer Block Diagram.