Break Down Bow . Recurve takedown bows merge old world style with. If you’re in the market for a takedown recurve bow, whether it’s your first or an upgrade, this article is tailored for you. Read reviews and select from finely crafted take down bows at lancaster archery supply. Tigershark one piece recurve bow. Here are my top mind4survival picks for the best survival bow to keep you safe and prepared! Designed by experienced engineers who have designed. The atmos is made of 7075 aluminum and lends itself to modern sighting systems commonly found on compound bows. There are three different lengths available, which is great for your kid, since you will be able to find the right break down bow no. The tigershark one piece recurve bow is a great choice for any preppers looking to stay safe and prepared. What are the best survival bows? Made in the usa, the sas ranger compact takedown survival bow is the big brother of the scout compact takedown survival bow.
from www.survivalbreakdownbow.com
What are the best survival bows? The tigershark one piece recurve bow is a great choice for any preppers looking to stay safe and prepared. Read reviews and select from finely crafted take down bows at lancaster archery supply. If you’re in the market for a takedown recurve bow, whether it’s your first or an upgrade, this article is tailored for you. Here are my top mind4survival picks for the best survival bow to keep you safe and prepared! There are three different lengths available, which is great for your kid, since you will be able to find the right break down bow no. Recurve takedown bows merge old world style with. Tigershark one piece recurve bow. Designed by experienced engineers who have designed. Made in the usa, the sas ranger compact takedown survival bow is the big brother of the scout compact takedown survival bow.
Survival Break Down Bow Carbon Arrows 1/2 Dozen
Break Down Bow Designed by experienced engineers who have designed. The atmos is made of 7075 aluminum and lends itself to modern sighting systems commonly found on compound bows. The tigershark one piece recurve bow is a great choice for any preppers looking to stay safe and prepared. Read reviews and select from finely crafted take down bows at lancaster archery supply. There are three different lengths available, which is great for your kid, since you will be able to find the right break down bow no. Made in the usa, the sas ranger compact takedown survival bow is the big brother of the scout compact takedown survival bow. Tigershark one piece recurve bow. Recurve takedown bows merge old world style with. Here are my top mind4survival picks for the best survival bow to keep you safe and prepared! What are the best survival bows? Designed by experienced engineers who have designed. If you’re in the market for a takedown recurve bow, whether it’s your first or an upgrade, this article is tailored for you.
From vintageworksbows.com
Grayling Classic Break Down Vintage Works Bows Break Down Bow Made in the usa, the sas ranger compact takedown survival bow is the big brother of the scout compact takedown survival bow. Here are my top mind4survival picks for the best survival bow to keep you safe and prepared! The atmos is made of 7075 aluminum and lends itself to modern sighting systems commonly found on compound bows. The tigershark. Break Down Bow.
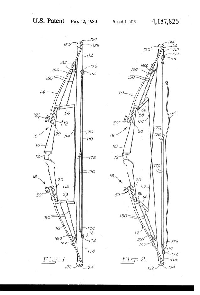
From www.slideshare.net
Break down bow Break Down Bow The atmos is made of 7075 aluminum and lends itself to modern sighting systems commonly found on compound bows. The tigershark one piece recurve bow is a great choice for any preppers looking to stay safe and prepared. Recurve takedown bows merge old world style with. Read reviews and select from finely crafted take down bows at lancaster archery supply.. Break Down Bow.
From www.chkadels.com
Nomad Compact TakeDown Survival Bow Survival Break Down Bow Recurve takedown bows merge old world style with. Here are my top mind4survival picks for the best survival bow to keep you safe and prepared! The tigershark one piece recurve bow is a great choice for any preppers looking to stay safe and prepared. There are three different lengths available, which is great for your kid, since you will be. Break Down Bow.
From survivalbreakdownbow.com
Survival Break Down Bow Steel Force Premium 2Blade 100 Grain Break Down Bow The atmos is made of 7075 aluminum and lends itself to modern sighting systems commonly found on compound bows. Recurve takedown bows merge old world style with. The tigershark one piece recurve bow is a great choice for any preppers looking to stay safe and prepared. There are three different lengths available, which is great for your kid, since you. Break Down Bow.
From www.survivalbreakdownbow.com
Survival Break Down Bow Carbon Arrows 1/2 Dozen Break Down Bow There are three different lengths available, which is great for your kid, since you will be able to find the right break down bow no. The atmos is made of 7075 aluminum and lends itself to modern sighting systems commonly found on compound bows. Read reviews and select from finely crafted take down bows at lancaster archery supply. If you’re. Break Down Bow.
From www.slideshare.net
Break down bow Break Down Bow Designed by experienced engineers who have designed. What are the best survival bows? If you’re in the market for a takedown recurve bow, whether it’s your first or an upgrade, this article is tailored for you. Read reviews and select from finely crafted take down bows at lancaster archery supply. Here are my top mind4survival picks for the best survival. Break Down Bow.
From www.survivalbreakdownbow.com
Survival Break Down Bow Spectre II Break Down Bow If you’re in the market for a takedown recurve bow, whether it’s your first or an upgrade, this article is tailored for you. Tigershark one piece recurve bow. There are three different lengths available, which is great for your kid, since you will be able to find the right break down bow no. Read reviews and select from finely crafted. Break Down Bow.
From www.slideshare.net
Break down bow PDF Break Down Bow What are the best survival bows? Recurve takedown bows merge old world style with. Here are my top mind4survival picks for the best survival bow to keep you safe and prepared! Read reviews and select from finely crafted take down bows at lancaster archery supply. Designed by experienced engineers who have designed. The atmos is made of 7075 aluminum and. Break Down Bow.
From www.slideshare.net
Break down bow Break Down Bow What are the best survival bows? Made in the usa, the sas ranger compact takedown survival bow is the big brother of the scout compact takedown survival bow. Recurve takedown bows merge old world style with. If you’re in the market for a takedown recurve bow, whether it’s your first or an upgrade, this article is tailored for you. Tigershark. Break Down Bow.
From www.slideshare.net
Break down bow Break Down Bow There are three different lengths available, which is great for your kid, since you will be able to find the right break down bow no. The atmos is made of 7075 aluminum and lends itself to modern sighting systems commonly found on compound bows. Tigershark one piece recurve bow. Here are my top mind4survival picks for the best survival bow. Break Down Bow.
From www.slideshare.net
Break down bow Break Down Bow Made in the usa, the sas ranger compact takedown survival bow is the big brother of the scout compact takedown survival bow. The atmos is made of 7075 aluminum and lends itself to modern sighting systems commonly found on compound bows. Tigershark one piece recurve bow. What are the best survival bows? Designed by experienced engineers who have designed. Read. Break Down Bow.
From vintageworksbows.com
Grayling Classic Break Down Vintage Works Bows Break Down Bow If you’re in the market for a takedown recurve bow, whether it’s your first or an upgrade, this article is tailored for you. Designed by experienced engineers who have designed. Tigershark one piece recurve bow. What are the best survival bows? Read reviews and select from finely crafted take down bows at lancaster archery supply. The tigershark one piece recurve. Break Down Bow.
From hikepro.net
HikePRO Compact TakeDown Survival Bow & Arrow Set Break Down Bow Here are my top mind4survival picks for the best survival bow to keep you safe and prepared! Recurve takedown bows merge old world style with. If you’re in the market for a takedown recurve bow, whether it’s your first or an upgrade, this article is tailored for you. The atmos is made of 7075 aluminum and lends itself to modern. Break Down Bow.
From shrewbows.com
Shrew Break Down Bow Case Shrew Bows Break Down Bow What are the best survival bows? Tigershark one piece recurve bow. The atmos is made of 7075 aluminum and lends itself to modern sighting systems commonly found on compound bows. Made in the usa, the sas ranger compact takedown survival bow is the big brother of the scout compact takedown survival bow. Recurve takedown bows merge old world style with.. Break Down Bow.
From vintageworksbows.com
Grayling Classic Break Down Vintage Works Bows Break Down Bow What are the best survival bows? The tigershark one piece recurve bow is a great choice for any preppers looking to stay safe and prepared. Recurve takedown bows merge old world style with. There are three different lengths available, which is great for your kid, since you will be able to find the right break down bow no. Tigershark one. Break Down Bow.
From www.swordofsurvival.com
Sword Of Survival Survival Break Down Bow Break Down Bow The atmos is made of 7075 aluminum and lends itself to modern sighting systems commonly found on compound bows. If you’re in the market for a takedown recurve bow, whether it’s your first or an upgrade, this article is tailored for you. The tigershark one piece recurve bow is a great choice for any preppers looking to stay safe and. Break Down Bow.
From www.slideshare.net
Break down bow Break Down Bow There are three different lengths available, which is great for your kid, since you will be able to find the right break down bow no. If you’re in the market for a takedown recurve bow, whether it’s your first or an upgrade, this article is tailored for you. Recurve takedown bows merge old world style with. Designed by experienced engineers. Break Down Bow.
From www.armslist.com
ARMSLIST For Sale Breakdown long bow Break Down Bow The tigershark one piece recurve bow is a great choice for any preppers looking to stay safe and prepared. The atmos is made of 7075 aluminum and lends itself to modern sighting systems commonly found on compound bows. Here are my top mind4survival picks for the best survival bow to keep you safe and prepared! Recurve takedown bows merge old. Break Down Bow.
From vintageworksbows.com
Grayling Classic Break Down Vintage Works Bows Break Down Bow There are three different lengths available, which is great for your kid, since you will be able to find the right break down bow no. Here are my top mind4survival picks for the best survival bow to keep you safe and prepared! The tigershark one piece recurve bow is a great choice for any preppers looking to stay safe and. Break Down Bow.
From shrewbows.com
Shrew Break Down Bow Case Shrew Bows Break Down Bow What are the best survival bows? Made in the usa, the sas ranger compact takedown survival bow is the big brother of the scout compact takedown survival bow. Designed by experienced engineers who have designed. Recurve takedown bows merge old world style with. If you’re in the market for a takedown recurve bow, whether it’s your first or an upgrade,. Break Down Bow.
From www.pinterest.com
Compact Break Take Down Survival Bow The Raptor 2in1 45/55lb Kit with Break Down Bow Designed by experienced engineers who have designed. Tigershark one piece recurve bow. What are the best survival bows? There are three different lengths available, which is great for your kid, since you will be able to find the right break down bow no. If you’re in the market for a takedown recurve bow, whether it’s your first or an upgrade,. Break Down Bow.
From vintageworksbows.com
Grayling Classic Break Down Vintage Works Bows Break Down Bow What are the best survival bows? If you’re in the market for a takedown recurve bow, whether it’s your first or an upgrade, this article is tailored for you. Tigershark one piece recurve bow. Recurve takedown bows merge old world style with. Read reviews and select from finely crafted take down bows at lancaster archery supply. Made in the usa,. Break Down Bow.
From es.slideshare.net
Break down bow Break Down Bow There are three different lengths available, which is great for your kid, since you will be able to find the right break down bow no. The tigershark one piece recurve bow is a great choice for any preppers looking to stay safe and prepared. The atmos is made of 7075 aluminum and lends itself to modern sighting systems commonly found. Break Down Bow.
From www.armslist.com
ARMSLIST For Sale Breakdown long bow Break Down Bow There are three different lengths available, which is great for your kid, since you will be able to find the right break down bow no. Designed by experienced engineers who have designed. What are the best survival bows? If you’re in the market for a takedown recurve bow, whether it’s your first or an upgrade, this article is tailored for. Break Down Bow.
From vintageworksbows.com
Grayling Classic Break Down Vintage Works Bows Break Down Bow What are the best survival bows? If you’re in the market for a takedown recurve bow, whether it’s your first or an upgrade, this article is tailored for you. Here are my top mind4survival picks for the best survival bow to keep you safe and prepared! There are three different lengths available, which is great for your kid, since you. Break Down Bow.
From www.armslist.com
ARMSLIST For Sale Breakdown long bow Break Down Bow Read reviews and select from finely crafted take down bows at lancaster archery supply. Here are my top mind4survival picks for the best survival bow to keep you safe and prepared! Tigershark one piece recurve bow. What are the best survival bows? If you’re in the market for a takedown recurve bow, whether it’s your first or an upgrade, this. Break Down Bow.
From www.slideshare.net
Break down bow Break Down Bow The tigershark one piece recurve bow is a great choice for any preppers looking to stay safe and prepared. What are the best survival bows? Here are my top mind4survival picks for the best survival bow to keep you safe and prepared! Made in the usa, the sas ranger compact takedown survival bow is the big brother of the scout. Break Down Bow.
From www.sportsmansguide.com
Martin Jaguar Takedown 4550 lb. Recurve Bow 637509, Bows at Break Down Bow The atmos is made of 7075 aluminum and lends itself to modern sighting systems commonly found on compound bows. What are the best survival bows? Here are my top mind4survival picks for the best survival bow to keep you safe and prepared! Tigershark one piece recurve bow. The tigershark one piece recurve bow is a great choice for any preppers. Break Down Bow.
From www.ebay.com
Super Compact the Break Take Down Survival Bow with Arrows & carry Break Down Bow If you’re in the market for a takedown recurve bow, whether it’s your first or an upgrade, this article is tailored for you. The atmos is made of 7075 aluminum and lends itself to modern sighting systems commonly found on compound bows. There are three different lengths available, which is great for your kid, since you will be able to. Break Down Bow.
From shrewbows.com
Super Shrew II Shrew Bows Break Down Bow Tigershark one piece recurve bow. Here are my top mind4survival picks for the best survival bow to keep you safe and prepared! Made in the usa, the sas ranger compact takedown survival bow is the big brother of the scout compact takedown survival bow. There are three different lengths available, which is great for your kid, since you will be. Break Down Bow.
From www.survivalbreakdownbow.com
Survival Break Down Bow Rapture Break Down Bow The atmos is made of 7075 aluminum and lends itself to modern sighting systems commonly found on compound bows. Read reviews and select from finely crafted take down bows at lancaster archery supply. There are three different lengths available, which is great for your kid, since you will be able to find the right break down bow no. Designed by. Break Down Bow.
From www.survivalbreakdownbow.com
Survival Break Down Bow Spectre II Break Down Bow Here are my top mind4survival picks for the best survival bow to keep you safe and prepared! Tigershark one piece recurve bow. The atmos is made of 7075 aluminum and lends itself to modern sighting systems commonly found on compound bows. Recurve takedown bows merge old world style with. Made in the usa, the sas ranger compact takedown survival bow. Break Down Bow.
From www.youtube.com
Hungarian bending Fiberglass break down Bow by Alikhlas Archery Break Down Bow There are three different lengths available, which is great for your kid, since you will be able to find the right break down bow no. Made in the usa, the sas ranger compact takedown survival bow is the big brother of the scout compact takedown survival bow. The atmos is made of 7075 aluminum and lends itself to modern sighting. Break Down Bow.
From survivalbreakdownbow.com
Survival Break Down Bow Survival Take Down Arrows 3 Pak Break Down Bow Made in the usa, the sas ranger compact takedown survival bow is the big brother of the scout compact takedown survival bow. Designed by experienced engineers who have designed. The atmos is made of 7075 aluminum and lends itself to modern sighting systems commonly found on compound bows. The tigershark one piece recurve bow is a great choice for any. Break Down Bow.
From www.survivalbreakdownbow.com
Survival Break Down Bow Spectre II Bow and Pouch Only Break Down Bow Here are my top mind4survival picks for the best survival bow to keep you safe and prepared! The tigershark one piece recurve bow is a great choice for any preppers looking to stay safe and prepared. There are three different lengths available, which is great for your kid, since you will be able to find the right break down bow. Break Down Bow.