Auto Air Bleed Valve . taco offers a range of automatic air vents to purge unwanted air from any hydronic system, such as boilers, radiators and pipes. learn how to install manual or automatic air bleed valves or vents on hot water heating system pipes, radiators, baseboards or convectors. the ae14 automatic air vent utilises a simple but well proven, float lever valve assembly which opens to air and gases and closes.
from www.ebay.ie
the ae14 automatic air vent utilises a simple but well proven, float lever valve assembly which opens to air and gases and closes. taco offers a range of automatic air vents to purge unwanted air from any hydronic system, such as boilers, radiators and pipes. learn how to install manual or automatic air bleed valves or vents on hot water heating system pipes, radiators, baseboards or convectors.
1/2 Inch Automatic Air Vent Auto Cutoff Self Bleeding Radiator Valve
Auto Air Bleed Valve the ae14 automatic air vent utilises a simple but well proven, float lever valve assembly which opens to air and gases and closes. taco offers a range of automatic air vents to purge unwanted air from any hydronic system, such as boilers, radiators and pipes. learn how to install manual or automatic air bleed valves or vents on hot water heating system pipes, radiators, baseboards or convectors. the ae14 automatic air vent utilises a simple but well proven, float lever valve assembly which opens to air and gases and closes.
From www.ukboilerbreakers.co.uk
Baxi 720480901 Vent Auto Air Bleed Device GC No 4107599A. Auto Air Bleed Valve the ae14 automatic air vent utilises a simple but well proven, float lever valve assembly which opens to air and gases and closes. taco offers a range of automatic air vents to purge unwanted air from any hydronic system, such as boilers, radiators and pipes. learn how to install manual or automatic air bleed valves or vents. Auto Air Bleed Valve.
From www.yourcustomcar.com
coolant bleeder valve Auto Air Bleed Valve the ae14 automatic air vent utilises a simple but well proven, float lever valve assembly which opens to air and gases and closes. learn how to install manual or automatic air bleed valves or vents on hot water heating system pipes, radiators, baseboards or convectors. taco offers a range of automatic air vents to purge unwanted air. Auto Air Bleed Valve.
From www.summitracing.com
Dedenbear BV1 Dedenbear Coolant Air Bleed Valves Summit Racing Auto Air Bleed Valve the ae14 automatic air vent utilises a simple but well proven, float lever valve assembly which opens to air and gases and closes. taco offers a range of automatic air vents to purge unwanted air from any hydronic system, such as boilers, radiators and pipes. learn how to install manual or automatic air bleed valves or vents. Auto Air Bleed Valve.
From www.ebay.ie
1/2 Inch Automatic Air Vent Auto Cutoff Self Bleeding Radiator Valve Auto Air Bleed Valve taco offers a range of automatic air vents to purge unwanted air from any hydronic system, such as boilers, radiators and pipes. learn how to install manual or automatic air bleed valves or vents on hot water heating system pipes, radiators, baseboards or convectors. the ae14 automatic air vent utilises a simple but well proven, float lever. Auto Air Bleed Valve.
From www.meggittvalves.com
Bleed Air Valve Auto Air Bleed Valve taco offers a range of automatic air vents to purge unwanted air from any hydronic system, such as boilers, radiators and pipes. the ae14 automatic air vent utilises a simple but well proven, float lever valve assembly which opens to air and gases and closes. learn how to install manual or automatic air bleed valves or vents. Auto Air Bleed Valve.
From www.amazon.de
Automatic Air Vent ValveAUTOMATIC AIR VENT VALVE Amazon.de Küche Auto Air Bleed Valve taco offers a range of automatic air vents to purge unwanted air from any hydronic system, such as boilers, radiators and pipes. learn how to install manual or automatic air bleed valves or vents on hot water heating system pipes, radiators, baseboards or convectors. the ae14 automatic air vent utilises a simple but well proven, float lever. Auto Air Bleed Valve.
From www.labuvette-waterers.co.uk
LA BUVETTE AUTOMATIC BLEED VALVE Auto Air Bleed Valve taco offers a range of automatic air vents to purge unwanted air from any hydronic system, such as boilers, radiators and pipes. learn how to install manual or automatic air bleed valves or vents on hot water heating system pipes, radiators, baseboards or convectors. the ae14 automatic air vent utilises a simple but well proven, float lever. Auto Air Bleed Valve.
From sites.google.com
BRASS BLEED VALVE Auto Air Bleed Valve taco offers a range of automatic air vents to purge unwanted air from any hydronic system, such as boilers, radiators and pipes. the ae14 automatic air vent utilises a simple but well proven, float lever valve assembly which opens to air and gases and closes. learn how to install manual or automatic air bleed valves or vents. Auto Air Bleed Valve.
From www.amazon.in
Tectran DV2 Automatic Air Tank Drain Valve Heated 12 Volt Auto Air Bleed Valve taco offers a range of automatic air vents to purge unwanted air from any hydronic system, such as boilers, radiators and pipes. learn how to install manual or automatic air bleed valves or vents on hot water heating system pipes, radiators, baseboards or convectors. the ae14 automatic air vent utilises a simple but well proven, float lever. Auto Air Bleed Valve.
From www.walmart.com
G1/2 Male Thread Air Vent Valve Brass Air Release Valve 39mm Outer Auto Air Bleed Valve taco offers a range of automatic air vents to purge unwanted air from any hydronic system, such as boilers, radiators and pipes. learn how to install manual or automatic air bleed valves or vents on hot water heating system pipes, radiators, baseboards or convectors. the ae14 automatic air vent utilises a simple but well proven, float lever. Auto Air Bleed Valve.
From www.alibaba.com
Adjustable Stainless Steel Auto Air Bleed Valve Buy Auto Air Bleed Auto Air Bleed Valve the ae14 automatic air vent utilises a simple but well proven, float lever valve assembly which opens to air and gases and closes. learn how to install manual or automatic air bleed valves or vents on hot water heating system pipes, radiators, baseboards or convectors. taco offers a range of automatic air vents to purge unwanted air. Auto Air Bleed Valve.
From www.amazon.co.uk
Bleeder valve, DN15 G1 / 2 Automatic brass bleed valve for pressure Auto Air Bleed Valve taco offers a range of automatic air vents to purge unwanted air from any hydronic system, such as boilers, radiators and pipes. the ae14 automatic air vent utilises a simple but well proven, float lever valve assembly which opens to air and gases and closes. learn how to install manual or automatic air bleed valves or vents. Auto Air Bleed Valve.
From dxobotebh.blob.core.windows.net
Radiator Auto Air Bleed Valves at Christine Walters blog Auto Air Bleed Valve taco offers a range of automatic air vents to purge unwanted air from any hydronic system, such as boilers, radiators and pipes. learn how to install manual or automatic air bleed valves or vents on hot water heating system pipes, radiators, baseboards or convectors. the ae14 automatic air vent utilises a simple but well proven, float lever. Auto Air Bleed Valve.
From aerocorner.com
How it works Bleed Air System Aero Corner Auto Air Bleed Valve the ae14 automatic air vent utilises a simple but well proven, float lever valve assembly which opens to air and gases and closes. taco offers a range of automatic air vents to purge unwanted air from any hydronic system, such as boilers, radiators and pipes. learn how to install manual or automatic air bleed valves or vents. Auto Air Bleed Valve.
From lenzinc.com
ABV NPT STEEL AIR BLEED VALVES Lenz Auto Air Bleed Valve the ae14 automatic air vent utilises a simple but well proven, float lever valve assembly which opens to air and gases and closes. learn how to install manual or automatic air bleed valves or vents on hot water heating system pipes, radiators, baseboards or convectors. taco offers a range of automatic air vents to purge unwanted air. Auto Air Bleed Valve.
From www.ebay.ie
1/2 Inch Automatic Air Vent Auto Cutoff Self Bleeding Radiator Valve Auto Air Bleed Valve the ae14 automatic air vent utilises a simple but well proven, float lever valve assembly which opens to air and gases and closes. taco offers a range of automatic air vents to purge unwanted air from any hydronic system, such as boilers, radiators and pipes. learn how to install manual or automatic air bleed valves or vents. Auto Air Bleed Valve.
From www.carronheating.co.uk
Luxury Brass Air Bleed Valve Carron Auto Air Bleed Valve learn how to install manual or automatic air bleed valves or vents on hot water heating system pipes, radiators, baseboards or convectors. taco offers a range of automatic air vents to purge unwanted air from any hydronic system, such as boilers, radiators and pipes. the ae14 automatic air vent utilises a simple but well proven, float lever. Auto Air Bleed Valve.
From www.mirox.com.tr
MANUAL AIR BLEED Products Auto Air Bleed Valve learn how to install manual or automatic air bleed valves or vents on hot water heating system pipes, radiators, baseboards or convectors. taco offers a range of automatic air vents to purge unwanted air from any hydronic system, such as boilers, radiators and pipes. the ae14 automatic air vent utilises a simple but well proven, float lever. Auto Air Bleed Valve.
From www.youtube.com
Best 3 Ways to Bleed Air Out of Your Car's Cooling System YouTube Auto Air Bleed Valve learn how to install manual or automatic air bleed valves or vents on hot water heating system pipes, radiators, baseboards or convectors. the ae14 automatic air vent utilises a simple but well proven, float lever valve assembly which opens to air and gases and closes. taco offers a range of automatic air vents to purge unwanted air. Auto Air Bleed Valve.
From www.aerofluidproducts.com
Bleed Air Valves Aircraft Environmental Control Systems Auto Air Bleed Valve learn how to install manual or automatic air bleed valves or vents on hot water heating system pipes, radiators, baseboards or convectors. taco offers a range of automatic air vents to purge unwanted air from any hydronic system, such as boilers, radiators and pipes. the ae14 automatic air vent utilises a simple but well proven, float lever. Auto Air Bleed Valve.
From www.pneumadyne.com
Bleed Valves Automatic Bleeding Valves Bleed Valves Automatic Auto Air Bleed Valve the ae14 automatic air vent utilises a simple but well proven, float lever valve assembly which opens to air and gases and closes. learn how to install manual or automatic air bleed valves or vents on hot water heating system pipes, radiators, baseboards or convectors. taco offers a range of automatic air vents to purge unwanted air. Auto Air Bleed Valve.
From www.hydraulicstore.com
AB20S DELTROL. HYDRAULIC VALVE, STEEL, AIR BLEED VALVE, REMOVES TRAPPED Auto Air Bleed Valve taco offers a range of automatic air vents to purge unwanted air from any hydronic system, such as boilers, radiators and pipes. learn how to install manual or automatic air bleed valves or vents on hot water heating system pipes, radiators, baseboards or convectors. the ae14 automatic air vent utilises a simple but well proven, float lever. Auto Air Bleed Valve.
From www.dreamstime.com
Automatic Bleeding Valve or Air Release Valve Stock Photo Image of Auto Air Bleed Valve taco offers a range of automatic air vents to purge unwanted air from any hydronic system, such as boilers, radiators and pipes. the ae14 automatic air vent utilises a simple but well proven, float lever valve assembly which opens to air and gases and closes. learn how to install manual or automatic air bleed valves or vents. Auto Air Bleed Valve.
From www.stevensonplumbing.co.uk
Myson Radiator Bleed Valve / Air Vent (With Bleed Screw) Auto Air Bleed Valve the ae14 automatic air vent utilises a simple but well proven, float lever valve assembly which opens to air and gases and closes. taco offers a range of automatic air vents to purge unwanted air from any hydronic system, such as boilers, radiators and pipes. learn how to install manual or automatic air bleed valves or vents. Auto Air Bleed Valve.
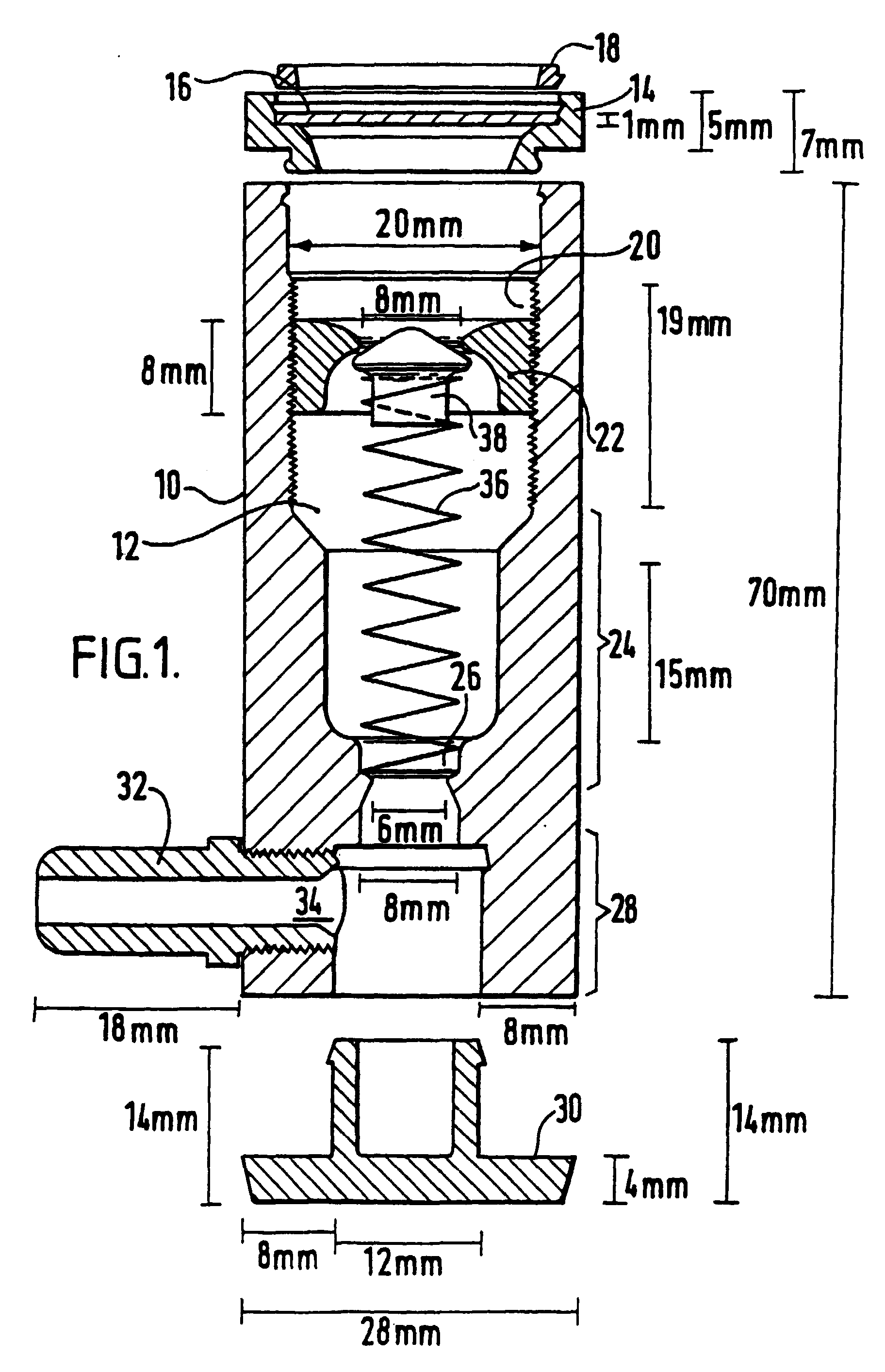
From encrypted.google.com
Patent EP1039119A2 Automatic air bleed valve Google Patents Auto Air Bleed Valve the ae14 automatic air vent utilises a simple but well proven, float lever valve assembly which opens to air and gases and closes. taco offers a range of automatic air vents to purge unwanted air from any hydronic system, such as boilers, radiators and pipes. learn how to install manual or automatic air bleed valves or vents. Auto Air Bleed Valve.
From caravanspares.com
AUTO AIR BLEED VALVE Caravan Spares Auto Air Bleed Valve the ae14 automatic air vent utilises a simple but well proven, float lever valve assembly which opens to air and gases and closes. taco offers a range of automatic air vents to purge unwanted air from any hydronic system, such as boilers, radiators and pipes. learn how to install manual or automatic air bleed valves or vents. Auto Air Bleed Valve.
From www.youtube.com
Learn How To Bleed Air Out Of Your Car's Cooling System With This Quick Auto Air Bleed Valve learn how to install manual or automatic air bleed valves or vents on hot water heating system pipes, radiators, baseboards or convectors. taco offers a range of automatic air vents to purge unwanted air from any hydronic system, such as boilers, radiators and pipes. the ae14 automatic air vent utilises a simple but well proven, float lever. Auto Air Bleed Valve.
From www.leisureplus.co.uk
ALDE Heating ALDE Automatic Air Bleed Valve Leisure Plus Auto Air Bleed Valve taco offers a range of automatic air vents to purge unwanted air from any hydronic system, such as boilers, radiators and pipes. the ae14 automatic air vent utilises a simple but well proven, float lever valve assembly which opens to air and gases and closes. learn how to install manual or automatic air bleed valves or vents. Auto Air Bleed Valve.
From www.swordcrowncaravans.com
ALDE 1900542 Brass Automatic Self Bleeding Valve With hose Side Outlet Auto Air Bleed Valve learn how to install manual or automatic air bleed valves or vents on hot water heating system pipes, radiators, baseboards or convectors. the ae14 automatic air vent utilises a simple but well proven, float lever valve assembly which opens to air and gases and closes. taco offers a range of automatic air vents to purge unwanted air. Auto Air Bleed Valve.
From www.unventedcomponentseurope.com
Intatec iAir Vent 1/2" Automatic Air Vent Valve AAV007 Unvented Auto Air Bleed Valve taco offers a range of automatic air vents to purge unwanted air from any hydronic system, such as boilers, radiators and pipes. learn how to install manual or automatic air bleed valves or vents on hot water heating system pipes, radiators, baseboards or convectors. the ae14 automatic air vent utilises a simple but well proven, float lever. Auto Air Bleed Valve.
From aheinfo.com
LENZ 8ABV 1/2" AIR BLEED VALVE Air & Hydraulic Equipment,Inc. Auto Air Bleed Valve taco offers a range of automatic air vents to purge unwanted air from any hydronic system, such as boilers, radiators and pipes. the ae14 automatic air vent utilises a simple but well proven, float lever valve assembly which opens to air and gases and closes. learn how to install manual or automatic air bleed valves or vents. Auto Air Bleed Valve.
From ukradiators.com
Radiator Bleed Valve Non Replaceable Autovents UK Radiators Auto Air Bleed Valve the ae14 automatic air vent utilises a simple but well proven, float lever valve assembly which opens to air and gases and closes. learn how to install manual or automatic air bleed valves or vents on hot water heating system pipes, radiators, baseboards or convectors. taco offers a range of automatic air vents to purge unwanted air. Auto Air Bleed Valve.
From lenzinc.com
ABVT NPT STEEL AIR BLEED VALVES Lenz Auto Air Bleed Valve learn how to install manual or automatic air bleed valves or vents on hot water heating system pipes, radiators, baseboards or convectors. taco offers a range of automatic air vents to purge unwanted air from any hydronic system, such as boilers, radiators and pipes. the ae14 automatic air vent utilises a simple but well proven, float lever. Auto Air Bleed Valve.
From castironradiatorcentre.co.uk
Accessories Bleed Valves Air Vents Auto Air Bleed Valve learn how to install manual or automatic air bleed valves or vents on hot water heating system pipes, radiators, baseboards or convectors. taco offers a range of automatic air vents to purge unwanted air from any hydronic system, such as boilers, radiators and pipes. the ae14 automatic air vent utilises a simple but well proven, float lever. Auto Air Bleed Valve.
From urpravo2.ru
Auto bleed valve central heating Sweet puff glass pipe Auto Air Bleed Valve taco offers a range of automatic air vents to purge unwanted air from any hydronic system, such as boilers, radiators and pipes. the ae14 automatic air vent utilises a simple but well proven, float lever valve assembly which opens to air and gases and closes. learn how to install manual or automatic air bleed valves or vents. Auto Air Bleed Valve.