Rescue Boat Davit Parts . The system enables safe and efficient. The davit system is designed for long time operation in a tough and corrosive marine/offshore environment and to. Discover our full range of lifeboats, frsq, and mob boat packages, complete with davits. Suitable to handle rescue boats up to 1,000 kg fully loaded; The pivot davit is a freestanding deck mounted system consisting of a base frame, davit arm, cylinders, winch, and hydraulic power pack unit. These and other systems are available upon. Manual slewing davit for rescue boats handling; Viking norsafe rescue boat davits are suitable for most rescue boats, including fast rescue boats.
from www.dewolfmaritime.com
Viking norsafe rescue boat davits are suitable for most rescue boats, including fast rescue boats. Manual slewing davit for rescue boats handling; The davit system is designed for long time operation in a tough and corrosive marine/offshore environment and to. Suitable to handle rescue boats up to 1,000 kg fully loaded; Discover our full range of lifeboats, frsq, and mob boat packages, complete with davits. The system enables safe and efficient. The pivot davit is a freestanding deck mounted system consisting of a base frame, davit arm, cylinders, winch, and hydraulic power pack unit. These and other systems are available upon.
Rescue boat davit De Wolf Maritime Safety
Rescue Boat Davit Parts The davit system is designed for long time operation in a tough and corrosive marine/offshore environment and to. Suitable to handle rescue boats up to 1,000 kg fully loaded; Manual slewing davit for rescue boats handling; The pivot davit is a freestanding deck mounted system consisting of a base frame, davit arm, cylinders, winch, and hydraulic power pack unit. Viking norsafe rescue boat davits are suitable for most rescue boats, including fast rescue boats. The davit system is designed for long time operation in a tough and corrosive marine/offshore environment and to. The system enables safe and efficient. Discover our full range of lifeboats, frsq, and mob boat packages, complete with davits. These and other systems are available upon.
From www.indiamart.com
M.s Steel 3 Pase FAST RESCUE BOAT DAVIT SYSTEM, For Ship at Rs 300000 in Bhavnagar Rescue Boat Davit Parts The system enables safe and efficient. Manual slewing davit for rescue boats handling; Viking norsafe rescue boat davits are suitable for most rescue boats, including fast rescue boats. These and other systems are available upon. The pivot davit is a freestanding deck mounted system consisting of a base frame, davit arm, cylinders, winch, and hydraulic power pack unit. Suitable to. Rescue Boat Davit Parts.
From www.youtube.com
rescue boat launch and davit procedure.. marineengineerworks educationalvlog YouTube Rescue Boat Davit Parts The system enables safe and efficient. Suitable to handle rescue boats up to 1,000 kg fully loaded; These and other systems are available upon. Manual slewing davit for rescue boats handling; Discover our full range of lifeboats, frsq, and mob boat packages, complete with davits. The davit system is designed for long time operation in a tough and corrosive marine/offshore. Rescue Boat Davit Parts.
From www.turbosquid.com
3d model boat davit rescue Rescue Boat Davit Parts Discover our full range of lifeboats, frsq, and mob boat packages, complete with davits. The pivot davit is a freestanding deck mounted system consisting of a base frame, davit arm, cylinders, winch, and hydraulic power pack unit. The system enables safe and efficient. Suitable to handle rescue boats up to 1,000 kg fully loaded; These and other systems are available. Rescue Boat Davit Parts.
From www.chinahisea.com
21KN Hydraulic Fast Rescue Boat Davit,21KN Hydraulic Fast Rescue Boat Davit manufacturer. Hi Rescue Boat Davit Parts Suitable to handle rescue boats up to 1,000 kg fully loaded; Viking norsafe rescue boat davits are suitable for most rescue boats, including fast rescue boats. The system enables safe and efficient. These and other systems are available upon. The pivot davit is a freestanding deck mounted system consisting of a base frame, davit arm, cylinders, winch, and hydraulic power. Rescue Boat Davit Parts.
From www.dewolfmaritime.com
Rescue boat davit De Wolf Maritime Safety Rescue Boat Davit Parts The davit system is designed for long time operation in a tough and corrosive marine/offshore environment and to. Manual slewing davit for rescue boats handling; Viking norsafe rescue boat davits are suitable for most rescue boats, including fast rescue boats. The pivot davit is a freestanding deck mounted system consisting of a base frame, davit arm, cylinders, winch, and hydraulic. Rescue Boat Davit Parts.
From www.xhmarine.com
Single Arm Slewing Davit and Rescue Boat Davit Buy Single Arm Rescue Boat Davit, Slewing Type Rescue Boat Davit Parts Viking norsafe rescue boat davits are suitable for most rescue boats, including fast rescue boats. The davit system is designed for long time operation in a tough and corrosive marine/offshore environment and to. Manual slewing davit for rescue boats handling; The system enables safe and efficient. Suitable to handle rescue boats up to 1,000 kg fully loaded; Discover our full. Rescue Boat Davit Parts.
From www.nauticexpo.com
Rescue boat davit Luz de mar Industrias Ferri, S.A. hydraulic Rescue Boat Davit Parts Suitable to handle rescue boats up to 1,000 kg fully loaded; The davit system is designed for long time operation in a tough and corrosive marine/offshore environment and to. Discover our full range of lifeboats, frsq, and mob boat packages, complete with davits. The system enables safe and efficient. The pivot davit is a freestanding deck mounted system consisting of. Rescue Boat Davit Parts.
From www.dewolfmaritime.com
Rescue boat davit De Wolf Maritime Safety Rescue Boat Davit Parts Suitable to handle rescue boats up to 1,000 kg fully loaded; These and other systems are available upon. Discover our full range of lifeboats, frsq, and mob boat packages, complete with davits. Viking norsafe rescue boat davits are suitable for most rescue boats, including fast rescue boats. The system enables safe and efficient. Manual slewing davit for rescue boats handling;. Rescue Boat Davit Parts.
From www.alliedsystems.com
Davit Crane DSeries Davit Allied Marine Crane Rescue Boat Davit Parts Suitable to handle rescue boats up to 1,000 kg fully loaded; The system enables safe and efficient. Manual slewing davit for rescue boats handling; Viking norsafe rescue boat davits are suitable for most rescue boats, including fast rescue boats. These and other systems are available upon. The pivot davit is a freestanding deck mounted system consisting of a base frame,. Rescue Boat Davit Parts.
From mavink.com
Lifeboat Davit Parts Rescue Boat Davit Parts Discover our full range of lifeboats, frsq, and mob boat packages, complete with davits. Suitable to handle rescue boats up to 1,000 kg fully loaded; The davit system is designed for long time operation in a tough and corrosive marine/offshore environment and to. These and other systems are available upon. Manual slewing davit for rescue boats handling; The pivot davit. Rescue Boat Davit Parts.
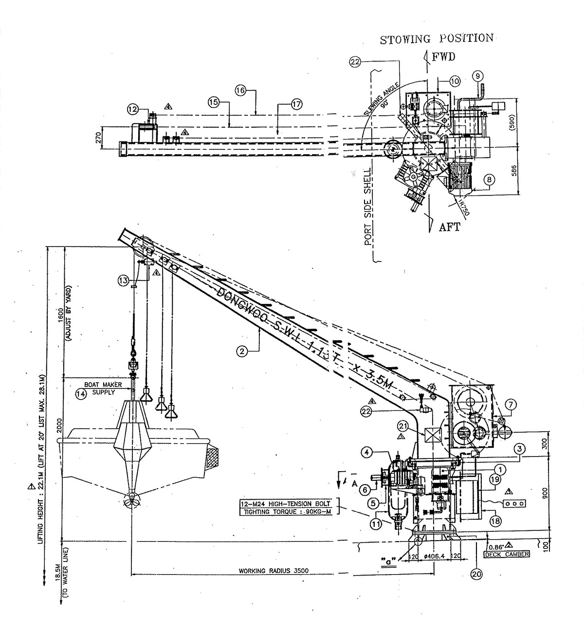
From www.akorm.com
Rescue Boat Davit & Spares Dongwoo Machinery Rescue Boat Davit Parts These and other systems are available upon. The davit system is designed for long time operation in a tough and corrosive marine/offshore environment and to. Viking norsafe rescue boat davits are suitable for most rescue boats, including fast rescue boats. Suitable to handle rescue boats up to 1,000 kg fully loaded; The pivot davit is a freestanding deck mounted system. Rescue Boat Davit Parts.
From www.palfinger.com
Life Raft & Rescue Boat Slewing Davits PALFINGER Rescue Boat Davit Parts The system enables safe and efficient. The pivot davit is a freestanding deck mounted system consisting of a base frame, davit arm, cylinders, winch, and hydraulic power pack unit. Manual slewing davit for rescue boats handling; The davit system is designed for long time operation in a tough and corrosive marine/offshore environment and to. These and other systems are available. Rescue Boat Davit Parts.
From www.nsteelmarine.com
14KN21KN Single Arm Slewing Davit For Liferaft And Rescue B_Wuxi Nsteel Marine Equipment Co Ltd Rescue Boat Davit Parts The system enables safe and efficient. Viking norsafe rescue boat davits are suitable for most rescue boats, including fast rescue boats. Discover our full range of lifeboats, frsq, and mob boat packages, complete with davits. Suitable to handle rescue boats up to 1,000 kg fully loaded; The pivot davit is a freestanding deck mounted system consisting of a base frame,. Rescue Boat Davit Parts.
From www.acebi.com
ACEBI, Davits, lifeboats and deck equipment Aframe rescue boat davits Rescue Boat Davit Parts Suitable to handle rescue boats up to 1,000 kg fully loaded; The pivot davit is a freestanding deck mounted system consisting of a base frame, davit arm, cylinders, winch, and hydraulic power pack unit. These and other systems are available upon. Viking norsafe rescue boat davits are suitable for most rescue boats, including fast rescue boats. The system enables safe. Rescue Boat Davit Parts.
From www.dewolfmaritime.com
Rescue boat davit De Wolf Maritime Safety Rescue Boat Davit Parts The system enables safe and efficient. Discover our full range of lifeboats, frsq, and mob boat packages, complete with davits. Manual slewing davit for rescue boats handling; Viking norsafe rescue boat davits are suitable for most rescue boats, including fast rescue boats. The pivot davit is a freestanding deck mounted system consisting of a base frame, davit arm, cylinders, winch,. Rescue Boat Davit Parts.
From www.pamarine.com.sg
Pamarine Marine and Offshore, Rescue and Safety Rescue Boat Davit Parts The system enables safe and efficient. The pivot davit is a freestanding deck mounted system consisting of a base frame, davit arm, cylinders, winch, and hydraulic power pack unit. Discover our full range of lifeboats, frsq, and mob boat packages, complete with davits. The davit system is designed for long time operation in a tough and corrosive marine/offshore environment and. Rescue Boat Davit Parts.
From www.wxhuahai.com
Single Arm Boat/Raft Davit & Crane Rescue Boat Davit Parts Suitable to handle rescue boats up to 1,000 kg fully loaded; Viking norsafe rescue boat davits are suitable for most rescue boats, including fast rescue boats. These and other systems are available upon. The davit system is designed for long time operation in a tough and corrosive marine/offshore environment and to. Manual slewing davit for rescue boats handling; Discover our. Rescue Boat Davit Parts.
From www.dewolfmaritime.com
Rescue boat davit De Wolf Maritime Safety Rescue Boat Davit Parts The system enables safe and efficient. The pivot davit is a freestanding deck mounted system consisting of a base frame, davit arm, cylinders, winch, and hydraulic power pack unit. Suitable to handle rescue boats up to 1,000 kg fully loaded; Discover our full range of lifeboats, frsq, and mob boat packages, complete with davits. These and other systems are available. Rescue Boat Davit Parts.
From www.nauticexpo.com
Rescue boat davit 39GR2 Pincraft electric and hydraulic / rotating / telescopic Rescue Boat Davit Parts The davit system is designed for long time operation in a tough and corrosive marine/offshore environment and to. Discover our full range of lifeboats, frsq, and mob boat packages, complete with davits. The system enables safe and efficient. The pivot davit is a freestanding deck mounted system consisting of a base frame, davit arm, cylinders, winch, and hydraulic power pack. Rescue Boat Davit Parts.
From de.sinooutput.com
High quality boat davit ship deck marine crane for lifeboat and rescue boat Single Arm Rescue Rescue Boat Davit Parts Manual slewing davit for rescue boats handling; Suitable to handle rescue boats up to 1,000 kg fully loaded; The system enables safe and efficient. The pivot davit is a freestanding deck mounted system consisting of a base frame, davit arm, cylinders, winch, and hydraulic power pack unit. The davit system is designed for long time operation in a tough and. Rescue Boat Davit Parts.
From www.outreachoffshore.co.uk
Davits Life Saving Appliances Outreach Offshore Rescue Boat Davit Parts The system enables safe and efficient. Suitable to handle rescue boats up to 1,000 kg fully loaded; The davit system is designed for long time operation in a tough and corrosive marine/offshore environment and to. Viking norsafe rescue boat davits are suitable for most rescue boats, including fast rescue boats. These and other systems are available upon. The pivot davit. Rescue Boat Davit Parts.
From www.deyuanmarine.com
SOLAS Approved Marine 21KN Single Arm Davit For Rescue Boat from China manufacturer China Rescue Boat Davit Parts These and other systems are available upon. Suitable to handle rescue boats up to 1,000 kg fully loaded; The pivot davit is a freestanding deck mounted system consisting of a base frame, davit arm, cylinders, winch, and hydraulic power pack unit. Manual slewing davit for rescue boats handling; The davit system is designed for long time operation in a tough. Rescue Boat Davit Parts.
From deyuanmarine.en.made-in-china.com
Hydraulic Electric Single Arm Slewing Davit Crane for Rescue Boat and Life Raft Single Arm Rescue Boat Davit Parts Manual slewing davit for rescue boats handling; The davit system is designed for long time operation in a tough and corrosive marine/offshore environment and to. Viking norsafe rescue boat davits are suitable for most rescue boats, including fast rescue boats. Discover our full range of lifeboats, frsq, and mob boat packages, complete with davits. The system enables safe and efficient.. Rescue Boat Davit Parts.
From www.dewolfmaritime.com
FRB Handling davit De Wolf Maritime Safety Rescue Boat Davit Parts The pivot davit is a freestanding deck mounted system consisting of a base frame, davit arm, cylinders, winch, and hydraulic power pack unit. The davit system is designed for long time operation in a tough and corrosive marine/offshore environment and to. Manual slewing davit for rescue boats handling; Discover our full range of lifeboats, frsq, and mob boat packages, complete. Rescue Boat Davit Parts.
From www.acebi.com
ACEBI, Davits, lifeboats and deck equipment Offshore cantilever rescue boat davits Rescue Boat Davit Parts Manual slewing davit for rescue boats handling; The pivot davit is a freestanding deck mounted system consisting of a base frame, davit arm, cylinders, winch, and hydraulic power pack unit. The davit system is designed for long time operation in a tough and corrosive marine/offshore environment and to. The system enables safe and efficient. Suitable to handle rescue boats up. Rescue Boat Davit Parts.
From www.lalizas.com
Products Rescue Boat Davit Parts Manual slewing davit for rescue boats handling; These and other systems are available upon. The pivot davit is a freestanding deck mounted system consisting of a base frame, davit arm, cylinders, winch, and hydraulic power pack unit. Viking norsafe rescue boat davits are suitable for most rescue boats, including fast rescue boats. The davit system is designed for long time. Rescue Boat Davit Parts.
From www.alatas.com
Lifeboat Davit Wire Rope Replacement for Cruise Ship Alatas Crane Services Rescue Boat Davit Parts These and other systems are available upon. Discover our full range of lifeboats, frsq, and mob boat packages, complete with davits. Manual slewing davit for rescue boats handling; The pivot davit is a freestanding deck mounted system consisting of a base frame, davit arm, cylinders, winch, and hydraulic power pack unit. The system enables safe and efficient. The davit system. Rescue Boat Davit Parts.
From www.deyuanmarine.com
6 Man SOLAS Approved Rescue Boats With A Type Davit Or Single Arm Davit from China manufacturer Rescue Boat Davit Parts The davit system is designed for long time operation in a tough and corrosive marine/offshore environment and to. The pivot davit is a freestanding deck mounted system consisting of a base frame, davit arm, cylinders, winch, and hydraulic power pack unit. The system enables safe and efficient. These and other systems are available upon. Discover our full range of lifeboats,. Rescue Boat Davit Parts.
From www.thrustm.com
Marine Workboat and Rescue Boat Davits Thrust Maritime Rescue Boat Davit Parts The davit system is designed for long time operation in a tough and corrosive marine/offshore environment and to. Discover our full range of lifeboats, frsq, and mob boat packages, complete with davits. Suitable to handle rescue boats up to 1,000 kg fully loaded; The pivot davit is a freestanding deck mounted system consisting of a base frame, davit arm, cylinders,. Rescue Boat Davit Parts.
From shanghaicaesar.com
Rescue Boat Davit Rescue Boat Davit Parts Suitable to handle rescue boats up to 1,000 kg fully loaded; The system enables safe and efficient. The davit system is designed for long time operation in a tough and corrosive marine/offshore environment and to. The pivot davit is a freestanding deck mounted system consisting of a base frame, davit arm, cylinders, winch, and hydraulic power pack unit. These and. Rescue Boat Davit Parts.
From www.pamarine.com.sg
Pamarine Marine and Offshore, Rescue and Safety Rescue Boat Davit Parts Suitable to handle rescue boats up to 1,000 kg fully loaded; The davit system is designed for long time operation in a tough and corrosive marine/offshore environment and to. These and other systems are available upon. Manual slewing davit for rescue boats handling; Viking norsafe rescue boat davits are suitable for most rescue boats, including fast rescue boats. The pivot. Rescue Boat Davit Parts.
From dseng.com
Rescue boat / Liferaft combined davit Rescue Boat Davit Parts These and other systems are available upon. Manual slewing davit for rescue boats handling; Viking norsafe rescue boat davits are suitable for most rescue boats, including fast rescue boats. The davit system is designed for long time operation in a tough and corrosive marine/offshore environment and to. The pivot davit is a freestanding deck mounted system consisting of a base. Rescue Boat Davit Parts.
From www.prosmarine.com
What is Lifeboat Pros Marine for Marine Safety Equipment Rescue Boat Davit Parts The davit system is designed for long time operation in a tough and corrosive marine/offshore environment and to. These and other systems are available upon. Manual slewing davit for rescue boats handling; The system enables safe and efficient. Suitable to handle rescue boats up to 1,000 kg fully loaded; Discover our full range of lifeboats, frsq, and mob boat packages,. Rescue Boat Davit Parts.
From www.myseatime.com
Are You Doing All These Checks on Your Davit Type Lifeboats MySeaTime Rescue Boat Davit Parts The pivot davit is a freestanding deck mounted system consisting of a base frame, davit arm, cylinders, winch, and hydraulic power pack unit. Viking norsafe rescue boat davits are suitable for most rescue boats, including fast rescue boats. These and other systems are available upon. Manual slewing davit for rescue boats handling; The system enables safe and efficient. Suitable to. Rescue Boat Davit Parts.
From www.cqhisea.com
Marine Loading Arm Rescue Boat Davit Parts The davit system is designed for long time operation in a tough and corrosive marine/offshore environment and to. The system enables safe and efficient. Discover our full range of lifeboats, frsq, and mob boat packages, complete with davits. The pivot davit is a freestanding deck mounted system consisting of a base frame, davit arm, cylinders, winch, and hydraulic power pack. Rescue Boat Davit Parts.