Hino Fuel Filter Location . N m {kgf cm, lbf ft} tightening part tightening torque remarks fuel filter drain. Place a container for catching the fuel under the drain plug. Hey guys i’m trying to figure out how to change this fuel filter and how to prime it. There is just what looks like a electric motor that says 12v on it where a manual pump usually is. The fuel pump is located in this circuit. Fuel filter locations on hino 268 2013 Remove the drain plug, loosen the air bleeder plug, and drain the fuel and water. Fuel passes through the filter’s inlet, enters the filter case, and then passes through. Fuel is sent from the fuel tank to the engine by suction produced at the feed pump. See how to replace both main filter and classis filter on a hino 238,258,268,338 and 358 @dairleautoclassicrestorati6892.
from www.youtube.com
There is just what looks like a electric motor that says 12v on it where a manual pump usually is. Remove the drain plug, loosen the air bleeder plug, and drain the fuel and water. Fuel is sent from the fuel tank to the engine by suction produced at the feed pump. Place a container for catching the fuel under the drain plug. Fuel passes through the filter’s inlet, enters the filter case, and then passes through. Hey guys i’m trying to figure out how to change this fuel filter and how to prime it. The fuel pump is located in this circuit. Fuel filter locations on hino 268 2013 See how to replace both main filter and classis filter on a hino 238,258,268,338 and 358 @dairleautoclassicrestorati6892. N m {kgf cm, lbf ft} tightening part tightening torque remarks fuel filter drain.
HINO Fuel Filter S234011700 YouTube
Hino Fuel Filter Location The fuel pump is located in this circuit. There is just what looks like a electric motor that says 12v on it where a manual pump usually is. N m {kgf cm, lbf ft} tightening part tightening torque remarks fuel filter drain. Remove the drain plug, loosen the air bleeder plug, and drain the fuel and water. Fuel is sent from the fuel tank to the engine by suction produced at the feed pump. The fuel pump is located in this circuit. Place a container for catching the fuel under the drain plug. Fuel passes through the filter’s inlet, enters the filter case, and then passes through. See how to replace both main filter and classis filter on a hino 238,258,268,338 and 358 @dairleautoclassicrestorati6892. Fuel filter locations on hino 268 2013 Hey guys i’m trying to figure out how to change this fuel filter and how to prime it.
From www.youtube.com
Hino NO4C engine change fuel filter,change oil,change power, steering Hino Fuel Filter Location Fuel filter locations on hino 268 2013 The fuel pump is located in this circuit. Fuel is sent from the fuel tank to the engine by suction produced at the feed pump. Place a container for catching the fuel under the drain plug. See how to replace both main filter and classis filter on a hino 238,258,268,338 and 358 @dairleautoclassicrestorati6892.. Hino Fuel Filter Location.
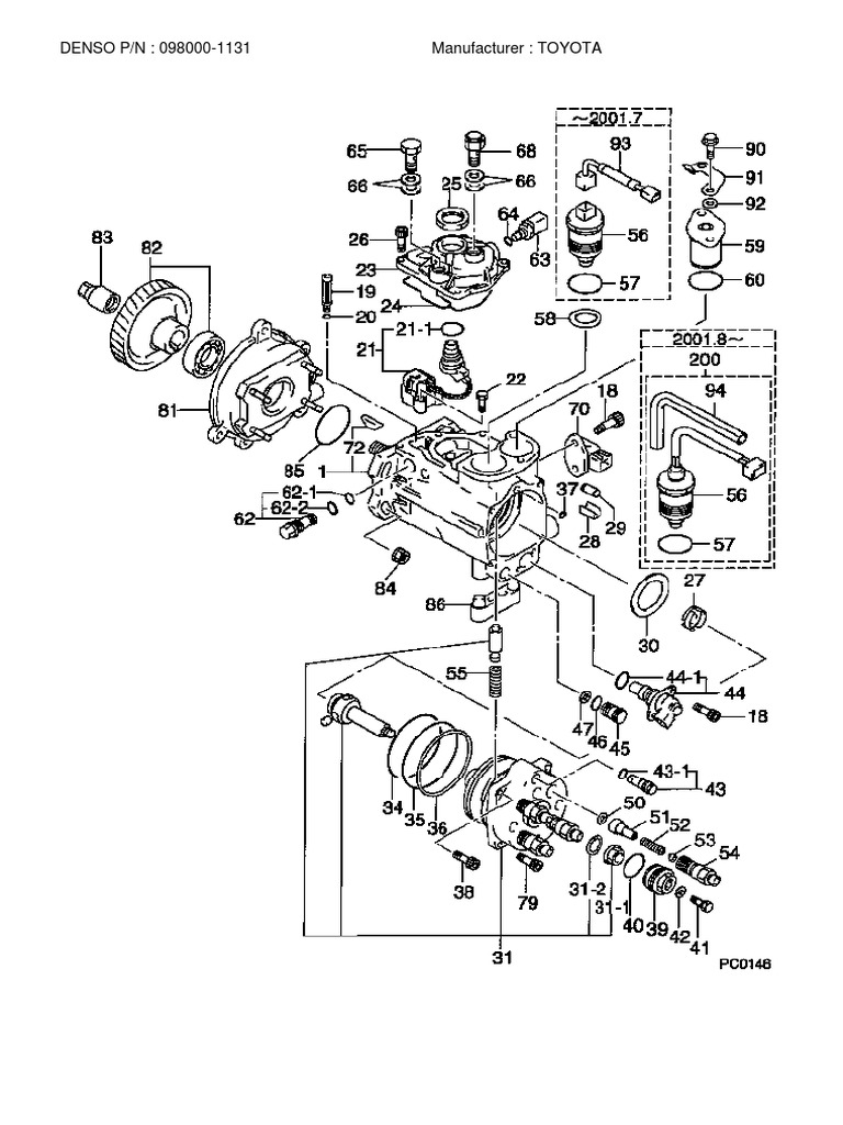
From pekchek-diary.blogspot.com
Fuel Pump Fuse For Hino Dutro Truck Location Kit1048 Filter Kit Hino Hino Fuel Filter Location There is just what looks like a electric motor that says 12v on it where a manual pump usually is. Fuel passes through the filter’s inlet, enters the filter case, and then passes through. Remove the drain plug, loosen the air bleeder plug, and drain the fuel and water. Fuel filter locations on hino 268 2013 Place a container for. Hino Fuel Filter Location.
From www.scribd.com
HiNo DutRo Fuel Injection Pump Diagram Hino Fuel Filter Location N m {kgf cm, lbf ft} tightening part tightening torque remarks fuel filter drain. Fuel is sent from the fuel tank to the engine by suction produced at the feed pump. Hey guys i’m trying to figure out how to change this fuel filter and how to prime it. There is just what looks like a electric motor that says. Hino Fuel Filter Location.
From www.rhinoforums.net
fuel filter, fuel pump questions Yamaha Rhino Forum Hino Fuel Filter Location Fuel passes through the filter’s inlet, enters the filter case, and then passes through. See how to replace both main filter and classis filter on a hino 238,258,268,338 and 358 @dairleautoclassicrestorati6892. The fuel pump is located in this circuit. Fuel filter locations on hino 268 2013 Place a container for catching the fuel under the drain plug. Hey guys i’m. Hino Fuel Filter Location.
From parts.hktruck.com
Hino 23304E0020 Fuel Filter HK Truck Center Truck Parts Hino Fuel Filter Location N m {kgf cm, lbf ft} tightening part tightening torque remarks fuel filter drain. Fuel is sent from the fuel tank to the engine by suction produced at the feed pump. There is just what looks like a electric motor that says 12v on it where a manual pump usually is. Remove the drain plug, loosen the air bleeder plug,. Hino Fuel Filter Location.
From ajmautoparts.com
HINO FUEL FILTER S234011690L AJM AUTO MALAYSIA Hino Fuel Filter Location Remove the drain plug, loosen the air bleeder plug, and drain the fuel and water. There is just what looks like a electric motor that says 12v on it where a manual pump usually is. See how to replace both main filter and classis filter on a hino 238,258,268,338 and 358 @dairleautoclassicrestorati6892. The fuel pump is located in this circuit.. Hino Fuel Filter Location.
From www.fuelfilter-crossreference.com
HINO 2330478091 Cross reference fuel filters Hino Fuel Filter Location Remove the drain plug, loosen the air bleeder plug, and drain the fuel and water. There is just what looks like a electric motor that says 12v on it where a manual pump usually is. Place a container for catching the fuel under the drain plug. Fuel is sent from the fuel tank to the engine by suction produced at. Hino Fuel Filter Location.
From www.youtube.com
HINO Element, Fuel Filter 2330478091 YouTube Hino Fuel Filter Location See how to replace both main filter and classis filter on a hino 238,258,268,338 and 358 @dairleautoclassicrestorati6892. The fuel pump is located in this circuit. Fuel is sent from the fuel tank to the engine by suction produced at the feed pump. Hey guys i’m trying to figure out how to change this fuel filter and how to prime it.. Hino Fuel Filter Location.
From www.lazada.com.my
HINO 300 Series Pre Fuel Filter 2330478225 (XZU600J/ XZU600K/ XZU640K Hino Fuel Filter Location Fuel passes through the filter’s inlet, enters the filter case, and then passes through. Place a container for catching the fuel under the drain plug. Remove the drain plug, loosen the air bleeder plug, and drain the fuel and water. The fuel pump is located in this circuit. Fuel filter locations on hino 268 2013 Fuel is sent from the. Hino Fuel Filter Location.
From parts.hktruck.com
Hino 23304E0020 Fuel Filter HK Truck Center Truck Parts Hino Fuel Filter Location Place a container for catching the fuel under the drain plug. N m {kgf cm, lbf ft} tightening part tightening torque remarks fuel filter drain. Hey guys i’m trying to figure out how to change this fuel filter and how to prime it. Remove the drain plug, loosen the air bleeder plug, and drain the fuel and water. Fuel filter. Hino Fuel Filter Location.
From www.lazada.com.my
HINO DUTRO XZU720 N040C HINO 300 EURO 5 ELEMENT FUEL FILTER (23304 Hino Fuel Filter Location See how to replace both main filter and classis filter on a hino 238,258,268,338 and 358 @dairleautoclassicrestorati6892. N m {kgf cm, lbf ft} tightening part tightening torque remarks fuel filter drain. Remove the drain plug, loosen the air bleeder plug, and drain the fuel and water. Hey guys i’m trying to figure out how to change this fuel filter and. Hino Fuel Filter Location.
From www.youtube.com
HINO Fuel Filter Element S1222EV011 YouTube Hino Fuel Filter Location Fuel is sent from the fuel tank to the engine by suction produced at the feed pump. Fuel filter locations on hino 268 2013 There is just what looks like a electric motor that says 12v on it where a manual pump usually is. Hey guys i’m trying to figure out how to change this fuel filter and how to. Hino Fuel Filter Location.
From www.youtube.com
how to replace fuel filter on hino truck YouTube Hino Fuel Filter Location Fuel is sent from the fuel tank to the engine by suction produced at the feed pump. Place a container for catching the fuel under the drain plug. Remove the drain plug, loosen the air bleeder plug, and drain the fuel and water. N m {kgf cm, lbf ft} tightening part tightening torque remarks fuel filter drain. Hey guys i’m. Hino Fuel Filter Location.
From www.diesel-generator-engine-parts.com
Hino Diesel Fuel Filter Assemblies Hino Diesel Fuel Filter Assemblies Hino Fuel Filter Location N m {kgf cm, lbf ft} tightening part tightening torque remarks fuel filter drain. Fuel passes through the filter’s inlet, enters the filter case, and then passes through. Fuel is sent from the fuel tank to the engine by suction produced at the feed pump. Fuel filter locations on hino 268 2013 The fuel pump is located in this circuit.. Hino Fuel Filter Location.
From www.youtube.com
Changing a fuel filter on a Hino 268 no one likes doing them YouTube Hino Fuel Filter Location There is just what looks like a electric motor that says 12v on it where a manual pump usually is. Fuel is sent from the fuel tank to the engine by suction produced at the feed pump. Remove the drain plug, loosen the air bleeder plug, and drain the fuel and water. Fuel passes through the filter’s inlet, enters the. Hino Fuel Filter Location.
From www.youtube.com
HINO Fuel/Water Separator FA1994290 YouTube Hino Fuel Filter Location See how to replace both main filter and classis filter on a hino 238,258,268,338 and 358 @dairleautoclassicrestorati6892. Fuel is sent from the fuel tank to the engine by suction produced at the feed pump. There is just what looks like a electric motor that says 12v on it where a manual pump usually is. Remove the drain plug, loosen the. Hino Fuel Filter Location.
From parts.hktruck.com
Hino Fuel Filter Element 23304EV360 23304EV260 23304EV041 23304EV040 Hino Fuel Filter Location Fuel is sent from the fuel tank to the engine by suction produced at the feed pump. See how to replace both main filter and classis filter on a hino 238,258,268,338 and 358 @dairleautoclassicrestorati6892. Remove the drain plug, loosen the air bleeder plug, and drain the fuel and water. The fuel pump is located in this circuit. Fuel passes through. Hino Fuel Filter Location.
From cmmotorsinc.com
Hino Fuel Filter 238, 258, 268, 338 (Pkg Qty 6) Now at C&M Motors Hino Fuel Filter Location Fuel passes through the filter’s inlet, enters the filter case, and then passes through. Fuel is sent from the fuel tank to the engine by suction produced at the feed pump. Fuel filter locations on hino 268 2013 Place a container for catching the fuel under the drain plug. See how to replace both main filter and classis filter on. Hino Fuel Filter Location.
From www.youtube.com
HINO Fuel Filter S234011700 YouTube Hino Fuel Filter Location See how to replace both main filter and classis filter on a hino 238,258,268,338 and 358 @dairleautoclassicrestorati6892. The fuel pump is located in this circuit. Fuel filter locations on hino 268 2013 Place a container for catching the fuel under the drain plug. Fuel passes through the filter’s inlet, enters the filter case, and then passes through. N m {kgf. Hino Fuel Filter Location.
From www.youtube.com
2017 Hino Fuel Filters Replacement For 238,258,268,338&358 YouTube Hino Fuel Filter Location N m {kgf cm, lbf ft} tightening part tightening torque remarks fuel filter drain. There is just what looks like a electric motor that says 12v on it where a manual pump usually is. See how to replace both main filter and classis filter on a hino 238,258,268,338 and 358 @dairleautoclassicrestorati6892. Remove the drain plug, loosen the air bleeder plug,. Hino Fuel Filter Location.
From www.fuelfilter-crossreference.com
HINO 23304EV023 Cross reference fuel filters Hino Fuel Filter Location Remove the drain plug, loosen the air bleeder plug, and drain the fuel and water. N m {kgf cm, lbf ft} tightening part tightening torque remarks fuel filter drain. See how to replace both main filter and classis filter on a hino 238,258,268,338 and 358 @dairleautoclassicrestorati6892. Fuel filter locations on hino 268 2013 There is just what looks like a. Hino Fuel Filter Location.
From www.youtube.com
Explaining hino engine and fuel system YouTube Hino Fuel Filter Location Place a container for catching the fuel under the drain plug. N m {kgf cm, lbf ft} tightening part tightening torque remarks fuel filter drain. Fuel filter locations on hino 268 2013 Remove the drain plug, loosen the air bleeder plug, and drain the fuel and water. There is just what looks like a electric motor that says 12v on. Hino Fuel Filter Location.
From www.youtube.com
Hino Engine fuel filter YouTube Hino Fuel Filter Location See how to replace both main filter and classis filter on a hino 238,258,268,338 and 358 @dairleautoclassicrestorati6892. The fuel pump is located in this circuit. Fuel is sent from the fuel tank to the engine by suction produced at the feed pump. Place a container for catching the fuel under the drain plug. Hey guys i’m trying to figure out. Hino Fuel Filter Location.
From www.youtube.com
Rhino 660 High Volume Fuel Kit YouTube Hino Fuel Filter Location Fuel is sent from the fuel tank to the engine by suction produced at the feed pump. See how to replace both main filter and classis filter on a hino 238,258,268,338 and 358 @dairleautoclassicrestorati6892. Hey guys i’m trying to figure out how to change this fuel filter and how to prime it. N m {kgf cm, lbf ft} tightening part. Hino Fuel Filter Location.
From www.hinocanada.com
Fuel Filter Hino Canada Hino Fuel Filter Location Place a container for catching the fuel under the drain plug. The fuel pump is located in this circuit. Fuel is sent from the fuel tank to the engine by suction produced at the feed pump. Hey guys i’m trying to figure out how to change this fuel filter and how to prime it. See how to replace both main. Hino Fuel Filter Location.
From coralfly.en.made-in-china.com
Coralfly Truck Fuel Filter Assy 23304EV140 Fit Hino Diesel Engine Fuel Hino Fuel Filter Location N m {kgf cm, lbf ft} tightening part tightening torque remarks fuel filter drain. Fuel filter locations on hino 268 2013 Place a container for catching the fuel under the drain plug. There is just what looks like a electric motor that says 12v on it where a manual pump usually is. Remove the drain plug, loosen the air bleeder. Hino Fuel Filter Location.
From www.hinocanada.com
fuel filter Hino Canada Hino Fuel Filter Location See how to replace both main filter and classis filter on a hino 238,258,268,338 and 358 @dairleautoclassicrestorati6892. Remove the drain plug, loosen the air bleeder plug, and drain the fuel and water. There is just what looks like a electric motor that says 12v on it where a manual pump usually is. Fuel passes through the filter’s inlet, enters the. Hino Fuel Filter Location.
From www.lazada.com.ph
HINO Fuel Filter Primary for HINO Dutro 300 Euro3 Lazada PH Hino Fuel Filter Location Fuel passes through the filter’s inlet, enters the filter case, and then passes through. Fuel filter locations on hino 268 2013 Hey guys i’m trying to figure out how to change this fuel filter and how to prime it. See how to replace both main filter and classis filter on a hino 238,258,268,338 and 358 @dairleautoclassicrestorati6892. Place a container for. Hino Fuel Filter Location.
From www.crowleymarine.com
FUEL SYSTEM All Years Inboard Engine HINO DIESEL WO6DTI (250 H.P.) 6 Hino Fuel Filter Location Fuel passes through the filter’s inlet, enters the filter case, and then passes through. N m {kgf cm, lbf ft} tightening part tightening torque remarks fuel filter drain. Hey guys i’m trying to figure out how to change this fuel filter and how to prime it. See how to replace both main filter and classis filter on a hino 238,258,268,338. Hino Fuel Filter Location.
From www.ebay.com
HINO FUEL FILTER 2011 2014 FS1994290 FS19942 eBay Hino Fuel Filter Location The fuel pump is located in this circuit. See how to replace both main filter and classis filter on a hino 238,258,268,338 and 358 @dairleautoclassicrestorati6892. Remove the drain plug, loosen the air bleeder plug, and drain the fuel and water. Fuel passes through the filter’s inlet, enters the filter case, and then passes through. Fuel is sent from the fuel. Hino Fuel Filter Location.
From www.komaifilter.com
Hino Truck Fuel Filter Assembly S234011730 S234011790 234011730 Hino Fuel Filter Location Fuel passes through the filter’s inlet, enters the filter case, and then passes through. Place a container for catching the fuel under the drain plug. Fuel filter locations on hino 268 2013 The fuel pump is located in this circuit. Fuel is sent from the fuel tank to the engine by suction produced at the feed pump. N m {kgf. Hino Fuel Filter Location.
From www.fuelfilter-crossreference.com
HINO 23304EV023 Cross reference fuel filters Hino Fuel Filter Location Place a container for catching the fuel under the drain plug. Hey guys i’m trying to figure out how to change this fuel filter and how to prime it. Fuel filter locations on hino 268 2013 Fuel passes through the filter’s inlet, enters the filter case, and then passes through. The fuel pump is located in this circuit. Remove the. Hino Fuel Filter Location.
From www.youtube.com
HINO Fuel Filter 23304EV260 YouTube Hino Fuel Filter Location Fuel is sent from the fuel tank to the engine by suction produced at the feed pump. There is just what looks like a electric motor that says 12v on it where a manual pump usually is. See how to replace both main filter and classis filter on a hino 238,258,268,338 and 358 @dairleautoclassicrestorati6892. Remove the drain plug, loosen the. Hino Fuel Filter Location.
From www.youtube.com
how to Hino trucks diesel pump fuel setting YouTube Hino Fuel Filter Location Place a container for catching the fuel under the drain plug. Remove the drain plug, loosen the air bleeder plug, and drain the fuel and water. Fuel is sent from the fuel tank to the engine by suction produced at the feed pump. Fuel passes through the filter’s inlet, enters the filter case, and then passes through. N m {kgf. Hino Fuel Filter Location.
From www.shindary.com
Fuel filter 2330478091 for HINO Four Filters Filters Hino Fuel Filter Location Fuel is sent from the fuel tank to the engine by suction produced at the feed pump. Remove the drain plug, loosen the air bleeder plug, and drain the fuel and water. The fuel pump is located in this circuit. Fuel filter locations on hino 268 2013 Hey guys i’m trying to figure out how to change this fuel filter. Hino Fuel Filter Location.