Engine Code For Transmission . 433 rows the most common diagnostic trouble codes begin with the letter “p”, which stands for powertrain. It is often seen with shift solenoid issues or other transmission codes. Powertrain (or “p”) dtcs include the. if you’ve scanned the engine and gotten the p0740 code, you want to know how to fix it. for instance, both p0218 and po614 can be identified as belonging to the list of transmission codes for hondas, chevy, ford and toyota vehicles. here is a shortlist of the most common transmission error codes. Keeping this list handy will let you know the potential issue with your. The most likely reason the code appears is that the. 433 rows the following table lists diagnostic trouble codes (or “fault” codes) related to the transmission. In this guide, we explain the meaning of the p0740. what does the code p0700 mean?
from www.onallcylinders.com
433 rows the most common diagnostic trouble codes begin with the letter “p”, which stands for powertrain. It is often seen with shift solenoid issues or other transmission codes. if you’ve scanned the engine and gotten the p0740 code, you want to know how to fix it. The most likely reason the code appears is that the. Powertrain (or “p”) dtcs include the. here is a shortlist of the most common transmission error codes. what does the code p0700 mean? Keeping this list handy will let you know the potential issue with your. In this guide, we explain the meaning of the p0740. for instance, both p0218 and po614 can be identified as belonging to the list of transmission codes for hondas, chevy, ford and toyota vehicles.
Transmission Match How to Visually Identify an Automatic Transmission
Engine Code For Transmission The most likely reason the code appears is that the. 433 rows the most common diagnostic trouble codes begin with the letter “p”, which stands for powertrain. here is a shortlist of the most common transmission error codes. 433 rows the following table lists diagnostic trouble codes (or “fault” codes) related to the transmission. The most likely reason the code appears is that the. It is often seen with shift solenoid issues or other transmission codes. Keeping this list handy will let you know the potential issue with your. Powertrain (or “p”) dtcs include the. what does the code p0700 mean? In this guide, we explain the meaning of the p0740. for instance, both p0218 and po614 can be identified as belonging to the list of transmission codes for hondas, chevy, ford and toyota vehicles. if you’ve scanned the engine and gotten the p0740 code, you want to know how to fix it.
From www.blauparts.com
VW Transmission Code Locations Engine Code For Transmission 433 rows the most common diagnostic trouble codes begin with the letter “p”, which stands for powertrain. what does the code p0700 mean? In this guide, we explain the meaning of the p0740. The most likely reason the code appears is that the. if you’ve scanned the engine and gotten the p0740 code, you want to know. Engine Code For Transmission.
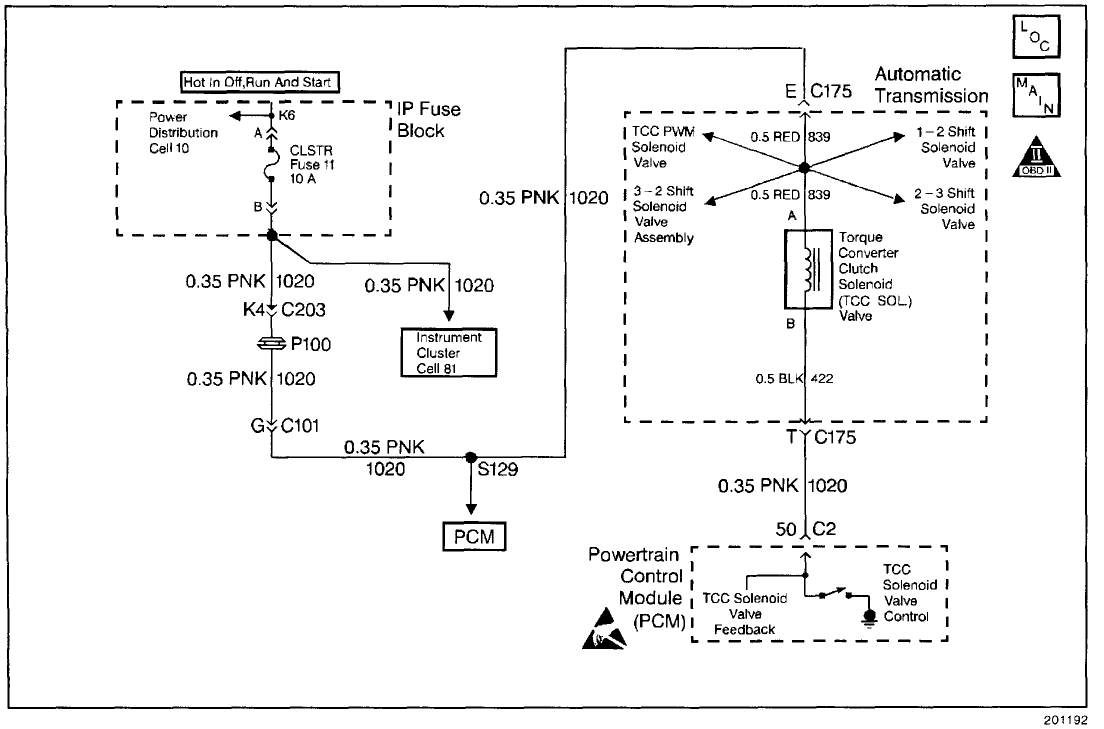
From hxexyevpo.blob.core.windows.net
Transmission Code For Low Pressure at Jon Divito blog Engine Code For Transmission Powertrain (or “p”) dtcs include the. 433 rows the following table lists diagnostic trouble codes (or “fault” codes) related to the transmission. The most likely reason the code appears is that the. In this guide, we explain the meaning of the p0740. It is often seen with shift solenoid issues or other transmission codes. Keeping this list handy will. Engine Code For Transmission.
From fixenginelobiramo2j.z4.web.core.windows.net
Check Engine Codes For Honda Engine Code For Transmission 433 rows the following table lists diagnostic trouble codes (or “fault” codes) related to the transmission. Powertrain (or “p”) dtcs include the. It is often seen with shift solenoid issues or other transmission codes. what does the code p0700 mean? Keeping this list handy will let you know the potential issue with your. In this guide, we explain. Engine Code For Transmission.
From www.fordforum.com
Transmission Identification Ford Forum Enthusiast Forums for Ford Engine Code For Transmission 433 rows the following table lists diagnostic trouble codes (or “fault” codes) related to the transmission. here is a shortlist of the most common transmission error codes. Keeping this list handy will let you know the potential issue with your. In this guide, we explain the meaning of the p0740. The most likely reason the code appears is. Engine Code For Transmission.
From garageorthoceras.z1.web.core.windows.net
Engine Specs By Vin Number Ford Engine Code For Transmission Powertrain (or “p”) dtcs include the. In this guide, we explain the meaning of the p0740. The most likely reason the code appears is that the. here is a shortlist of the most common transmission error codes. 433 rows the most common diagnostic trouble codes begin with the letter “p”, which stands for powertrain. Keeping this list handy. Engine Code For Transmission.
From circuitcodeyokoya.z22.web.core.windows.net
Diagram For Engine To Transmission Engine Code For Transmission The most likely reason the code appears is that the. 433 rows the following table lists diagnostic trouble codes (or “fault” codes) related to the transmission. In this guide, we explain the meaning of the p0740. 433 rows the most common diagnostic trouble codes begin with the letter “p”, which stands for powertrain. what does the code. Engine Code For Transmission.
From www.autozone.com
Repair Guides Trouble Codes Reading Codes Engine Code For Transmission 433 rows the most common diagnostic trouble codes begin with the letter “p”, which stands for powertrain. The most likely reason the code appears is that the. for instance, both p0218 and po614 can be identified as belonging to the list of transmission codes for hondas, chevy, ford and toyota vehicles. what does the code p0700 mean?. Engine Code For Transmission.
From fixmachinebuddings.z22.web.core.windows.net
P01 Engine Code Ford Engine Code For Transmission 433 rows the most common diagnostic trouble codes begin with the letter “p”, which stands for powertrain. Powertrain (or “p”) dtcs include the. what does the code p0700 mean? if you’ve scanned the engine and gotten the p0740 code, you want to know how to fix it. 433 rows the following table lists diagnostic trouble codes. Engine Code For Transmission.
From www.blauparts.com
VW Transmission Code Locations Engine Code For Transmission Powertrain (or “p”) dtcs include the. if you’ve scanned the engine and gotten the p0740 code, you want to know how to fix it. Keeping this list handy will let you know the potential issue with your. 433 rows the most common diagnostic trouble codes begin with the letter “p”, which stands for powertrain. here is a. Engine Code For Transmission.
From hxexyevpo.blob.core.windows.net
Transmission Code For Low Pressure at Jon Divito blog Engine Code For Transmission what does the code p0700 mean? It is often seen with shift solenoid issues or other transmission codes. In this guide, we explain the meaning of the p0740. 433 rows the most common diagnostic trouble codes begin with the letter “p”, which stands for powertrain. for instance, both p0218 and po614 can be identified as belonging to. Engine Code For Transmission.
From www.blauparts.com
VW Transmission Code Locations Engine Code For Transmission 433 rows the most common diagnostic trouble codes begin with the letter “p”, which stands for powertrain. what does the code p0700 mean? In this guide, we explain the meaning of the p0740. Keeping this list handy will let you know the potential issue with your. if you’ve scanned the engine and gotten the p0740 code, you. Engine Code For Transmission.
From mechanicdbslappers.z21.web.core.windows.net
List Of Volkswagen Engines Engine Code For Transmission 433 rows the following table lists diagnostic trouble codes (or “fault” codes) related to the transmission. what does the code p0700 mean? The most likely reason the code appears is that the. here is a shortlist of the most common transmission error codes. Powertrain (or “p”) dtcs include the. Keeping this list handy will let you know. Engine Code For Transmission.
From machinefixatheising.z22.web.core.windows.net
Checking Check Engine Light Codes Engine Code For Transmission It is often seen with shift solenoid issues or other transmission codes. what does the code p0700 mean? 433 rows the following table lists diagnostic trouble codes (or “fault” codes) related to the transmission. Keeping this list handy will let you know the potential issue with your. The most likely reason the code appears is that the. . Engine Code For Transmission.
From mechanicslanicamitv.z14.web.core.windows.net
List Of Check Engine Codes Engine Code For Transmission if you’ve scanned the engine and gotten the p0740 code, you want to know how to fix it. 433 rows the following table lists diagnostic trouble codes (or “fault” codes) related to the transmission. Powertrain (or “p”) dtcs include the. The most likely reason the code appears is that the. for instance, both p0218 and po614 can. Engine Code For Transmission.
From ateamtransmissions.com
Diagnose Your Own Automatic Transmission Problems Engine Code For Transmission here is a shortlist of the most common transmission error codes. 433 rows the most common diagnostic trouble codes begin with the letter “p”, which stands for powertrain. 433 rows the following table lists diagnostic trouble codes (or “fault” codes) related to the transmission. what does the code p0700 mean? Powertrain (or “p”) dtcs include the.. Engine Code For Transmission.
From automototale.com
What Is a DualClutch Transmission? AutoMoto Tale Engine Code For Transmission here is a shortlist of the most common transmission error codes. what does the code p0700 mean? if you’ve scanned the engine and gotten the p0740 code, you want to know how to fix it. Powertrain (or “p”) dtcs include the. 433 rows the most common diagnostic trouble codes begin with the letter “p”, which stands. Engine Code For Transmission.
From repairfixgravimeter.z22.web.core.windows.net
Vw Engine Codes And Specs Engine Code For Transmission 433 rows the following table lists diagnostic trouble codes (or “fault” codes) related to the transmission. In this guide, we explain the meaning of the p0740. Powertrain (or “p”) dtcs include the. here is a shortlist of the most common transmission error codes. The most likely reason the code appears is that the. for instance, both p0218. Engine Code For Transmission.
From mechanicjacixh.z14.web.core.windows.net
Chevy Silverado Trouble Codes Engine Code For Transmission Keeping this list handy will let you know the potential issue with your. Powertrain (or “p”) dtcs include the. 433 rows the most common diagnostic trouble codes begin with the letter “p”, which stands for powertrain. In this guide, we explain the meaning of the p0740. for instance, both p0218 and po614 can be identified as belonging to. Engine Code For Transmission.
From www.ebay.com
3x Engine Motor and Transmission Mount for Dodge Grand Caravan Chrysler Engine Code For Transmission Powertrain (or “p”) dtcs include the. The most likely reason the code appears is that the. Keeping this list handy will let you know the potential issue with your. if you’ve scanned the engine and gotten the p0740 code, you want to know how to fix it. 433 rows the following table lists diagnostic trouble codes (or “fault”. Engine Code For Transmission.
From enginepanofiksyrft.z21.web.core.windows.net
Ls Engine Code Chart Engine Code For Transmission what does the code p0700 mean? 433 rows the following table lists diagnostic trouble codes (or “fault” codes) related to the transmission. In this guide, we explain the meaning of the p0740. 433 rows the most common diagnostic trouble codes begin with the letter “p”, which stands for powertrain. if you’ve scanned the engine and gotten. Engine Code For Transmission.
From workshoprepairgassingft.z22.web.core.windows.net
Volvo Truck Engine Codes List Engine Code For Transmission if you’ve scanned the engine and gotten the p0740 code, you want to know how to fix it. It is often seen with shift solenoid issues or other transmission codes. Powertrain (or “p”) dtcs include the. what does the code p0700 mean? for instance, both p0218 and po614 can be identified as belonging to the list of. Engine Code For Transmission.
From machinefixoutlines.z22.web.core.windows.net
Engine Code P0700 Engine Code For Transmission Powertrain (or “p”) dtcs include the. The most likely reason the code appears is that the. for instance, both p0218 and po614 can be identified as belonging to the list of transmission codes for hondas, chevy, ford and toyota vehicles. if you’ve scanned the engine and gotten the p0740 code, you want to know how to fix it.. Engine Code For Transmission.
From www.onallcylinders.com
Transmission Match How to Visually Identify an Automatic Transmission Engine Code For Transmission if you’ve scanned the engine and gotten the p0740 code, you want to know how to fix it. In this guide, we explain the meaning of the p0740. It is often seen with shift solenoid issues or other transmission codes. for instance, both p0218 and po614 can be identified as belonging to the list of transmission codes for. Engine Code For Transmission.
From www.autorepairmanuals.ws
Eaton Transmissions DTCs Fault Code & Service Manuals Auto Repair Engine Code For Transmission for instance, both p0218 and po614 can be identified as belonging to the list of transmission codes for hondas, chevy, ford and toyota vehicles. 433 rows the following table lists diagnostic trouble codes (or “fault” codes) related to the transmission. if you’ve scanned the engine and gotten the p0740 code, you want to know how to fix. Engine Code For Transmission.
From www.ebay.com
3x Engine Motor and Transmission Mount for Dodge Grand Caravan Chrysler Engine Code For Transmission what does the code p0700 mean? The most likely reason the code appears is that the. Powertrain (or “p”) dtcs include the. Keeping this list handy will let you know the potential issue with your. for instance, both p0218 and po614 can be identified as belonging to the list of transmission codes for hondas, chevy, ford and toyota. Engine Code For Transmission.
From www.ss396.com
1967 Camaro Parts and Restoration Information Engine Code For Transmission Powertrain (or “p”) dtcs include the. 433 rows the most common diagnostic trouble codes begin with the letter “p”, which stands for powertrain. 433 rows the following table lists diagnostic trouble codes (or “fault” codes) related to the transmission. for instance, both p0218 and po614 can be identified as belonging to the list of transmission codes for. Engine Code For Transmission.
From www.ebay.com
3x Engine Motor and Transmission Mount for Dodge Grand Caravan Chrysler Engine Code For Transmission The most likely reason the code appears is that the. if you’ve scanned the engine and gotten the p0740 code, you want to know how to fix it. 433 rows the following table lists diagnostic trouble codes (or “fault” codes) related to the transmission. It is often seen with shift solenoid issues or other transmission codes. here. Engine Code For Transmission.
From www.2carpros.com
Transmissions Codes All Transmission Codes Come Up Failed. Engine Code For Transmission if you’ve scanned the engine and gotten the p0740 code, you want to know how to fix it. Keeping this list handy will let you know the potential issue with your. 433 rows the most common diagnostic trouble codes begin with the letter “p”, which stands for powertrain. Powertrain (or “p”) dtcs include the. here is a. Engine Code For Transmission.
From kvetchel6fixengine.z14.web.core.windows.net
Check Engine Code P0053 Engine Code For Transmission 433 rows the most common diagnostic trouble codes begin with the letter “p”, which stands for powertrain. The most likely reason the code appears is that the. here is a shortlist of the most common transmission error codes. Powertrain (or “p”) dtcs include the. if you’ve scanned the engine and gotten the p0740 code, you want to. Engine Code For Transmission.
From mechanicxibosoney.z21.web.core.windows.net
Gm Dtc P0315 00 Engine Code For Transmission 433 rows the following table lists diagnostic trouble codes (or “fault” codes) related to the transmission. 433 rows the most common diagnostic trouble codes begin with the letter “p”, which stands for powertrain. what does the code p0700 mean? for instance, both p0218 and po614 can be identified as belonging to the list of transmission codes. Engine Code For Transmission.
From enginelangobard.z13.web.core.windows.net
Dodge Dakota Transmission Codes Engine Code For Transmission Powertrain (or “p”) dtcs include the. what does the code p0700 mean? 433 rows the most common diagnostic trouble codes begin with the letter “p”, which stands for powertrain. It is often seen with shift solenoid issues or other transmission codes. if you’ve scanned the engine and gotten the p0740 code, you want to know how to. Engine Code For Transmission.
From circuitcodeyokoya.z22.web.core.windows.net
Diagram For Engine To Transmission Engine Code For Transmission if you’ve scanned the engine and gotten the p0740 code, you want to know how to fix it. Keeping this list handy will let you know the potential issue with your. It is often seen with shift solenoid issues or other transmission codes. here is a shortlist of the most common transmission error codes. The most likely reason. Engine Code For Transmission.
From mechanicslafra4ag.z21.web.core.windows.net
Subaru Engine Codes Engine Code For Transmission 433 rows the most common diagnostic trouble codes begin with the letter “p”, which stands for powertrain. what does the code p0700 mean? The most likely reason the code appears is that the. if you’ve scanned the engine and gotten the p0740 code, you want to know how to fix it. Keeping this list handy will let. Engine Code For Transmission.
From mechaniclistresolve123.z14.web.core.windows.net
Check Light Engine Codes Engine Code For Transmission The most likely reason the code appears is that the. It is often seen with shift solenoid issues or other transmission codes. here is a shortlist of the most common transmission error codes. In this guide, we explain the meaning of the p0740. Powertrain (or “p”) dtcs include the. 433 rows the most common diagnostic trouble codes begin. Engine Code For Transmission.
From repairmachineniner.z5.web.core.windows.net
Gm Engines Codes Engine Code For Transmission Keeping this list handy will let you know the potential issue with your. what does the code p0700 mean? for instance, both p0218 and po614 can be identified as belonging to the list of transmission codes for hondas, chevy, ford and toyota vehicles. In this guide, we explain the meaning of the p0740. It is often seen with. Engine Code For Transmission.