Floor Muffler Installation Instructions . Protect your floors and your home from external noise with floormuffler ultr. Unroll the floormuffler® flex onto the floor and allow it to relax for 2 hours. Shaking the material will help it to relax. Make sure the subfloor is. Make sure the sub oor is structurally sound, level and is free of dust and. This video demonstrates the proper method of a floating installation of the. Make sure the subfloor is structurally sound, level and is. Floating floors installation instructions floormuffler® ultraseal hd 1. Wood subfloors must be prepared. Make sure the subfloor is structurally sound, level and is free of dust. Install the flooring per manufacturer’s instructions. 1 2 3 4 5 floor muffler® ultraseal hd 1.
from floormuffler.com
Wood subfloors must be prepared. Make sure the sub oor is structurally sound, level and is free of dust and. 1 2 3 4 5 floor muffler® ultraseal hd 1. Floating floors installation instructions floormuffler® ultraseal hd 1. Install the flooring per manufacturer’s instructions. Protect your floors and your home from external noise with floormuffler ultr. Shaking the material will help it to relax. Make sure the subfloor is structurally sound, level and is free of dust. Make sure the subfloor is structurally sound, level and is. This video demonstrates the proper method of a floating installation of the.
floorMuffler® FlexLock Premium Vulcanized Rubber Floor
Floor Muffler Installation Instructions Unroll the floormuffler® flex onto the floor and allow it to relax for 2 hours. This video demonstrates the proper method of a floating installation of the. Shaking the material will help it to relax. Make sure the subfloor is structurally sound, level and is. Install the flooring per manufacturer’s instructions. Wood subfloors must be prepared. 1 2 3 4 5 floor muffler® ultraseal hd 1. Make sure the sub oor is structurally sound, level and is free of dust and. Make sure the subfloor is structurally sound, level and is free of dust. Make sure the subfloor is. Unroll the floormuffler® flex onto the floor and allow it to relax for 2 hours. Protect your floors and your home from external noise with floormuffler ultr. Floating floors installation instructions floormuffler® ultraseal hd 1.
From floormuffler.com
floorMuffler® FlexLock Premium Vulcanized Rubber Floor Floor Muffler Installation Instructions Wood subfloors must be prepared. This video demonstrates the proper method of a floating installation of the. Make sure the subfloor is structurally sound, level and is free of dust. Shaking the material will help it to relax. Floating floors installation instructions floormuffler® ultraseal hd 1. Protect your floors and your home from external noise with floormuffler ultr. Install the. Floor Muffler Installation Instructions.
From backwaterperformance.com
Q Muffler Flex Stainless Steel Large Vanguard Vertical Floor Muffler Installation Instructions Shaking the material will help it to relax. 1 2 3 4 5 floor muffler® ultraseal hd 1. Make sure the subfloor is. Protect your floors and your home from external noise with floormuffler ultr. Install the flooring per manufacturer’s instructions. Make sure the subfloor is structurally sound, level and is free of dust. Unroll the floormuffler® flex onto the. Floor Muffler Installation Instructions.
From www.onallcylinders.com
Sounds of Silence How to Tame Excessive Exhaust Noise Floor Muffler Installation Instructions This video demonstrates the proper method of a floating installation of the. Make sure the subfloor is structurally sound, level and is free of dust. Unroll the floormuffler® flex onto the floor and allow it to relax for 2 hours. 1 2 3 4 5 floor muffler® ultraseal hd 1. Install the flooring per manufacturer’s instructions. Make sure the subfloor. Floor Muffler Installation Instructions.
From catalog.walkerexhaust.com
Universal Muffler Removal & Installation Instructions Floor Muffler Installation Instructions This video demonstrates the proper method of a floating installation of the. Make sure the sub oor is structurally sound, level and is free of dust and. Protect your floors and your home from external noise with floormuffler ultr. Unroll the floormuffler® flex onto the floor and allow it to relax for 2 hours. Wood subfloors must be prepared. 1. Floor Muffler Installation Instructions.
From www.truckpipesusa.com
Internal Mufflers Muffler Baffles insert with ease with our new Floor Muffler Installation Instructions Make sure the subfloor is structurally sound, level and is. This video demonstrates the proper method of a floating installation of the. Floating floors installation instructions floormuffler® ultraseal hd 1. 1 2 3 4 5 floor muffler® ultraseal hd 1. Shaking the material will help it to relax. Install the flooring per manufacturer’s instructions. Unroll the floormuffler® flex onto the. Floor Muffler Installation Instructions.
From answers.jegs.com
30375 Installation Instructions for Muffler Kit Floor Muffler Installation Instructions Shaking the material will help it to relax. Wood subfloors must be prepared. Make sure the subfloor is structurally sound, level and is. Make sure the subfloor is. 1 2 3 4 5 floor muffler® ultraseal hd 1. This video demonstrates the proper method of a floating installation of the. Floating floors installation instructions floormuffler® ultraseal hd 1. Install the. Floor Muffler Installation Instructions.
From www.carinstructions.com
muffler and exhaust pipe repair Car Instructions Floor Muffler Installation Instructions Shaking the material will help it to relax. Install the flooring per manufacturer’s instructions. This video demonstrates the proper method of a floating installation of the. Make sure the subfloor is structurally sound, level and is. Make sure the sub oor is structurally sound, level and is free of dust and. Floating floors installation instructions floormuffler® ultraseal hd 1. Protect. Floor Muffler Installation Instructions.
From www.pinterest.com
Floor Muffler QuietCure Ultraseal Silent Flooring Underlayment Flooring Floor Muffler Installation Instructions Make sure the subfloor is structurally sound, level and is free of dust. Shaking the material will help it to relax. Make sure the subfloor is. Protect your floors and your home from external noise with floormuffler ultr. Wood subfloors must be prepared. Install the flooring per manufacturer’s instructions. This video demonstrates the proper method of a floating installation of. Floor Muffler Installation Instructions.
From www.focusst.org
MBRP 3" Exhaust Install Notes Floor Muffler Installation Instructions Shaking the material will help it to relax. Make sure the subfloor is structurally sound, level and is free of dust. Wood subfloors must be prepared. Make sure the sub oor is structurally sound, level and is free of dust and. Floating floors installation instructions floormuffler® ultraseal hd 1. Unroll the floormuffler® flex onto the floor and allow it to. Floor Muffler Installation Instructions.
From floormuffler.com
floorMuffler® Encore Rigid Core Underlayment Floor Muffler Installation Instructions Make sure the subfloor is structurally sound, level and is free of dust. Protect your floors and your home from external noise with floormuffler ultr. 1 2 3 4 5 floor muffler® ultraseal hd 1. Shaking the material will help it to relax. Floating floors installation instructions floormuffler® ultraseal hd 1. Make sure the sub oor is structurally sound, level. Floor Muffler Installation Instructions.
From www.flooringunderlayment.com
FloorMuffler Underlayment for Laminate and Engineered Floors Floor Muffler Installation Instructions Floating floors installation instructions floormuffler® ultraseal hd 1. Make sure the sub oor is structurally sound, level and is free of dust and. Unroll the floormuffler® flex onto the floor and allow it to relax for 2 hours. Make sure the subfloor is structurally sound, level and is free of dust. This video demonstrates the proper method of a floating. Floor Muffler Installation Instructions.
From device.report
floorMuffler LVT Floating Floor Instruction Manual Floor Muffler Installation Instructions Make sure the sub oor is structurally sound, level and is free of dust and. Make sure the subfloor is structurally sound, level and is. Make sure the subfloor is structurally sound, level and is free of dust. Make sure the subfloor is. Shaking the material will help it to relax. 1 2 3 4 5 floor muffler® ultraseal hd. Floor Muffler Installation Instructions.
From www.sbmar.com
Building a Custom Lift Muffler & Exhaust System Seaboard Marine Floor Muffler Installation Instructions Make sure the subfloor is. Make sure the sub oor is structurally sound, level and is free of dust and. This video demonstrates the proper method of a floating installation of the. 1 2 3 4 5 floor muffler® ultraseal hd 1. Floating floors installation instructions floormuffler® ultraseal hd 1. Make sure the subfloor is structurally sound, level and is.. Floor Muffler Installation Instructions.
From www.pinterest.com
Floor Muffler Ultra Seal Underlayment From The Forest in 2023 Floor Muffler Installation Instructions Unroll the floormuffler® flex onto the floor and allow it to relax for 2 hours. Protect your floors and your home from external noise with floormuffler ultr. Shaking the material will help it to relax. Make sure the subfloor is. Install the flooring per manufacturer’s instructions. Floating floors installation instructions floormuffler® ultraseal hd 1. Make sure the sub oor is. Floor Muffler Installation Instructions.
From lwflooring.com
Underlayment LW Flooring Floor Muffler Installation Instructions Make sure the subfloor is. Shaking the material will help it to relax. Make sure the sub oor is structurally sound, level and is free of dust and. Wood subfloors must be prepared. Unroll the floormuffler® flex onto the floor and allow it to relax for 2 hours. Floating floors installation instructions floormuffler® ultraseal hd 1. Install the flooring per. Floor Muffler Installation Instructions.
From www.flooringunderlayment.com
FloorMuffler Underlayment for Laminate and Engineered Floors Floor Muffler Installation Instructions Shaking the material will help it to relax. Wood subfloors must be prepared. Make sure the subfloor is structurally sound, level and is free of dust. Make sure the sub oor is structurally sound, level and is free of dust and. This video demonstrates the proper method of a floating installation of the. Make sure the subfloor is. Install the. Floor Muffler Installation Instructions.
From www.vintage-mustang.com
Exhaust / Muffler to Floor / Body Minimum Clearance? Vintage Mustang Floor Muffler Installation Instructions Make sure the subfloor is structurally sound, level and is. Make sure the sub oor is structurally sound, level and is free of dust and. This video demonstrates the proper method of a floating installation of the. Protect your floors and your home from external noise with floormuffler ultr. Make sure the subfloor is structurally sound, level and is free. Floor Muffler Installation Instructions.
From www.nachi.org
Proper Flex Duct Installation Inspection Gallery InterNACHI® Floor Muffler Installation Instructions Make sure the sub oor is structurally sound, level and is free of dust and. Make sure the subfloor is structurally sound, level and is. This video demonstrates the proper method of a floating installation of the. Floating floors installation instructions floormuffler® ultraseal hd 1. Install the flooring per manufacturer’s instructions. Protect your floors and your home from external noise. Floor Muffler Installation Instructions.
From device.report
Vetus DEMPMP Wet Exhaust Muffler Instruction Manual Floor Muffler Installation Instructions Make sure the subfloor is. Unroll the floormuffler® flex onto the floor and allow it to relax for 2 hours. Shaking the material will help it to relax. Wood subfloors must be prepared. Make sure the sub oor is structurally sound, level and is free of dust and. Floating floors installation instructions floormuffler® ultraseal hd 1. Protect your floors and. Floor Muffler Installation Instructions.
From mitsubishitechinfo.com
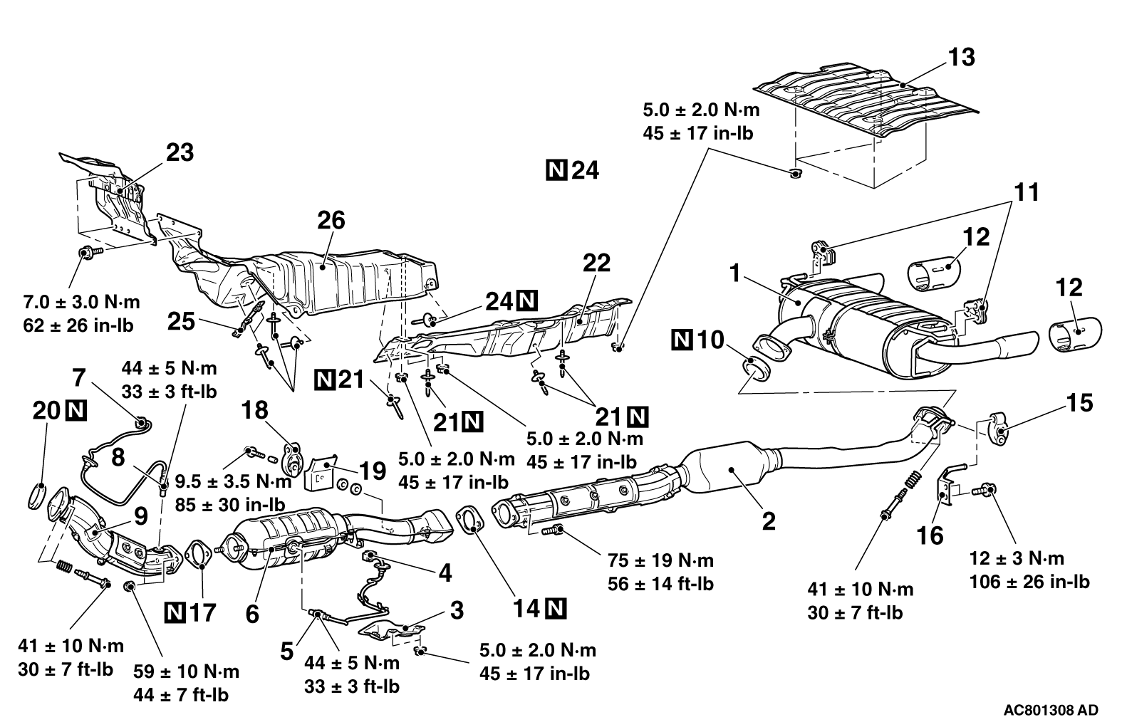
15 EXHAUST PIPE, MAIN MUFFLER AND CATALYTIC CONVERTER REMOVAL AND Floor Muffler Installation Instructions Shaking the material will help it to relax. 1 2 3 4 5 floor muffler® ultraseal hd 1. Floating floors installation instructions floormuffler® ultraseal hd 1. Wood subfloors must be prepared. Make sure the sub oor is structurally sound, level and is free of dust and. Unroll the floormuffler® flex onto the floor and allow it to relax for 2. Floor Muffler Installation Instructions.
From workshop-manuals.com
BMW Service and Repair Manuals > 3 Series E90 325i (N52K) SAL Floor Muffler Installation Instructions 1 2 3 4 5 floor muffler® ultraseal hd 1. Install the flooring per manufacturer’s instructions. Unroll the floormuffler® flex onto the floor and allow it to relax for 2 hours. Make sure the subfloor is structurally sound, level and is free of dust. Make sure the subfloor is. Floating floors installation instructions floormuffler® ultraseal hd 1. Wood subfloors must. Floor Muffler Installation Instructions.
From www.pinterest.com
Floor Muffler Ultraseal Silent Flooring Underlayment 2mm 100sf Floor Muffler Installation Instructions This video demonstrates the proper method of a floating installation of the. Install the flooring per manufacturer’s instructions. 1 2 3 4 5 floor muffler® ultraseal hd 1. Unroll the floormuffler® flex onto the floor and allow it to relax for 2 hours. Floating floors installation instructions floormuffler® ultraseal hd 1. Shaking the material will help it to relax. Make. Floor Muffler Installation Instructions.
From device.report
floorMuffler COMBOFOAM Floating Floor Instruction Manual Floor Muffler Installation Instructions Unroll the floormuffler® flex onto the floor and allow it to relax for 2 hours. 1 2 3 4 5 floor muffler® ultraseal hd 1. Wood subfloors must be prepared. Make sure the subfloor is structurally sound, level and is free of dust. Make sure the sub oor is structurally sound, level and is free of dust and. This video. Floor Muffler Installation Instructions.
From www.youtube.com
How To Install Stainless Steel Muffler Tip YouTube Floor Muffler Installation Instructions Floating floors installation instructions floormuffler® ultraseal hd 1. Install the flooring per manufacturer’s instructions. Make sure the sub oor is structurally sound, level and is free of dust and. Make sure the subfloor is structurally sound, level and is. Unroll the floormuffler® flex onto the floor and allow it to relax for 2 hours. Make sure the subfloor is. This. Floor Muffler Installation Instructions.
From www.youtube.com
How to install muffler clamp strap and exhaust insulator for loose Floor Muffler Installation Instructions Floating floors installation instructions floormuffler® ultraseal hd 1. Make sure the subfloor is structurally sound, level and is. Protect your floors and your home from external noise with floormuffler ultr. Wood subfloors must be prepared. Make sure the subfloor is. 1 2 3 4 5 floor muffler® ultraseal hd 1. Install the flooring per manufacturer’s instructions. Shaking the material will. Floor Muffler Installation Instructions.
From www.truckpipesusa.com
Internal Mufflers Muffler Baffles insert with ease with our new Floor Muffler Installation Instructions 1 2 3 4 5 floor muffler® ultraseal hd 1. Shaking the material will help it to relax. Install the flooring per manufacturer’s instructions. Unroll the floormuffler® flex onto the floor and allow it to relax for 2 hours. Make sure the subfloor is structurally sound, level and is free of dust. Make sure the subfloor is. Make sure the. Floor Muffler Installation Instructions.
From www.carid.com
Walker® 17817 SoundFX™ Aluminized Steel Oval Exhaust Muffler Floor Muffler Installation Instructions Make sure the subfloor is structurally sound, level and is free of dust. Make sure the sub oor is structurally sound, level and is free of dust and. 1 2 3 4 5 floor muffler® ultraseal hd 1. Make sure the subfloor is. Wood subfloors must be prepared. Floating floors installation instructions floormuffler® ultraseal hd 1. Install the flooring per. Floor Muffler Installation Instructions.
From www.pinterest.com
4 N1 Rainbow Burn Tip Stainless T304 Weld on Exhaust Etsy Stainless Floor Muffler Installation Instructions Make sure the subfloor is. Make sure the subfloor is structurally sound, level and is free of dust. Protect your floors and your home from external noise with floormuffler ultr. Make sure the subfloor is structurally sound, level and is. Wood subfloors must be prepared. Make sure the sub oor is structurally sound, level and is free of dust and.. Floor Muffler Installation Instructions.
From easternflooringinc.com
Floor Muffler Ultraseal HighPerformance Acoustical & Moisture Barrier Floor Muffler Installation Instructions Unroll the floormuffler® flex onto the floor and allow it to relax for 2 hours. Floating floors installation instructions floormuffler® ultraseal hd 1. Protect your floors and your home from external noise with floormuffler ultr. Make sure the subfloor is structurally sound, level and is free of dust. Make sure the subfloor is. 1 2 3 4 5 floor muffler®. Floor Muffler Installation Instructions.
From www.spyderchat.com
How restrictive is the stock muffler? K24 swap MR2 SpyderChat Floor Muffler Installation Instructions Wood subfloors must be prepared. Floating floors installation instructions floormuffler® ultraseal hd 1. Install the flooring per manufacturer’s instructions. Make sure the subfloor is. Unroll the floormuffler® flex onto the floor and allow it to relax for 2 hours. Make sure the sub oor is structurally sound, level and is free of dust and. Shaking the material will help it. Floor Muffler Installation Instructions.
From www.sbmar.com
Building a Custom Lift Muffler & Exhaust System Seaboard Marine Floor Muffler Installation Instructions Unroll the floormuffler® flex onto the floor and allow it to relax for 2 hours. Make sure the subfloor is structurally sound, level and is. 1 2 3 4 5 floor muffler® ultraseal hd 1. Protect your floors and your home from external noise with floormuffler ultr. This video demonstrates the proper method of a floating installation of the. Floating. Floor Muffler Installation Instructions.
From www.gardnerexhaust.com
1968 Oldsmobile 442 and Hurst Olds Exhaust System Muscle Car Exhaust Floor Muffler Installation Instructions Protect your floors and your home from external noise with floormuffler ultr. 1 2 3 4 5 floor muffler® ultraseal hd 1. Floating floors installation instructions floormuffler® ultraseal hd 1. Shaking the material will help it to relax. This video demonstrates the proper method of a floating installation of the. Make sure the subfloor is structurally sound, level and is. Floor Muffler Installation Instructions.
From www.mastersbp.com
Floor Muffler Masters Building Products Floor Muffler Installation Instructions Unroll the floormuffler® flex onto the floor and allow it to relax for 2 hours. 1 2 3 4 5 floor muffler® ultraseal hd 1. Make sure the sub oor is structurally sound, level and is free of dust and. Shaking the material will help it to relax. Wood subfloors must be prepared. Make sure the subfloor is. Install the. Floor Muffler Installation Instructions.
From www.flooringunderlayment.com
FloorMuffler Underlayment for Laminate and Engineered Floors Floor Muffler Installation Instructions Make sure the sub oor is structurally sound, level and is free of dust and. Make sure the subfloor is. Make sure the subfloor is structurally sound, level and is free of dust. Install the flooring per manufacturer’s instructions. Wood subfloors must be prepared. Floating floors installation instructions floormuffler® ultraseal hd 1. Make sure the subfloor is structurally sound, level. Floor Muffler Installation Instructions.
From workshop-manuals.com
BMW Service and Repair Manuals > 5 Series E39 520i (M52TU Floor Muffler Installation Instructions Install the flooring per manufacturer’s instructions. Make sure the subfloor is structurally sound, level and is free of dust. Floating floors installation instructions floormuffler® ultraseal hd 1. Make sure the subfloor is structurally sound, level and is. Unroll the floormuffler® flex onto the floor and allow it to relax for 2 hours. This video demonstrates the proper method of a. Floor Muffler Installation Instructions.