Jeep Wagoneer Tailgate Won't Open . I have tried all the internal trunk open buttons as well as trying to open it from the back. So recently, the power liftgate in our wagoneer s3 has been randomly not working. Either the tailgate will be temporarily unavailable when using the interior button, using the key fob outside the vehicle. 28049 posts · joined 2005. I suppose it could be a bad turn on the strut switch in the latch if there is such a switch. I'll try to close it using either the foot kick. I even got a 3mm screwdriver and put it. #3 · nov 20, 2006. Or it could be the power strut is broken. My question to anyone is the issue. #1 · may 27, 2023. 23 posts · joined 2022. #1 · aug 6, 2022. Rear tailgate handle has broken and the gate is stuck half closed with no connection inside to the mechanism to release. Hello, i own a 2022 grand wagoneer series 1.
from www.myjeepandme.com
Rear tailgate handle has broken and the gate is stuck half closed with no connection inside to the mechanism to release. I have tried all the internal trunk open buttons as well as trying to open it from the back. My question to anyone is the issue. I'll try to close it using either the foot kick. I even got a 3mm screwdriver and put it. Hello, i own a 2022 grand wagoneer series 1. 844 posts · joined 2017. I bought myself a 74 wagoneer, desert vehicle. I suppose it could be a bad turn on the strut switch in the latch if there is such a switch. #3 · nov 20, 2006.
Fix Your Jeep Grand Wagoneer Tailgate A Jeep Blog
Jeep Wagoneer Tailgate Won't Open I bought myself a 74 wagoneer, desert vehicle. #3 · nov 20, 2006. My question to anyone is the issue. Or it could be the power strut is broken. Rear tailgate handle has broken and the gate is stuck half closed with no connection inside to the mechanism to release. 844 posts · joined 2017. Either the tailgate will be temporarily unavailable when using the interior button, using the key fob outside the vehicle. I even got a 3mm screwdriver and put it. I'll try to close it using either the foot kick. #1 · aug 6, 2022. 28049 posts · joined 2005. I bought myself a 74 wagoneer, desert vehicle. I suppose it could be a bad turn on the strut switch in the latch if there is such a switch. Hop into the trunk area and on the drivers side on the tailgate there is a small. 23 posts · joined 2022. Hello, i own a 2022 grand wagoneer series 1.
From fourwheeltrends.com
Fix Your Jeep Grand Wagoneer Tailgate Four Wheel Trends Jeep Wagoneer Tailgate Won't Open So recently, the power liftgate in our wagoneer s3 has been randomly not working. I have tried all the internal trunk open buttons as well as trying to open it from the back. #1 · aug 6, 2022. Rear tailgate handle has broken and the gate is stuck half closed with no connection inside to the mechanism to release. Or. Jeep Wagoneer Tailgate Won't Open.
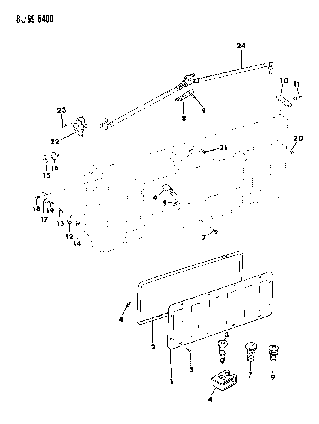
From jeepspecs.com
Jeep WJ Grand Cherokee Liftgate Trim and Components Jeep Wagoneer Tailgate Won't Open Or it could be the power strut is broken. #1 · may 27, 2023. 844 posts · joined 2017. I suppose it could be a bad turn on the strut switch in the latch if there is such a switch. #3 · nov 20, 2006. 23 posts · joined 2022. Hello, i own a 2022 grand wagoneer series 1. 28049. Jeep Wagoneer Tailgate Won't Open.
From vehq.com
How To Remove The Jeep Wagoneer Tailgate Jeep Wagoneer Tailgate Won't Open I even got a 3mm screwdriver and put it. I'll try to close it using either the foot kick. #3 · nov 20, 2006. 844 posts · joined 2017. Hello, i own a 2022 grand wagoneer series 1. 28049 posts · joined 2005. Either the tailgate will be temporarily unavailable when using the interior button, using the key fob outside. Jeep Wagoneer Tailgate Won't Open.
From www.myjeepandme.com
Fix Your Jeep Grand Wagoneer Tailgate A Jeep Blog Jeep Wagoneer Tailgate Won't Open 23 posts · joined 2022. #1 · aug 6, 2022. Either the tailgate will be temporarily unavailable when using the interior button, using the key fob outside the vehicle. I even got a 3mm screwdriver and put it. Or it could be the power strut is broken. I bought myself a 74 wagoneer, desert vehicle. Hop into the trunk area. Jeep Wagoneer Tailgate Won't Open.
From www.myjeepandme.com
Fix Your Jeep Grand Wagoneer Tailgate My Jeep and Me Jeep Wagoneer Tailgate Won't Open Either the tailgate will be temporarily unavailable when using the interior button, using the key fob outside the vehicle. So recently, the power liftgate in our wagoneer s3 has been randomly not working. My question to anyone is the issue. #1 · aug 6, 2022. I even got a 3mm screwdriver and put it. #3 · nov 20, 2006. I. Jeep Wagoneer Tailgate Won't Open.
From www.myjeepandme.com
Fix Your Jeep Grand Wagoneer Tailgate A Jeep Blog Jeep Wagoneer Tailgate Won't Open 28049 posts · joined 2005. Rear tailgate handle has broken and the gate is stuck half closed with no connection inside to the mechanism to release. #1 · aug 6, 2022. 844 posts · joined 2017. I bought myself a 74 wagoneer, desert vehicle. #3 · nov 20, 2006. My question to anyone is the issue. So recently, the power. Jeep Wagoneer Tailgate Won't Open.
From www.autozone.com
Repair Guides Exterior Tailgate Jeep Wagoneer Tailgate Won't Open #1 · may 27, 2023. I have tried all the internal trunk open buttons as well as trying to open it from the back. Hop into the trunk area and on the drivers side on the tailgate there is a small. Hello, i own a 2022 grand wagoneer series 1. So recently, the power liftgate in our wagoneer s3 has. Jeep Wagoneer Tailgate Won't Open.
From www.pinterest.com
Fix Your Jeep Grand Wagoneer Tailgate Four Wheel Trends Jeep grand Jeep Wagoneer Tailgate Won't Open Either the tailgate will be temporarily unavailable when using the interior button, using the key fob outside the vehicle. I even got a 3mm screwdriver and put it. #3 · nov 20, 2006. Or it could be the power strut is broken. Rear tailgate handle has broken and the gate is stuck half closed with no connection inside to the. Jeep Wagoneer Tailgate Won't Open.
From www.befr.ebay.be
Jeep Grand Wagoneer tailgate glass Rear defroster switch 6501 eBay Jeep Wagoneer Tailgate Won't Open I'll try to close it using either the foot kick. #1 · aug 6, 2022. So recently, the power liftgate in our wagoneer s3 has been randomly not working. Hello, i own a 2022 grand wagoneer series 1. #1 · may 27, 2023. I suppose it could be a bad turn on the strut switch in the latch if there. Jeep Wagoneer Tailgate Won't Open.
From www.youtube.com
Jeep Wagoneer and Cherokee tailgate outer switch lock plate removal Jeep Wagoneer Tailgate Won't Open I'll try to close it using either the foot kick. So recently, the power liftgate in our wagoneer s3 has been randomly not working. I have tried all the internal trunk open buttons as well as trying to open it from the back. #1 · aug 6, 2022. 23 posts · joined 2022. 844 posts · joined 2017. #1 ·. Jeep Wagoneer Tailgate Won't Open.
From www.myjeepandme.com
Fix Your Jeep Grand Wagoneer Tailgate A Jeep Blog Jeep Wagoneer Tailgate Won't Open 23 posts · joined 2022. #1 · may 27, 2023. I'll try to close it using either the foot kick. Hop into the trunk area and on the drivers side on the tailgate there is a small. #3 · nov 20, 2006. Hello, i own a 2022 grand wagoneer series 1. #1 · aug 6, 2022. My question to anyone. Jeep Wagoneer Tailgate Won't Open.
From klarrgpjn.blob.core.windows.net
Jeep Wrangler Tailgate Won't Close at Ginger Munsell blog Jeep Wagoneer Tailgate Won't Open Or it could be the power strut is broken. 23 posts · joined 2022. Either the tailgate will be temporarily unavailable when using the interior button, using the key fob outside the vehicle. So recently, the power liftgate in our wagoneer s3 has been randomly not working. #1 · aug 6, 2022. 28049 posts · joined 2005. I'll try to. Jeep Wagoneer Tailgate Won't Open.
From www.youtube.com
How to Open Truck Tailgate when Handle Wont Work! YouTube Jeep Wagoneer Tailgate Won't Open #1 · aug 6, 2022. Hello, i own a 2022 grand wagoneer series 1. Or it could be the power strut is broken. 28049 posts · joined 2005. #1 · may 27, 2023. Rear tailgate handle has broken and the gate is stuck half closed with no connection inside to the mechanism to release. I even got a 3mm screwdriver. Jeep Wagoneer Tailgate Won't Open.
From www.walmart.com
Tailgate Sunshade for 2022 Jeep Grand Wagoneer SUV (NOT for Wagoneer L Jeep Wagoneer Tailgate Won't Open I'll try to close it using either the foot kick. Rear tailgate handle has broken and the gate is stuck half closed with no connection inside to the mechanism to release. I suppose it could be a bad turn on the strut switch in the latch if there is such a switch. 23 posts · joined 2022. #1 · may. Jeep Wagoneer Tailgate Won't Open.
From exogurmzr.blob.core.windows.net
Tailgate Lock Jeep Grand Wagoneer at Barney Thomas blog Jeep Wagoneer Tailgate Won't Open Hello, i own a 2022 grand wagoneer series 1. I even got a 3mm screwdriver and put it. My question to anyone is the issue. I'll try to close it using either the foot kick. 28049 posts · joined 2005. I bought myself a 74 wagoneer, desert vehicle. 844 posts · joined 2017. #3 · nov 20, 2006. Hop into. Jeep Wagoneer Tailgate Won't Open.
From www.myjeepandme.com
Fix Your Jeep Grand Wagoneer Tailgate A Jeep Blog Jeep Wagoneer Tailgate Won't Open I'll try to close it using either the foot kick. I even got a 3mm screwdriver and put it. My question to anyone is the issue. Rear tailgate handle has broken and the gate is stuck half closed with no connection inside to the mechanism to release. I bought myself a 74 wagoneer, desert vehicle. 28049 posts · joined 2005.. Jeep Wagoneer Tailgate Won't Open.
From www.myjeepandme.com
Fix Your Jeep Grand Wagoneer Tailgate A Jeep Blog Jeep Wagoneer Tailgate Won't Open 23 posts · joined 2022. My question to anyone is the issue. #1 · aug 6, 2022. 28049 posts · joined 2005. I suppose it could be a bad turn on the strut switch in the latch if there is such a switch. Either the tailgate will be temporarily unavailable when using the interior button, using the key fob outside. Jeep Wagoneer Tailgate Won't Open.
From www.ebay.com
2022 2023 Jeep Wagoneer Rear Trunk LiftGate Oem eBay Jeep Wagoneer Tailgate Won't Open 23 posts · joined 2022. I even got a 3mm screwdriver and put it. I'll try to close it using either the foot kick. Or it could be the power strut is broken. 28049 posts · joined 2005. Hop into the trunk area and on the drivers side on the tailgate there is a small. Rear tailgate handle has broken. Jeep Wagoneer Tailgate Won't Open.
From fourwheeltrends.com
Fix Your Jeep Grand Wagoneer Tailgate Four Wheel Trends Jeep Wagoneer Tailgate Won't Open Or it could be the power strut is broken. Rear tailgate handle has broken and the gate is stuck half closed with no connection inside to the mechanism to release. Hop into the trunk area and on the drivers side on the tailgate there is a small. I suppose it could be a bad turn on the strut switch in. Jeep Wagoneer Tailgate Won't Open.
From www.moparpartsgiant.com
1987 Jeep Grand Wagoneer Latches, Tailgate Mopar Parts Giant Jeep Wagoneer Tailgate Won't Open I'll try to close it using either the foot kick. I have tried all the internal trunk open buttons as well as trying to open it from the back. Rear tailgate handle has broken and the gate is stuck half closed with no connection inside to the mechanism to release. #3 · nov 20, 2006. Hop into the trunk area. Jeep Wagoneer Tailgate Won't Open.
From www.pinterest.com
How to Fix a Jeep Grand Wagoneer tailgate window switch Jeep Wagoneer Jeep Wagoneer Tailgate Won't Open Either the tailgate will be temporarily unavailable when using the interior button, using the key fob outside the vehicle. My question to anyone is the issue. 844 posts · joined 2017. I'll try to close it using either the foot kick. Hello, i own a 2022 grand wagoneer series 1. #1 · aug 6, 2022. #3 · nov 20, 2006.. Jeep Wagoneer Tailgate Won't Open.
From vehq.com
Tailgate Won't Open? Here's What To Do! Jeep Wagoneer Tailgate Won't Open 28049 posts · joined 2005. So recently, the power liftgate in our wagoneer s3 has been randomly not working. I bought myself a 74 wagoneer, desert vehicle. I have tried all the internal trunk open buttons as well as trying to open it from the back. #1 · aug 6, 2022. I even got a 3mm screwdriver and put it.. Jeep Wagoneer Tailgate Won't Open.
From mechanicclarkslacker.z21.web.core.windows.net
Jeep Door Won't Open Jeep Wagoneer Tailgate Won't Open I suppose it could be a bad turn on the strut switch in the latch if there is such a switch. #3 · nov 20, 2006. Hop into the trunk area and on the drivers side on the tailgate there is a small. Rear tailgate handle has broken and the gate is stuck half closed with no connection inside to. Jeep Wagoneer Tailgate Won't Open.
From vehq.com
How To Remove The Jeep Wagoneer Tailgate Jeep Wagoneer Tailgate Won't Open 28049 posts · joined 2005. Either the tailgate will be temporarily unavailable when using the interior button, using the key fob outside the vehicle. I have tried all the internal trunk open buttons as well as trying to open it from the back. I bought myself a 74 wagoneer, desert vehicle. #1 · aug 6, 2022. I even got a. Jeep Wagoneer Tailgate Won't Open.
From www.myjeepandme.com
Fix Your Jeep Grand Wagoneer Tailgate A Jeep Blog Jeep Wagoneer Tailgate Won't Open Hello, i own a 2022 grand wagoneer series 1. So recently, the power liftgate in our wagoneer s3 has been randomly not working. 844 posts · joined 2017. #1 · may 27, 2023. I bought myself a 74 wagoneer, desert vehicle. Either the tailgate will be temporarily unavailable when using the interior button, using the key fob outside the vehicle.. Jeep Wagoneer Tailgate Won't Open.
From www.youtube.com
Jeep cherokee rear hatch removal and install YouTube Jeep Wagoneer Tailgate Won't Open 844 posts · joined 2017. Or it could be the power strut is broken. So recently, the power liftgate in our wagoneer s3 has been randomly not working. Either the tailgate will be temporarily unavailable when using the interior button, using the key fob outside the vehicle. My question to anyone is the issue. #1 · may 27, 2023. 23. Jeep Wagoneer Tailgate Won't Open.
From exogdpnir.blob.core.windows.net
Jeep Liberty Tailgate Won't Open at Betsy Brody blog Jeep Wagoneer Tailgate Won't Open Hello, i own a 2022 grand wagoneer series 1. I bought myself a 74 wagoneer, desert vehicle. 844 posts · joined 2017. #3 · nov 20, 2006. #1 · may 27, 2023. So recently, the power liftgate in our wagoneer s3 has been randomly not working. I even got a 3mm screwdriver and put it. I have tried all the. Jeep Wagoneer Tailgate Won't Open.
From klarrgpjn.blob.core.windows.net
Jeep Wrangler Tailgate Won't Close at Ginger Munsell blog Jeep Wagoneer Tailgate Won't Open Or it could be the power strut is broken. Hello, i own a 2022 grand wagoneer series 1. Either the tailgate will be temporarily unavailable when using the interior button, using the key fob outside the vehicle. I even got a 3mm screwdriver and put it. I'll try to close it using either the foot kick. I bought myself a. Jeep Wagoneer Tailgate Won't Open.
From www.pinterest.com
Fix Your Jeep Grand Wagoneer Tailgate Four Wheel Trends Jeep grand Jeep Wagoneer Tailgate Won't Open #1 · may 27, 2023. 28049 posts · joined 2005. #3 · nov 20, 2006. I suppose it could be a bad turn on the strut switch in the latch if there is such a switch. I have tried all the internal trunk open buttons as well as trying to open it from the back. I bought myself a 74. Jeep Wagoneer Tailgate Won't Open.
From garageva2t1okmgmn.z5.web.core.windows.net
Tahoe Tailgate Will Not Open Jeep Wagoneer Tailgate Won't Open I even got a 3mm screwdriver and put it. 844 posts · joined 2017. Hello, i own a 2022 grand wagoneer series 1. My question to anyone is the issue. #1 · aug 6, 2022. Either the tailgate will be temporarily unavailable when using the interior button, using the key fob outside the vehicle. Rear tailgate handle has broken and. Jeep Wagoneer Tailgate Won't Open.
From www.myjeepandme.com
Fix Your Jeep Grand Wagoneer Tailgate A Jeep Blog Jeep Wagoneer Tailgate Won't Open So recently, the power liftgate in our wagoneer s3 has been randomly not working. I even got a 3mm screwdriver and put it. Hop into the trunk area and on the drivers side on the tailgate there is a small. My question to anyone is the issue. 844 posts · joined 2017. 23 posts · joined 2022. I have tried. Jeep Wagoneer Tailgate Won't Open.
From www.youtube.com
Jeep Grand Wagoneer opening tailgate ) YouTube Jeep Wagoneer Tailgate Won't Open Hop into the trunk area and on the drivers side on the tailgate there is a small. My question to anyone is the issue. I even got a 3mm screwdriver and put it. I bought myself a 74 wagoneer, desert vehicle. 28049 posts · joined 2005. #1 · may 27, 2023. So recently, the power liftgate in our wagoneer s3. Jeep Wagoneer Tailgate Won't Open.
From www.f150forum.com
Tailgate won’t open following recall service Ford F150 Forum Jeep Wagoneer Tailgate Won't Open I even got a 3mm screwdriver and put it. Hop into the trunk area and on the drivers side on the tailgate there is a small. #1 · aug 6, 2022. I bought myself a 74 wagoneer, desert vehicle. 28049 posts · joined 2005. I have tried all the internal trunk open buttons as well as trying to open it. Jeep Wagoneer Tailgate Won't Open.
From www.justanswer.com
Q&A How to Remove '78 Jeep Wagoneer Tailgate? JustAnswer Jeep Wagoneer Tailgate Won't Open I'll try to close it using either the foot kick. I even got a 3mm screwdriver and put it. #1 · aug 6, 2022. 844 posts · joined 2017. Hello, i own a 2022 grand wagoneer series 1. I suppose it could be a bad turn on the strut switch in the latch if there is such a switch. Or. Jeep Wagoneer Tailgate Won't Open.
From www.myjeepandme.com
Fix Your Jeep Grand Wagoneer Tailgate My Jeep and Me Jeep Wagoneer Tailgate Won't Open Either the tailgate will be temporarily unavailable when using the interior button, using the key fob outside the vehicle. #3 · nov 20, 2006. I suppose it could be a bad turn on the strut switch in the latch if there is such a switch. 844 posts · joined 2017. I have tried all the internal trunk open buttons as. Jeep Wagoneer Tailgate Won't Open.