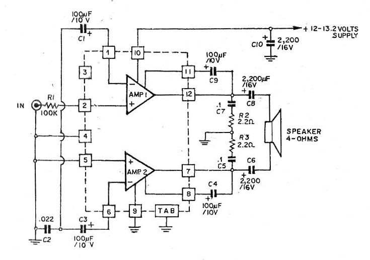
Tda7294 Subwoofer Amplifier Circuit . This is a class ab amplifier, so we need a good heat dissipator and a stable. It is a monolithic integrated circuit, it can be. Tda7294 is a monolithic integrated circuit in multiwatt15 package, with high output power (up to 100w). Here we design a subwoofer. In this tutorial, we are going to “tda7294 subwoofer amplifier circuit”. This ic is a class ab audio amplifier chip designed for high power audio. Most common in subwoofer amplifier systems. The tda7294 ic is a popular sound amplifier ic with low cost that has a ton of power handling capacity, 100w to be exact.
from www.tpsearchtool.com
Most common in subwoofer amplifier systems. This ic is a class ab audio amplifier chip designed for high power audio. The tda7294 ic is a popular sound amplifier ic with low cost that has a ton of power handling capacity, 100w to be exact. Tda7294 is a monolithic integrated circuit in multiwatt15 package, with high output power (up to 100w). This is a class ab amplifier, so we need a good heat dissipator and a stable. It is a monolithic integrated circuit, it can be. In this tutorial, we are going to “tda7294 subwoofer amplifier circuit”. Here we design a subwoofer.
Tda7294 Power Amplifier Datasheet Pinout Features Applications Images
Tda7294 Subwoofer Amplifier Circuit Tda7294 is a monolithic integrated circuit in multiwatt15 package, with high output power (up to 100w). This ic is a class ab audio amplifier chip designed for high power audio. It is a monolithic integrated circuit, it can be. Here we design a subwoofer. The tda7294 ic is a popular sound amplifier ic with low cost that has a ton of power handling capacity, 100w to be exact. In this tutorial, we are going to “tda7294 subwoofer amplifier circuit”. This is a class ab amplifier, so we need a good heat dissipator and a stable. Tda7294 is a monolithic integrated circuit in multiwatt15 package, with high output power (up to 100w). Most common in subwoofer amplifier systems.
From tronicspro.com
TDA7294 HighEfficiency Power Amplifier Circuit TRONICSpro Tda7294 Subwoofer Amplifier Circuit Most common in subwoofer amplifier systems. Tda7294 is a monolithic integrated circuit in multiwatt15 package, with high output power (up to 100w). This is a class ab amplifier, so we need a good heat dissipator and a stable. The tda7294 ic is a popular sound amplifier ic with low cost that has a ton of power handling capacity, 100w to. Tda7294 Subwoofer Amplifier Circuit.
From www.seekic.com
increase to the active subwoofer amplifier (TDA7294) circuit Audio_Circuit Circuit Diagram Tda7294 Subwoofer Amplifier Circuit Tda7294 is a monolithic integrated circuit in multiwatt15 package, with high output power (up to 100w). In this tutorial, we are going to “tda7294 subwoofer amplifier circuit”. Most common in subwoofer amplifier systems. This ic is a class ab audio amplifier chip designed for high power audio. This is a class ab amplifier, so we need a good heat dissipator. Tda7294 Subwoofer Amplifier Circuit.
From xtronic.org
Circuit dynamic power amplifier with TDA7294 bridge 180W or stereo 80W Xtronic Tda7294 Subwoofer Amplifier Circuit It is a monolithic integrated circuit, it can be. The tda7294 ic is a popular sound amplifier ic with low cost that has a ton of power handling capacity, 100w to be exact. In this tutorial, we are going to “tda7294 subwoofer amplifier circuit”. This is a class ab amplifier, so we need a good heat dissipator and a stable.. Tda7294 Subwoofer Amplifier Circuit.
From www.pinterest.de
Tda7294 Bridge Amplifier 250w Graffiti Diy amplifier, Subwoofer amplifier, Electronic circuit Tda7294 Subwoofer Amplifier Circuit The tda7294 ic is a popular sound amplifier ic with low cost that has a ton of power handling capacity, 100w to be exact. Tda7294 is a monolithic integrated circuit in multiwatt15 package, with high output power (up to 100w). Here we design a subwoofer. Most common in subwoofer amplifier systems. This is a class ab amplifier, so we need. Tda7294 Subwoofer Amplifier Circuit.
From www.circuits-diy.com
TDA7294 Subwoofer Amplifier Circuit Tda7294 Subwoofer Amplifier Circuit It is a monolithic integrated circuit, it can be. The tda7294 ic is a popular sound amplifier ic with low cost that has a ton of power handling capacity, 100w to be exact. Most common in subwoofer amplifier systems. This is a class ab amplifier, so we need a good heat dissipator and a stable. This ic is a class. Tda7294 Subwoofer Amplifier Circuit.
From www.homemade-circuits.com
100 Watt Power Amplifier Circuit using a Single IC TDA7294 Homemade Circuit Projects Tda7294 Subwoofer Amplifier Circuit This ic is a class ab audio amplifier chip designed for high power audio. The tda7294 ic is a popular sound amplifier ic with low cost that has a ton of power handling capacity, 100w to be exact. Tda7294 is a monolithic integrated circuit in multiwatt15 package, with high output power (up to 100w). This is a class ab amplifier,. Tda7294 Subwoofer Amplifier Circuit.
From theorycircuit.com
TDA7294 Subwoofer Amplifier Circuit Tda7294 Subwoofer Amplifier Circuit Here we design a subwoofer. Most common in subwoofer amplifier systems. This is a class ab amplifier, so we need a good heat dissipator and a stable. This ic is a class ab audio amplifier chip designed for high power audio. Tda7294 is a monolithic integrated circuit in multiwatt15 package, with high output power (up to 100w). It is a. Tda7294 Subwoofer Amplifier Circuit.
From www.elcircuit.com
TDA7294 Subwoofer Amplifier Schematic PCB Layout Electronic Circuit Tda7294 Subwoofer Amplifier Circuit The tda7294 ic is a popular sound amplifier ic with low cost that has a ton of power handling capacity, 100w to be exact. This is a class ab amplifier, so we need a good heat dissipator and a stable. Tda7294 is a monolithic integrated circuit in multiwatt15 package, with high output power (up to 100w). It is a monolithic. Tda7294 Subwoofer Amplifier Circuit.
From www.circuitdiagram.co
Tda7294 Subwoofer Amplifier Circuit Diagram Circuit Diagram Tda7294 Subwoofer Amplifier Circuit In this tutorial, we are going to “tda7294 subwoofer amplifier circuit”. Tda7294 is a monolithic integrated circuit in multiwatt15 package, with high output power (up to 100w). Most common in subwoofer amplifier systems. Here we design a subwoofer. It is a monolithic integrated circuit, it can be. This ic is a class ab audio amplifier chip designed for high power. Tda7294 Subwoofer Amplifier Circuit.
From xtronic.org
TDA7294 2.1 TDA7293 2.1 Power Amplifier Circuit Xtronic Tda7294 Subwoofer Amplifier Circuit This is a class ab amplifier, so we need a good heat dissipator and a stable. Here we design a subwoofer. It is a monolithic integrated circuit, it can be. This ic is a class ab audio amplifier chip designed for high power audio. In this tutorial, we are going to “tda7294 subwoofer amplifier circuit”. Most common in subwoofer amplifier. Tda7294 Subwoofer Amplifier Circuit.
From www.circuitdiagram.co
Tda7294 Stereo Amplifier Circuit Diagram Circuit Diagram Tda7294 Subwoofer Amplifier Circuit The tda7294 ic is a popular sound amplifier ic with low cost that has a ton of power handling capacity, 100w to be exact. It is a monolithic integrated circuit, it can be. Tda7294 is a monolithic integrated circuit in multiwatt15 package, with high output power (up to 100w). In this tutorial, we are going to “tda7294 subwoofer amplifier circuit”.. Tda7294 Subwoofer Amplifier Circuit.
From www.circuitdiagram.co
Tda7294 Amplifier Circuit Circuit Diagram Tda7294 Subwoofer Amplifier Circuit This is a class ab amplifier, so we need a good heat dissipator and a stable. Here we design a subwoofer. In this tutorial, we are going to “tda7294 subwoofer amplifier circuit”. Most common in subwoofer amplifier systems. This ic is a class ab audio amplifier chip designed for high power audio. Tda7294 is a monolithic integrated circuit in multiwatt15. Tda7294 Subwoofer Amplifier Circuit.
From www.vrogue.co
Tda7294 Subwoofer Amplifier Circuit Diagram Simple Au vrogue.co Tda7294 Subwoofer Amplifier Circuit This is a class ab amplifier, so we need a good heat dissipator and a stable. Most common in subwoofer amplifier systems. In this tutorial, we are going to “tda7294 subwoofer amplifier circuit”. Tda7294 is a monolithic integrated circuit in multiwatt15 package, with high output power (up to 100w). This ic is a class ab audio amplifier chip designed for. Tda7294 Subwoofer Amplifier Circuit.
From siwirediagram.blogspot.com
siwire Tda7294 Subwoofer Schematic Tda7294 Subwoofer Amplifier Circuit It is a monolithic integrated circuit, it can be. Tda7294 is a monolithic integrated circuit in multiwatt15 package, with high output power (up to 100w). The tda7294 ic is a popular sound amplifier ic with low cost that has a ton of power handling capacity, 100w to be exact. Most common in subwoofer amplifier systems. This is a class ab. Tda7294 Subwoofer Amplifier Circuit.
From www.circuits-diy.com
TDA7294 Subwoofer Amplifier Circuit Tda7294 Subwoofer Amplifier Circuit Most common in subwoofer amplifier systems. This is a class ab amplifier, so we need a good heat dissipator and a stable. Tda7294 is a monolithic integrated circuit in multiwatt15 package, with high output power (up to 100w). It is a monolithic integrated circuit, it can be. This ic is a class ab audio amplifier chip designed for high power. Tda7294 Subwoofer Amplifier Circuit.
From www.organised-sound.com
Tda7294 Amplifier Circuit Pcb Wiring Diagram Tda7294 Subwoofer Amplifier Circuit Here we design a subwoofer. The tda7294 ic is a popular sound amplifier ic with low cost that has a ton of power handling capacity, 100w to be exact. In this tutorial, we are going to “tda7294 subwoofer amplifier circuit”. Tda7294 is a monolithic integrated circuit in multiwatt15 package, with high output power (up to 100w). This is a class. Tda7294 Subwoofer Amplifier Circuit.
From www.youtube.com
tda7294 circuit tda7294 subwoofer 7294 amplifier YouTube Tda7294 Subwoofer Amplifier Circuit Most common in subwoofer amplifier systems. The tda7294 ic is a popular sound amplifier ic with low cost that has a ton of power handling capacity, 100w to be exact. Tda7294 is a monolithic integrated circuit in multiwatt15 package, with high output power (up to 100w). Here we design a subwoofer. It is a monolithic integrated circuit, it can be.. Tda7294 Subwoofer Amplifier Circuit.
From www.vrogue.co
Tda7294 200w 100w Subwoofer Amplifier Circuits vrogue.co Tda7294 Subwoofer Amplifier Circuit This is a class ab amplifier, so we need a good heat dissipator and a stable. It is a monolithic integrated circuit, it can be. Tda7294 is a monolithic integrated circuit in multiwatt15 package, with high output power (up to 100w). Most common in subwoofer amplifier systems. The tda7294 ic is a popular sound amplifier ic with low cost that. Tda7294 Subwoofer Amplifier Circuit.
From www.youtube.com
Tda7294 subwoofer amplifier circuit YouTube Tda7294 Subwoofer Amplifier Circuit The tda7294 ic is a popular sound amplifier ic with low cost that has a ton of power handling capacity, 100w to be exact. Tda7294 is a monolithic integrated circuit in multiwatt15 package, with high output power (up to 100w). This is a class ab amplifier, so we need a good heat dissipator and a stable. Most common in subwoofer. Tda7294 Subwoofer Amplifier Circuit.
From xtronic.org
TDA7294 Circuit Power Amplifier Dynamic 180W Xtronic Tda7294 Subwoofer Amplifier Circuit This is a class ab amplifier, so we need a good heat dissipator and a stable. This ic is a class ab audio amplifier chip designed for high power audio. It is a monolithic integrated circuit, it can be. Tda7294 is a monolithic integrated circuit in multiwatt15 package, with high output power (up to 100w). In this tutorial, we are. Tda7294 Subwoofer Amplifier Circuit.
From www.elcircuit.com
TDA7294 subwoofer amplifier PCB layout Electronic Circuit Tda7294 Subwoofer Amplifier Circuit In this tutorial, we are going to “tda7294 subwoofer amplifier circuit”. Tda7294 is a monolithic integrated circuit in multiwatt15 package, with high output power (up to 100w). This ic is a class ab audio amplifier chip designed for high power audio. This is a class ab amplifier, so we need a good heat dissipator and a stable. The tda7294 ic. Tda7294 Subwoofer Amplifier Circuit.
From userlistedna.z6.web.core.windows.net
Tda7294 Ic Amplifier Circuit Diagram Tda7294 Subwoofer Amplifier Circuit It is a monolithic integrated circuit, it can be. This ic is a class ab audio amplifier chip designed for high power audio. Tda7294 is a monolithic integrated circuit in multiwatt15 package, with high output power (up to 100w). Here we design a subwoofer. Most common in subwoofer amplifier systems. In this tutorial, we are going to “tda7294 subwoofer amplifier. Tda7294 Subwoofer Amplifier Circuit.
From www.circuitdiagram.co
Tda7294 Amplifier Circuit Diagram Circuit Diagram Tda7294 Subwoofer Amplifier Circuit In this tutorial, we are going to “tda7294 subwoofer amplifier circuit”. Here we design a subwoofer. This is a class ab amplifier, so we need a good heat dissipator and a stable. Most common in subwoofer amplifier systems. The tda7294 ic is a popular sound amplifier ic with low cost that has a ton of power handling capacity, 100w to. Tda7294 Subwoofer Amplifier Circuit.
From www.tpsearchtool.com
Tda7294 Power Amplifier Datasheet Pinout Features Applications Images Tda7294 Subwoofer Amplifier Circuit This is a class ab amplifier, so we need a good heat dissipator and a stable. Most common in subwoofer amplifier systems. Here we design a subwoofer. The tda7294 ic is a popular sound amplifier ic with low cost that has a ton of power handling capacity, 100w to be exact. This ic is a class ab audio amplifier chip. Tda7294 Subwoofer Amplifier Circuit.
From wiringdiagram37.blogspot.com
Tda7294 Subwoofer Amplifier Circuit Diagram Circuit dynamic power amplifier with TDA7294 Tda7294 Subwoofer Amplifier Circuit Here we design a subwoofer. It is a monolithic integrated circuit, it can be. The tda7294 ic is a popular sound amplifier ic with low cost that has a ton of power handling capacity, 100w to be exact. Most common in subwoofer amplifier systems. In this tutorial, we are going to “tda7294 subwoofer amplifier circuit”. Tda7294 is a monolithic integrated. Tda7294 Subwoofer Amplifier Circuit.
From amplifiercircuit.blogspot.com
TDA7294 Audio Amplifier 2 x 80W AmplifierCircuits Tda7294 Subwoofer Amplifier Circuit This ic is a class ab audio amplifier chip designed for high power audio. Most common in subwoofer amplifier systems. It is a monolithic integrated circuit, it can be. In this tutorial, we are going to “tda7294 subwoofer amplifier circuit”. Tda7294 is a monolithic integrated circuit in multiwatt15 package, with high output power (up to 100w). Here we design a. Tda7294 Subwoofer Amplifier Circuit.
From www.electroschematics.com
TDA7294 Circuit Diagram, Datasheet and Pinout Tda7294 Subwoofer Amplifier Circuit In this tutorial, we are going to “tda7294 subwoofer amplifier circuit”. Tda7294 is a monolithic integrated circuit in multiwatt15 package, with high output power (up to 100w). Here we design a subwoofer. This is a class ab amplifier, so we need a good heat dissipator and a stable. It is a monolithic integrated circuit, it can be. Most common in. Tda7294 Subwoofer Amplifier Circuit.
From fixdbangelika.z13.web.core.windows.net
Tda7294 Ic Circuit Diagram Tda7294 Subwoofer Amplifier Circuit This ic is a class ab audio amplifier chip designed for high power audio. Tda7294 is a monolithic integrated circuit in multiwatt15 package, with high output power (up to 100w). The tda7294 ic is a popular sound amplifier ic with low cost that has a ton of power handling capacity, 100w to be exact. It is a monolithic integrated circuit,. Tda7294 Subwoofer Amplifier Circuit.
From wiringdiagram37.blogspot.com
Tda7294 Subwoofer Amplifier Circuit Diagram Circuit dynamic power amplifier with TDA7294 Tda7294 Subwoofer Amplifier Circuit This ic is a class ab audio amplifier chip designed for high power audio. It is a monolithic integrated circuit, it can be. Most common in subwoofer amplifier systems. Here we design a subwoofer. This is a class ab amplifier, so we need a good heat dissipator and a stable. The tda7294 ic is a popular sound amplifier ic with. Tda7294 Subwoofer Amplifier Circuit.
From www.pinterest.com
tda7294_bridge_layout_amplificador 1 in 2020 Hifi amplifier, Audio amplifier, Diy amplifier Tda7294 Subwoofer Amplifier Circuit The tda7294 ic is a popular sound amplifier ic with low cost that has a ton of power handling capacity, 100w to be exact. This is a class ab amplifier, so we need a good heat dissipator and a stable. Here we design a subwoofer. In this tutorial, we are going to “tda7294 subwoofer amplifier circuit”. Tda7294 is a monolithic. Tda7294 Subwoofer Amplifier Circuit.
From www.circuitdiagram.co
Tda7294 Subwoofer Amplifier Circuit Diagram Circuit Diagram Tda7294 Subwoofer Amplifier Circuit This ic is a class ab audio amplifier chip designed for high power audio. It is a monolithic integrated circuit, it can be. In this tutorial, we are going to “tda7294 subwoofer amplifier circuit”. Tda7294 is a monolithic integrated circuit in multiwatt15 package, with high output power (up to 100w). The tda7294 ic is a popular sound amplifier ic with. Tda7294 Subwoofer Amplifier Circuit.
From 320volt.com
TDA7294 Subwoofer Amplifier Circuit Electronics Projects Circuits Tda7294 Subwoofer Amplifier Circuit This is a class ab amplifier, so we need a good heat dissipator and a stable. Tda7294 is a monolithic integrated circuit in multiwatt15 package, with high output power (up to 100w). It is a monolithic integrated circuit, it can be. Most common in subwoofer amplifier systems. The tda7294 ic is a popular sound amplifier ic with low cost that. Tda7294 Subwoofer Amplifier Circuit.
From wiringdiagram37.blogspot.com
Tda7294 Subwoofer Amplifier Circuit Diagram Circuit dynamic power amplifier with TDA7294 Tda7294 Subwoofer Amplifier Circuit Most common in subwoofer amplifier systems. Tda7294 is a monolithic integrated circuit in multiwatt15 package, with high output power (up to 100w). This is a class ab amplifier, so we need a good heat dissipator and a stable. In this tutorial, we are going to “tda7294 subwoofer amplifier circuit”. This ic is a class ab audio amplifier chip designed for. Tda7294 Subwoofer Amplifier Circuit.
From www.circuitdiagram.co
Tda7294 2 1 Amplifier Schematic Circuit Diagram Tda7294 Subwoofer Amplifier Circuit In this tutorial, we are going to “tda7294 subwoofer amplifier circuit”. This ic is a class ab audio amplifier chip designed for high power audio. This is a class ab amplifier, so we need a good heat dissipator and a stable. Most common in subwoofer amplifier systems. The tda7294 ic is a popular sound amplifier ic with low cost that. Tda7294 Subwoofer Amplifier Circuit.
From www.vrogue.co
Tda7294 Subwoofer Amplifier Circuit Diagram Simple Au vrogue.co Tda7294 Subwoofer Amplifier Circuit Most common in subwoofer amplifier systems. In this tutorial, we are going to “tda7294 subwoofer amplifier circuit”. It is a monolithic integrated circuit, it can be. Tda7294 is a monolithic integrated circuit in multiwatt15 package, with high output power (up to 100w). This ic is a class ab audio amplifier chip designed for high power audio. This is a class. Tda7294 Subwoofer Amplifier Circuit.