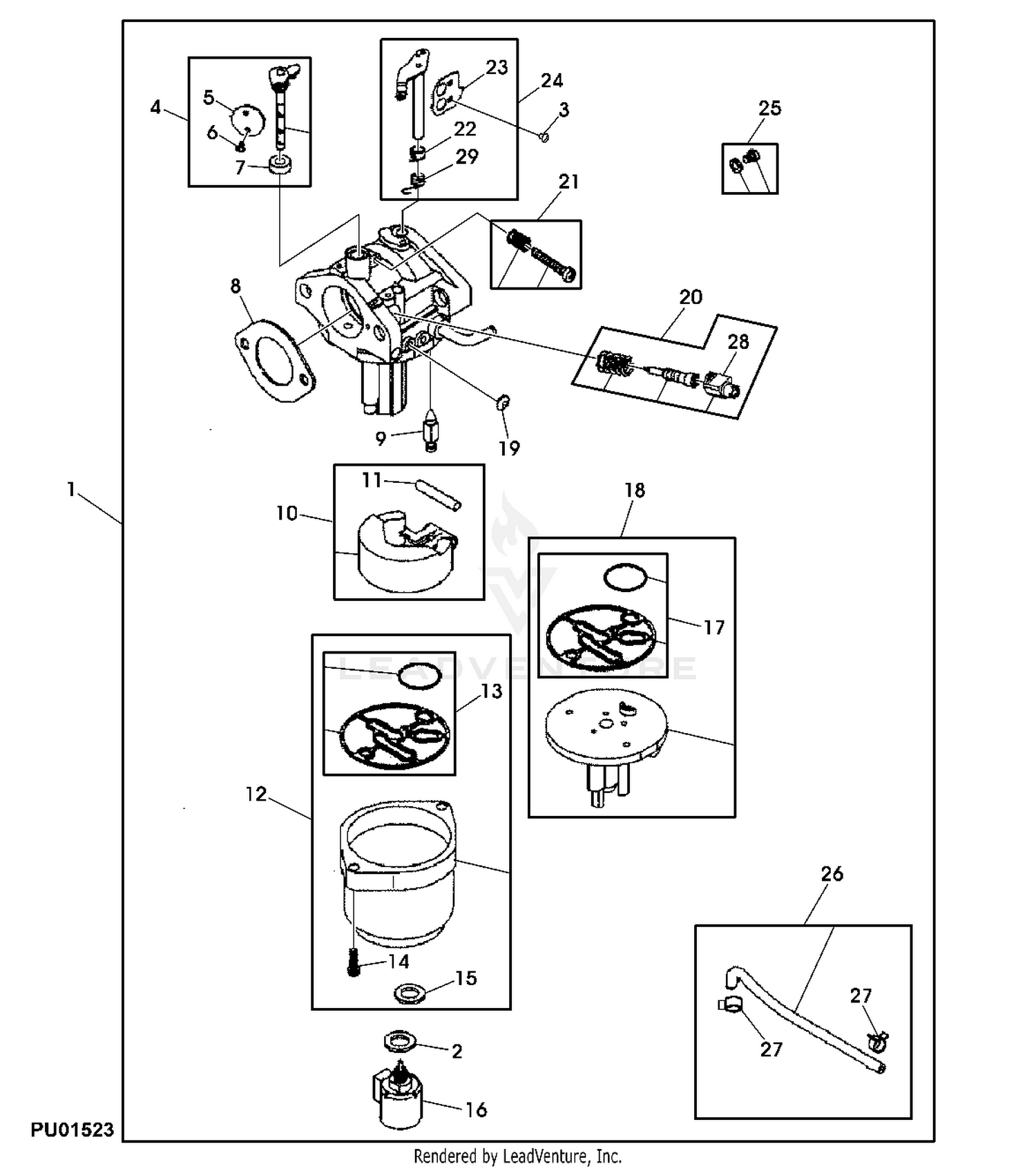
John Deere D110 Carburetor Diagram . For example the operator's manual, parts diagram, reference guides, safety info, etc. You can use it to identify the. Replacement parts guide d110 (100 series) tractor with 42 inch deck engine fuel and air electrical *see operator’s manual for. The fuel line diagram for the john deere d110 shows the precise routing of the fuel lines and connections in the mower’s fuel system. The john deere d110 carburetor diagram is a visual representation of the carburetor and its components. The john deere d110 parts diagram is a visual representation of the mower’s internal and external components. Find detailed diagrams and parts lists for your john deere d110 tractor at our website. It provides a detailed breakdown of each part, including its specific location and function within the machine. The parts diagram of john deere d110 is a visual representation of the machine’s components and their assembly. Looking for john deere d110 parts diagrams? It provides a detailed breakdown of each part, including the choke, throttle, fuel inlet, and air filter. Find your owner's manual and service information. Find a detailed carburetor diagram for the john deere d110 lawn tractor to assist with maintenance and repairs.
from downjup635.weebly.com
The parts diagram of john deere d110 is a visual representation of the machine’s components and their assembly. Find a detailed carburetor diagram for the john deere d110 lawn tractor to assist with maintenance and repairs. For example the operator's manual, parts diagram, reference guides, safety info, etc. Find your owner's manual and service information. The john deere d110 parts diagram is a visual representation of the mower’s internal and external components. You can use it to identify the. It provides a detailed breakdown of each part, including its specific location and function within the machine. It provides a detailed breakdown of each part, including the choke, throttle, fuel inlet, and air filter. The john deere d110 carburetor diagram is a visual representation of the carburetor and its components. Looking for john deere d110 parts diagrams?
John Deere D110 Parts Manual downjup
John Deere D110 Carburetor Diagram The fuel line diagram for the john deere d110 shows the precise routing of the fuel lines and connections in the mower’s fuel system. Replacement parts guide d110 (100 series) tractor with 42 inch deck engine fuel and air electrical *see operator’s manual for. For example the operator's manual, parts diagram, reference guides, safety info, etc. Find your owner's manual and service information. It provides a detailed breakdown of each part, including the choke, throttle, fuel inlet, and air filter. The parts diagram of john deere d110 is a visual representation of the machine’s components and their assembly. Find detailed diagrams and parts lists for your john deere d110 tractor at our website. Looking for john deere d110 parts diagrams? The fuel line diagram for the john deere d110 shows the precise routing of the fuel lines and connections in the mower’s fuel system. The john deere d110 carburetor diagram is a visual representation of the carburetor and its components. You can use it to identify the. The john deere d110 parts diagram is a visual representation of the mower’s internal and external components. It provides a detailed breakdown of each part, including its specific location and function within the machine. Find a detailed carburetor diagram for the john deere d110 lawn tractor to assist with maintenance and repairs.
From johndocs.com
Unraveling the Components of the John Deere D110 Mower Deck A Diagram John Deere D110 Carburetor Diagram The fuel line diagram for the john deere d110 shows the precise routing of the fuel lines and connections in the mower’s fuel system. The john deere d110 parts diagram is a visual representation of the mower’s internal and external components. The john deere d110 carburetor diagram is a visual representation of the carburetor and its components. Looking for john. John Deere D110 Carburetor Diagram.
From rdd.edu.iq
john deere d110 carburetor, clearance sale UP TO 63 OFF rdd.edu.iq John Deere D110 Carburetor Diagram Find your owner's manual and service information. For example the operator's manual, parts diagram, reference guides, safety info, etc. The parts diagram of john deere d110 is a visual representation of the machine’s components and their assembly. The fuel line diagram for the john deere d110 shows the precise routing of the fuel lines and connections in the mower’s fuel. John Deere D110 Carburetor Diagram.
From techschems.com
How to Replace the Belt on a D110 John Deere StepbyStep Diagram Guide John Deere D110 Carburetor Diagram Find detailed diagrams and parts lists for your john deere d110 tractor at our website. It provides a detailed breakdown of each part, including the choke, throttle, fuel inlet, and air filter. Looking for john deere d110 parts diagrams? Find a detailed carburetor diagram for the john deere d110 lawn tractor to assist with maintenance and repairs. Replacement parts guide. John Deere D110 Carburetor Diagram.
From elisecastroinformations.blogspot.com
john deere d110 parts diagram John Deere D110 Carburetor Diagram Find detailed diagrams and parts lists for your john deere d110 tractor at our website. The john deere d110 parts diagram is a visual representation of the mower’s internal and external components. It provides a detailed breakdown of each part, including the choke, throttle, fuel inlet, and air filter. Replacement parts guide d110 (100 series) tractor with 42 inch deck. John Deere D110 Carburetor Diagram.
From techdiagrammer.com
Understanding the Carburetor Diagram for the John Deere D110 John Deere D110 Carburetor Diagram The fuel line diagram for the john deere d110 shows the precise routing of the fuel lines and connections in the mower’s fuel system. You can use it to identify the. Find detailed diagrams and parts lists for your john deere d110 tractor at our website. The john deere d110 carburetor diagram is a visual representation of the carburetor and. John Deere D110 Carburetor Diagram.
From elisecastroinformations.blogspot.com
john deere d110 parts diagram John Deere D110 Carburetor Diagram The john deere d110 carburetor diagram is a visual representation of the carburetor and its components. Replacement parts guide d110 (100 series) tractor with 42 inch deck engine fuel and air electrical *see operator’s manual for. Find your owner's manual and service information. The parts diagram of john deere d110 is a visual representation of the machine’s components and their. John Deere D110 Carburetor Diagram.
From www.epcatalogs.com
John Deere D100, D110, D120, D130, D140 Service Manual PDF John Deere D110 Carburetor Diagram You can use it to identify the. The john deere d110 parts diagram is a visual representation of the mower’s internal and external components. It provides a detailed breakdown of each part, including its specific location and function within the machine. Find detailed diagrams and parts lists for your john deere d110 tractor at our website. For example the operator's. John Deere D110 Carburetor Diagram.
From elisecastroinformations.blogspot.com
john deere d110 parts diagram John Deere D110 Carburetor Diagram It provides a detailed breakdown of each part, including its specific location and function within the machine. Looking for john deere d110 parts diagrams? Replacement parts guide d110 (100 series) tractor with 42 inch deck engine fuel and air electrical *see operator’s manual for. The john deere d110 parts diagram is a visual representation of the mower’s internal and external. John Deere D110 Carburetor Diagram.
From archivejohn.com
Unlock the Secrets of the John Deere D110 A Comprehensive Diagram Guide John Deere D110 Carburetor Diagram Find detailed diagrams and parts lists for your john deere d110 tractor at our website. It provides a detailed breakdown of each part, including its specific location and function within the machine. Find a detailed carburetor diagram for the john deere d110 lawn tractor to assist with maintenance and repairs. You can use it to identify the. The fuel line. John Deere D110 Carburetor Diagram.
From elisecastroinformations.blogspot.com
john deere d110 parts diagram John Deere D110 Carburetor Diagram Looking for john deere d110 parts diagrams? The fuel line diagram for the john deere d110 shows the precise routing of the fuel lines and connections in the mower’s fuel system. Find a detailed carburetor diagram for the john deere d110 lawn tractor to assist with maintenance and repairs. Find detailed diagrams and parts lists for your john deere d110. John Deere D110 Carburetor Diagram.
From techschematic.com
Everything You Need to Know About John Deere D110 Throttle Linkage Diagram John Deere D110 Carburetor Diagram Find detailed diagrams and parts lists for your john deere d110 tractor at our website. Find your owner's manual and service information. For example the operator's manual, parts diagram, reference guides, safety info, etc. The john deere d110 parts diagram is a visual representation of the mower’s internal and external components. It provides a detailed breakdown of each part, including. John Deere D110 Carburetor Diagram.
From techschems.com
Exploring the John Deere D110 Deck Diagram A Visual Guide John Deere D110 Carburetor Diagram The john deere d110 parts diagram is a visual representation of the mower’s internal and external components. Replacement parts guide d110 (100 series) tractor with 42 inch deck engine fuel and air electrical *see operator’s manual for. The parts diagram of john deere d110 is a visual representation of the machine’s components and their assembly. For example the operator's manual,. John Deere D110 Carburetor Diagram.
From johndocs.com
A Visual Guide to the John Deere D110 Carburetor John Deere D110 Carburetor Diagram For example the operator's manual, parts diagram, reference guides, safety info, etc. Find detailed diagrams and parts lists for your john deere d110 tractor at our website. Find a detailed carburetor diagram for the john deere d110 lawn tractor to assist with maintenance and repairs. It provides a detailed breakdown of each part, including the choke, throttle, fuel inlet, and. John Deere D110 Carburetor Diagram.
From www.justanswer.com
Expert Solutions for John Deere and Onan Microquiet Throttle and John Deere D110 Carburetor Diagram Find detailed diagrams and parts lists for your john deere d110 tractor at our website. Find your owner's manual and service information. For example the operator's manual, parts diagram, reference guides, safety info, etc. The parts diagram of john deere d110 is a visual representation of the machine’s components and their assembly. The john deere d110 carburetor diagram is a. John Deere D110 Carburetor Diagram.
From downjup635.weebly.com
John Deere D110 Parts Manual downjup John Deere D110 Carburetor Diagram Replacement parts guide d110 (100 series) tractor with 42 inch deck engine fuel and air electrical *see operator’s manual for. Find your owner's manual and service information. Looking for john deere d110 parts diagrams? The fuel line diagram for the john deere d110 shows the precise routing of the fuel lines and connections in the mower’s fuel system. You can. John Deere D110 Carburetor Diagram.
From elisecastroinformations.blogspot.com
john deere d110 parts diagram John Deere D110 Carburetor Diagram Find detailed diagrams and parts lists for your john deere d110 tractor at our website. Find your owner's manual and service information. Looking for john deere d110 parts diagrams? The john deere d110 carburetor diagram is a visual representation of the carburetor and its components. Replacement parts guide d110 (100 series) tractor with 42 inch deck engine fuel and air. John Deere D110 Carburetor Diagram.
From www.epcatalogs.com
John Deere D100, D110, D120, D130, D140 Service Manual PDF John Deere D110 Carburetor Diagram Find a detailed carburetor diagram for the john deere d110 lawn tractor to assist with maintenance and repairs. The parts diagram of john deere d110 is a visual representation of the machine’s components and their assembly. You can use it to identify the. Find your owner's manual and service information. Looking for john deere d110 parts diagrams? Find detailed diagrams. John Deere D110 Carburetor Diagram.
From liliapeckinformations.blogspot.com
john deere d110 parts diagram John Deere D110 Carburetor Diagram It provides a detailed breakdown of each part, including the choke, throttle, fuel inlet, and air filter. The john deere d110 parts diagram is a visual representation of the mower’s internal and external components. Replacement parts guide d110 (100 series) tractor with 42 inch deck engine fuel and air electrical *see operator’s manual for. You can use it to identify. John Deere D110 Carburetor Diagram.
From circuitlistsarguses77.z22.web.core.windows.net
John Deere D110 Parts Diagram John Deere D110 Carburetor Diagram The fuel line diagram for the john deere d110 shows the precise routing of the fuel lines and connections in the mower’s fuel system. Find your owner's manual and service information. Replacement parts guide d110 (100 series) tractor with 42 inch deck engine fuel and air electrical *see operator’s manual for. Find a detailed carburetor diagram for the john deere. John Deere D110 Carburetor Diagram.
From shortcircuitweb.com
Exploring the John Deere D110 Deck Parts Diagram A Comprehensive Guide John Deere D110 Carburetor Diagram The john deere d110 carburetor diagram is a visual representation of the carburetor and its components. It provides a detailed breakdown of each part, including the choke, throttle, fuel inlet, and air filter. Looking for john deere d110 parts diagrams? Find a detailed carburetor diagram for the john deere d110 lawn tractor to assist with maintenance and repairs. For example. John Deere D110 Carburetor Diagram.
From archivejohn.com
Visualizing John Deere D110 Parts Diagrams for Easy Understanding John Deere D110 Carburetor Diagram Find detailed diagrams and parts lists for your john deere d110 tractor at our website. Replacement parts guide d110 (100 series) tractor with 42 inch deck engine fuel and air electrical *see operator’s manual for. The fuel line diagram for the john deere d110 shows the precise routing of the fuel lines and connections in the mower’s fuel system. The. John Deere D110 Carburetor Diagram.
From jackietrejoinformations.blogspot.com
john deere d110 parts diagram John Deere D110 Carburetor Diagram It provides a detailed breakdown of each part, including its specific location and function within the machine. You can use it to identify the. Looking for john deere d110 parts diagrams? The john deere d110 parts diagram is a visual representation of the mower’s internal and external components. Find a detailed carburetor diagram for the john deere d110 lawn tractor. John Deere D110 Carburetor Diagram.
From johndocs.com
A Visual Guide to the John Deere D110 Carburetor John Deere D110 Carburetor Diagram You can use it to identify the. Find detailed diagrams and parts lists for your john deere d110 tractor at our website. The fuel line diagram for the john deere d110 shows the precise routing of the fuel lines and connections in the mower’s fuel system. Find your owner's manual and service information. The john deere d110 parts diagram is. John Deere D110 Carburetor Diagram.
From elisecastroinformations.blogspot.com
john deere d110 parts diagram John Deere D110 Carburetor Diagram You can use it to identify the. The john deere d110 parts diagram is a visual representation of the mower’s internal and external components. Replacement parts guide d110 (100 series) tractor with 42 inch deck engine fuel and air electrical *see operator’s manual for. Find your owner's manual and service information. Find a detailed carburetor diagram for the john deere. John Deere D110 Carburetor Diagram.
From shortcircuitweb.com
Exploring the John Deere D110 Deck Parts Diagram A Comprehensive Guide John Deere D110 Carburetor Diagram It provides a detailed breakdown of each part, including the choke, throttle, fuel inlet, and air filter. Looking for john deere d110 parts diagrams? Find a detailed carburetor diagram for the john deere d110 lawn tractor to assist with maintenance and repairs. The parts diagram of john deere d110 is a visual representation of the machine’s components and their assembly.. John Deere D110 Carburetor Diagram.
From stewart-switch.com
John Deere D110 Engine Diagram John Deere D110 Carburetor Diagram For example the operator's manual, parts diagram, reference guides, safety info, etc. It provides a detailed breakdown of each part, including the choke, throttle, fuel inlet, and air filter. Looking for john deere d110 parts diagrams? Find detailed diagrams and parts lists for your john deere d110 tractor at our website. The john deere d110 parts diagram is a visual. John Deere D110 Carburetor Diagram.
From agirlamonggeeks.com
I Tested the Carburetor for John Deere D110 and Here's Why It's a Game John Deere D110 Carburetor Diagram It provides a detailed breakdown of each part, including its specific location and function within the machine. Find detailed diagrams and parts lists for your john deere d110 tractor at our website. Find your owner's manual and service information. The john deere d110 parts diagram is a visual representation of the mower’s internal and external components. Looking for john deere. John Deere D110 Carburetor Diagram.
From enginelistella.z6.web.core.windows.net
John Deere D110 Carburetor Diagram John Deere D110 Carburetor Diagram The fuel line diagram for the john deere d110 shows the precise routing of the fuel lines and connections in the mower’s fuel system. It provides a detailed breakdown of each part, including the choke, throttle, fuel inlet, and air filter. The john deere d110 parts diagram is a visual representation of the mower’s internal and external components. Find detailed. John Deere D110 Carburetor Diagram.
From skemafreeaspenow.blogspot.com
john deere d110 parts diagram John Deere D110 Carburetor Diagram It provides a detailed breakdown of each part, including the choke, throttle, fuel inlet, and air filter. The fuel line diagram for the john deere d110 shows the precise routing of the fuel lines and connections in the mower’s fuel system. Find detailed diagrams and parts lists for your john deere d110 tractor at our website. The john deere d110. John Deere D110 Carburetor Diagram.
From skemafreeaspenow.blogspot.com
john deere d110 parts diagram John Deere D110 Carburetor Diagram Find your owner's manual and service information. Looking for john deere d110 parts diagrams? It provides a detailed breakdown of each part, including its specific location and function within the machine. The parts diagram of john deere d110 is a visual representation of the machine’s components and their assembly. You can use it to identify the. The john deere d110. John Deere D110 Carburetor Diagram.
From www.vrogue.co
John Deere D110 Parts Diagram vrogue.co John Deere D110 Carburetor Diagram Find a detailed carburetor diagram for the john deere d110 lawn tractor to assist with maintenance and repairs. It provides a detailed breakdown of each part, including the choke, throttle, fuel inlet, and air filter. The john deere d110 parts diagram is a visual representation of the mower’s internal and external components. Looking for john deere d110 parts diagrams? The. John Deere D110 Carburetor Diagram.
From johndocs.com
A Visual Guide to the John Deere D110 Carburetor John Deere D110 Carburetor Diagram It provides a detailed breakdown of each part, including its specific location and function within the machine. The john deere d110 parts diagram is a visual representation of the mower’s internal and external components. Find your owner's manual and service information. The john deere d110 carburetor diagram is a visual representation of the carburetor and its components. For example the. John Deere D110 Carburetor Diagram.
From www.vrogue.co
John Deere D110 Parts Diagram vrogue.co John Deere D110 Carburetor Diagram For example the operator's manual, parts diagram, reference guides, safety info, etc. The john deere d110 carburetor diagram is a visual representation of the carburetor and its components. The fuel line diagram for the john deere d110 shows the precise routing of the fuel lines and connections in the mower’s fuel system. Find a detailed carburetor diagram for the john. John Deere D110 Carburetor Diagram.
From circuitdbfrequents.z19.web.core.windows.net
John Deere A Carburetor Diagram John Deere D110 Carburetor Diagram It provides a detailed breakdown of each part, including the choke, throttle, fuel inlet, and air filter. You can use it to identify the. The parts diagram of john deere d110 is a visual representation of the machine’s components and their assembly. Replacement parts guide d110 (100 series) tractor with 42 inch deck engine fuel and air electrical *see operator’s. John Deere D110 Carburetor Diagram.
From johndocs.com
A Visual Guide to the John Deere D110 Carburetor John Deere D110 Carburetor Diagram The john deere d110 carburetor diagram is a visual representation of the carburetor and its components. It provides a detailed breakdown of each part, including the choke, throttle, fuel inlet, and air filter. The john deere d110 parts diagram is a visual representation of the mower’s internal and external components. Find your owner's manual and service information. Find a detailed. John Deere D110 Carburetor Diagram.