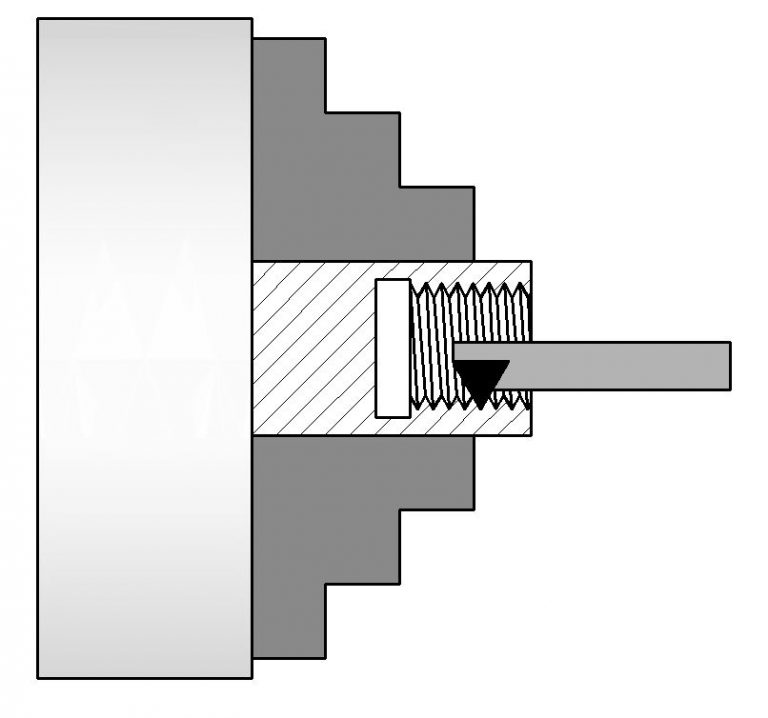
What Is Internal Threading . A thread is a helix ridge wrapped on the inside or outside of a cylinder or cone, forms straight threads or tapered threads. Threading is a generic term used to describe when threads, either internal or external, are created using various types of cutting tools. The thread coil is in the centre of what you screw a male thread (which is usually a screw) into. However, we can list more. This operation allows for the integration of screws,. External threading appears on screws and bolts, while internal threads can be found inside the component you’re designing and. These threads accept screws and. Internal thread is a thread that is inside the hole, e.g., within the nut. You can thread a hole or bore. The thread is the essential feature of the screw.
from toolnotes.com
This operation allows for the integration of screws,. These threads accept screws and. External threading appears on screws and bolts, while internal threads can be found inside the component you’re designing and. A thread is a helix ridge wrapped on the inside or outside of a cylinder or cone, forms straight threads or tapered threads. The thread coil is in the centre of what you screw a male thread (which is usually a screw) into. The thread is the essential feature of the screw. You can thread a hole or bore. Internal thread is a thread that is inside the hole, e.g., within the nut. However, we can list more. Threading is a generic term used to describe when threads, either internal or external, are created using various types of cutting tools.
Internal Threading ToolNotes
What Is Internal Threading You can thread a hole or bore. Internal thread is a thread that is inside the hole, e.g., within the nut. The thread is the essential feature of the screw. Threading is a generic term used to describe when threads, either internal or external, are created using various types of cutting tools. This operation allows for the integration of screws,. A thread is a helix ridge wrapped on the inside or outside of a cylinder or cone, forms straight threads or tapered threads. You can thread a hole or bore. The thread coil is in the centre of what you screw a male thread (which is usually a screw) into. These threads accept screws and. External threading appears on screws and bolts, while internal threads can be found inside the component you’re designing and. However, we can list more.
From toolnotes.com
Internal Threading ToolNotes What Is Internal Threading The thread is the essential feature of the screw. Internal thread is a thread that is inside the hole, e.g., within the nut. These threads accept screws and. However, we can list more. Threading is a generic term used to describe when threads, either internal or external, are created using various types of cutting tools. External threading appears on screws. What Is Internal Threading.
From www.iqsdirectory.com
Thread Rolling What Is It? How Does It Work? Process, Types What Is Internal Threading A thread is a helix ridge wrapped on the inside or outside of a cylinder or cone, forms straight threads or tapered threads. This operation allows for the integration of screws,. The thread coil is in the centre of what you screw a male thread (which is usually a screw) into. You can thread a hole or bore. The thread. What Is Internal Threading.
From www.walter-tools.com
Internal threading What Is Internal Threading This operation allows for the integration of screws,. External threading appears on screws and bolts, while internal threads can be found inside the component you’re designing and. A thread is a helix ridge wrapped on the inside or outside of a cylinder or cone, forms straight threads or tapered threads. However, we can list more. The thread coil is in. What Is Internal Threading.
From toolnotes.com
Lathe Operations ToolNotes What Is Internal Threading This operation allows for the integration of screws,. You can thread a hole or bore. A thread is a helix ridge wrapped on the inside or outside of a cylinder or cone, forms straight threads or tapered threads. The thread is the essential feature of the screw. The thread coil is in the centre of what you screw a male. What Is Internal Threading.
From youtube.com
Internal Threading YouTube What Is Internal Threading Internal thread is a thread that is inside the hole, e.g., within the nut. The thread is the essential feature of the screw. These threads accept screws and. You can thread a hole or bore. A thread is a helix ridge wrapped on the inside or outside of a cylinder or cone, forms straight threads or tapered threads. External threading. What Is Internal Threading.
From www.mcgill.ca
Dimensioning threaded fasteners Engineering Design McGill University What Is Internal Threading Internal thread is a thread that is inside the hole, e.g., within the nut. Threading is a generic term used to describe when threads, either internal or external, are created using various types of cutting tools. You can thread a hole or bore. A thread is a helix ridge wrapped on the inside or outside of a cylinder or cone,. What Is Internal Threading.
From www.iqsdirectory.com
Thread Rolling What Is It? How Does It Work? Process, Types What Is Internal Threading These threads accept screws and. However, we can list more. A thread is a helix ridge wrapped on the inside or outside of a cylinder or cone, forms straight threads or tapered threads. The thread is the essential feature of the screw. External threading appears on screws and bolts, while internal threads can be found inside the component you’re designing. What Is Internal Threading.
From www.qualitymag.com
Internal Part Thread Inspection 20160801 Quality Magazine What Is Internal Threading You can thread a hole or bore. A thread is a helix ridge wrapped on the inside or outside of a cylinder or cone, forms straight threads or tapered threads. These threads accept screws and. External threading appears on screws and bolts, while internal threads can be found inside the component you’re designing and. The thread coil is in the. What Is Internal Threading.
From theoreticalmachinist.com
Metric screw thread M Profile calculator What Is Internal Threading The thread coil is in the centre of what you screw a male thread (which is usually a screw) into. You can thread a hole or bore. However, we can list more. Internal thread is a thread that is inside the hole, e.g., within the nut. A thread is a helix ridge wrapped on the inside or outside of a. What Is Internal Threading.
From www.youtube.com
HOW TO THREAD ON LATHE MACHINE. EXTERNAL AND INTERNAL THREADS YouTube What Is Internal Threading You can thread a hole or bore. This operation allows for the integration of screws,. These threads accept screws and. Threading is a generic term used to describe when threads, either internal or external, are created using various types of cutting tools. External threading appears on screws and bolts, while internal threads can be found inside the component you’re designing. What Is Internal Threading.
From www.youtube.com
Internal Threading A Beginners Guide YouTube What Is Internal Threading This operation allows for the integration of screws,. These threads accept screws and. Threading is a generic term used to describe when threads, either internal or external, are created using various types of cutting tools. External threading appears on screws and bolts, while internal threads can be found inside the component you’re designing and. However, we can list more. A. What Is Internal Threading.
From www.gdandtbasics.com
Common Thread Information Diameters, Pitch, and Threads per Inch GD What Is Internal Threading A thread is a helix ridge wrapped on the inside or outside of a cylinder or cone, forms straight threads or tapered threads. Threading is a generic term used to describe when threads, either internal or external, are created using various types of cutting tools. The thread coil is in the centre of what you screw a male thread (which. What Is Internal Threading.
From www.youtube.com
How I do single point internal threading YouTube What Is Internal Threading Internal thread is a thread that is inside the hole, e.g., within the nut. The thread coil is in the centre of what you screw a male thread (which is usually a screw) into. However, we can list more. The thread is the essential feature of the screw. This operation allows for the integration of screws,. These threads accept screws. What Is Internal Threading.
From learnmech.com
Nomenclature of Mechanical Threads Diagram Of Threads What Is Internal Threading Threading is a generic term used to describe when threads, either internal or external, are created using various types of cutting tools. External threading appears on screws and bolts, while internal threads can be found inside the component you’re designing and. However, we can list more. You can thread a hole or bore. The thread is the essential feature of. What Is Internal Threading.
From www.youtube.com
Thread RunoutPart1 Internal ThreadsScrew ThreadsThread Machining What Is Internal Threading However, we can list more. You can thread a hole or bore. This operation allows for the integration of screws,. Internal thread is a thread that is inside the hole, e.g., within the nut. These threads accept screws and. Threading is a generic term used to describe when threads, either internal or external, are created using various types of cutting. What Is Internal Threading.
From mavink.com
Thread Types Chart What Is Internal Threading The thread coil is in the centre of what you screw a male thread (which is usually a screw) into. These threads accept screws and. However, we can list more. External threading appears on screws and bolts, while internal threads can be found inside the component you’re designing and. The thread is the essential feature of the screw. Internal thread. What Is Internal Threading.
From www.nextgentooling.com
Thread Milling Techniques NEXT GENERATION TOOLING What Is Internal Threading This operation allows for the integration of screws,. Internal thread is a thread that is inside the hole, e.g., within the nut. However, we can list more. The thread is the essential feature of the screw. The thread coil is in the centre of what you screw a male thread (which is usually a screw) into. External threading appears on. What Is Internal Threading.
From www.slideserve.com
PPT Module 7 Tapping and Threading PowerPoint Presentation ID2206779 What Is Internal Threading Internal thread is a thread that is inside the hole, e.g., within the nut. The thread coil is in the centre of what you screw a male thread (which is usually a screw) into. These threads accept screws and. However, we can list more. This operation allows for the integration of screws,. The thread is the essential feature of the. What Is Internal Threading.
From www.youtube.com
Internal Threading Machine, Tapping Threading Machine YouTube What Is Internal Threading However, we can list more. The thread coil is in the centre of what you screw a male thread (which is usually a screw) into. This operation allows for the integration of screws,. External threading appears on screws and bolts, while internal threads can be found inside the component you’re designing and. A thread is a helix ridge wrapped on. What Is Internal Threading.
From www.youtube.com
Internal Versus External Threading THE MODIFIED WORLD YouTube What Is Internal Threading However, we can list more. You can thread a hole or bore. The thread is the essential feature of the screw. The thread coil is in the centre of what you screw a male thread (which is usually a screw) into. This operation allows for the integration of screws,. A thread is a helix ridge wrapped on the inside or. What Is Internal Threading.
From blog.tormach.com
Easy Thread Terminology Guide to 36 Essential Terms What Is Internal Threading The thread coil is in the centre of what you screw a male thread (which is usually a screw) into. A thread is a helix ridge wrapped on the inside or outside of a cylinder or cone, forms straight threads or tapered threads. This operation allows for the integration of screws,. These threads accept screws and. You can thread a. What Is Internal Threading.
From boreamericallc.com
Internal Threading Bore America LLC What Is Internal Threading This operation allows for the integration of screws,. The thread is the essential feature of the screw. The thread coil is in the centre of what you screw a male thread (which is usually a screw) into. External threading appears on screws and bolts, while internal threads can be found inside the component you’re designing and. A thread is a. What Is Internal Threading.
From www.slideshare.net
Engineering Drawing Chapter 11 thread fastener What Is Internal Threading However, we can list more. Threading is a generic term used to describe when threads, either internal or external, are created using various types of cutting tools. A thread is a helix ridge wrapped on the inside or outside of a cylinder or cone, forms straight threads or tapered threads. These threads accept screws and. The thread coil is in. What Is Internal Threading.
From www.slideserve.com
PPT Threads, Fasteners, and Springs PowerPoint Presentation ID545265 What Is Internal Threading Internal thread is a thread that is inside the hole, e.g., within the nut. These threads accept screws and. External threading appears on screws and bolts, while internal threads can be found inside the component you’re designing and. This operation allows for the integration of screws,. However, we can list more. A thread is a helix ridge wrapped on the. What Is Internal Threading.
From www.youtube.com
internal threading of flange using cnc lathe YouTube What Is Internal Threading These threads accept screws and. You can thread a hole or bore. However, we can list more. External threading appears on screws and bolts, while internal threads can be found inside the component you’re designing and. The thread is the essential feature of the screw. A thread is a helix ridge wrapped on the inside or outside of a cylinder. What Is Internal Threading.
From www.manufacturingguide.com
Internal thread whirling Find suppliers, processes & material What Is Internal Threading The thread is the essential feature of the screw. The thread coil is in the centre of what you screw a male thread (which is usually a screw) into. Threading is a generic term used to describe when threads, either internal or external, are created using various types of cutting tools. However, we can list more. Internal thread is a. What Is Internal Threading.
From www.researchgate.net
Forming principle of internal thread cold extrusion Download What Is Internal Threading These threads accept screws and. However, we can list more. This operation allows for the integration of screws,. The thread coil is in the centre of what you screw a male thread (which is usually a screw) into. A thread is a helix ridge wrapped on the inside or outside of a cylinder or cone, forms straight threads or tapered. What Is Internal Threading.
From dewanengineeringworks.com
INTERNAL THREADING MACHINE What Is Internal Threading These threads accept screws and. External threading appears on screws and bolts, while internal threads can be found inside the component you’re designing and. Threading is a generic term used to describe when threads, either internal or external, are created using various types of cutting tools. A thread is a helix ridge wrapped on the inside or outside of a. What Is Internal Threading.
From www.slideserve.com
PPT Threaded Fasteners PowerPoint Presentation, free download ID What Is Internal Threading The thread is the essential feature of the screw. The thread coil is in the centre of what you screw a male thread (which is usually a screw) into. Threading is a generic term used to describe when threads, either internal or external, are created using various types of cutting tools. You can thread a hole or bore. A thread. What Is Internal Threading.
From www.youtube.com
Metric internal threading on an imperial lead screw lathe YouTube What Is Internal Threading You can thread a hole or bore. The thread is the essential feature of the screw. The thread coil is in the centre of what you screw a male thread (which is usually a screw) into. However, we can list more. External threading appears on screws and bolts, while internal threads can be found inside the component you’re designing and.. What Is Internal Threading.
From www.youtube.com
Screw Thread Terminology Flank, Pitch, Root, Crest Thread terms and What Is Internal Threading This operation allows for the integration of screws,. These threads accept screws and. Threading is a generic term used to describe when threads, either internal or external, are created using various types of cutting tools. The thread is the essential feature of the screw. The thread coil is in the centre of what you screw a male thread (which is. What Is Internal Threading.
From www.youtube.com
Internal pipe threading machine Manufacture IMC Machines YouTube What Is Internal Threading However, we can list more. Internal thread is a thread that is inside the hole, e.g., within the nut. These threads accept screws and. You can thread a hole or bore. The thread is the essential feature of the screw. External threading appears on screws and bolts, while internal threads can be found inside the component you’re designing and. The. What Is Internal Threading.
From www.slideserve.com
PPT Threads and Fasteners PowerPoint Presentation, free download ID What Is Internal Threading The thread coil is in the centre of what you screw a male thread (which is usually a screw) into. These threads accept screws and. This operation allows for the integration of screws,. External threading appears on screws and bolts, while internal threads can be found inside the component you’re designing and. Internal thread is a thread that is inside. What Is Internal Threading.
From www.parktool.com
Basic Thread Concepts Park Tool What Is Internal Threading Threading is a generic term used to describe when threads, either internal or external, are created using various types of cutting tools. The thread is the essential feature of the screw. You can thread a hole or bore. Internal thread is a thread that is inside the hole, e.g., within the nut. A thread is a helix ridge wrapped on. What Is Internal Threading.
From www.youtube.com
Safe and Easy Internal threading with a hard stop YouTube What Is Internal Threading A thread is a helix ridge wrapped on the inside or outside of a cylinder or cone, forms straight threads or tapered threads. However, we can list more. You can thread a hole or bore. This operation allows for the integration of screws,. These threads accept screws and. External threading appears on screws and bolts, while internal threads can be. What Is Internal Threading.