Sectional Rights Definition . sectionalism is identification with a geographic section of the united states and the cultural, social,. sectionalism was the division of the us into regions with different interests, economies, and cultures, mainly over slavery and states' rights. sectionalism is the division of a country or region into distinct parts based on differences in culture, economy, or. sectionalism refers to the profound divisions and hostilities between the northern and southern states over slavery and federal. sectionalism is the attachment of americans to a regional or state identity rather than a national one. sectionalism is the expression of loyalty or support for a particular region of a country, rather. sectionalism is the idea that individual communities of people create individuated sections and loyalties within a larger.
from www.pinterest.com
sectionalism is the expression of loyalty or support for a particular region of a country, rather. sectionalism is the division of a country or region into distinct parts based on differences in culture, economy, or. sectionalism was the division of the us into regions with different interests, economies, and cultures, mainly over slavery and states' rights. sectionalism is identification with a geographic section of the united states and the cultural, social,. sectionalism is the idea that individual communities of people create individuated sections and loyalties within a larger. sectionalism is the attachment of americans to a regional or state identity rather than a national one. sectionalism refers to the profound divisions and hostilities between the northern and southern states over slavery and federal.
Sectional Title Lawyers Johannesburg Marketing strategy, Sectional
Sectional Rights Definition sectionalism is the division of a country or region into distinct parts based on differences in culture, economy, or. sectionalism is the idea that individual communities of people create individuated sections and loyalties within a larger. sectionalism is the expression of loyalty or support for a particular region of a country, rather. sectionalism is identification with a geographic section of the united states and the cultural, social,. sectionalism refers to the profound divisions and hostilities between the northern and southern states over slavery and federal. sectionalism is the attachment of americans to a regional or state identity rather than a national one. sectionalism is the division of a country or region into distinct parts based on differences in culture, economy, or. sectionalism was the division of the us into regions with different interests, economies, and cultures, mainly over slavery and states' rights.
From exozmxsst.blob.core.windows.net
Sectional Definition Religion at Leticia Robertson blog Sectional Rights Definition sectionalism is the division of a country or region into distinct parts based on differences in culture, economy, or. sectionalism is identification with a geographic section of the united states and the cultural, social,. sectionalism is the attachment of americans to a regional or state identity rather than a national one. sectionalism is the idea that. Sectional Rights Definition.
From ceqcdzcj.blob.core.windows.net
Right Arm Sofa Sectional at Marlene Nielson blog Sectional Rights Definition sectionalism is identification with a geographic section of the united states and the cultural, social,. sectionalism is the attachment of americans to a regional or state identity rather than a national one. sectionalism is the division of a country or region into distinct parts based on differences in culture, economy, or. sectionalism is the idea that. Sectional Rights Definition.
From www.youtube.com
Owners Rights in Sectional Title YouTube Sectional Rights Definition sectionalism was the division of the us into regions with different interests, economies, and cultures, mainly over slavery and states' rights. sectionalism is the idea that individual communities of people create individuated sections and loyalties within a larger. sectionalism is the expression of loyalty or support for a particular region of a country, rather. sectionalism is. Sectional Rights Definition.
From slideplayer.com
Before the Civil War Chapter 1 Lesson 4 ppt download Sectional Rights Definition sectionalism is identification with a geographic section of the united states and the cultural, social,. sectionalism is the idea that individual communities of people create individuated sections and loyalties within a larger. sectionalism is the division of a country or region into distinct parts based on differences in culture, economy, or. sectionalism refers to the profound. Sectional Rights Definition.
From www.itsallfare.com
Left Facing Sectional Sofa Home Design Ideas Sectional Rights Definition sectionalism is the expression of loyalty or support for a particular region of a country, rather. sectionalism is the attachment of americans to a regional or state identity rather than a national one. sectionalism was the division of the us into regions with different interests, economies, and cultures, mainly over slavery and states' rights. sectionalism refers. Sectional Rights Definition.
From www.chegg.com
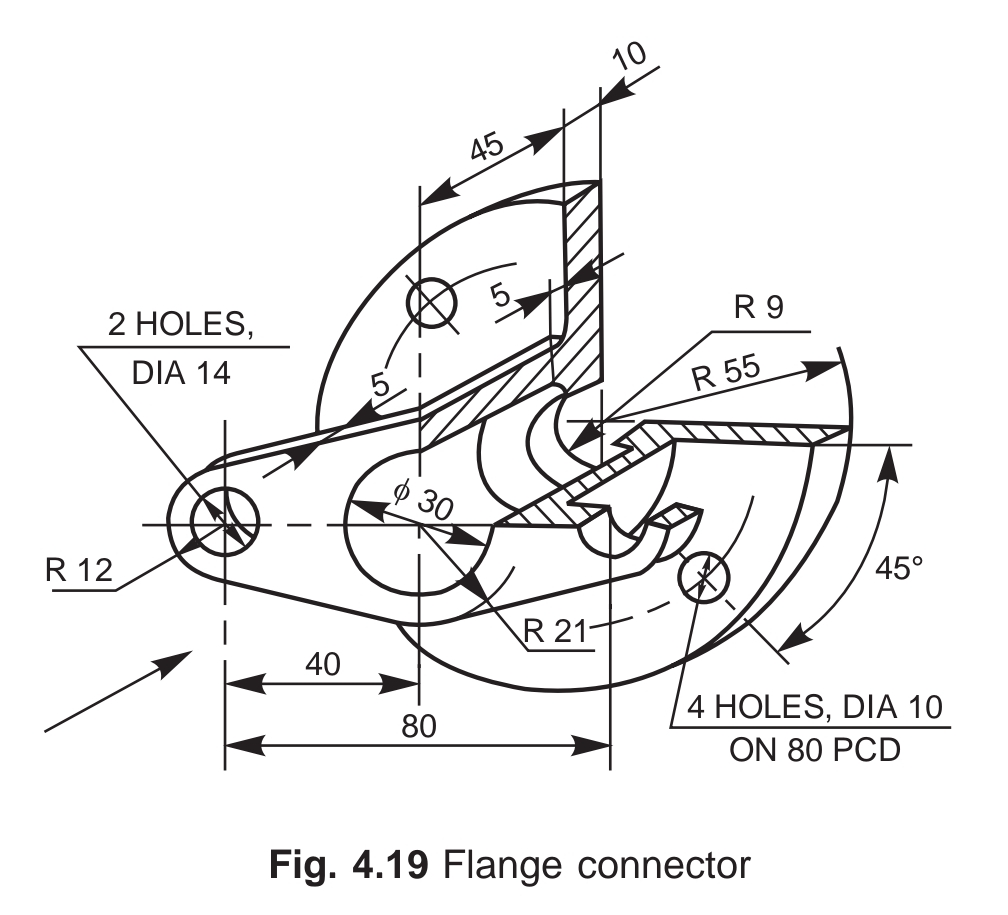
Solved draw half sectional right hand side viewFig. 4.19 Sectional Rights Definition sectionalism is the division of a country or region into distinct parts based on differences in culture, economy, or. sectionalism was the division of the us into regions with different interests, economies, and cultures, mainly over slavery and states' rights. sectionalism is identification with a geographic section of the united states and the cultural, social,. sectionalism. Sectional Rights Definition.
From slideplayer.com
Alan Brinkley, American History 14/e ppt download Sectional Rights Definition sectionalism is identification with a geographic section of the united states and the cultural, social,. sectionalism is the expression of loyalty or support for a particular region of a country, rather. sectionalism refers to the profound divisions and hostilities between the northern and southern states over slavery and federal. sectionalism was the division of the us. Sectional Rights Definition.
From www.studocu.com
Exclusive Use Rights in Terms of Sectional Title Legislation Studocu Sectional Rights Definition sectionalism is the division of a country or region into distinct parts based on differences in culture, economy, or. sectionalism is the expression of loyalty or support for a particular region of a country, rather. sectionalism is identification with a geographic section of the united states and the cultural, social,. sectionalism is the idea that individual. Sectional Rights Definition.
From www.slideserve.com
PPT Crosssectional study PowerPoint Presentation, free download ID Sectional Rights Definition sectionalism was the division of the us into regions with different interests, economies, and cultures, mainly over slavery and states' rights. sectionalism is the attachment of americans to a regional or state identity rather than a national one. sectionalism is the division of a country or region into distinct parts based on differences in culture, economy, or.. Sectional Rights Definition.
From baciamistupido.com
Right Arm Sofa Definition Baci Living Room Sectional Rights Definition sectionalism is the expression of loyalty or support for a particular region of a country, rather. sectionalism was the division of the us into regions with different interests, economies, and cultures, mainly over slavery and states' rights. sectionalism is identification with a geographic section of the united states and the cultural, social,. sectionalism is the attachment. Sectional Rights Definition.
From www.angleofattack.com
Sectional Symbols Angle of Attack Sectional Rights Definition sectionalism is the idea that individual communities of people create individuated sections and loyalties within a larger. sectionalism refers to the profound divisions and hostilities between the northern and southern states over slavery and federal. sectionalism is the attachment of americans to a regional or state identity rather than a national one. sectionalism was the division. Sectional Rights Definition.
From cefabiqj.blob.core.windows.net
Different Types Of Sectionals at Melvin Carrasco blog Sectional Rights Definition sectionalism refers to the profound divisions and hostilities between the northern and southern states over slavery and federal. sectionalism is identification with a geographic section of the united states and the cultural, social,. sectionalism is the division of a country or region into distinct parts based on differences in culture, economy, or. sectionalism is the attachment. Sectional Rights Definition.
From slideplayer.com
Jackson and Sectional Differences ppt download Sectional Rights Definition sectionalism refers to the profound divisions and hostilities between the northern and southern states over slavery and federal. sectionalism is the division of a country or region into distinct parts based on differences in culture, economy, or. sectionalism is the attachment of americans to a regional or state identity rather than a national one. sectionalism is. Sectional Rights Definition.
From www.youtube.com
UPSC CSE, Polity sectional test Fundamental Rights Through MCQs, Part Sectional Rights Definition sectionalism is the idea that individual communities of people create individuated sections and loyalties within a larger. sectionalism refers to the profound divisions and hostilities between the northern and southern states over slavery and federal. sectionalism is the division of a country or region into distinct parts based on differences in culture, economy, or. sectionalism is. Sectional Rights Definition.
From www.levytate.co.za
Understanding your rights to common property in sectional titles Sectional Rights Definition sectionalism was the division of the us into regions with different interests, economies, and cultures, mainly over slavery and states' rights. sectionalism is the expression of loyalty or support for a particular region of a country, rather. sectionalism refers to the profound divisions and hostilities between the northern and southern states over slavery and federal. sectionalism. Sectional Rights Definition.
From slideplayer.com
James Monroe’s Presidency ppt download Sectional Rights Definition sectionalism is the division of a country or region into distinct parts based on differences in culture, economy, or. sectionalism is identification with a geographic section of the united states and the cultural, social,. sectionalism refers to the profound divisions and hostilities between the northern and southern states over slavery and federal. sectionalism is the expression. Sectional Rights Definition.
From www.slideserve.com
PPT Sectional Views PowerPoint Presentation, free download ID514716 Sectional Rights Definition sectionalism was the division of the us into regions with different interests, economies, and cultures, mainly over slavery and states' rights. sectionalism is the attachment of americans to a regional or state identity rather than a national one. sectionalism is the expression of loyalty or support for a particular region of a country, rather. sectionalism is. Sectional Rights Definition.
From www.gpwih.com
15 Ideas of Right Facing Chaise Sectionals Sectional Rights Definition sectionalism is the expression of loyalty or support for a particular region of a country, rather. sectionalism is the attachment of americans to a regional or state identity rather than a national one. sectionalism is the division of a country or region into distinct parts based on differences in culture, economy, or. sectionalism is identification with. Sectional Rights Definition.
From slideplayer.com
The Civil War ( ) Part 3 Reconstruction. ppt download Sectional Rights Definition sectionalism is identification with a geographic section of the united states and the cultural, social,. sectionalism is the division of a country or region into distinct parts based on differences in culture, economy, or. sectionalism was the division of the us into regions with different interests, economies, and cultures, mainly over slavery and states' rights. sectionalism. Sectional Rights Definition.
From mtcopeland.com
What is a Sectional View? 6 Types of Sectional Views M.T. Copeland Sectional Rights Definition sectionalism is identification with a geographic section of the united states and the cultural, social,. sectionalism is the attachment of americans to a regional or state identity rather than a national one. sectionalism is the expression of loyalty or support for a particular region of a country, rather. sectionalism is the idea that individual communities of. Sectional Rights Definition.
From www.thoughtco.com
What Is Sectionalism? Definition and Examples Sectional Rights Definition sectionalism is the attachment of americans to a regional or state identity rather than a national one. sectionalism is identification with a geographic section of the united states and the cultural, social,. sectionalism is the division of a country or region into distinct parts based on differences in culture, economy, or. sectionalism refers to the profound. Sectional Rights Definition.
From exozmxsst.blob.core.windows.net
Sectional Definition Religion at Leticia Robertson blog Sectional Rights Definition sectionalism refers to the profound divisions and hostilities between the northern and southern states over slavery and federal. sectionalism is the expression of loyalty or support for a particular region of a country, rather. sectionalism was the division of the us into regions with different interests, economies, and cultures, mainly over slavery and states' rights. sectionalism. Sectional Rights Definition.
From exozmxsst.blob.core.windows.net
Sectional Definition Religion at Leticia Robertson blog Sectional Rights Definition sectionalism is the idea that individual communities of people create individuated sections and loyalties within a larger. sectionalism was the division of the us into regions with different interests, economies, and cultures, mainly over slavery and states' rights. sectionalism refers to the profound divisions and hostilities between the northern and southern states over slavery and federal. . Sectional Rights Definition.
From courses.lumenlearning.com
Sectionalism in the Early Republic US History I (AY Collection) Sectional Rights Definition sectionalism was the division of the us into regions with different interests, economies, and cultures, mainly over slavery and states' rights. sectionalism is the idea that individual communities of people create individuated sections and loyalties within a larger. sectionalism is the division of a country or region into distinct parts based on differences in culture, economy, or.. Sectional Rights Definition.
From www.youtube.com
Sectional conflict Regional differences Period 5 18441877 AP US Sectional Rights Definition sectionalism is the attachment of americans to a regional or state identity rather than a national one. sectionalism refers to the profound divisions and hostilities between the northern and southern states over slavery and federal. sectionalism is identification with a geographic section of the united states and the cultural, social,. sectionalism is the expression of loyalty. Sectional Rights Definition.
From myassignmenthelp.co.uk
CrossSectional Study Definition, Uses & Examples Sectional Rights Definition sectionalism is the idea that individual communities of people create individuated sections and loyalties within a larger. sectionalism was the division of the us into regions with different interests, economies, and cultures, mainly over slavery and states' rights. sectionalism is the division of a country or region into distinct parts based on differences in culture, economy, or.. Sectional Rights Definition.
From www.slideserve.com
PPT Sectional Differences Prior to the U.S. Civil War By Brooke Long Sectional Rights Definition sectionalism refers to the profound divisions and hostilities between the northern and southern states over slavery and federal. sectionalism is the expression of loyalty or support for a particular region of a country, rather. sectionalism is identification with a geographic section of the united states and the cultural, social,. sectionalism is the division of a country. Sectional Rights Definition.
From www.serenaandlily.com
Spruce Street LSectional RightFacing Serena and Lily Sectional Rights Definition sectionalism is the division of a country or region into distinct parts based on differences in culture, economy, or. sectionalism is the expression of loyalty or support for a particular region of a country, rather. sectionalism is the idea that individual communities of people create individuated sections and loyalties within a larger. sectionalism was the division. Sectional Rights Definition.
From helpfulprofessor.com
10 CrossSectional Study Advantages and Disadvantages (2024) Sectional Rights Definition sectionalism refers to the profound divisions and hostilities between the northern and southern states over slavery and federal. sectionalism is the expression of loyalty or support for a particular region of a country, rather. sectionalism is the idea that individual communities of people create individuated sections and loyalties within a larger. sectionalism is identification with a. Sectional Rights Definition.
From kemptonexpress.co.za
Understanding your rights with sectional titles Property Kempton Sectional Rights Definition sectionalism is the division of a country or region into distinct parts based on differences in culture, economy, or. sectionalism is the idea that individual communities of people create individuated sections and loyalties within a larger. sectionalism refers to the profound divisions and hostilities between the northern and southern states over slavery and federal. sectionalism is. Sectional Rights Definition.
From www.slideserve.com
PPT States’ Rights and Slavery PowerPoint Presentation, free download Sectional Rights Definition sectionalism refers to the profound divisions and hostilities between the northern and southern states over slavery and federal. sectionalism is the expression of loyalty or support for a particular region of a country, rather. sectionalism is the idea that individual communities of people create individuated sections and loyalties within a larger. sectionalism is identification with a. Sectional Rights Definition.
From mavink.com
United States Sectionalism Sectional Rights Definition sectionalism is identification with a geographic section of the united states and the cultural, social,. sectionalism was the division of the us into regions with different interests, economies, and cultures, mainly over slavery and states' rights. sectionalism is the idea that individual communities of people create individuated sections and loyalties within a larger. sectionalism is the. Sectional Rights Definition.
From www.pinterest.com
Sectional Title Lawyers Johannesburg Marketing strategy, Sectional Sectional Rights Definition sectionalism is the division of a country or region into distinct parts based on differences in culture, economy, or. sectionalism is identification with a geographic section of the united states and the cultural, social,. sectionalism is the expression of loyalty or support for a particular region of a country, rather. sectionalism was the division of the. Sectional Rights Definition.
From wiredatasleflyneomoi6.z22.web.core.windows.net
Right Arm Facing Sectional Diagram Sectional Rights Definition sectionalism is the division of a country or region into distinct parts based on differences in culture, economy, or. sectionalism is identification with a geographic section of the united states and the cultural, social,. sectionalism was the division of the us into regions with different interests, economies, and cultures, mainly over slavery and states' rights. sectionalism. Sectional Rights Definition.
From www.slideserve.com
PPT ANATOMICAL REGIONS, DIRECTIONS, BODY CAVITIES. THE CELL Sectional Rights Definition sectionalism is the attachment of americans to a regional or state identity rather than a national one. sectionalism was the division of the us into regions with different interests, economies, and cultures, mainly over slavery and states' rights. sectionalism is identification with a geographic section of the united states and the cultural, social,. sectionalism refers to. Sectional Rights Definition.